CN201815679U - Movable inner groove knife for adjusting machine clamp - Google Patents
Movable inner groove knife for adjusting machine clamp Download PDFInfo
- Publication number
- CN201815679U CN201815679U CN2010205295001U CN201020529500U CN201815679U CN 201815679 U CN201815679 U CN 201815679U CN 2010205295001 U CN2010205295001 U CN 2010205295001U CN 201020529500 U CN201020529500 U CN 201020529500U CN 201815679 U CN201815679 U CN 201815679U
- Authority
- CN
- China
- Prior art keywords
- blade
- head
- inner groove
- cutter
- indexable
- Prior art date
- Legal status (The legal status is an assumption and is not a legal conclusion. Google has not performed a legal analysis and makes no representation as to the accuracy of the status listed.)
- Expired - Fee Related
Links
- 230000005489 elastic deformation Effects 0.000 abstract description 4
- 238000005520 cutting process Methods 0.000 description 7
- 238000004519 manufacturing process Methods 0.000 description 4
- 229910052799 carbon Inorganic materials 0.000 description 3
- 239000002184 metal Substances 0.000 description 3
- 238000010586 diagram Methods 0.000 description 2
- 230000007613 environmental effect Effects 0.000 description 2
- 238000003754 machining Methods 0.000 description 2
- 238000000034 method Methods 0.000 description 2
- 238000012986 modification Methods 0.000 description 2
- 230000004048 modification Effects 0.000 description 2
- 238000009434 installation Methods 0.000 description 1
- 238000007789 sealing Methods 0.000 description 1
Images
Landscapes
- Accessories And Tools For Shearing Machines (AREA)
Abstract
调节式机夹可转位内沟槽刀,包括刀杆和刀片,所述刀杆的头部设有轴向开缝,所述的头部设有径向的、用于调节所述开缝的开度的锁紧螺钉;所述的开缝的端部设有与所述的锁紧螺钉垂直方向的刀片容纳槽,其特征在于:所述的刀杆的头部的表面设有一深入所述的刀片容纳槽的定位螺钉,所述的定位螺钉限定所述的刀片置入所述的刀片容纳槽的深度;所述刀杆为方形柱体结构。锁紧螺钉利用刀杆的头部开口的弹性变形来压紧并固定可转位内沟槽刀片。定位螺钉作为可转位内沟槽刀片径向制动支撑点,实现刀片在一定范围内径向调节。刀杆由圆柱体改为方形柱体可以有效增加内沟槽的加工深度。设计合理,结构简单,调节方便,安全可靠,牢固耐用。
Adjustable machine clip indexable internal groove cutter, including a cutter bar and a blade, the head of the cutter bar is provided with an axial slit, and the head is provided with a radial for adjusting the slit The locking screw of the opening degree; the end of the slit is provided with a blade receiving groove perpendicular to the locking screw, and it is characterized in that: the surface of the head of the knife rod is provided with a hole that goes deep into the The positioning screw of the blade receiving groove described above, the positioning screw limits the depth of the blade inserted into the blade receiving groove; the knife rod is a square cylinder structure. The locking screw utilizes the elastic deformation of the head opening of the cutter bar to compress and fix the indexable inner groove insert. The positioning screw is used as the radial braking support point of the indexable inner groove insert to realize the radial adjustment of the insert within a certain range. Changing the tool holder from a cylinder to a square cylinder can effectively increase the processing depth of the inner groove. Reasonable design, simple structure, convenient adjustment, safe, reliable, firm and durable.
Description
技术领域technical field
本实用新型属于金属切削加工刀具技术领域,具体地说涉及一种调节式机夹可转位内沟槽刀。The utility model belongs to the technical field of cutting tools for metal cutting, and in particular relates to an adjustable inner groove cutter with indexable clamps.
背景技术Background technique
目前,内沟槽刀主要用于内孔中的内沟槽、退刀槽,越程槽,密封槽,或内腔等零件的加工,其可以径向切削,也可以轴向切削,在车床加工中被广泛使用。内沟槽刀有焊接式和机夹式可转位内沟槽刀之分,焊接式内沟槽刀是把刀片直接焊接在刀体,刀具几何角度以及加工精度都靠技术工人磨刀来保证;而机夹式可转位内沟槽刀的刀片和刀体都采用了标准化,硬质合金刀片直接安装在刀体上,大大提高了加工精度和生产效率,逐渐替代了焊接式内沟槽刀的使用。At present, the internal groove cutter is mainly used for the processing of internal grooves, relief grooves, overrun grooves, sealing grooves, or inner cavities in the inner hole. It can be cut radially or axially. It is widely used in processing. Inner groove knives can be divided into welded and machine-clip indexable inner groove knives. Welded inner groove knives directly weld the blade to the cutter body. The geometric angle and machining accuracy of the cutter are guaranteed by skilled workers. ; while the blade and cutter body of the machine-clip indexable inner groove cutter are standardized, and the carbide blade is directly installed on the cutter body, which greatly improves the machining accuracy and production efficiency, and gradually replaces the welded inner groove Knife use.
现在国内外采用的机夹式可转位内沟槽刀主要由刀杆、可转位槽刀片和锁紧螺钉组成,工作时通过刀片与刀杆夹持部位的槽、刀体头部的径向定位面以及锁紧螺钉对刀体头部开口产生的弹性变形来夹持刀片,保证刀具切削加工的稳定性。但目前市场上采用的机夹式内沟槽刀由于径向定位面是固定的,损坏的刀片掉头后进行装夹,其长度比原先要短,导致刀片伸出长度不够而无法再次使用,造成刀片浪费,且由于硬质合金刀片价格昂贵,一旦损坏,企业生产加工成本大大增加。且内沟槽最大加工深度是定值,不能在一定范围进行有效调节,加工工艺性能不佳。The machine clamp type indexable internal groove cutters currently used at home and abroad are mainly composed of a cutter bar, an indexable groove blade and a locking screw. The blade is clamped by the elastic deformation of the positioning surface and the locking screw on the opening of the head of the cutter body to ensure the stability of the cutting tool. However, due to the fixed radial positioning surface of the machine clip-type inner groove cutters currently on the market, the damaged blade is clamped after turning around, and its length is shorter than the original one, resulting in insufficient protruding length of the blade and cannot be used again, resulting in The blades are wasted, and because the cemented carbide blades are expensive, once they are damaged, the production and processing costs of the enterprise will increase greatly. Moreover, the maximum processing depth of the inner groove is a fixed value, which cannot be effectively adjusted within a certain range, and the processing performance is not good.
发明内容Contents of the invention
本实用新型要克服已有的机夹式可转位内沟槽刀片浪费现象严重且内沟槽最大加工深度不能在一定范围有效调节的缺点,提出一种刀片利用率高并且内沟槽加工深度在一定范围内可以增加的调节式机夹可转位内沟槽刀。The utility model aims to overcome the shortcomings of the existing machine clamp type indexable inner groove blades that are seriously wasted and the maximum processing depth of the inner groove cannot be effectively adjusted within a certain range, and proposes a blade with high utilization rate and inner groove processing depth The adjustable machine clamp can be added within a certain range and the indexable inner groove knife can be added.
本实用新型的技术方案是:The technical scheme of the utility model is:
调节式机夹可转位内沟槽刀,包括刀杆和刀片,所述刀杆的头部设有轴向开缝,所述的头部设有径向的、用于调节所述开缝的开度的锁紧螺钉;所述的开缝的端部设有与所述的锁紧螺钉垂直方向的刀片容纳槽,其特征在于:所述的刀杆的头部的表面设有一深入所述的刀片容纳槽的定位螺钉,所述的定位螺钉限定所述的刀片置入所述的刀片容纳槽的深度。Adjustable machine clip indexable internal groove cutter, including a cutter bar and a blade, the head of the cutter bar is provided with an axial slit, and the head is provided with a radial for adjusting the slit The locking screw of the opening degree; the end of the slit is provided with a blade receiving groove perpendicular to the locking screw, and it is characterized in that: the surface of the head of the knife rod is provided with a hole that goes deep into the The positioning screw of the blade receiving groove described above, the positioning screw defines the depth of the blade inserted into the blade receiving groove.
进一步,所述刀杆为方形柱体。Further, the knife rod is a square cylinder.
使用时,刀杆主要用于刀具在刀架上的安装以及夹持刀片;刀片是标准化零件,用于内沟槽的金属切削加工;定位螺钉用于调节刀片径向伸出长度和径向制动刀片;锁紧螺钉主要利用刀杆头部开口的弹性变形来压紧并固定刀片。When in use, the tool holder is mainly used for the installation of the tool on the tool holder and the clamping of the blade; the blade is a standardized part, used for metal cutting of the inner groove; the positioning screw is used to adjust the radial extension length of the blade and the radial The brake blade; the locking screw mainly uses the elastic deformation of the head opening of the cutter bar to compress and fix the blade.
本实用新型所述的调节式机夹可转位内沟槽刀通过对可转位内沟槽刀的结构设计使得刀片一头崩裂或损坏后,另一头在刀杆上转位安装后还能继续使用满足加工要求,降低生产成本,实现低碳环保;通过对刀杆头部的结构改造,增加一个定位螺钉,调节制动螺钉可以在一定范围内有效增加内沟槽加工深度,提高刀具的加工工艺范围。同时对刀杆的结构进行优化设计,由原来的圆柱体改成方形柱体可以有效增加内沟槽的切深。The adjustable machine clip indexable inner groove knife described in the utility model makes one end of the blade cracked or damaged through the structural design of the indexable inner groove knife, and the other end can continue to work after the other end is installed on the knife bar. The use meets the processing requirements, reduces production costs, and achieves low-carbon environmental protection; through the structural modification of the head of the tool holder, adding a positioning screw and adjusting the stop screw can effectively increase the processing depth of the inner groove within a certain range and improve the processing of the tool. Process range. At the same time, the structure of the cutter bar is optimized, and the original cylinder is changed to a square cylinder, which can effectively increase the cutting depth of the inner groove.
本实用新型具有以下优点:The utility model has the following advantages:
(1)通过在刀杆的头部增加一个定位螺钉作为刀片径向制动支撑点,实现刀片在一定有效范围内径向调节,径向加工深度,扩大加工工艺范围。(1) By adding a positioning screw on the head of the cutter bar as the radial braking support point of the blade, the radial adjustment of the blade within a certain effective range, the radial processing depth, and the expansion of the processing range are realized.
(2)刀片一头崩裂或损坏后,刀片转位后另一头还能继续使用。(2) After one end of the blade is cracked or damaged, the other end can continue to be used after the blade is indexed.
(3)刀杆由原来的圆柱体改为方形柱体可以有效增加内沟槽的加工深度。(3) Changing the cutter bar from the original cylinder to a square cylinder can effectively increase the processing depth of the inner groove.
(4)设计合理,结构简单,调节方便,安全可靠,牢固耐用,低碳环保。(4) Reasonable design, simple structure, convenient adjustment, safe and reliable, durable, low-carbon and environmentally friendly.
附图说明Description of drawings
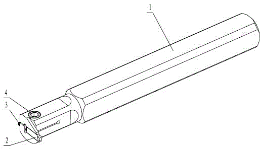
图1是本实用新型的结构示意图。Fig. 1 is the structural representation of the utility model.
图2是本实用新型的俯视图。Fig. 2 is a top view of the utility model.
图3是本实用新型锁紧螺钉的结构示意图。Fig. 3 is a structural schematic diagram of the locking screw of the present invention.
图4是刀片在刀杆头部径向的结构示意图。Fig. 4 is a schematic diagram of the structure of the blade in the radial direction of the head of the tool holder.
图5是图2沿A-A向的剖视图。Fig. 5 is a sectional view along A-A direction of Fig. 2 .
具体实施方式Detailed ways
下面结合附图对本实用新型作进一步说明:Below in conjunction with accompanying drawing, the utility model is further described:
参照图1-图5,本实用新型所述的调节式机夹可转位内沟槽刀,包括刀杆1和刀片2,所述刀杆的头部设有轴向开缝,所述的头部设有径向的、用于调节所述开缝的开度的锁紧螺钉4;所述的开缝的端部设有与所述的锁紧螺钉4垂直方向的刀片容纳槽,所述的刀杆1的头部的表面设有一深入所述的刀片容纳槽的定位螺钉3,所述的定位螺钉3限定所述的刀片2置入所述的刀片容纳槽的深度。Referring to Fig. 1-Fig. 5, the adjustable machine clip indexable internal groove cutter described in the utility model includes a
所述刀杆1为方形柱体。The
使用时,刀杆1主要用于刀具在刀架上的安装以及夹持刀片;刀片2是标准化零件,用于内沟槽的金属切削加工;定位螺钉3用于调节刀片3径向伸出长度和径向制动刀片2;锁紧螺钉4主要利用刀杆1头部开口的弹性变形来压紧并固定刀片2。When in use, the
本实用新型所述的调节式机夹可转位内沟槽刀通过对可转位内沟槽刀的结构设计使得在刀片2一头崩裂或损坏后,另一头在刀杆1上转位安装后还能继续使用满足加工要求,降低生产成本,实现低碳环保;通过对刀杆1头部的结构改造,增加一个定位螺钉3,调节定位螺钉3可以在一定范围内有效增加内沟槽加工深度,提高刀具的加工工艺范围。同时对刀杆1的结构进行优化设计,由原来的圆柱体改成方形柱体可以有效增加内沟槽的切深。The adjustable machine clip indexable inner groove knife described in the utility model is designed through the structural design of the indexable inner groove knife so that after one end of the
本说明书实施例所述的内容仅仅是对实用新型构思的实现形式的列举,本实用新型的保护范围不应当被视为仅限于实施例所陈述的具体形式,本实用新型的保护范围也及于本领域技术人员根据本实用新型构思所能够想到的等同技术手段。The content described in the embodiments of this specification is only an enumeration of the realization forms of the utility model concept, and the protection scope of the utility model should not be regarded as being limited to the specific forms stated in the embodiments, and the protection scope of the utility model also extends to Equivalent technical means that those skilled in the art can think of according to the concept of the utility model.
Claims (2)
Priority Applications (1)
| Application Number | Priority Date | Filing Date | Title |
|---|---|---|---|
| CN2010205295001U CN201815679U (en) | 2010-09-15 | 2010-09-15 | Movable inner groove knife for adjusting machine clamp |
Applications Claiming Priority (1)
| Application Number | Priority Date | Filing Date | Title |
|---|---|---|---|
| CN2010205295001U CN201815679U (en) | 2010-09-15 | 2010-09-15 | Movable inner groove knife for adjusting machine clamp |
Publications (1)
| Publication Number | Publication Date |
|---|---|
| CN201815679U true CN201815679U (en) | 2011-05-04 |
Family
ID=43913650
Family Applications (1)
| Application Number | Title | Priority Date | Filing Date |
|---|---|---|---|
| CN2010205295001U Expired - Fee Related CN201815679U (en) | 2010-09-15 | 2010-09-15 | Movable inner groove knife for adjusting machine clamp |
Country Status (1)
| Country | Link |
|---|---|
| CN (1) | CN201815679U (en) |
Cited By (5)
| Publication number | Priority date | Publication date | Assignee | Title |
|---|---|---|---|---|
| CN103920891A (en) * | 2014-04-28 | 2014-07-16 | 哈尔滨汽轮机厂有限责任公司 | Cutter and method for machining inner hole tooth grooves of vapor sealing rings |
| CN104096871A (en) * | 2014-07-10 | 2014-10-15 | 无锡蠡湖叶轮制造有限公司 | Grooving tool with function of rolling chip prevention |
| CN106270586A (en) * | 2016-11-01 | 2017-01-04 | 东方电气集团东方汽轮机有限公司 | A kind of combination type angular tool |
| CN107052379A (en) * | 2017-03-01 | 2017-08-18 | 株洲钻石切削刀具股份有限公司 | Aperture knife tool in a kind of small-bore |
| CN113172400A (en) * | 2021-05-27 | 2021-07-27 | 烟台海德智能装备有限公司 | Production process of special cutter for machining end face deep ring groove |
-
2010
- 2010-09-15 CN CN2010205295001U patent/CN201815679U/en not_active Expired - Fee Related
Cited By (7)
| Publication number | Priority date | Publication date | Assignee | Title |
|---|---|---|---|---|
| CN103920891A (en) * | 2014-04-28 | 2014-07-16 | 哈尔滨汽轮机厂有限责任公司 | Cutter and method for machining inner hole tooth grooves of vapor sealing rings |
| CN104096871A (en) * | 2014-07-10 | 2014-10-15 | 无锡蠡湖叶轮制造有限公司 | Grooving tool with function of rolling chip prevention |
| CN106270586A (en) * | 2016-11-01 | 2017-01-04 | 东方电气集团东方汽轮机有限公司 | A kind of combination type angular tool |
| CN107052379A (en) * | 2017-03-01 | 2017-08-18 | 株洲钻石切削刀具股份有限公司 | Aperture knife tool in a kind of small-bore |
| CN107052379B (en) * | 2017-03-01 | 2018-12-11 | 株洲钻石切削刀具股份有限公司 | Aperture knife tool in a kind of small-bore |
| CN113172400A (en) * | 2021-05-27 | 2021-07-27 | 烟台海德智能装备有限公司 | Production process of special cutter for machining end face deep ring groove |
| CN113172400B (en) * | 2021-05-27 | 2022-03-15 | 烟台海德智能装备有限公司 | Production process of special cutter for machining end face deep ring groove |
Similar Documents
| Publication | Publication Date | Title |
|---|---|---|
| CN201815679U (en) | Movable inner groove knife for adjusting machine clamp | |
| CN201161305Y (en) | Helical groove molding internal milling tool with indexable turning clamp | |
| CN201776505U (en) | Slotting tool | |
| CN202639371U (en) | Polycrystalline cubic boron nitride (PCBN) cutter for machining cylinder body | |
| CN202894429U (en) | Novel drilling reamer | |
| CN202779940U (en) | Cutter set for machining valves | |
| CN202283604U (en) | Ring groove processing device for auxiliary supporting box of diesel | |
| CN105414637A (en) | Milling cutter for machining fir-tree roots of steam turbine blades and design method of milling cutter | |
| CN207577451U (en) | A machine clip-type turning tool for machining and assembling guide vane grooves | |
| CN110548902B (en) | Mechanical clamping drill bit | |
| CN202356643U (en) | Combined tool for processing O-ring grooves | |
| CN204397052U (en) | A kind of combined carbide broach | |
| CN207942035U (en) | A kind of detachable antivibration grooving tool | |
| CN202963586U (en) | Special milling cutter for milling inclined plane | |
| CN214185285U (en) | Side-fixing boring chamfering composite cutter bar for machining water plugging hole of cylinder body and cylinder cover | |
| CN204657567U (en) | The cutter head of interchangeable cutter bit type drill bit | |
| CN201823977U (en) | Machine clamp combined and molded drilling reamer | |
| CN103920899A (en) | CBN blade | |
| CN202606903U (en) | Slot cutter for machining groove on cylinder | |
| CN204565166U (en) | A kind of clamping type turning tool device | |
| CN202174254U (en) | Vibration reducing boring cutter | |
| CN205129048U (en) | Deep hole eccentric grove processing isolated plant | |
| CN202571485U (en) | Guide device for tappet hole reamer | |
| CN203610734U (en) | Solid carbide double-headed center drill | |
| CN214185279U (en) | Deep groove processing lathe tool |
Legal Events
| Date | Code | Title | Description |
|---|---|---|---|
| C14 | Grant of patent or utility model | ||
| GR01 | Patent grant | ||
| C17 | Cessation of patent right | ||
| CF01 | Termination of patent right due to non-payment of annual fee |
Granted publication date: 20110504 Termination date: 20130915 |
