CN201812830U - A combined solar photovoltaic module - Google Patents

A combined solar photovoltaic module Download PDF

Info

Publication number
CN201812830U
CN201812830U CN201020276127.3U CN201020276127U CN201812830U CN 201812830 U CN201812830 U CN 201812830U CN 201020276127 U CN201020276127 U CN 201020276127U CN 201812830 U CN201812830 U CN 201812830U
Authority
CN
China
Prior art keywords
frame
support beam
photovoltaic module
bead
shaped
Prior art date
Legal status (The legal status is an assumption and is not a legal conclusion. Google has not performed a legal analysis and makes no representation as to the accuracy of the status listed.)
Expired - Lifetime
Application number
CN201020276127.3U
Other languages
Chinese (zh)
Inventor
周紫清
李毅
尹林东
李志坚
Current Assignee (The listed assignees may be inaccurate. Google has not performed a legal analysis and makes no representation or warranty as to the accuracy of the list.)
Shenzhen Trony Technology Development Co Ltd
Original Assignee
Shenzhen Trony Technology Development Co Ltd
Priority date (The priority date is an assumption and is not a legal conclusion. Google has not performed a legal analysis and makes no representation as to the accuracy of the date listed.)
Filing date
Publication date
Application filed by Shenzhen Trony Technology Development Co Ltd filed Critical Shenzhen Trony Technology Development Co Ltd
Priority to CN201020276127.3U priority Critical patent/CN201812830U/en
Application granted granted Critical
Publication of CN201812830U publication Critical patent/CN201812830U/en
Anticipated expiration legal-status Critical
Expired - Lifetime legal-status Critical Current

Links

Images

Classifications

    • YGENERAL TAGGING OF NEW TECHNOLOGICAL DEVELOPMENTS; GENERAL TAGGING OF CROSS-SECTIONAL TECHNOLOGIES SPANNING OVER SEVERAL SECTIONS OF THE IPC; TECHNICAL SUBJECTS COVERED BY FORMER USPC CROSS-REFERENCE ART COLLECTIONS [XRACs] AND DIGESTS
    • Y02TECHNOLOGIES OR APPLICATIONS FOR MITIGATION OR ADAPTATION AGAINST CLIMATE CHANGE
    • Y02EREDUCTION OF GREENHOUSE GAS [GHG] EMISSIONS, RELATED TO ENERGY GENERATION, TRANSMISSION OR DISTRIBUTION
    • Y02E10/00Energy generation through renewable energy sources
    • Y02E10/50Photovoltaic [PV] energy

Landscapes

  • Photovoltaic Devices (AREA)

Abstract

本实用新型公开了一种大尺寸组合式光伏组件,属于光伏发电领域。一种组合式太阳能光伏组件,包括无边框光伏组件和连接构件,其特征在于,所述连接构件由边框、支撑梁、可拆卸的边框压条和支撑梁压条构成,多个无边框光伏组件放置于支撑梁上,由支撑梁压条与支撑梁扣合形成一个整体,边框与边框压条扣紧该整体四周形成组合式太阳能光伏组件。该组合式光伏组件安装快捷方便、省时、省材,更换方便。

The utility model discloses a large-size combined photovoltaic module, which belongs to the field of photovoltaic power generation. A combined solar photovoltaic module, including a frameless photovoltaic module and a connecting member, characterized in that the connecting member is composed of a frame, a support beam, a detachable frame bead and a support beam bead, and a plurality of frameless photovoltaic modules are placed on On the support beam, the support beam bead is fastened with the support beam to form a whole, and the frame and the frame bead are fastened around the whole to form a combined solar photovoltaic module. The combined photovoltaic module is fast and convenient to install, saves time and materials, and is easy to replace.

Description

一种组合式太阳能光伏组件 A combined solar photovoltaic module

技术领域technical field

本实用新型涉及一种太阳能光伏组件,尤其是一种大尺寸组合式光伏组件,属于光伏发电领域。 The utility model relates to a solar photovoltaic component, in particular to a large-size combined photovoltaic component, which belongs to the field of photovoltaic power generation. the

背景技术Background technique

随着光伏组件大规模应用于电站,如何降低光伏组件的使用成本倍受关注,而降低光伏组件的安装成本是需要考虑的一个重要因素。在安装过程中,光伏组件的尺寸是影响安装成本的直接因素,相对于分批安装几个小尺寸光伏组件而言,一次性安装一个大尺寸光伏组件可缩短安装时间、节省支架和辅料。因此将光伏组件做成大尺寸是降低安装成本的方法之一。目前,由于受到太阳能电池加工设备的限制,光伏组件的尺寸不能做得很大,即使通过内部拼接加工制成大尺寸,但废品率及成本高。因此,在保证降低废品率的同时,如何将太阳能光伏组件做成大尺寸是当前的一个技术难题。专利号为ZL200920210087.x的中国专利公开了一种横截面呈“工”字型的太阳能光伏组件的连接构件,该构件两边设有与光伏组件厚度相同的插槽,便于安装,但该连接构件不适用于大尺寸光伏组件,当光伏组件长度大于连接构件长度时,承托强度不足,可靠性不高。 With the large-scale application of photovoltaic modules in power stations, how to reduce the cost of using photovoltaic modules has attracted much attention, and reducing the installation cost of photovoltaic modules is an important factor that needs to be considered. During the installation process, the size of the photovoltaic module is a direct factor affecting the installation cost. Compared with installing several small-sized photovoltaic modules in batches, installing one large-sized photovoltaic module at one time can shorten the installation time and save brackets and auxiliary materials. Therefore, making photovoltaic modules into large sizes is one of the ways to reduce installation costs. At present, due to the limitation of solar cell processing equipment, the size of photovoltaic modules cannot be made very large. Even if they are made into large sizes through internal splicing processing, the scrap rate and cost are high. Therefore, how to make the solar photovoltaic module into a large size is a current technical problem while ensuring the reduction of the scrap rate. The Chinese patent No. ZL200920210087.x discloses a connecting member of a solar photovoltaic module with an "I"-shaped cross section. The two sides of the member are provided with slots with the same thickness as the photovoltaic module, which is convenient for installation. However, the connecting member It is not suitable for large-size photovoltaic modules. When the length of the photovoltaic module is greater than the length of the connecting member, the supporting strength is insufficient and the reliability is not high. the

发明内容Contents of the invention

本实用新型的任务是针对现有技术的不足,提供一种成本低、结构简单、安装简便的大尺寸组合式太阳能光伏组件。 The task of the utility model is to provide a large-size combined solar photovoltaic module with low cost, simple structure and easy installation for the deficiencies of the prior art. the

为实现以上任务,本实用新型采用的技术方案是:提供一种组合式太阳能光伏组件,包括无边框光伏组件和连接构件,其特征在于,所述连接构件由边 框、支撑梁、可拆卸的边框压条和支撑梁压条构成,多个无边框光伏组件放置于支撑梁上,由支撑梁压条与支撑梁扣合形成一个整体,边框与边框压条扣紧该整体四周形成组合式太阳能光伏组件。 In order to achieve the above tasks, the technical solution adopted by the utility model is: provide a combined solar photovoltaic module, including a frameless photovoltaic module and a connecting member, characterized in that the connecting member consists of a frame, a support beam, a detachable Composed of frame bead and support beam bead, multiple frameless photovoltaic modules are placed on the support beam, and the support beam bead is buckled with the support beam to form a whole, and the frame and frame bead are fastened around the whole to form a combined solar photovoltaic module. the

所述边框为U型挤出型材,该U型型材开口处为边框线槽,底部设有边框螺栓槽,左边设有边框扣爪及边框外压槽,右边顶部设有Z型卡扣。 The frame is a U-shaped extruded profile, the opening of the U-shaped profile is a frame line groove, the bottom is provided with a frame bolt groove, the left side is provided with a frame buckle claw and a frame external pressure groove, and the right top is provided with a Z-shaped buckle. the

所述支撑梁为凸型挤出型材,该凸型型材顶部设有支撑梁扣爪,两侧设有支撑梁密封槽。 The support beam is a convex extruded profile, and the top of the convex profile is provided with support beam buckle claws, and the two sides are provided with support beam sealing grooves. the

所述边框压条为L型挤出型材,该L型型材的横边及竖边均设有边框压条密封槽,竖边内侧还设有边框压条扣爪。 The frame bead is an L-shaped extruded profile, and the horizontal and vertical sides of the L-shaped profile are provided with a frame bead sealing groove, and the inner side of the vertical side is also provided with a frame bead buckle. the

所述支撑梁压条为T型挤出型材,该T型型材两侧设有支撑梁压条密封槽,底部设有支撑梁压条扣爪。 The support beam bead is a T-shaped extruded profile, the T-shaped profile is provided with a support beam bead sealing groove on both sides, and a support beam bead buckle claw is provided at the bottom. the

所述Z型卡扣上连接有可拆卸的线槽扣条。 The Z-shaped buckle is connected with a detachable line groove buckle. the

所述边框外压槽上固定有压块,该压块为Z型挤出型材,其上设有锯齿状突出。 A pressing block is fixed on the outer pressure groove of the frame, and the pressing block is a Z-shaped extruded section bar with serrated protrusions on it. the

所述所述支撑梁为挤出型材,左边呈U型,右边为“凸”型。 The said support beam is an extruded profile, the left side is U-shaped, and the right side is "convex"-shaped. the

所述边框线槽内部布有输出电缆。 Output cables are arranged inside the wire groove of the frame. the

所述支撑梁的U型槽内部放置有接线盒。 A junction box is placed inside the U-shaped groove of the support beam. the

本实用新型的有益效果是:该大尺寸组合式光伏组件由多个独立的无边框小组件组成,可以预先在工厂组装完成,在现场可作为一个光伏组件来安装,相当于一次性同时安装多个小尺寸光伏组件,省时、省材、方便快捷。同时输出电缆隐藏在边框线槽内,有利于对电缆线的保护,安全性高,且不影响美观,当出现接线故障时可以打开线槽扣条,进行重新接线;扣合光伏组件的边框压 条和支撑梁压条均可拆卸,当某一无边框小尺寸光伏组件出现问题时,更换方便。 The beneficial effect of the utility model is: the large-size combined photovoltaic module is composed of a plurality of independent frameless small modules, which can be assembled in the factory in advance, and can be installed as a photovoltaic module on site, which is equivalent to installing multiple modules at the same time. A small-sized photovoltaic module saves time, materials, and is convenient and quick. At the same time, the output cable is hidden in the wire groove of the frame, which is beneficial to the protection of the cable, has high safety, and does not affect the appearance. When a wiring fault occurs, the wire groove buckle can be opened to re-wire; the frame pressure of the photovoltaic module is fastened. Both the bar and the support beam bead can be disassembled, and it is easy to replace when there is a problem with a frameless small-size photovoltaic module. the

附图说明Description of drawings

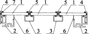
图1:本实用新型的结构示意图 Figure 1: Structural schematic diagram of the utility model

图2:图1中A-A剖视示意图 Figure 2: A schematic cross-sectional view of A-A in Figure 1

图3:图1中B-B剖视示意图 Figure 3: Schematic diagram of B-B section in Figure 1

图4:图1中边框2示意图 Figure 4: Schematic diagram of frame 2 in Figure 1

图5:图1中支撑梁3示意图 Figure 5: Schematic diagram of support beam 3 in Figure 1

图6:图1中边框压条4示意图 Figure 6: Schematic diagram of frame bead 4 in Figure 1

图7:图1中支撑梁压条5示意图 Figure 7: Schematic diagram of support beam layer 5 in Figure 1

图8:实施例1示意图 Figure 8: Schematic diagram of embodiment 1

图9:图8中压块102示意图 Figure 9: Schematic diagram of the briquetting block 102 in Figure 8

图10:实施例2示意图 Figure 10: Schematic diagram of embodiment 2

图11:实施例2截面示意图 Figure 11: Schematic cross-sectional view of embodiment 2

图12:图11中3′示意图 Figure 12: Schematic diagram of 3' in Figure 11

图1-12中:无边框小尺寸光伏组件1,边框2,支撑梁3,3′是支撑梁B,边框压条4,支撑梁压条5,线槽扣条6,密封胶条7,连接块8,输出电缆9,边框密封槽21,边框扣爪22,边框插角孔23,边框外压槽24,边框螺栓槽25,边框线槽26,Z型卡扣27,横梁101,压块102,接线盒11,支撑梁密封槽31,支撑梁扣爪32,边框压条密封槽41,边框压条扣爪42,支撑梁压条密封槽51,支撑梁压条扣爪52。 In Figure 1-12: Frameless small-size photovoltaic module 1, frame 2, support beam 3, 3' is support beam B, frame bead 4, support beam bead 5, wire groove buckle 6, sealing rubber strip 7, connecting block 8. Output cable 9, frame sealing groove 21, frame buckle claw 22, frame angle hole 23, frame external pressure groove 24, frame bolt groove 25, frame wire groove 26, Z-shaped buckle 27, beam 101, pressure block 102 , Junction box 11, support beam seal groove 31, support beam buckle claw 32, frame bead seal groove 41, frame bead buckle claw 42, support beam bead seal groove 51, support beam bead buckle claw 52. the

以下结合附图详细说明本实用新型的结构原理。 The structural principle of the present utility model will be described in detail below in conjunction with the accompanying drawings. the

本实用新型主要由无边框光伏组件1、边框2、支撑梁3、可拆卸的边框压条 4和支撑梁压条5构成,边框2通过插角插接在边框插角孔23内,将四条边框2形成封闭矩形,将支撑梁3两端通过连接块8用自攻螺钉固定在边框2上,在边框密封槽21和支撑梁密封槽31内装有密封胶条7,将无边框小尺寸光伏组件1放在边框2和支撑梁3的密封胶条7上,同时接线盒11落在边框2的边框线槽26上方,并将串并联好的输出电缆9放置在边框线槽26内,扣好线槽扣条6,将边框压条密封槽41内装有密封胶条7的边框压条4通过边框压条扣爪42扣紧在边框扣爪22上,并压紧无边框小尺寸光伏组件1的边缘,再将在支撑梁压条密封槽51内装有密封胶条7的支撑梁压条5通过支撑梁压条扣爪52扣紧在支撑梁扣爪32上,并压紧无边框小尺寸光伏组件1的边缘,形成一个组合式的光伏组件。边框2、支撑梁3、边框压条4、支撑梁压条5及线槽扣条6都是挤出型材,制造方便成本低。本实用新型在边框下部留有可以从外侧压紧固定的边框外压槽,以及可以通过螺钉固定的边框螺栓槽,可根据用户需求选择固定方式。 The utility model is mainly composed of a frameless photovoltaic module 1, a frame 2, a support beam 3, a detachable frame bead 4 and a support beam bead 5. Form a closed rectangle, fix the two ends of the support beam 3 on the frame 2 through the connecting block 8 with self-tapping screws, install the sealing rubber strip 7 in the sealing groove 21 of the frame and the sealing groove 31 of the support beam, and connect the frameless small-sized photovoltaic module 1 Put it on the sealing strip 7 of the frame 2 and the support beam 3, and at the same time, the junction box 11 is placed above the frame slot 26 of the frame 2, and the output cable 9 connected in series and parallel is placed in the frame slot 26, and fastened Groove buckle 6, fasten the frame bead 4 with the sealing rubber strip 7 in the frame bead seal groove 41 on the frame buckle 22 through the frame bead buckle 42, and press the edge of the frameless small-sized photovoltaic module 1, and then Fasten the support beam bead 5 with the sealing rubber strip 7 in the support beam bead seal groove 51 on the support beam clasp 32 through the support beam bead claw 52, and press the edge of the frameless small-sized photovoltaic module 1 to form A combined photovoltaic module. The frame 2 , the support beam 3 , the frame bead 4 , the support beam bead 5 and the groove buckle 6 are all extruded profiles, which are easy to manufacture and low in cost. In the utility model, there are frame external pressure grooves that can be pressed and fixed from the outside at the lower part of the frame, and frame bolt grooves that can be fixed by screws, and the fixing method can be selected according to user needs. the

具体实施方式Detailed ways

实施例1: Example 1:

本实用新型主要由无边框光伏组件1、边框2、支撑梁3、可拆卸的边框压条4和支撑梁压条5构成,将多个无边框光伏组件1放置于支撑梁3上,由支撑梁压条5与支撑梁3扣合形成一个整体,边框2与边框压条4扣紧该整体四周形成组合式太阳能光伏组件。 The utility model is mainly composed of a frameless photovoltaic module 1, a frame 2, a support beam 3, a detachable frame bead 4 and a support beam bead 5, a plurality of frameless photovoltaic modules 1 are placed on the support beam 3, and the support beam bead 5 is fastened with the support beam 3 to form a whole, and the frame 2 and the frame bead 4 are fastened around the whole to form a combined solar photovoltaic module. the

本实施例边框2采用U型挤出型材,见图4。左边有两个内扣式边框扣爪22及一个边框外压槽24,U型型材的开口处为边框线槽26,底部有一个边框螺栓槽25,右竖边顶部有一个Z型卡扣27。内扣式边框扣爪22与边框压条扣爪42扣紧固定。边框外压槽24与支架通过压块102固定。槽扣条6固定。支撑梁3采用凸型挤出型材,见图5。在凸起部位的两侧各有一个T型支撑梁密封槽31,凸起的顶部为一个T型支撑梁扣爪32。在凸型的上横边左右各有一个支撑梁密封槽31。支撑梁密封槽31内装密封胶条7,支撑梁扣爪32与支撑梁压条扣爪52扣紧固定。边框压条4为L型挤出型材,见图6。在横边的下方及竖边内侧各有1个边框压条密封槽41,在竖边内侧有两个外扣式边框压条扣爪42。边框压条密封槽41内装密封胶条7,边框压条扣爪42与边框扣爪22扣紧固定。支撑梁压条为T型挤出型材,见图7。在横边两侧各有一个T型支撑梁压条密封槽51,竖边底部有一个支撑梁压条扣爪52。支撑梁压条密封槽51内装密封胶条7,支撑梁压条扣爪52与支撑梁扣爪32扣紧固定。压块102为Z型挤出型材,见图9。右边底部有锯齿状凸出102-2,压块左边102-1与支架固定,右边与边框外压槽24压紧固定,锯齿形可咬合紧密、增大摩擦力。 In this embodiment, the frame 2 adopts a U-shaped extruded profile, as shown in FIG. 4 . On the left, there are two inner buckle-type frame buckle claws 22 and a frame external pressure groove 24. The opening of the U-shaped profile is a frame line groove 26, a frame bolt groove 25 is located at the bottom, and a Z-shaped buckle 27 is located on the top of the right vertical side . The inner buckle frame buckle claw 22 is fastened and fixed with the frame bead buckle claw 42 . The outer pressure groove 24 of the frame is fixed to the bracket through the pressing block 102 . Groove buckle bar 6 is fixed. The supporting beam 3 adopts a convex extruded profile, as shown in FIG. 5 . There is a T-shaped supporting beam sealing groove 31 on both sides of the raised part, and a T-shaped supporting beam buckle claw 32 is formed on the top of the raised part. A support beam sealing groove 31 is respectively arranged on the left and right sides of the upper horizontal edge of the convex shape. The sealing strip 7 is installed in the sealing groove 31 of the supporting beam, and the supporting beam buckle claw 32 is fastened and fixed with the supporting beam bead buckling claw 52 . The frame bead 4 is an L-shaped extruded profile, as shown in FIG. 6 . There is one frame bead sealing groove 41 under the horizontal side and the inner side of the vertical side respectively, and two outer buckle type frame bead buckle claws 42 are arranged on the inner side of the vertical side. The frame bead sealing groove 41 is equipped with a sealing rubber strip 7 , and the frame bead claw 42 is fastened and fixed with the frame clasp claw 22 . The support beam bead is a T-shaped extruded profile, as shown in Figure 7. A T-shaped support beam bead sealing groove 51 is respectively arranged on both sides of the horizontal side, and a support beam bead clasp claw 52 is arranged at the bottom of the vertical side. The support beam bead sealing groove 51 is equipped with a sealing rubber strip 7, and the support beam bead buckle claw 52 is fastened and fixed with the support beam bead buckle claw 32. The briquetting block 102 is a Z-shaped extruded profile, as shown in FIG. 9 . The right bottom has a serrated protrusion 102-2, the left side of the pressing block 102-1 is fixed with the support, the right side is pressed and fixed with the outer pressure groove 24 of the frame, and the zigzag can be tightly occluded to increase friction. the

见图8,本实施例采用的无边框小尺寸光伏组件1为1640mm×707mm×7mm的非晶硅双玻璃组件,预先在工厂将三块小尺寸光伏组件组合成一个尺寸为1660mm×2150mm×35mm的组合式光伏组件,并将四个组合式光伏组件安装成一组光伏阵列,相当于一次性安装了12个小尺寸光伏组件,减少了4根长度为7000mm的横梁、16个连接块和15个压块,相当于减少了60%的安装材料,节省了70%以上的安装时间。 As shown in Figure 8, the frameless small-size photovoltaic module 1 used in this embodiment is an amorphous silicon double-glass module with a size of 1640mm×707mm×7mm. and install four combined photovoltaic modules into a group of photovoltaic arrays, which is equivalent to installing 12 small-sized photovoltaic modules at one time, reducing 4 beams with a length of 7000mm, 16 connection blocks and 15 The pressing block is equivalent to reducing the installation materials by 60%, and saving more than 70% of the installation time. the

实施例2: Example 2:

见图10、11,本实施例采用9片1640mm×707mm×7mm的非晶硅双玻璃组件,在工厂内预先组装成一个尺寸为5000mm×2200mm×45mm的组合式光伏组件,包装方便适合货柜运输。例如20尺货柜,刚好可运输5000mm×2200mm组件。在安装地点可用吊车安装,减少人工费投入及缩短工期,其具体实施方式 同实施例1,在此不再赘述,不同之处是组合式光伏组件中的边框2与边框压条4采用导轨式扣紧固定,支撑梁B为挤出型材,左边呈U型,右边为“凸”字型,如图12所示。U型槽33′用于布线及放置接线盒,凸型作用同支撑梁3,32′为支撑梁B的扣爪,31′为支撑梁B的密封槽。压块102右边底部设有牙形凸出,左边与支架固定,右边与边框外压槽24压紧固定。 See Figures 10 and 11. In this example, 9 pieces of amorphous silicon double-glass modules of 1640mm×707mm×7mm are used in the factory to pre-assemble into a combined photovoltaic module with a size of 5000mm×2200mm×45mm. The packaging is convenient and suitable for container transportation. . For example, a 20-foot container can just transport 5000mm×2200mm components. It can be installed with a crane at the installation site, reducing labor costs and shortening the construction period. The specific implementation method is the same as that of Example 1, and will not be repeated here. The difference is that the frame 2 and frame bead 4 in the combined photovoltaic module adopt rail-type buckles. Tightly fixed, the support beam B is an extruded profile, the left side is U-shaped, and the right side is "convex"-shaped, as shown in Figure 12. The U-shaped groove 33' is used for wiring and placing the junction box. The convex function is the same as that of the supporting beam 3. The bottom of the right side of the pressing block 102 is provided with a tooth-shaped protrusion, the left side is fixed with the bracket, and the right side is pressed and fixed with the outer pressure groove 24 of the frame. the

以上结合附图对本实用新型的实施例作了详细说明,但是本实用新型并不限于上述实施例,尤其是边框压条与边框的扣紧方式,在本领域普通技术人员所具备的知识范围内,还可以在不脱离本发明宗旨的前提下作出各种变化。 The above embodiments of the utility model have been described in detail in conjunction with the accompanying drawings, but the utility model is not limited to the above embodiments, especially the fastening method of the frame bead and the frame is within the knowledge of those of ordinary skill in the art. Various changes can also be made without departing from the gist of the invention. the

Claims (10)

1.一种组合式太阳能光伏组件,包括无边框光伏组件和连接构件,其特征在于所述连接构件由边框、支撑梁、可拆卸的边框压条和支撑梁压条构成,多个无边框光伏组件放置于支撑梁上,由支撑梁压条与支撑梁扣合形成一个整体,边框与边框压条扣紧该整体四周形成组合式太阳能光伏组件。1. A combined solar photovoltaic module, comprising a frameless photovoltaic module and a connection member, characterized in that the connection member is composed of a frame, a support beam, a detachable frame bead and a support beam bead, and a plurality of frameless photovoltaic modules are placed On the support beam, the support beam bead is buckled with the support beam to form a whole, and the frame and the frame bead are fastened around the whole to form a combined solar photovoltaic module. 2.根据权利要求1所述的一种组合式太阳能光伏组件,其特征在于所述边框为U型挤出型材,该U型型材开口处为边框线槽,底部设有边框螺栓槽,左边设有边框扣爪及边框外压槽,右边顶部设有Z型卡扣。2. A combined solar photovoltaic module according to claim 1, characterized in that the frame is a U-shaped extruded profile, the opening of the U-shaped profile is a frame wire groove, the bottom is provided with frame bolt grooves, and the left side is provided with There are frame buckle claws and frame external pressure grooves, and a Z-shaped buckle on the top right. 3.根据权利要求1所述的一种组合式太阳能光伏组件,其特征在于所述支撑梁为凸型挤出型材,该凸型型材顶部设有支撑梁扣爪,两侧设有支撑梁密封槽。3. A combined solar photovoltaic module according to claim 1, characterized in that the support beam is a convex extruded profile, the top of the convex profile is provided with a support beam buckle claw, and the two sides are provided with a support beam seal groove. 4.根据权利要求1所述的一种组合式太阳能光伏组件,其特征在于所述边框压条为L型挤出型材,该L型型材的横边及竖边均设有边框压条密封槽,竖边内侧还设有边框压条扣爪。4. A combined solar photovoltaic module according to claim 1, characterized in that the frame bead is an L-shaped extruded profile, and the horizontal and vertical sides of the L-shaped profile are provided with frame bead sealing grooves. There is also a frame pressing strip buckle claw on the inner side. 5.根据权利要求1所述的一种组合式太阳能光伏组件,其特征在于所述支撑梁压条为T型挤出型材,该T型型材两侧设有支撑梁压条密封槽,底部设有支撑梁压条扣爪。5. A combined solar photovoltaic module according to claim 1, characterized in that the support beam bead is a T-shaped extruded profile, the two sides of the T-shaped profile are provided with support beam bead sealing grooves, and the bottom is provided with a support Beam layer buckle claw. 6.根据权利要求2所述的一种组合式太阳能光伏组件,其特征在于所述Z型卡扣上连接有可拆卸的线槽扣条。6. A combined solar photovoltaic module according to claim 2, characterized in that the Z-shaped buckle is connected with a detachable wire groove buckle. 7.根据权利要求2所述的一种组合式太阳能光伏组件,其特征在于所述边框外压槽上固定有压块,该压块为Z型挤出型材,其上设有锯齿状突出。7. A combined solar photovoltaic module according to claim 2, characterized in that a pressing block is fixed on the outer pressure groove of the frame, and the pressing block is a Z-shaped extruded profile with serrated protrusions on it. 8.根据权利要求1所述的一种组合式太阳能光伏组件,其特征在于所述所述支撑梁为挤出型材,左边呈U型,右边为“凸”型。8. A combined solar photovoltaic module according to claim 1, characterized in that said support beam is an extruded profile, the left side is U-shaped, and the right side is "convex"-shaped. 9.根据权利要求2所述的一种组合式太阳能光伏组件,其特征在于所述边框线槽内部布有输出电缆。9. A combined solar photovoltaic module according to claim 2, characterized in that an output cable is laid inside the wire groove of the frame. 10.根据权利要求8所述的一种组合式太阳能光伏组件,其特征在于所述支撑梁的U型槽内部放置有接线盒。10. A combined solar photovoltaic module according to claim 8, characterized in that a junction box is placed inside the U-shaped groove of the support beam.
CN201020276127.3U 2010-07-29 2010-07-29 A combined solar photovoltaic module Expired - Lifetime CN201812830U (en)

Priority Applications (1)

Application Number Priority Date Filing Date Title
CN201020276127.3U CN201812830U (en) 2010-07-29 2010-07-29 A combined solar photovoltaic module

Applications Claiming Priority (1)

Application Number Priority Date Filing Date Title
CN201020276127.3U CN201812830U (en) 2010-07-29 2010-07-29 A combined solar photovoltaic module

Publications (1)

Publication Number Publication Date
CN201812830U true CN201812830U (en) 2011-04-27

Family

ID=43895768

Family Applications (1)

Application Number Title Priority Date Filing Date
CN201020276127.3U Expired - Lifetime CN201812830U (en) 2010-07-29 2010-07-29 A combined solar photovoltaic module

Country Status (1)

Country Link
CN (1) CN201812830U (en)

Cited By (4)

* Cited by examiner, † Cited by third party
Publication number Priority date Publication date Assignee Title
CN102324325A (en) * 2011-07-20 2012-01-18 彩虹集团公司 Dye-sensitized cell (DSC) secondary packaging method
CN103165733A (en) * 2011-12-13 2013-06-19 苏州工业园区高登威科技有限公司 Solar cell frame dismantling system
CN108389925A (en) * 2018-03-25 2018-08-10 宜兴锦尚太阳能科技有限公司 A kind of combination type solar solar panel
CN111924282A (en) * 2020-07-13 2020-11-13 江苏悦阳光伏科技有限公司 Protection mechanism of single crystal solar cell

Cited By (4)

* Cited by examiner, † Cited by third party
Publication number Priority date Publication date Assignee Title
CN102324325A (en) * 2011-07-20 2012-01-18 彩虹集团公司 Dye-sensitized cell (DSC) secondary packaging method
CN103165733A (en) * 2011-12-13 2013-06-19 苏州工业园区高登威科技有限公司 Solar cell frame dismantling system
CN108389925A (en) * 2018-03-25 2018-08-10 宜兴锦尚太阳能科技有限公司 A kind of combination type solar solar panel
CN111924282A (en) * 2020-07-13 2020-11-13 江苏悦阳光伏科技有限公司 Protection mechanism of single crystal solar cell

Similar Documents

Publication Publication Date Title
CN201812830U (en) A combined solar photovoltaic module
US9951972B2 (en) Fixing metal bracket and solar battery system
US20120118382A1 (en) Photovoltaic cell module
CN108063593B (en) Assembly support and middle pedal integrated plug-in type water surface photovoltaic power generation system and method
CN215934770U (en) Frameless photovoltaic assembly installation device and photovoltaic roof combined system
CN202152495U (en) Point-supported solar photovoltaic curtain wall glass
CN203734591U (en) Solar photovoltaic assembly applicable to water
CN202108169U (en) Embedded roof structure with photovoltaic subassemblies
CN108141172A (en) For the rear surface element of solar energy module
CN206294112U (en) A kind of photovoltaic module briquetting device for flexible support
WO2024239649A1 (en) Module frame unit, frame assembly and photovoltaic module
CN202633356U (en) Frame and photovoltaic assembly with same
CN208094494U (en) Modular support and intermediate pedal one plug-in water surface photovoltaic generating system
CN207166407U (en) The direct buckle installation rearmounted flexible photovoltaic unit of terminal box of roofing
CN103794667B (en) Solar photovoltaic module suitable for water and packaging method thereof
CN212553572U (en) Mounting and positioning tool for solar photovoltaic module
CN209120115U (en) Photovoltaic module
CN204227734U (en) A kind of solar water heater water tank be combined with photovoltaic cell
CN201623419U (en) Solar photovoltaic junction box
CN204290826U (en) Photovoltaic system flexible installing device
CN223451931U (en) Photovoltaic window wiring structure and photovoltaic window structure
CN201918399U (en) a photovoltaic system
CN216531136U (en) Counterweight base for supporting photovoltaic power generation solar panel
CN221127203U (en) A lightweight frame for solar photovoltaic panels
CN205004990U (en) Photovoltaic is T type rail connecting structure for support

Legal Events

Date Code Title Description
C14 Grant of patent or utility model
GR01 Patent grant
CX01 Expiry of patent term
CX01 Expiry of patent term

Granted publication date: 20110427