CN201753497U - 生态块及其构成的防护墙 - Google Patents
生态块及其构成的防护墙 Download PDFInfo
- Publication number
- CN201753497U CN201753497U CN2010201091081U CN201020109108U CN201753497U CN 201753497 U CN201753497 U CN 201753497U CN 2010201091081 U CN2010201091081 U CN 2010201091081U CN 201020109108 U CN201020109108 U CN 201020109108U CN 201753497 U CN201753497 U CN 201753497U
- Authority
- CN
- China
- Prior art keywords
- ecological
- piece
- protecting wall
- locating slot
- groove
- Prior art date
- Legal status (The legal status is an assumption and is not a legal conclusion. Google has not performed a legal analysis and makes no representation as to the accuracy of the status listed.)
- Expired - Fee Related
Links
- 230000001681 protective effect Effects 0.000 title abstract 2
- 238000004804 winding Methods 0.000 abstract 1
- 239000011449 brick Substances 0.000 description 18
- 239000012634 fragment Substances 0.000 description 17
- 241000196324 Embryophyta Species 0.000 description 5
- 230000015572 biosynthetic process Effects 0.000 description 5
- 230000003628 erosive effect Effects 0.000 description 4
- 238000010276 construction Methods 0.000 description 2
- 230000000694 effects Effects 0.000 description 2
- XLYOFNOQVPJJNP-UHFFFAOYSA-N water Substances O XLYOFNOQVPJJNP-UHFFFAOYSA-N 0.000 description 2
- 244000025254 Cannabis sativa Species 0.000 description 1
- 230000008034 disappearance Effects 0.000 description 1
- 238000006073 displacement reaction Methods 0.000 description 1
- 238000005516 engineering process Methods 0.000 description 1
- 230000002452 interceptive effect Effects 0.000 description 1
- 230000001788 irregular Effects 0.000 description 1
- 239000000463 material Substances 0.000 description 1
- 230000011218 segmentation Effects 0.000 description 1
- 239000002689 soil Substances 0.000 description 1
Images
Landscapes
- Revetment (AREA)
Abstract
本实用新型是一种生态块,其包含有:一本体;数个定位槽,为长形,以横向并列方式形成在本体底面;及二定位销,呈圆柱状,自本体顶面向上突伸而出而一体成型,各定位销可插设在另一生态块本体的其中一定位槽中,并可于该定位槽中旋转及滑动,以此令两生态块可分朝不同水平角度而上下堆迭。通过生态块以定位销在另一生态块的定位槽中转动,可令生态块以非直线方式排列以便构成蜿蜒的防护墙来适应各种山坡与河道地形。
Description
技术领域
本实用新型属于一种生态块,尤指一种生态块及其构成的防护墙,该生态块可沿直线排列构成一平坦的防护墙,亦可以非直线排列而构成一蜿蜒的防护墙,以此顺应山坡或是河道两侧的蜿蜒地形。
背景技术
防护墙,如山坡护墙(挡土墙)或河道护砌等等,是具有保护山坡或河道以令其不受风雨侵蚀或是洪水冲刷的功效。一般而言,防护墙是由数个生态块堆迭组成。
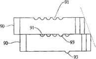
如图9到图11,中国台湾公告第273823号专利案揭露一挡土墙砖块(90),其顶面上形成有数个平行排列的长形定位槽(91),且底面上形成有一长形定位肋(93),当数砖块(90)迭合为挡土墙时,令上下相迭的相邻砖块(90)以上层砖块(90)的定位肋(93)结合下层砖块(90)的一相对应定位槽(91),如图10所示。
当为顺应山坡的坡度来构筑挡土墙时,可令上、下层砖块(90)以前后错位方式相迭,即令定位肋(93)结合在特定定位槽(91)而令上层砖块(90)较下层砖块(90)来的向前突出或是后缩,如图11所示。由于定位槽(91)与定位肋(93)呈长形结合而可相互滑动,故上、下层砖块(90)可左右错位堆迭,以此构筑为一连续交互堆迭的挡土墙。
然而,上述的砖块(90)虽可构筑为一具有倾斜墙面的挡土墙,因为长形定位槽(91)与定位肋(93)仅以单一角度相结合的限制,却无法令该挡土墙呈现蜿蜒的不规则外型。当山坡呈现蜿蜒状时,此种砖块(90)构筑的挡土墙将无法以连续堆迭方式紧贴蜿蜒山坡,而是必须以数批砖块(90)分别构筑数个不连续的挡土墙区段来分别适应山坡的各个分段,如此则造成挡土墙的整体结构较脆弱。
当上述砖块(90)用于构筑河道两内侧的不连续护砌时,其遭受河水冲刷的力道往往比用于山坡挡土墙大上许多,此时不连续的护砌更容易遭受侵蚀破坏,由于各护砌区段彼此不相连续衔接,河道内曲率较大处的护砌区段往往遭受猛烈的河水激流冲击移位或解体,导致护砌出现缺口,进而导致护砌其他部分逐步受到破坏。
发明内容
本实用新型有鉴于传统砖块所构筑的挡土墙或是河道护砌在山坡或河道蜿蜒处无法连续衔接导致挡土墙或是河道护砌整体结构脆弱的问题,改良其不足与缺失,进而创作出一种生态块以及其构成的防护墙。
本实用新型的主要目的是提供一种生态块,其可沿直线排列构成一平坦的防护墙,亦可以非直线排列而构成一蜿蜒的防护墙,以此顺应山坡或是河道两侧的蜿蜒地形。
为达上述目的,令上述生态块包含有:
一本体;
数个定位槽,为长形,以横向并列方式形成在本体底面;及
二定位销,呈圆柱状,固定在本体上而自本体顶面向上突伸,各定位销可插设于另一生态块本体的其中一定位槽中,并可于该定位槽中旋转及滑动,以此令两生态块可分朝不同水平角度而上下堆迭。
通过上述技术手段,圆柱状的定位销可在定位槽中滑动及转动,以此令上下相迭的生态块朝不同水平方向,并且可令上、下生态块错位堆迭,如此,可以生态块堆迭出连续蜿蜒的防护墙,如挡土墙或是河道护砌等,由于连续的防护墙没有中断之处,其整体结构强度高,不易瓦解,可抵挡强烈风雨或是激烈川流,有效保护山坡或河道的生态。
上述各定位销是以一体成型方式固定在本体上。
上述各定位销是一分离式构件,以插设方式固定于本体上。
上述本体由俯视观看时,呈现梯形而前端阔后端窄。
上述本体顶面形成有一靠近本体后端的凹槽,该凹槽内壁两侧分别形成有一呈半圆柱状的支撑部,该等定位销是分别位于该等支撑部之上。
上述本体由上而下贯穿形成有至少一植生槽。
上述各植生槽是呈上阔下窄状而令植生槽内侧壁具有倾斜面。
本实用新型另一目的是提供一种由上述生态块构成的防护墙,其中:
生态块是上下相迭而形成数层,而其中相邻二层的下层生态块以定位销插设于上层生态块的其中一定位槽之中;以及
上、下相邻两层的生态块是以左右错位与前后错位方式排列,各生态块的两定位销分别与其他两相邻生态块的定位槽相结合。
上述防护墙各层的生态块沿直线排列,令防护墙呈平坦状。
上述防护墙各层的生态块沿非直线排列,令防护墙呈蜿蜒状。
附图说明
图1是本实用新型生态块立体图。
图2是本实用新型生态块俯视图。
图3是本实用新型生态块侧面剖视图。
图4是本实用新型生态块以前后交错方式堆迭的侧面视图。
图5是本实用新型以生态块构成的防护墙实施例。
图6是接续图5的俯视透视图。
图7是本实用新型防护墙的另外一实施例。
图8是本实用新型接续图7的俯视透视图。
图9是旧有挡土墙砖块的立体外观图。
图10是以图9砖块上下相迭的侧视图。
图11是以图9砖块上下相迭且前后错位的侧视图。
【主要元件符号说明】
(100)生态块 (10)本体
(11)前端 (12)后端
(14)凹槽 (141)支撑部
(15)定位槽 (16)植生槽
(18)定位销 (90)砖块
(91)定位槽 (93)定位肋。
具体实施方式
如图1到图4,本实用新型生态块(100)包含有:一本体(10)、数个定位槽(15)、二定位销(18)、一凹槽(14)以及至少一植生槽(16)。
该本体(10)由俯视观看时,呈现梯形而前端(11)阔后端(12)窄。
该等定位槽(15)为长形,以横向并列方式形成在本体(10)底面。
该等定位销(18)呈圆柱状,自固定在本体(10)上而本体(10)顶面向上突伸而出,可一体成型于本体上,亦可为分离式的构件插入固设于本体(10)上。且靠近本体(10)后端(12),各定位销(18)可插设于另一生态块(100)本体(10)的其中一定位槽(15)中,并可于该定位槽(15)中旋转及滑动,以此令两生态块(100)可分朝不同水平角度而上下堆迭。
该凹槽(14)形成于本体(10)顶面而靠近本体(10)后端(12),该凹槽(10)内壁两侧上分别形成有一呈半圆柱状的支撑部(141),该等支撑部(141)分别相对应该等定位销(18)而让定位销(18)分别位于支撑部(141)之上,可为中空状而具有固定槽以供分离式的定位销构件插设固定。凹槽(14)可减少生态块(100)的材料成本,而支撑部(141)则支撑定位销(18),提高定位销(18)结构强度,避免断裂的问题。
该植生槽(16)是由上而下贯穿形成在本体(10)上。各植生槽(16)呈上阔下窄状而令植生槽(16)内侧壁具有倾斜面。倾斜面可令流经植生槽(16)的水流流速减缓,因此生态块(100)本身也有减缓水流冲击的作用,避免水流以过大流速冲刷破坏自然地形。此外,植生槽(16)内亦可填有土壤与草以便呈现绿色景观。
如图5到图8,本实用新型以生态块(100)构成的防护墙之中,生态块(100)上下相迭而形成数层,而其中相邻二层的下层生态块(100)以定位销(18)插设于上层生态块(100)的其中一定位槽(15)之中。此外,防护墙中上、下相邻两层的生态块(100)以左右错位方式排列,各生态块(100)的两定位销(18)分别与其他两相邻生态块(100)的定位槽(15)相结合。
防护墙各层的生态块(100)可沿直线排列,令防护墙呈平坦状,如图5、图6所示。当生态块(100)以直线排列时,上、下相邻两层的。
或者,防护墙各层的生态块(100)以蜿蜒方式排列,令防护墙呈蜿蜒状,如图7、图8所示。所谓蜿蜒方式,即是同层生态块(100)沿非直线排列,令生态块(100)的行或列产生弯曲的状态。当生态块(100)以蜿蜒排列时,上、下相邻两层的生态块(100)可以前后错位方式排列,如图4所示,以此令防护墙呈倾斜且蜿蜒的状态。
通过上述技术手段,圆柱状的定位销(18)可在定位槽中滑动及转动,以此令上下相迭的生态块(100)朝不同水平方向,并且可令上、下生态块(100)错位堆迭,如此,可以生态块(1O0)堆迭出连续蜿蜒的防护墙,如挡土墙或是河道护砌等,由于连续衔接的防护墙没有中断之处,其整体结构强度高,不易瓦解,可抵挡强烈风雨或是激烈川流,有效保护山坡或河道的生态。此外,由于定位销(18)是一体成形于各生态块(100)本体上,因此生态块(100)之间无须另以插销等零件组装,以此可减少防护墙构筑时间及降构筑装难度,进而提高防护墙构筑效率。
Claims (10)
1.一种生态块,其包含有:
一本体;
数个定位槽,为长形,以横向并列方式形成在本体底面;及
二定位销,呈圆柱状,固定在本体上而自本体顶面向上突伸而出,各定位销可插设在另一生态块本体的其中一定位槽中,并可于该定位槽中旋转及滑动,以此令两生态块可分朝不同水平角度而上下堆迭。
2.根据权利要求1所述的生态块,其中各定位销是以一体成型方式固定在本体上。
3.根据权利要求1所述的生态块,其中各定位销是一分离式构件,以插设方式固定于本体上。
4.根据权利要求1、2或3所述的生态块,其中本体为梯形而前端阔后端窄。
5.根据权利要求4所述的生态块,其中本体顶面形成有一靠近本体后端的凹槽,该凹槽内壁两侧分别形成有一呈半圆柱状的支撑部,该等定位销是分别位于该等支撑部之上。
6.根据权利要求5所述的生态块,其中本体由上而下贯穿形成有至少一植生槽。
7.根据权利要求6所述的生态块,其中各植生槽是呈上阔下窄状而令植生槽内侧壁具有倾斜面。
8.一种根据权利要求1的生态块所构成的防护墙,其中:
生态块是上下相迭而形成数层,而其中相邻二层的下层生态块以定位销插设于上层生态块的其中一定位槽之中;以及
上、下相邻两层的生态块是以左右错位与前后错位方式排列,各生态块的两定位销分别与其他两相邻生态块的定位槽相结合。
9.根据权利要求8所述的防护墙,其中防护墙各层的生态块沿直线排列,令防护墙呈平坦状。
10.根据权利要求8所述的防护墙,其中防护墙各层的生态块沿非直线排列,令防护墙呈蜿蜒状。
Priority Applications (1)
| Application Number | Priority Date | Filing Date | Title |
|---|---|---|---|
| CN2010201091081U CN201753497U (zh) | 2010-02-05 | 2010-02-05 | 生态块及其构成的防护墙 |
Applications Claiming Priority (1)
| Application Number | Priority Date | Filing Date | Title |
|---|---|---|---|
| CN2010201091081U CN201753497U (zh) | 2010-02-05 | 2010-02-05 | 生态块及其构成的防护墙 |
Publications (1)
| Publication Number | Publication Date |
|---|---|
| CN201753497U true CN201753497U (zh) | 2011-03-02 |
Family
ID=43621228
Family Applications (1)
| Application Number | Title | Priority Date | Filing Date |
|---|---|---|---|
| CN2010201091081U Expired - Fee Related CN201753497U (zh) | 2010-02-05 | 2010-02-05 | 生态块及其构成的防护墙 |
Country Status (1)
| Country | Link |
|---|---|
| CN (1) | CN201753497U (zh) |
Cited By (4)
| Publication number | Priority date | Publication date | Assignee | Title |
|---|---|---|---|---|
| CN102383526A (zh) * | 2011-10-24 | 2012-03-21 | 上海市第二市政工程有限公司 | 防震式预制结构外墙板及其定位方法 |
| CN102747705A (zh) * | 2012-07-17 | 2012-10-24 | 浙江元成园林集团有限公司 | 一种片岩护岸结构 |
| CN106193423A (zh) * | 2016-08-17 | 2016-12-07 | 安庆欣奥新型建材有限公司 | 一种装配式空心砖 |
| CN108385716A (zh) * | 2018-02-28 | 2018-08-10 | 南平市永拓工程有限公司 | 一种预制装配式混凝土箱型重力式挡土墙结构及其施工方法 |
-
2010
- 2010-02-05 CN CN2010201091081U patent/CN201753497U/zh not_active Expired - Fee Related
Cited By (4)
| Publication number | Priority date | Publication date | Assignee | Title |
|---|---|---|---|---|
| CN102383526A (zh) * | 2011-10-24 | 2012-03-21 | 上海市第二市政工程有限公司 | 防震式预制结构外墙板及其定位方法 |
| CN102747705A (zh) * | 2012-07-17 | 2012-10-24 | 浙江元成园林集团有限公司 | 一种片岩护岸结构 |
| CN106193423A (zh) * | 2016-08-17 | 2016-12-07 | 安庆欣奥新型建材有限公司 | 一种装配式空心砖 |
| CN108385716A (zh) * | 2018-02-28 | 2018-08-10 | 南平市永拓工程有限公司 | 一种预制装配式混凝土箱型重力式挡土墙结构及其施工方法 |
Similar Documents
| Publication | Publication Date | Title |
|---|---|---|
| CN201753497U (zh) | 生态块及其构成的防护墙 | |
| US7328537B2 (en) | Wall block, system and method | |
| CN205444102U (zh) | 三角连锁式护坡砌块以及护坡 | |
| KR200386423Y1 (ko) | 자연형 식생블록 | |
| KR101331840B1 (ko) | 옹벽 축조용 식생블록 | |
| KR101311257B1 (ko) | 옹벽용 블록 구조 | |
| KR200447510Y1 (ko) | 생태 옹벽축조블록 | |
| CN205934839U (zh) | 一种适用于北方沿海条件下的生态护岸 | |
| CN208167655U (zh) | 一种河堤生态护坡结构 | |
| KR101843058B1 (ko) | 사면 보호용 친환경 자연석블록 시공구조 및 그 자연석블록 연결방법 | |
| KR100934098B1 (ko) | 식생공간과 어류집을 구비한 호안 겸용 옹벽블록 | |
| KR20090000538A (ko) | 식생용 옹벽블럭 | |
| KR20110009351A (ko) | 조적식 옹벽 축조용 호안블록 | |
| CN204139201U (zh) | 一种挡土块 | |
| KR100446815B1 (ko) | 상하층 호안블록 접속용 톱니를 가진 어소용 호안블록과식생용 호안블록 및 그 시공방법 | |
| TWI363829B (zh) | ||
| KR100890818B1 (ko) | 친환경 식생 블록 | |
| CN207934111U (zh) | 支撑体系及循环水泵房前池 | |
| CN203701036U (zh) | 水利工程生态支护结构 | |
| CN217352328U (zh) | 一种生态砌块及应用该砌块的河道挡墙 | |
| CN218604162U (zh) | 一种高边坡仿地貌护土植草构件 | |
| KR20130021961A (ko) | 식생블록 | |
| CN106245588A (zh) | 三维生态联锁块 | |
| KR200352991Y1 (ko) | 사면 보호용 식생 호안 블럭 구조물 | |
| JP3132557U (ja) | 環境保全型ブロック |
Legal Events
| Date | Code | Title | Description |
|---|---|---|---|
| C14 | Grant of patent or utility model | ||
| GR01 | Patent grant | ||
| CF01 | Termination of patent right due to non-payment of annual fee |
Granted publication date: 20110302 Termination date: 20150205 |
|
| EXPY | Termination of patent right or utility model |