CN201744771U - 割枪吸火箱 - Google Patents
割枪吸火箱 Download PDFInfo
- Publication number
- CN201744771U CN201744771U CN2010201057146U CN201020105714U CN201744771U CN 201744771 U CN201744771 U CN 201744771U CN 2010201057146 U CN2010201057146 U CN 2010201057146U CN 201020105714 U CN201020105714 U CN 201020105714U CN 201744771 U CN201744771 U CN 201744771U
- Authority
- CN
- China
- Prior art keywords
- burning torch
- shell
- housing
- fire
- inner chamber
- Prior art date
- Legal status (The legal status is an assumption and is not a legal conclusion. Google has not performed a legal analysis and makes no representation as to the accuracy of the status listed.)
- Expired - Fee Related
Links
- 238000004140 cleaning Methods 0.000 claims abstract description 5
- UQSXHKLRYXJYBZ-UHFFFAOYSA-N Iron oxide Chemical compound [Fe]=O UQSXHKLRYXJYBZ-UHFFFAOYSA-N 0.000 abstract description 20
- 238000005520 cutting process Methods 0.000 abstract description 10
- 239000000463 material Substances 0.000 description 10
- 230000000694 effects Effects 0.000 description 3
- 239000012467 final product Substances 0.000 description 3
- 238000004519 manufacturing process Methods 0.000 description 2
- 238000009776 industrial production Methods 0.000 description 1
Images
Landscapes
- Special Wing (AREA)
Abstract
本实用新型公开一种割枪吸火箱,其特征在于:所述的割枪吸火箱包括壳体(1),其上纵向设置有与壳体(1)的内腔(3)相通的开口(2),在内腔(3)底部设置有凸条(4),凸条(4)与内腔(3)底部留有空隙(16),在内腔(3)上部、凸条(4)的上方对称设置有防溅板(5),壳体(1)上部两侧设置有固定边沿(6),在壳体(1)的端头处铰接有活动清理门(7),在壳体(1)上还设置有固定装置(8)。这是一种结构简单、使用方便,能够将割枪进行切割时产生的明火和飞溅的氧化铁吸收起来,不会影响周围人员正常工作的割枪吸火箱。
Description
技术领域
本实用新型涉及一种割枪用的辅助工具,尤其是一种结构简单、巧妙,使用方便,能够有效将切割时飞溅的明火和氧化铁收集起来,方便周围人员进行正常工作,保障安全的割枪吸火箱。
背景技术
在工业生产活动中,当人们需要使用割枪进行切割工作时,会产生明火和飞溅的氧化铁,这样周围的人们就难以进行正常工作,甚至造成火灾的发生,尤其是在切割位于高处的板材时,氧化铁会飞溅到板材的下方,这样在整个切割过程中,其下方很大部分的作业空间只能处于空闲状态,降低了生产效率。而且在切割时,还需要有专人随时看护,以防止发生火灾。现在还没有一种可以将切割过程中产生的明火和氧化铁收集在一起,避免影响周围人员正常工作,甚至发生火灾的情况发生。
发明内容
本实用新型是为了解决现有技术所存在的上述问题,提供一种结构简单、使用方便,能够将割枪进行切割时产生的明火和飞溅的氧化铁吸收起来,不会影响周围人员正常工作的割枪吸火箱。
本实用新型的具体解决方案是:一种割枪吸火箱,其特征在于:所述的割枪吸火箱包括壳体1,其上纵向设置有与壳体1的内腔3相通的开口2,在内腔3底部设置有凸条4,凸条4与内腔3底部留有空隙16,在内腔3上部、凸条4的上方对称设置有防溅板5,壳体1上部两侧设置有固定边沿6,在壳体1的端头处铰接有活动清理门7,在壳体1上还设置有固定装置8。
所述的固定装置8为磁铁9,设置在固定边沿6的下沿。
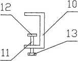
所述的固定装置8包括侧面开口的夹持体10,夹持体10内螺纹连接有固定螺杆11,固定螺杆11的顶端设置有垫块12,固定螺杆11的底端设置有旋转盘13。
本实用新型同现有技术相比,具有如下优点:
本装置的结构简单、巧妙,使用方便,它可以有效地将割枪进行切割活动 中产生的明火阻挡在其内部,保证了生产过程中的作业安全;同时还可以防止切割时产生的氧化铁到处飞溅,影响周围人员的正常工作,提高了工作效率;在切割活动时使用本装置,无需专人看护用以防止发生火灾,更节省了大量的成本;本装置具备广泛的市场前景,十分有利于在本领域中推广应用。
附图说明
图1是本实用新型的俯视图。
图2是本实用新型A-A部的剖视图。
图3是本实用新型实施例一的结构示意图。
图4是本实用新型实施例二的结构示意图。
图5是本实用新型固定装置实施例二的结构示意图。
具体实施方式
下面将结合附图说明本实用新型的具体实施方式。如图1、图2、图3、图4、图5所示:一种割枪吸火箱,包括作为基础的壳体1,壳体1的外形根据工作环境决定,在壳体1的上表面开设有开口2,开口2与壳体1的内腔3相通,在内腔3的底部设置有凸条4,凸条4与内腔3的底部并不接触,而是留有一个空隙16;在凸条4的上方、内腔3上部还设置有两个防溅板5,且这两个防溅板5相互对称;在壳体1的上部,两侧分别设置有固定边沿6,在壳体1的端头处铰接设置有活动清理门7;
在壳体1上还设置有可使本装置与被切割板材固定连接的固定装置8。当利用本装置切割板材14中部时,所述的固定装置8采用磁铁9,设置在固定边沿6的下沿处,利用磁铁9将壳体1吸附在板材14的下方,然后进行切割即可;
当利用本装置切割板材14的边沿时,将本装置的固定边沿6和板材14夹设在夹持体10中,并转动旋转盘13,使固定螺杆11端头处的垫块12将固定边沿6和板材14夹紧,利用固定装置8将板材14和割枪吸火箱固定后进行切割即可。
本实用新型实施例的割枪吸火箱在使用过程中,割枪进行切割时产生的明火会进入内腔3,防止火灾的发生;同时在切割过程中产生的氧化铁也不会四处飞溅,都会进入内腔3的内部,同时由于防溅板5的存在,这些氧化铁也不会从开口2中反弹出来,都从空隙16中进入空腔3的底部,并储存在内腔3中,切割工作完成后,将本装置从板材上取下,打开活动清理门7,将冷却后的氧化铁壳体从中倾倒出来,等待下次切割工作即可。
Claims (3)
1.一种割枪吸火箱,其特征在于:所述的割枪吸火箱包括壳体(1),其上纵向设置有与壳体(1)的内腔(3)相通的开口(2),在内腔(3)底部设置有凸条(4),凸条(4)与内腔(3)底部留有空隙(16),在内腔(3)上部、凸条(4)的上方对称设置有防溅板(5),壳体(1)上部两侧设置有固定边沿(6),在壳体(1)的端头处铰接有活动清理门(7),在壳体(1)上还设置有固定装置(8)。
2.根据权利要求1所述的割枪吸火箱,其特征在于:所述的固定装置(8)为磁铁(9),设置在固定边沿(6)的下沿。
3.根据权利要求1所述的割枪吸火箱,其特征在于:所述的固定装置(8)包括侧面开口的夹持体(10),夹持体(10)内螺纹连接有固定螺杆(11),固定螺杆(11)的顶端设置有垫块(12),固定螺杆(11)的底端设置有旋转盘(13)。
Priority Applications (1)
| Application Number | Priority Date | Filing Date | Title |
|---|---|---|---|
| CN2010201057146U CN201744771U (zh) | 2010-02-02 | 2010-02-02 | 割枪吸火箱 |
Applications Claiming Priority (1)
| Application Number | Priority Date | Filing Date | Title |
|---|---|---|---|
| CN2010201057146U CN201744771U (zh) | 2010-02-02 | 2010-02-02 | 割枪吸火箱 |
Publications (1)
| Publication Number | Publication Date |
|---|---|
| CN201744771U true CN201744771U (zh) | 2011-02-16 |
Family
ID=43579441
Family Applications (1)
| Application Number | Title | Priority Date | Filing Date |
|---|---|---|---|
| CN2010201057146U Expired - Fee Related CN201744771U (zh) | 2010-02-02 | 2010-02-02 | 割枪吸火箱 |
Country Status (1)
| Country | Link |
|---|---|
| CN (1) | CN201744771U (zh) |
Cited By (1)
| Publication number | Priority date | Publication date | Assignee | Title |
|---|---|---|---|---|
| CN110303309A (zh) * | 2019-07-31 | 2019-10-08 | 湖州阳力钢结构有限公司 | 一种钢结构加工制作工艺 |
-
2010
- 2010-02-02 CN CN2010201057146U patent/CN201744771U/zh not_active Expired - Fee Related
Cited By (2)
| Publication number | Priority date | Publication date | Assignee | Title |
|---|---|---|---|---|
| CN110303309A (zh) * | 2019-07-31 | 2019-10-08 | 湖州阳力钢结构有限公司 | 一种钢结构加工制作工艺 |
| CN110303309B (zh) * | 2019-07-31 | 2020-07-21 | 湖州阳力钢结构有限公司 | 一种钢结构加工制作工艺 |
Similar Documents
| Publication | Publication Date | Title |
|---|---|---|
| DE602007012410D1 (de) | Solarzelle und Solarzellenmodul | |
| CN201744771U (zh) | 割枪吸火箱 | |
| USD729028S1 (en) | Tool trigger | |
| CN203791736U (zh) | 一种具有防护功能的铝材切割机 | |
| CN203437781U (zh) | 自动焊锡机 | |
| CN203437832U (zh) | 一种圆筒焊接机的防护装置 | |
| CN203103727U (zh) | 一种usb插座剪脚治具 | |
| CN202352941U (zh) | 一种光控式插头和插座的组合结构 | |
| CN205631038U (zh) | 一种干片 | |
| CN202325058U (zh) | 一种移动门 | |
| CN205018871U (zh) | 一种静音蒸汽出气阀 | |
| CN202826472U (zh) | 大型闭式压力机安全栓 | |
| CN203589563U (zh) | 一种电控柜触头盒上的活门板及电控柜 | |
| CN203062426U (zh) | 一种用于机床的托盘 | |
| CN208558414U (zh) | 杯体纸板切割成型装置 | |
| CN208215286U (zh) | 一种便于更换刀具的数控机床用组合工作台 | |
| CN204118025U (zh) | 高压断路器用触头 | |
| CN207057641U (zh) | 一种可防止铁屑掉落轨道的车床大拖板 | |
| CN203333888U (zh) | 纱锭收集装置 | |
| CN209592717U (zh) | 一种便于安装检修的电控箱 | |
| CN202571999U (zh) | 一种铣床的防护结构 | |
| CN203736086U (zh) | 一种便携式香皂 | |
| CN211072136U (zh) | 一种精密高速小孔机的工件防飞溅机构 | |
| CN204054205U (zh) | 一种线路板裁板机 | |
| CN203722965U (zh) | 制水机用电路板组件 |
Legal Events
| Date | Code | Title | Description |
|---|---|---|---|
| C14 | Grant of patent or utility model | ||
| GR01 | Patent grant | ||
| CF01 | Termination of patent right due to non-payment of annual fee |
Granted publication date: 20110216 Termination date: 20130202 |
|
| CF01 | Termination of patent right due to non-payment of annual fee |