CN201739811U - Crystal lamp - Google Patents

Crystal lamp Download PDF

Info

Publication number
CN201739811U
CN201739811U CN2010202024794U CN201020202479U CN201739811U CN 201739811 U CN201739811 U CN 201739811U CN 2010202024794 U CN2010202024794 U CN 2010202024794U CN 201020202479 U CN201020202479 U CN 201020202479U CN 201739811 U CN201739811 U CN 201739811U
Authority
CN
China
Prior art keywords
lamp
transparent
crystal
described transparent
lamppost
Prior art date
Legal status (The legal status is an assumption and is not a legal conclusion. Google has not performed a legal analysis and makes no representation as to the accuracy of the status listed.)
Expired - Fee Related
Application number
CN2010202024794U
Other languages
Chinese (zh)
Inventor
蔡兆昌
Current Assignee (The listed assignees may be inaccurate. Google has not performed a legal analysis and makes no representation or warranty as to the accuracy of the list.)
Individual
Original Assignee
Individual
Priority date (The priority date is an assumption and is not a legal conclusion. Google has not performed a legal analysis and makes no representation as to the accuracy of the date listed.)
Filing date
Publication date
Application filed by Individual filed Critical Individual
Priority to CN2010202024794U priority Critical patent/CN201739811U/en
Application granted granted Critical
Publication of CN201739811U publication Critical patent/CN201739811U/en
Anticipated expiration legal-status Critical
Expired - Fee Related legal-status Critical Current

Links

Images

Landscapes

  • Non-Portable Lighting Devices Or Systems Thereof (AREA)

Abstract

本实用新型公开了一种水晶灯,包括灯座和透明灯柱,所述透明灯柱固接在灯座上,所述灯座内设置有电光源,该水晶灯还包括透明体,所述透明灯柱内设置有柱形通道,所述透明体置于柱形通道内。本实用新型将透明体放置在透明灯柱内,使电光源通过透明体散射出去,色彩更加绚丽柔和。

Figure 201020202479

The utility model discloses a crystal lamp, comprising a lamp holder and a transparent lamp post, wherein the transparent lamp post is fixedly connected to the lamp holder, an electric light source is arranged in the lamp holder, and the crystal lamp also comprises a transparent body, wherein a columnar channel is arranged in the transparent lamp post, and the transparent body is placed in the columnar channel. The utility model places the transparent body in the transparent lamp post, so that the electric light source is scattered through the transparent body, and the color is more gorgeous and soft.

Figure 201020202479

Description

Crystal lamp
Technical field
The utility model relates to a kind of Crystal lamp, belongs to the equipped gorget territory of lamp.
Background technology
Crystal lamp is widely used in household and the office space as a kind of decorations.At present, most of Crystal lamps all are by LED lamp grain is set in crystalline, when taking on the telephone, LED lamp grain luminous back refract light intensity in crystalline in crystalline is bigger, and the refraction effect unanimity in each crystalline, and color or brightness by the LED lamp grain in the single crystalline of electronic circuit control.This Crystal lamp can satisfy client's needs substantially, but there is certain shortcoming in it: structure is complicated, the cost height.
The utility model content
The utility model is in order to overcome the defective that prior art exists, and a kind of Crystal lamp of simple in structure, good looking appearance is provided.
The utility model can be achieved by taking following technical scheme:
A kind of Crystal lamp comprises lamp socket and transparent lamppost, and described transparent lamppost is fixed on the lamp socket, is provided with electric light source in the described lamp socket, and this Crystal lamp also comprises the transparent body, is provided with cylindrical passageway in the described transparent lamppost, and the described transparent body places in the cylindrical passageway.
On the basis of the above, the described transparent body constitutes by the multistage transparent medium is end to end, and described transparent medium can be made of crystal, glass or acrylic; The top metal-plated membrane of described transparent medium, described transparent lamppost is made of crystal or glass.
Compared with prior art, the utlity model has following advantage: the utility model is placed on the transparent body in the transparent lamppost, electric light source is scattered out by the transparent body, color is gorgeous more soft, simultaneously, the medium top of the transparent body is metal-plated membrane all, can make light source obtain better scattering, better effects if.The utility model is simple in structure, low price, be widely used in the home decoration and the office space in.
Description of drawings
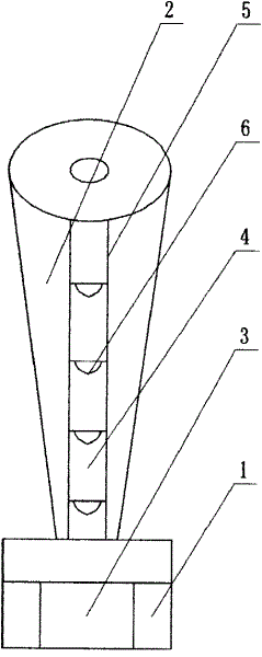
Fig. 1 is the structural representation of Crystal lamp of the present utility model.
The specific embodiment
Below in conjunction with accompanying drawing the specific embodiment of the present utility model is described in detail.
As shown in Figure 1, Crystal lamp of the present utility model comprises lamp socket 1 and transparent lamppost 2, and described lamp socket can be done cylindrical shape or grow multiple shapes such as cube-shaped, and the material of described transparent lamppost is made of crystal or glass, and its diameter increases from bottom to top gradually; Described transparent lamppost 2 is fixed on the lamp socket 1, is provided with electric light source 3 in the described lamp socket 1, and the light source of various color change can be provided; This Crystal lamp also comprises the transparent body 4, is provided with cylindrical passageway 5 in the described transparent lamppost 2, and the described transparent body 4 places in the cylindrical passageway 5, and electric light source is scattered out by crystalline, and color is gorgeous more soft.
On the basis of the above, the transparent body 4 described in the utility model constitutes by the multistage transparent medium is end to end, and transparent medium is made of crystal, glass or acrylic, and the top metal-plated membrane 6 of transparent medium, can make light source obtain better scattering, better effects if.The utility model is simple in structure, low price, be widely used in the home decoration and the office space in.

Claims (5)

1. Crystal lamp, comprise lamp socket (1) and transparent lamppost (2), described transparent lamppost (2) is fixed on the lamp socket (1), be provided with electric light source (3) in the described lamp socket (1), it is characterized in that also comprising the transparent body (4), be provided with cylindrical passageway (5) in the described transparent lamppost (2), the described transparent body (4) places in the cylindrical passageway (5).
2. Crystal lamp according to claim 1 is characterized in that the described transparent body (4) constitutes by the multistage transparent medium is end to end.
3. Crystal lamp according to claim 2 is characterized in that described transparent medium is made of crystal, glass or acrylic.
4. Crystal lamp according to claim 3 is characterized in that the top metal-plated membrane (6) of described transparent medium.
5. according to each described Crystal lamp in the claim 1 to 4, it is characterized in that described transparent lamppost (2) is made of crystal or glass.
CN2010202024794U 2010-05-19 2010-05-19 Crystal lamp Expired - Fee Related CN201739811U (en)

Priority Applications (1)

Application Number Priority Date Filing Date Title
CN2010202024794U CN201739811U (en) 2010-05-19 2010-05-19 Crystal lamp

Applications Claiming Priority (1)

Application Number Priority Date Filing Date Title
CN2010202024794U CN201739811U (en) 2010-05-19 2010-05-19 Crystal lamp

Publications (1)

Publication Number Publication Date
CN201739811U true CN201739811U (en) 2011-02-09

Family

ID=43555086

Family Applications (1)

Application Number Title Priority Date Filing Date
CN2010202024794U Expired - Fee Related CN201739811U (en) 2010-05-19 2010-05-19 Crystal lamp

Country Status (1)

Country Link
CN (1) CN201739811U (en)

Cited By (1)

* Cited by examiner, † Cited by third party
Publication number Priority date Publication date Assignee Title
CN105240728A (en) * 2015-10-30 2016-01-13 江门市智慧助残产业发展有限公司 LED crystal lamp

Cited By (1)

* Cited by examiner, † Cited by third party
Publication number Priority date Publication date Assignee Title
CN105240728A (en) * 2015-10-30 2016-01-13 江门市智慧助残产业发展有限公司 LED crystal lamp

Similar Documents

Publication Publication Date Title
CN202079938U (en) Newspaper rack
CN201739811U (en) Crystal lamp
CN203413440U (en) Green ecological table lamp
CN202521485U (en) Concentrating light emitting diode (LED) glass lampshade
CN203147608U (en) LED garden pointing lamp
CN202026699U (en) Novel colorful fish bowl
CN202040694U (en) Vase wall lamp
CN203963704U (en) Head of Chinese style lamp
CN203273357U (en) Cobblestone artificial lamp
CN202927565U (en) LED (light-emitting diode) decorative lamp
CN203464184U (en) LED lamp
CN204879640U (en) decorative floor lamp
CN203215394U (en) Creative light-emitting diode (LED) vase lamp
CN203979980U (en) An a kind of LED cluster of lamps, ornamental
CN203671345U (en) Side-emitting panel lamp with UGR being less than 19
CN202901901U (en) A new type of LED lamp
CN202249097U (en) Light-emitting diode (LED) bulb for flagpole
CN201819119U (en) Wall lamp
CN201973503U (en) Plum blossom shaped LED energy-saving panel lamp
CN204512970U (en) LED flashlight
CN202371507U (en) Light-emitting diode (LED) light
CN202040695U (en) Flower vase wall lamp
CN204460917U (en) refrigerator lighting structure
CN202619157U (en) Goblet with luminous function
CN203231221U (en) A kind of LED low-carbon energy-saving lamp

Legal Events

Date Code Title Description
C14 Grant of patent or utility model
GR01 Patent grant
C17 Cessation of patent right
CF01 Termination of patent right due to non-payment of annual fee

Granted publication date: 20110209

Termination date: 20120519