CN201730342U - 用来控制大面积混凝土施工平整度的控制托架 - Google Patents

用来控制大面积混凝土施工平整度的控制托架 Download PDF

Info

Publication number
CN201730342U
CN201730342U CN2010201841849U CN201020184184U CN201730342U CN 201730342 U CN201730342 U CN 201730342U CN 2010201841849 U CN2010201841849 U CN 2010201841849U CN 201020184184 U CN201020184184 U CN 201020184184U CN 201730342 U CN201730342 U CN 201730342U
Authority
CN
China
Prior art keywords
frame
screw rod
large area
pipe
concrete construction
Prior art date
Legal status (The legal status is an assumption and is not a legal conclusion. Google has not performed a legal analysis and makes no representation as to the accuracy of the status listed.)
Expired - Lifetime
Application number
CN2010201841849U
Other languages
English (en)
Inventor
张伦
Current Assignee (The listed assignees may be inaccurate. Google has not performed a legal analysis and makes no representation or warranty as to the accuracy of the list.)
CSCEC Strait Construction and Development Co Ltd
Original Assignee
Third Construction Co Ltd of China Construction Seventh Engineering Division Corp Ltd
Priority date (The priority date is an assumption and is not a legal conclusion. Google has not performed a legal analysis and makes no representation as to the accuracy of the date listed.)
Filing date
Publication date
Application filed by Third Construction Co Ltd of China Construction Seventh Engineering Division Corp Ltd filed Critical Third Construction Co Ltd of China Construction Seventh Engineering Division Corp Ltd
Priority to CN2010201841849U priority Critical patent/CN201730342U/zh
Application granted granted Critical
Publication of CN201730342U publication Critical patent/CN201730342U/zh
Anticipated expiration legal-status Critical
Expired - Lifetime legal-status Critical Current

Links

Images

Landscapes

  • Forms Removed On Construction Sites Or Auxiliary Members Thereof (AREA)

Abstract

本实用新型涉及一种用来控制大面积混凝土施工平整度的控制托架,其特征在于:它包括圆杆或圆管、三角支架、可调螺丝杆托架以及稳定螺母;可调螺丝杆托架的上端设有弧度小于或等于1/2圆周的管托环,圆杆或圆管支撑于管托环上;可调螺丝杆托架的下部为螺杆,三角支架通过设于其架体上端中部的竖向螺母孔与螺杆连接以调整可调螺丝杆托架相对三角支架的高度位置,稳定螺母与螺杆连接以稳定可调螺丝杆托架相对三角支架的高度位置。本实用新型不仅能够做到较好地控制大面积混凝土的施工平整度,而且价格便宜、安装方便。

Description

用来控制大面积混凝土施工平整度的控制托架
技术领域
本实用新型涉及一种建筑施工中用来控制大面积混凝土施工平整度的控制托架。
背景技术
在建筑工程中,大面积混凝土施工平整度控制一直是一种施工难题,控制较难,施工后平整度不高。
传统的地面找平方法采用打灰饼、冲筋或挂线作为标高的控制点,这种方法存在着控制点稳定性差,中央的平整度无法保证,施工过程中控制点易与混凝土混合在一起,不易分辨等缺点。
发明内容
本实用新型的目的在于提供一种用来控制大面积混凝土施工平整度的控制托架,它不仅能够做到较好地控制大面积混凝土的施工平整度,而且价格便宜、安装方便。
本实用新型的技术方案是这样构成的:一种用来控制大面积混凝土施工平整度的控制托架,其特征在于:它包括圆杆或圆管、三角支架、可调螺丝杆托架以及稳定螺母;可调螺丝杆托架的上端设有弧度小于或等于1/2圆周的管托环,圆杆或圆管支撑于管托环上;可调螺丝杆托架的下部为螺杆,三角支架通过设于其架体上端中部的竖向螺母孔与螺杆连接以调整可调螺丝杆托架相对三角支架的高度位置,稳定螺母与螺杆连接以稳定可调螺丝杆托架相对三角支架的高度位置。
在大面积混凝土施工时,为了确保施工平整度,本实用新型的控制托架以架设于可调螺丝杆托架上的圆杆或圆管作为导轨,形成浇注大面积混凝土的表面基准,利用圆杆或圆管上边缘为一条线的原理可达到有效控制施工平整度的目的。通过调整可调螺丝杆托架相对三角支架的螺纹连接位置,来调整设置于管托环上的圆杆或圆管的高度位置,可利用螺丝调节精度高、调节方便、调节误差可在毫米级别内的优点,从而保持施工放样精确,确保平整度控制。采用稳定螺母对调节好的可调螺丝杆托架与三角支架的相对高度位置进行保护,可确保在施工过程中各部件不容易因其它因素发生变形移位,避免影响到施工平整度。
较之现有技术而言,本实用新型具有以下优点:(1)结构简单,价格便宜,重量轻,构成控制托架的各部件可工厂加工生产或工地就地取材,而且还可批量生产,经济实惠;(2)使用方便,只需要旋转可调螺丝杆托架就可以调整平整度,且可调误差小,稳定性好;(3)使用效果好,施工平整度有较大的提高。
附图说明
图1是本实用新型实施例构造示意图。
图2是本实用新型的一种使用状态示意图。
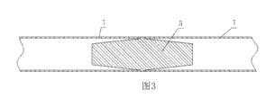
图3是相邻两根圆管的连接示意图。
图中标号说明:1、圆管;2、三角支架,21、竖向螺母孔;3、可调螺丝杆托架,31、管托环,32、螺杆;4、稳定螺母;5、内置套榫。
具体实施方式
下面结合说明书附图和具体实施方式对本实用新型内容进行详细说明:
如图1所示为本实用新型提供的一种用来控制大面积混凝土施工平整度的控制托架,其特征在于:它包括圆杆或圆管1、三角支架2、可调螺丝杆托架3以及稳定螺母4;可调螺丝杆托架3的上端设有弧度小于或等于1/2圆周的管托环31,圆杆或圆管1支撑于管托环31上;可调螺丝杆托架3的下部为螺杆32,三角支架2通过设于其架体上端中部的竖向螺母孔21与螺杆32连接以调整可调螺丝杆托架3相对三角支架2的高度位置,稳定螺母4与螺杆32连接以稳定可调螺丝杆托架3相对三角支架2的高度位置。
所述管托环31的弧度优选为1/3圆周。 
所述稳定螺母4与螺杆32的连接位置位于三角支架2的竖向螺母孔21与螺杆32的连接位置之上。
所述圆管1可由一根或一根以上的圆管构成;当圆管1由一根以上的圆管构成时,为了避免影响平整度,相邻两根圆管的接头位置通过内置套榫5连接,如图3所示。
具体实施时,本实用新型所述的圆管1可采用无缝钢管或者不锈钢钢管,最好为光滑圆管。所述三角支架2可采用塑料或钢筋制作。当圆管1较长时,可采用多组可调螺丝杆托架3和三角支架2对圆管进行支撑,如图2所示。

Claims (4)

1.一种用来控制大面积混凝土施工平整度的控制托架,其特征在于:它包括圆杆或圆管(1)、三角支架(2)、可调螺丝杆托架(3)以及稳定螺母(4);可调螺丝杆托架(3)的上端设有弧度小于或等于1/2圆周的管托环(31),圆杆或圆管(1)支撑于管托环(31)上;可调螺丝杆托架(3)的下部为螺杆(32),三角支架(2)通过设于其架体上端中部的竖向螺母孔(21)与螺杆(32)连接以调整可调螺丝杆托架(3)相对三角支架(2)的高度位置,稳定螺母(4)与螺杆(32)连接以稳定可调螺丝杆托架(3)相对三角支架(2)的高度位置。
2.根据权利要求1所述的用来控制大面积混凝土施工平整度的控制托架,其特征在于:所述管托环(31)的弧度等于1/3圆周。
3. 根据权利要求1所述的用来控制大面积混凝土施工平整度的控制托架,其特征在于:所述稳定螺母(4)与螺杆(32)的连接位置位于三角支架(2)的竖向螺母孔(21)与螺杆(32)的连接位置之上。
4. 根据权利要求1或2或3所述的用来控制大面积混凝土施工平整度的控制托架,其特征在于:所述圆管(1)由一根或一根以上的圆管构成;当圆管(1)由一根以上的圆管构成时,相邻两根圆管的接头位置通过内置套榫(5)连接。
CN2010201841849U 2010-05-10 2010-05-10 用来控制大面积混凝土施工平整度的控制托架 Expired - Lifetime CN201730342U (zh)

Priority Applications (1)

Application Number Priority Date Filing Date Title
CN2010201841849U CN201730342U (zh) 2010-05-10 2010-05-10 用来控制大面积混凝土施工平整度的控制托架

Applications Claiming Priority (1)

Application Number Priority Date Filing Date Title
CN2010201841849U CN201730342U (zh) 2010-05-10 2010-05-10 用来控制大面积混凝土施工平整度的控制托架

Publications (1)

Publication Number Publication Date
CN201730342U true CN201730342U (zh) 2011-02-02

Family

ID=43521499

Family Applications (1)

Application Number Title Priority Date Filing Date
CN2010201841849U Expired - Lifetime CN201730342U (zh) 2010-05-10 2010-05-10 用来控制大面积混凝土施工平整度的控制托架

Country Status (1)

Country Link
CN (1) CN201730342U (zh)

Cited By (8)

* Cited by examiner, † Cited by third party
Publication number Priority date Publication date Assignee Title
CN103074853A (zh) * 2013-02-19 2013-05-01 李理 一种小型桥梁顶升装置
CN103088997A (zh) * 2013-01-17 2013-05-08 中天建设集团有限公司 一种控制地坪标高的槽钢导轨及方法
CN103410328A (zh) * 2013-08-29 2013-11-27 中天建设集团有限公司天津分公司 一种大面积混凝土表面的施工方法
CN103658209A (zh) * 2014-01-05 2014-03-26 周佩龙 一种无缝钢管冷拔引导装置
CN107806247A (zh) * 2017-10-27 2018-03-16 李利芬 水电站建筑物混凝土表面调节样架
CN110670885A (zh) * 2019-08-26 2020-01-10 中国十七冶集团有限公司 一种控制大面积超平地坪平整度装置
CN110965838A (zh) * 2019-12-23 2020-04-07 杭州建工集团有限责任公司 一种变截面超长桅杆的制作方法
CN117703088A (zh) * 2024-01-29 2024-03-15 中国十七冶集团有限公司 一种混凝土施工标高控制装置及控制方法

Cited By (9)

* Cited by examiner, † Cited by third party
Publication number Priority date Publication date Assignee Title
CN103088997A (zh) * 2013-01-17 2013-05-08 中天建设集团有限公司 一种控制地坪标高的槽钢导轨及方法
CN103074853A (zh) * 2013-02-19 2013-05-01 李理 一种小型桥梁顶升装置
CN103410328A (zh) * 2013-08-29 2013-11-27 中天建设集团有限公司天津分公司 一种大面积混凝土表面的施工方法
CN103658209A (zh) * 2014-01-05 2014-03-26 周佩龙 一种无缝钢管冷拔引导装置
CN107806247A (zh) * 2017-10-27 2018-03-16 李利芬 水电站建筑物混凝土表面调节样架
CN110670885A (zh) * 2019-08-26 2020-01-10 中国十七冶集团有限公司 一种控制大面积超平地坪平整度装置
CN110965838A (zh) * 2019-12-23 2020-04-07 杭州建工集团有限责任公司 一种变截面超长桅杆的制作方法
CN110965838B (zh) * 2019-12-23 2021-06-04 杭州建工集团有限责任公司 一种变截面超长桅杆的制作方法
CN117703088A (zh) * 2024-01-29 2024-03-15 中国十七冶集团有限公司 一种混凝土施工标高控制装置及控制方法

Similar Documents

Publication Publication Date Title
CN201730342U (zh) 用来控制大面积混凝土施工平整度的控制托架
CN207314884U (zh) 一种便于调节高度的建筑用支撑器
CN205560000U (zh) 一种管道吊架
CN106088587A (zh) 一种组合式模板支撑体系
CN205804186U (zh) 一种高度可调的混凝土箱梁边腹板仿形托架支撑装置
CN201730352U (zh) 一种建筑支架
CN201620563U (zh) 可调节高度的活动地板支架
CN106012857A (zh) 一种高度可调的混凝土箱梁边腹板仿形托架支撑装置
CN207092081U (zh) 一种可调节高度建筑桩
CN205279745U (zh) 可调式拱顶
CN203797287U (zh) 一种模块化预制的可调节底座
CN202611259U (zh) 逆筑施工法的钢柱精准竖立调整装置
CN207921474U (zh) 一种管道支撑装置
CN217326624U (zh) 一种分体式可调节周转坡屋面结构阴角加固装置
CN207410282U (zh) 檩条可调式光伏支架
CN209457274U (zh) 钢筋支撑装置
CN207393494U (zh) 立式泵
CN206233631U (zh) 一种建筑工程支撑装置
CN203939126U (zh) 汽车轮胎轴式预埋套管辅助定位装置
CN203947424U (zh) 悬挂式多方位可调桥面调平层整平机
CN206873919U (zh) 一种板厚控制调节装置
CN100543151C (zh) 捣打料找平装置
CN207983675U (zh) 新型道桥施工用混凝土搅拌装置
CN206146423U (zh) 一种多功能测绘仪支架
CN202691297U (zh) 可调高度的支架装置

Legal Events

Date Code Title Description
C14 Grant of patent or utility model
GR01 Patent grant
CP03 Change of name, title or address
CP03 Change of name, title or address

Address after: 350015 Block A, Zhongjian Strait Business Plaza, 60 Rujiangxi Road, Mawei District, Fuzhou City, Fujian Province (Free Trade Test Zone)

Patentee after: CSCEC Strait Construction and Development Co., Ltd.

Address before: 350000 No. 3 Construction Company of No. 148 Beihuan Middle Road, Fuzhou City, Fujian Province

Patentee before: The Third Company of China Seventh Engineering Bureau Co., Ltd.

Address after: 350015 Block A, Zhongjian Strait Business Plaza, 60 Rujiangxi Road, Mawei District, Fuzhou City, Fujian Province (Free Trade Test Zone)

Patentee after: CSCEC Strait Construction and Development Co., Ltd.

Address before: 350000 No. 3 Construction Company of No. 148 Beihuan Middle Road, Fuzhou City, Fujian Province

Patentee before: The Third Company of China Seventh Engineering Bureau Co., Ltd.

CX01 Expiry of patent term
CX01 Expiry of patent term

Granted publication date: 20110202