CN201719503U - Lumbar vertebrae pulling and bracing bed - Google Patents

Lumbar vertebrae pulling and bracing bed Download PDF

Info

Publication number
CN201719503U
CN201719503U CN2010202776279U CN201020277627U CN201719503U CN 201719503 U CN201719503 U CN 201719503U CN 2010202776279 U CN2010202776279 U CN 2010202776279U CN 201020277627 U CN201020277627 U CN 201020277627U CN 201719503 U CN201719503 U CN 201719503U
Authority
CN
China
Prior art keywords
bed
frame
stretching
stretching frame
leg
Prior art date
Legal status (The legal status is an assumption and is not a legal conclusion. Google has not performed a legal analysis and makes no representation as to the accuracy of the status listed.)
Expired - Fee Related
Application number
CN2010202776279U
Other languages
Chinese (zh)
Inventor
丁新亚
李坤
王明慧
邸琳琳
Current Assignee (The listed assignees may be inaccurate. Google has not performed a legal analysis and makes no representation or warranty as to the accuracy of the list.)
Beihua University
Original Assignee
Beihua University
Priority date (The priority date is an assumption and is not a legal conclusion. Google has not performed a legal analysis and makes no representation as to the accuracy of the date listed.)
Filing date
Publication date
Application filed by Beihua University filed Critical Beihua University
Priority to CN2010202776279U priority Critical patent/CN201719503U/en
Application granted granted Critical
Publication of CN201719503U publication Critical patent/CN201719503U/en
Anticipated expiration legal-status Critical
Expired - Fee Related legal-status Critical Current

Links

Images

Landscapes

  • Orthopedics, Nursing, And Contraception (AREA)

Abstract

腰椎牵引拉筋床,在床体的一端设有2个垂直于床面的腿部拉筋架套管,套管中套装有腿部拉筋架,腿部拉筋架与套管之间设有调节螺钉,上端活动连接有托架;床体另一端设有垂直于床面的T形拉伸架套管,套管中套装有T形拉伸架,T形拉伸架与套管之间设有调节螺钉,架的两端分别设有弹性拉伸环。本实用新型使用灵活方便,占地面积小,特别适合于家庭使用,对于各种身高、不同年龄的人群,无需他人协助一个人即可自行施行拉筋锻炼。能够对颈、背、腰、腿起到松筋活络、活血理气等作用,对颈椎痛、腰椎痛,尤其是老年人的腿脚不便、周身疼痛等都有较好的效果,具有结构简单、加工制作容易、成本低、使用灵活方便效果好、应用范围广等优点。

Figure 201020277627

The lumbar traction and stretching bed is equipped with two leg stretching frame casings perpendicular to the bed surface at one end of the bed body. The leg stretching frame is set in the casing, and a There are adjustment screws, and the upper end is movably connected with a bracket; the other end of the bed body is provided with a T-shaped stretching frame sleeve perpendicular to the bed surface, and a T-shaped stretching frame is set in the sleeve, and the connection between the T-shaped stretching frame and the sleeve Adjusting screws are arranged between them, and elastic tension rings are respectively arranged at both ends of the frame. The utility model is flexible and convenient to use, occupies a small area, and is especially suitable for home use. For people of various heights and ages, one person can perform stretching exercises without the assistance of others. It can loosen tendons, activate blood and regulate qi on the neck, back, waist, and legs. It has good effects on cervical and lumbar pain, especially the elderly's inconvenient legs and feet, and body pain. It has a simple structure and easy processing. The invention has the advantages of easy manufacture, low cost, flexible and convenient use, good effect, wide application range and the like.

Figure 201020277627

Description

Lumbar traction lacing wire bed
Technical field
This utility model relates to the improvement of medical treatment, care appliance structure, is a kind of lumbar traction lacing wire bed specifically.
Background technology
Pain diseases such as prolapse of lumbar intervertebral disc, cervical vertebra pain, lumbago and skelalgia are people's commonly encountered diseases, frequently-occurring disease.Not only occurred on one's body in the last few years the old people, but also popular in youngster.Particularly the pain that causes owing to reasons such as computer, TV, game machine, automobile and air-conditionings, numbness, acid sense of discomfort such as expand is more general.At present, some occurring is purpose to remove various pain symptoms, can be at home or the lacing wire utensil of office operation by patient oneself, still, existing structure more complicated, cost height, use deficiencies such as inconvenience mostly in various degree limited the popularization and the use of these lacing wire utensils.
The utility model content
The purpose of this utility model is at above-mentioned deficiency, and a kind of simple in structure, processing and fabricating is easy, cost is low, simple to operate, easy to use lumbar traction lacing wire bed is provided.
The technical scheme that realizes this utility model purpose is:
This lumbar traction lacing wire bed, a bed body of being made up of bed surface, footpost constitutes, and characteristics are that the end at the bed body is connected with the shank lacing wire frame perpendicular to bed surface, and the upper end of shank lacing wire frame is connected with carriage; Be connected with T shape draw frame perpendicular to bed surface at the other end of bed body, the two ends of T shape draw frame are respectively equipped with the elastic stretching ring.
For the ease of respectively to the shank lacing wire of left and right two lower limbs, regulate the height of shank lacing wire frame and in that the time spent can not fall it, avoid occupying more spaces, end at the bed body is provided with 2 shank lacing wire frame sleeve pipes perpendicular to bed surface, in shank lacing wire frame sleeve pipe, be set with shank lacing wire frame, be provided with adjustment screw between shank lacing wire frame sleeve pipe and the shank lacing wire frame.
For the ease of the height of regulating T shape draw frame and in that the time spent can not fall it, avoid occupying more spaces, be provided with T shape draw frame sleeve pipe at the other end of bed body perpendicular to bed surface, in T shape draw frame sleeve pipe, be set with T shape draw frame, be provided with adjustment screw between T shape draw frame sleeve pipe and the T shape draw frame.
This utility model is simple in structure, can select raw materials such as existing timber, steel, aluminium section bar for use, and adopts the processing and manufacturing of conventional technology, and cost is low, implements easily.
Has simple in structure, advantage such as processing and fabricating is easy, cost is low, effective, applied range flexible and convenient to use.
Description of drawings
Fig. 1 is the plan structure sketch map of a kind of embodiment of this utility model.
Fig. 2 is the structural representation of shank lacing wire frame end among Fig. 1.
Fig. 3 is the structural representation of T shape stretching frame end among Fig. 1.
Fig. 4 is the user mode sketch map of a kind of embodiment of this utility model.
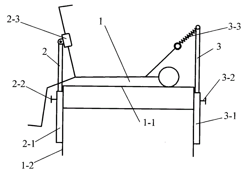
Among the figure: 1 body, 1-1 bed surface, 1-2 footpost, 2 shank lacing wire framves, 2-1 shank lacing wire frame sleeve pipe, 2-2 shank adjustment screw, 2-3 carriage, 3T shape draw frame, 3-1T shape draw frame sleeve pipe, 3-2 adjustment screw, 3-3 elastic stretching ring.
Specific embodiments
This utility model is further described with the embodiment that provides below in conjunction with accompanying drawing.
With reference to accompanying drawing, this lumbar traction lacing wire bed, the bed body of being made up of bed surface 1-1, footpost 1-2 1 constitutes, end at the bed body is fixed with 2 shank lacing wire frame sleeve pipe 2-1 perpendicular to bed surface, be set with shank lacing wire frame 2 in the shank lacing wire frame sleeve pipe, be provided with shank adjustment screw 2-2 between shank lacing wire frame sleeve pipe and the shank lacing wire frame, the upper end of shank lacing wire frame is rotatably connected to carriage 2-3 (referring to Fig. 2).Be fixed with T shape draw frame sleeve pipe 3-1 at the other end of bed body perpendicular to bed surface, in T shape draw frame sleeve pipe, be set with T shape draw frame 3, be provided with adjustment screw 3-2 between T shape draw frame sleeve pipe and the T shape draw frame, the two ends of T shape draw frame are respectively equipped with elastic stretching ring 3-3.
This utility model applicant presses the foregoing description, implements this lumbar traction lacing wire bed, its user mode as shown in Figure 4, during lacing wire, user is lain on the back on bed surface, a lower limb is held high and is abutted on the carriage, steps on ground under the another lower limb.Can draw the muscle of loose whole body, especially the muscle of neck, the back of the body, waist, lower limb and heel portion.Meanwhile both hands also can be held the elastic stretching ring, do the lacing wire exercise of both arms.This lumbar traction lacing wire bed of demonstration on probation through inside, flexible and convenient to use, floor space is little, is particularly suitable for family and uses, and for the crowd of various heights, all ages and classes, need not other people and assists a people can implement the lacing wire exercise voluntarily.Can play effects such as loose muscle is active, blood circulation promoting regulates qi to neck, the back of the body, waist, lower limb, to cervical vertebra pain, lumbar vertebra pain, especially old people's legs and feet inconvenience, general aching etc. all have effect preferably, are subjected to person on probation's welcome and favorable comment.

Claims (3)

1.一种腰椎牵引拉筋床,由床面、床腿组成的床体构成,其特征在于在床体的一端活动连接有垂直于床面的腿部拉筋架,腿部拉筋架的上端活动连接有托架;在床体的另一端活动连接有垂直于床面的T形拉伸架,T形拉伸架的两端分别设有弹性拉伸环。1. A lumbar traction and tendon stretching bed, consisting of a bed body composed of a bed surface and bed legs, is characterized in that one end of the bed body is movably connected with a leg stretching frame perpendicular to the bed surface, and a leg stretching frame of the leg stretching frame The upper end is movably connected with a bracket; the other end of the bed body is movably connected with a T-shaped stretching frame perpendicular to the bed surface, and the two ends of the T-shaped stretching frame are respectively provided with elastic stretching rings. 2.根据权利要求1所述的腰椎牵引拉筋床,其特征在于在床体的一端设有2个垂直于床面的腿部拉筋架套管,在腿部拉筋架套管中套装有腿部拉筋架,腿部拉筋架套管与腿部拉筋架之间设有调节螺钉。2. The lumbar traction and stretching bed according to claim 1, characterized in that two leg stretching frame sleeves perpendicular to the bed surface are arranged at one end of the bed body, and are set in the leg stretching frame sleeves There is a leg stretch frame, and an adjusting screw is arranged between the leg stretch frame casing and the leg stretch frame. 3.根据权利要求1所述的腰椎牵引拉筋床,其特征在于在床体的另一端设有垂直于床面的T形拉伸架套管,在T形拉伸架套管中套装有T形拉伸架,T形拉伸架套管与T形拉伸架之间设有调节螺钉。3. The lumbar traction and tendon stretching bed according to claim 1, wherein the other end of the bed body is provided with a T-shaped stretching frame sleeve perpendicular to the bed surface, and the T-shaped stretching frame sleeve is sleeved with A T-shaped stretching frame, an adjusting screw is arranged between the T-shaped stretching frame sleeve and the T-shaped stretching frame.
CN2010202776279U 2010-07-26 2010-07-26 Lumbar vertebrae pulling and bracing bed Expired - Fee Related CN201719503U (en)

Priority Applications (1)

Application Number Priority Date Filing Date Title
CN2010202776279U CN201719503U (en) 2010-07-26 2010-07-26 Lumbar vertebrae pulling and bracing bed

Applications Claiming Priority (1)

Application Number Priority Date Filing Date Title
CN2010202776279U CN201719503U (en) 2010-07-26 2010-07-26 Lumbar vertebrae pulling and bracing bed

Publications (1)

Publication Number Publication Date
CN201719503U true CN201719503U (en) 2011-01-26

Family

ID=43487774

Family Applications (1)

Application Number Title Priority Date Filing Date
CN2010202776279U Expired - Fee Related CN201719503U (en) 2010-07-26 2010-07-26 Lumbar vertebrae pulling and bracing bed

Country Status (1)

Country Link
CN (1) CN201719503U (en)

Cited By (1)

* Cited by examiner, † Cited by third party
Publication number Priority date Publication date Assignee Title
CN108434679A (en) * 2018-05-28 2018-08-24 孟硕 Screw jack muscle-pulling bed

Cited By (1)

* Cited by examiner, † Cited by third party
Publication number Priority date Publication date Assignee Title
CN108434679A (en) * 2018-05-28 2018-08-24 孟硕 Screw jack muscle-pulling bed

Similar Documents

Publication Publication Date Title
CN110812026A (en) Clinical medicine is with recovered medical bed
CN204380107U (en) Be applicable to the health care bed of the elderly, disabled person
CN201719503U (en) Lumbar vertebrae pulling and bracing bed
CN203075157U (en) Pedal movement lumbar spinal cord massage chair
CN206044926U (en) Psoas muscle trains health seat
CN201643546U (en) Multifunctional creeping stool
CN105012137A (en) Acupoint fitness rod by utilizing eight-diagram-shaped appetizer
CN213788611U (en) Muscle relaxing device
CN2832114Y (en) hemiplegic walking training stick
CN201675407U (en) Stretching chair for promoting human blood circulation
CN205181550U (en) Lumbar disc herniation traction treatment , prevention and exercise device
CN201572301U (en) Bionic massaging ball
CN202437605U (en) Bicycle type massage chair
CN206837362U (en) The hand-foot coordination motion of lumbar vertebrae prevention of problem and convalescence exerciser
CN206197500U (en) Outdoor activity chair
CN2810578Y (en) Hemiplegia rehabilitation body-builder
CN105688377A (en) Multifunctional yoga roller
CN205412089U (en) Multi -functional recreation and body -building swivel chair
CN220655934U (en) A multifunctional roller type rehabilitation training device
CN204815541U (en) Portable brain paralysis four limbs initiative rehabilitation training device
CN216294274U (en) Orthopedics arthroscopic surgery auxiliary device
CN104665969A (en) Household physical therapy mattress for lumbar intervertebral disc diseases
CN202751574U (en) Fitness and health care beater
CN202336180U (en) Double-person sitting and pulling trainer
CN2925458Y (en) Health-care therapeutic pad

Legal Events

Date Code Title Description
C14 Grant of patent or utility model
GR01 Patent grant
C17 Cessation of patent right
CF01 Termination of patent right due to non-payment of annual fee

Granted publication date: 20110126

Termination date: 20110726