CN201712963U - Glass packaging frame - Google Patents

Glass packaging frame Download PDF

Info

Publication number
CN201712963U
CN201712963U CN2010201485312U CN201020148531U CN201712963U CN 201712963 U CN201712963 U CN 201712963U CN 2010201485312 U CN2010201485312 U CN 2010201485312U CN 201020148531 U CN201020148531 U CN 201020148531U CN 201712963 U CN201712963 U CN 201712963U
Authority
CN
China
Prior art keywords
crosspiece
column
glass
adjusting
packaging frame
Prior art date
Legal status (The legal status is an assumption and is not a legal conclusion. Google has not performed a legal analysis and makes no representation as to the accuracy of the status listed.)
Expired - Fee Related
Application number
CN2010201485312U
Other languages
Chinese (zh)
Inventor
王志坚
王志明
王沫震
Current Assignee (The listed assignees may be inaccurate. Google has not performed a legal analysis and makes no representation or warranty as to the accuracy of the list.)
Individual
Original Assignee
Individual
Priority date (The priority date is an assumption and is not a legal conclusion. Google has not performed a legal analysis and makes no representation as to the accuracy of the date listed.)
Filing date
Publication date
Application filed by Individual filed Critical Individual
Priority to CN2010201485312U priority Critical patent/CN201712963U/en
Application granted granted Critical
Publication of CN201712963U publication Critical patent/CN201712963U/en
Anticipated expiration legal-status Critical
Expired - Fee Related legal-status Critical Current

Links

Images

Classifications

    • YGENERAL TAGGING OF NEW TECHNOLOGICAL DEVELOPMENTS; GENERAL TAGGING OF CROSS-SECTIONAL TECHNOLOGIES SPANNING OVER SEVERAL SECTIONS OF THE IPC; TECHNICAL SUBJECTS COVERED BY FORMER USPC CROSS-REFERENCE ART COLLECTIONS [XRACs] AND DIGESTS
    • Y02TECHNOLOGIES OR APPLICATIONS FOR MITIGATION OR ADAPTATION AGAINST CLIMATE CHANGE
    • Y02WCLIMATE CHANGE MITIGATION TECHNOLOGIES RELATED TO WASTEWATER TREATMENT OR WASTE MANAGEMENT
    • Y02W30/00Technologies for solid waste management
    • Y02W30/50Reuse, recycling or recovery technologies
    • Y02W30/80Packaging reuse or recycling, e.g. of multilayer packaging

Landscapes

  • Packaging Frangible Articles (AREA)

Abstract

本实用新型一种玻璃包装架涉及的是一种适用多种用途玻璃包装架,特别适用于平板玻璃、镀膜玻璃、中空玻璃、汽车玻璃等深加工玻璃包装架,也适用于平板石材、液晶玻璃等平板材料包装。由二个左右对称型材包装架构成,包装架包括后外立柱、后内立柱、前立柱、调节立柱,横档一、横档二、吊勾、底板和缓冲垫;在后外立柱与后内立柱之间装有横档二,在前立柱与后外立柱之间装有横档一,在前立柱上、下端向内侧分别安装有上横档一、下横档一,在后内立柱上、下端向前安装有上横档二、下横档二,上横档一与上横档二焊接固定在一起,下横档一与下横档二焊接固定在一起,在上横档二、下横档二内侧焊接有若干块调节定位板或调节定位柱,安装有调节立柱。

Figure 201020148531

The utility model relates to a glass packaging rack which is suitable for various purposes, especially for deep-processing glass packaging racks such as flat glass, coated glass, hollow glass, and automobile glass, and is also suitable for flat stone, liquid crystal glass, etc. Flat material packaging. It is composed of two left and right symmetrical profile packing frames. The packing frame includes the rear outer column, the rear inner column, the front column, the adjustment column, the first crosspiece, the second crosspiece, the hook, the bottom plate and the cushion; A crosspiece two is installed between the uprights, a crosspiece one is installed between the front upright and the rear outer upright, an upper crosspiece one and a lower crosspiece one are respectively installed on the upper and lower ends of the front upright, and a lower crosspiece one is installed on the rear inner upright. , The lower end is equipped with upper crosspiece two and lower crosspiece two forward, upper crosspiece one and upper crosspiece two are welded and fixed together, lower crosspiece one and lower crosspiece two are welded and fixed together, on upper crosspiece two, The inner side of the lower crosspiece two is welded with several adjusting positioning plates or adjusting positioning columns, and the adjusting column is installed.

Figure 201020148531

Description

A kind of glass packaging frame
Technical field
What a kind of glass packaging frame of the utility model related to is a kind of multi-purpose glass packaging frame that is suitable for, be specially adapted to the packaging frame (packing chest) of deep processing glass such as plate glass, coated glass, double glazing, vehicle glass, be equally applicable to the packing of plate materials such as flat-plate stone, liquid-crystalline glasses.
Background technology
Present glass packaging industry, glass packaging adopts timber packing chest and plate glass pallet to pack usually, adopts timber packing chest packing glass need spend a large amount of timber, and is difficult for reclaiming, and causes a large amount of forest resourceies to waste in a large number, does not meet national industrial policies.To adopting the timber packing that all restrictions are arranged,, spend a large amount of financial resources, material resources and time during outlet, increase cost of product as need quarantine, fumigation etc.The present simple box-type glass packing frame that uses, the whole packing chest of need dismantling when the user uses could take out glass.Can not satisfy the user and not remove the requirement that packing chest can take out the glass use.
Summary of the invention
The utility model purpose is to provide a kind of glass packaging frame at above-mentioned weak point, adopts section bar to constitute glass packaging frame, and is simple in structure, intensity height, long service life.Adopt glass packaging frame packing glass, easily reclaim, can economize on resources, avoid the required quarantine of timber case, fumigation etc. during outlet and cause a large amount of financial resources, material resources and waste of time, can save the cost of product of glass production producer.Be convenient to load and unload glass, deposit glass, conveniently unpack and enable glass, the glass that does not use can also leave glass packaging frame in.During the glass vanning, can regulate glazing quantity.
A kind of glass packaging frame is realized by the following technical solutions: a kind of glass packaging frame is made of two left-right symmetric section bar packaging frames, each section bar packaging frame comprises back outer column, back inner column, A-pillar, adjusting column, crosspiece one, crosspiece two, drop hanger, base plate and cushion rubber.Between back outer column and back inner column, crosspiece two is housed, between A-pillar and back outer column, crosspiece one is housed, on A-pillar, the lower end is separately installed with top rail one to the inside, bottom rail one, on the inner column of back, the lower end is separately installed with top rail two forward, bottom rail two, top rail one is weldingly fixed on top rail two, bottom rail one is weldingly fixed on bottom rail two, at top rail two, bottom rail two inboards are welded with some and regulate locating plate or regulate registration mast, the adjusting column is installed, at bottom rail one, bottom rail two and A-pillar, back outer column, bottom rail one between the back inner column, on the crosspiece two base plate is installed, on the described base plate cushion rubber is housed, cushion rubber is equipped with on the crosspiece in the middle part, has above-mentionedly constituted an adjusting column detouchable box structure.
Middle side part is welded with drop hanger outside A-pillar and back outer column.
In A-pillar, rear column outer upper and bottom scratch resistant button is installed, is used for installing bailing band and prevents that box for packing glass steel band between lifting operation process box for packing glass from shearing mutually.
Be provided with the adjusting locating piece at adjusting column one end, regulate locating piece and be provided with adjusting dowel bolt mounting hole, be used for regulating bolt of rear end plate and install and fix with the employing of adjusting locating plate; Being provided with adjusting registration mast mounting hole at the adjusting column other end adopts the adjusting locating dowel pin to install and fix with the adjusting registration mast.On the adjusting locating plate, cushion rubber is housed, is used for pressed glass.
Using method one: when a kind of glass packaging frame uses, will be good with glass or other the plate shaped material piles packed, again two section bar packaging frames are stuck in glass or other plate material two ends, use metal baling strip to pass tight or other fastening means of scratch resistant deduct then and make it fastening, promptly finish packing.During shipment drop hanger sling and to case or the entrucking transportation.
Using method two: contrast needs the glass size of packing, earlier the packing chest of symmetry is put well by size, installs glass then in regular turn.After glass installs, install or adjust the adjusting column, use metal baling strip to pass tight or other fastening means of scratch resistant deduct then and make it fastening, promptly finish packing.During shipment drop hanger sling and to case or the entrucking transportation.
When a kind of glass packaging frame used, the user cut off bailing band, unloads the scalable column and can use glass, and the glass that does not use can refill the adjusted column and package, and transports storage once more.Therefore use at the scene of the packing of this packing chest particularly suitable double glazing and various engineering glass.The transportation of various glass and the safety in the storage process have been guaranteed.
A kind of glass packaging frame is reasonable in design, simple in structure, easy to use, intensity height, but repeated use, long service life, can save ample resources, during outlet, avoid work such as the required quarantine of timber packing, fumigation to cause a large amount of financial resources, material resources and waste of time, can save the cost of product of glass production producer; Because the utility model glass packaging frame adopts shape or engineering plastics section bar to constitute the structural strength height, use and be not easy distortion in the transportation, can guarantee glass and other plate shaped material to avoid packing improper and easy damaged distortion is convenient to load and unload glass, is held glass, convenient unpacking enabled glass, the glass that does not use can also leave glass packaging frame in.During the glass vanning, can regulate glazing quantity.Glass packaging frame extensively is suitable for the packing of plate shaped materials such as packaging plate glass and flat-plate stone, liquid-crystalline glasses.
Description of drawings
The utility model is described in further detail below with reference to accompanying drawing.
Fig. 1 is a kind of glass packaging shelf structure and running condition scheme drawing.
Fig. 2 is the running condition scheme drawing after column is regulated in a kind of dismounting of glass packaging frame.
Fig. 3 is a kind of front view of section bar packaging frame of glass packaging frame.
Fig. 4 is a kind of left view of section bar packaging frame of glass packaging frame.
Fig. 5 is the A partial enlarged drawing of the section bar packaging frame of a kind of glass packaging frame among Fig. 4.
Fig. 6 is the B partial enlarged drawing of the section bar packaging frame of a kind of glass packaging frame among Fig. 4.
Fig. 7 is a kind of adjusting column front view of section bar packaging frame of glass packaging frame.
Fig. 8 is a kind of adjusting column left view of section bar packaging frame of glass packaging frame.
Fig. 9 is a kind of block diagram of section bar packaging frame of glass packaging frame.
The specific embodiment
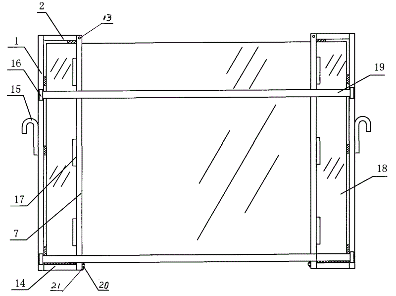
With reference to accompanying drawing 1~9, a kind of glass packaging frame is made of two left-right symmetric section bar packaging frames, and each section bar packaging frame comprises back outer column 4, back inner column 6, A-pillar 1, regulates column 7, crosspiece 1, crosspiece 28, drop hanger 15, base plate 9 and cushion rubber 17.Between back outer column 4 and back inner column 6, some crosspieces 1 are housed, between A-pillar 1 and back outer column 4, some crosspieces 28 are housed, on A-pillar 1, the lower end is separately installed with top rail 1 to the inside, bottom rail 1, on the inner column 6 of back, the lower end is separately installed with top rail 25 forward, bottom rail 2 10, top rail 1 is weldingly fixed on top rail 25, bottom rail 1 is weldingly fixed on bottom rail 2 10, at top rail 25, bottom rail 2 10 inboards are welded with some and regulate locating plate 11 or regulate registration mast 20, be equipped with and regulate column 7, at bottom rail 1, bottom rail 2 10 and A-pillar 1, back outer column 4, bottom rail 1 between upright 6 posts in the back, base plate 9 is installed on the crosspiece 28, on the described base plate 9 cushion rubber is housed, middle part crosspiece 1, on the crosspiece 28 cushion rubber is housed, has above-mentionedly constituted an adjusting column detouchable box structure.
Middle side part is welded with drop hanger 15 outside A-pillar 1 and back outer column 4.
In A-pillar 1, back outer column 4 outer upper and bottom scratch resistant button 16 is installed, is used for installing bailing band 19 and prevents that box for packing glass steel band between lifting operation process box for packing glass from shearing mutually.
Be provided with adjusting locating piece 12 at adjusting column 7 one ends, regulate locating piece and be provided with adjusting dowel bolt mounting hole, be used for regulating bolt of rear end plate 13 and install and fix with the employing of adjusting locating plate; Being provided with adjusting registration mast mounting hole 22 at adjusting column 7 other ends adopts adjusting locating dowel pins 21 to install and fix with adjusting registration mast 20.On adjusting column 7, cushion rubber 17 is housed, is used for pressed glass.
Described A-pillar 1, back outer column 4, back inner column 6, adjusting column 7, crosspiece 1, crosspiece 28, top rail 1, bottom rail 2 10 and base plate 9 can adopt shape or engineering plastics section bar to constitute.Shape can adopt steel profile or aluminium alloy extrusions or other shape to constitute.
Described cushion rubber 17 can adopt rubber plate or nonrigid plastic plate or cardboard.
With reference to accompanying drawing 1,2; when a kind of glass packaging frame uses; will be good with glass 18 or other the plate shaped material pile packed; again two section bar packaging frames are stuck in glass 18 or other plate material two ends; owing on base plate, middle part crosspiece, the adjusting column cushion rubber is housed, can protects glass or other packaged sheet material.Use metal baling strip 17 to be installed in the scratch resistant button 16 then or other fastening means makes it fastening.Can adopt drop hanger 15 to sling and case or the entrucking transportation.

Claims (7)

1. a glass packaging frame is characterized in that being made of two left-right symmetric section bar packaging frames, and each section bar packaging frame comprises back outer column, back inner column, A-pillar, adjusting column, crosspiece one, crosspiece two, drop hanger, base plate and cushion rubber; Between back outer column and back inner column, crosspiece two is housed, between A-pillar and back outer column, crosspiece one is housed, on A-pillar, the lower end is separately installed with top rail one to the inside, bottom rail one, on the inner column of back, the lower end is separately installed with top rail two forward, bottom rail two, top rail one is weldingly fixed on top rail two, bottom rail one is weldingly fixed on bottom rail two, at top rail two, bottom rail two inboards are welded with some and regulate locating plate or regulate registration mast, the adjusting column is installed, at bottom rail one, bottom rail two and A-pillar, back outer column, bottom rail one between the back inner column, on the crosspiece two base plate is installed, on the described base plate cushion rubber is housed, cushion rubber is equipped with on the crosspiece in the middle part, has above-mentionedly constituted an adjusting column detouchable box structure;
Be provided with the adjusting locating piece at adjusting column one end, regulate locating piece and be provided with adjusting dowel bolt mounting hole, adopt the adjusting bolt of rear end plate to install and fix with the adjusting locating plate; Being provided with adjusting registration mast mounting hole at the adjusting column other end adopts the adjusting locating dowel pin to install and fix with the adjusting registration mast.
2. a kind of glass packaging frame according to claim 1 is characterized in that middle side part is welded with drop hanger outside A-pillar and back outer column.
3. a kind of glass packaging frame according to claim 1 is characterized in that in A-pillar, rear column outer upper and bottom scratch resistant button being installed, and is used to install bailing band.
4. a kind of glass packaging frame according to claim 1 is characterized in that on the adjusting column cushion rubber being housed, and is used for pressed glass.
5. according to claim 1 or 4 described a kind of glass packaging frames, it is characterized in that described cushion rubber can adopt rubber plate or nonrigid plastic plate or cardboard.
6. a kind of glass packaging frame according to claim 1 is characterized in that described A-pillar, back outer column, back inner column, regulates column, crosspiece one, crosspiece two, top rail one, bottom rail two and base plate employing shape or engineering plastics section bar formation.
7. a kind of glass packaging frame according to claim 6 is characterized in that shape adopts steel profile or aluminium alloy extrusions to constitute.
CN2010201485312U 2010-04-02 2010-04-02 Glass packaging frame Expired - Fee Related CN201712963U (en)

Priority Applications (1)

Application Number Priority Date Filing Date Title
CN2010201485312U CN201712963U (en) 2010-04-02 2010-04-02 Glass packaging frame

Applications Claiming Priority (1)

Application Number Priority Date Filing Date Title
CN2010201485312U CN201712963U (en) 2010-04-02 2010-04-02 Glass packaging frame

Publications (1)

Publication Number Publication Date
CN201712963U true CN201712963U (en) 2011-01-19

Family

ID=43458962

Family Applications (1)

Application Number Title Priority Date Filing Date
CN2010201485312U Expired - Fee Related CN201712963U (en) 2010-04-02 2010-04-02 Glass packaging frame

Country Status (1)

Country Link
CN (1) CN201712963U (en)

Cited By (2)

* Cited by examiner, † Cited by third party
Publication number Priority date Publication date Assignee Title
CN102951546A (en) * 2012-11-15 2013-03-06 苏州金螳螂建筑装饰股份有限公司 Special crane for vertical transportation of plates
CN104229327A (en) * 2014-09-11 2014-12-24 天津市通和兴包装制品商行 Double-hanging point steel packing box for large-sized float glass

Cited By (3)

* Cited by examiner, † Cited by third party
Publication number Priority date Publication date Assignee Title
CN102951546A (en) * 2012-11-15 2013-03-06 苏州金螳螂建筑装饰股份有限公司 Special crane for vertical transportation of plates
CN102951546B (en) * 2012-11-15 2015-07-29 苏州金螳螂建筑装饰股份有限公司 Board material vertical transport Special crane
CN104229327A (en) * 2014-09-11 2014-12-24 天津市通和兴包装制品商行 Double-hanging point steel packing box for large-sized float glass

Similar Documents

Publication Publication Date Title
CN201721801U (en) Automobile exhaust pipe storage frame
CN201712963U (en) Glass packaging frame
CN210083788U (en) Telescopic logistics rack
CN205891531U (en) Adjustable structure of horizontal steel tray
CN202080547U (en) Steel coil bracket with variable width
CN201729421U (en) Glass packaging frame
CN201901353U (en) Glass nested shipping rack
CN202244748U (en) Sheath type unit transportation and packaging device
CN202244436U (en) Tray
CN101780865A (en) Glass packaging frame
CN203268162U (en) Carrier vehicle hopper for tomato processing
CN201074103Y (en) Casing type glass packaging rack
CN203802115U (en) Goods shelf capable of achieving positioning of wrapping cloth and convenient to transport and assemble and disassemble
CN207120992U (en) A kind of Detachable is used for glazing Container Transport movement pallet
CN202896628U (en) Packaging block conveying cart
CN200940003Y (en) Simple glass packaging rack
CN2923577Y (en) Simple Box Glass Packaging Holder
CN205132039U (en) A convenient delivery bracket for heavy-duty cabinet shipment
CN1887660A (en) Simple box-type glass packing frame
CN200964265Y (en) Trough plate type simple glass packing rack
CN205652544U (en) Combination pin -connected panel tray
CN204384076U (en) A kind of packing chest for packed and transported building glass
CN207698295U (en) A cellophane-wood combination packing box
CN200964266Y (en) Open-type glass packing rack
CN202244432U (en) Plastic tray

Legal Events

Date Code Title Description
C14 Grant of patent or utility model
GR01 Patent grant
C17 Cessation of patent right
CF01 Termination of patent right due to non-payment of annual fee

Granted publication date: 20110119

Termination date: 20130402