CN201710223U - 壁挂式多插筒餐具插架 - Google Patents
壁挂式多插筒餐具插架 Download PDFInfo
- Publication number
- CN201710223U CN201710223U CN2010291220592U CN201029122059U CN201710223U CN 201710223 U CN201710223 U CN 201710223U CN 2010291220592 U CN2010291220592 U CN 2010291220592U CN 201029122059 U CN201029122059 U CN 201029122059U CN 201710223 U CN201710223 U CN 201710223U
- Authority
- CN
- China
- Prior art keywords
- frame
- dinnerware
- wall
- backboard
- inserting frame
- Prior art date
- Legal status (The legal status is an assumption and is not a legal conclusion. Google has not performed a legal analysis and makes no representation as to the accuracy of the status listed.)
- Expired - Fee Related
Links
- 238000004140 cleaning Methods 0.000 description 2
- 238000000151 deposition Methods 0.000 description 2
- 230000000694 effects Effects 0.000 description 2
- 238000000034 method Methods 0.000 description 2
- 238000000926 separation method Methods 0.000 description 2
- 235000017166 Bambusa arundinacea Nutrition 0.000 description 1
- 235000017491 Bambusa tulda Nutrition 0.000 description 1
- 241001330002 Bambuseae Species 0.000 description 1
- 241000252254 Catostomidae Species 0.000 description 1
- 206010061619 Deformity Diseases 0.000 description 1
- 235000015334 Phyllostachys viridis Nutrition 0.000 description 1
- 238000010521 absorption reaction Methods 0.000 description 1
- 230000001580 bacterial effect Effects 0.000 description 1
- 239000011425 bamboo Substances 0.000 description 1
- 230000009286 beneficial effect Effects 0.000 description 1
- 238000005034 decoration Methods 0.000 description 1
- 238000010586 diagram Methods 0.000 description 1
- 238000007599 discharging Methods 0.000 description 1
- 238000005516 engineering process Methods 0.000 description 1
- 230000001815 facial effect Effects 0.000 description 1
- 235000013305 food Nutrition 0.000 description 1
- 239000000463 material Substances 0.000 description 1
- 235000012054 meals Nutrition 0.000 description 1
- 239000000203 mixture Substances 0.000 description 1
- 239000004033 plastic Substances 0.000 description 1
- 229920003023 plastic Polymers 0.000 description 1
- 238000007790 scraping Methods 0.000 description 1
- 229910001220 stainless steel Inorganic materials 0.000 description 1
- 239000010935 stainless steel Substances 0.000 description 1
- 230000008719 thickening Effects 0.000 description 1
- 235000013311 vegetables Nutrition 0.000 description 1
- 238000005406 washing Methods 0.000 description 1
- 239000002023 wood Substances 0.000 description 1
Images
Landscapes
- Washing And Drying Of Tableware (AREA)
Abstract
本实用新型公开了一种壁挂式多插筒餐具插架。所述的壁挂式多插筒餐具插架是由背板,在背板前部板体上固定连接的餐具插框,在背板后部固定连接的嵌合槽,与嵌合槽活动嵌合的吸盘组成。所述在餐具插框的框内还分隔有多个空格插槽,空格插槽由活动隔板分隔;所述在餐具插框的底部还设置有一个活动底板,活动底板由活动销与背板活动相连。本实用新型的这种壁挂式多插筒餐具插架不但使得各种厨房用具作到了有序排放,方便取用,更因为各个插筒的隔板都是活动隔板,可任意抽取,自由嵌合,从而给清洗餐具插架带来了方便,有利于餐具插架及插架内各种餐具的卫生。
Description
技术领域 本实用新型属于一种厨房用品,具休地说,本实用新型是一种壁挂式多插筒餐具插架。
背景技术 餐具插架主要用于存放调羹、汤匙、小的漏网勺、饭勺、毛夹、蔬菜刮丝器等厨房用品。也可用于存放筷子。一般餐具插架主要由圆形的桶状物或方形、长方形的盒状物从中再分隔出一个或二个小的空室来作堆放各种餐具之用,这样设置不但造成了餐具的无序堆放,给使用时寻找所需的用具带来麻烦,并且由于上述餐具插架均为固定连底的,分隔后的空室又给餐具插架增添了更多的积存污垢的死角,这些死角在清洗时一般极难清洗到,这样又会给餐具插架以及存放在插架内的各种厨房用品造成污垢污染,影响餐具的清洁卫生,甚至造成细菌繁殖,或污染食物,损害人体健康。
实用新型内容 本实用新型所要解决的问题是提供一种可使各种厨房餐具能有序排放,方便取用,同时又极易清洗插架各种死角的一种多插筒餐具插架。
本实用新型是通过下述技术方案予以实现的,所述的这种壁挂式多插筒餐具插架是由背板,以及在背板前部板体上固定连接的餐具插框,在背板板体后部固定连接的嵌合槽,以及与嵌合槽活动嵌合的吸盘组成。在所述的插框的框内分隔有多个空格插槽,空格插槽由活动隔板分隔,在插框的底部还设置有一个活动底板,活动底板的后边由活动销与背板的下边活动相连。活动底板的前边由两片固定连接的嵌合片与插框的板下边相嵌合后活动相连。
在上述结构件中,所述背板的板体上部两边还相对设置有两个挂口;所述背板的板体后上部还相对设置有两组嵌合槽,在嵌合槽里活动嵌合有吸盘。所述餐具插框前面的板面上还设置有多个三角及四角的凸起块。所述在活动底板的板体上还设置有漏孔。
在上述技术方案中,这种壁挂式多插筒餐具插架可用塑料、竹、木、不锈钢等材料制成。
由于采用了上述技术方案,不但使得各种厨房用具作到了有序排放,方便了取用,同时又由于各个插筒的隔板都是活动隔板,可任意抽取,这无疑又给在使用时增大插筒空间提供了便利,同时又由于活动隔板的可抽出,以及活动底板的可自由放下,自由嵌合,给清洗餐具插架带来了方便,这样就更利于餐具插架以及排放在插架内的各种餐具的清洁卫生。
附图说明 下面结合附图和具体实施方式对本实用新型作进一步详细的描述。
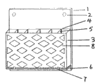
图1是本实用新型壁挂式多插筒餐具插架的立体主视图。
图2是图1所示视图的后视图。
图3是图1所示视图的俯视图。
具体实施方式 图1所示实施例中,在背板1的板体前面固定连接有一个餐具插框3,餐具插框3与背板1的板体上均设置有多个空格插槽4,将空格插槽4插上活动隔板5后便将餐具插框3分隔出多个小的餐具插筒。而餐具插框3的底板是一个与背板1活动连接的活动底板6,活动底板6与背板1的活动连接是用活动销来完成的。在活动底板6的前边板边沿还设置有两片嵌合片7,嵌合片7在与插框3的下边沿板体相嵌合后即将活动底板6与插框3紧紧嵌合成一个整体。从图示中可以看出,在插框3的正面板面上还设置有多个三角的及四角的凸起块8,这种凸起块8除了对餐具插架具有一定的装饰作用外,主要还是用于对插框3正面板面板体的加厚增强强化作用,这样在插入餐具时才不会使插框3的板面变形,有利于活动隔板5的分隔插放。又在背板1板体上部相对设置有挂口2,可用于将餐具插架挂在墙壁上。
图2所示实施例中,在背板1的板体后面还设置有两个吸盘10,吸盘10被嵌合在嵌合槽9内,这样就使得这种壁挂式的多插筒餐具插架不但可以用挂口2悬挂在墙壁上,同时也可用吸盘10将其吸附悬挂在墙壁上,更增加了插架在墙壁悬挂时的稳固作用。
图3所示实施例中,在活动底板6的板体上设置了许多漏孔11,这样的设置有利于洗涤水的流通,可加速活动底板6的快速干燥,有利于餐具插框3及框内餐具的卫生。
Claims (4)
1.一种壁挂式多插筒餐具插架,包括背板(1),在背板(1)前部板体固定连接的餐具插框(3),在背板(1)板体后部固定连接的嵌合槽(9),以及与嵌合槽(9)活动嵌合的吸盘(10);其特征是,所述在插框(3)的框内分隔有多个空格插槽(4);所述的空格插槽(4)由活动隔板(5)分隔,所述在插框(3)的底部还设置有一个活动底板(6),活动底板(6)的后边由活动销与背板(1)的下边活动相连;所述活动底板(6)的前边由两片固定连接的嵌合片(7)与插框(3)的板下边相嵌合后活动相连。
2.根据权利要求1所述的壁挂式多插筒餐具插架,其特征是,所述在背板(1)的板体上部两边还相对设置有两个挂口(2);所述在背板(1)的板体后上部还相对设置有两组嵌合槽(9),在嵌合槽(9)里活动嵌合有吸盘(10)。
3.根据权利要求1所述的壁挂式多插筒餐具插架,其特征是,所述餐具插框(3)前面的板面上还设置有多个三角及四角的凸起块(8)。
4.根据权利要求1所述的壁挂式多插筒餐具插架,其特征是,所述在活动底板(6)的板体上还设置有漏孔(11)。
Priority Applications (1)
| Application Number | Priority Date | Filing Date | Title |
|---|---|---|---|
| CN2010291220592U CN201710223U (zh) | 2010-04-14 | 2010-04-14 | 壁挂式多插筒餐具插架 |
Applications Claiming Priority (1)
| Application Number | Priority Date | Filing Date | Title |
|---|---|---|---|
| CN2010291220592U CN201710223U (zh) | 2010-04-14 | 2010-04-14 | 壁挂式多插筒餐具插架 |
Publications (1)
| Publication Number | Publication Date |
|---|---|
| CN201710223U true CN201710223U (zh) | 2011-01-19 |
Family
ID=43456215
Family Applications (1)
| Application Number | Title | Priority Date | Filing Date |
|---|---|---|---|
| CN2010291220592U Expired - Fee Related CN201710223U (zh) | 2010-04-14 | 2010-04-14 | 壁挂式多插筒餐具插架 |
Country Status (1)
| Country | Link |
|---|---|
| CN (1) | CN201710223U (zh) |
Cited By (1)
| Publication number | Priority date | Publication date | Assignee | Title |
|---|---|---|---|---|
| CN102512101A (zh) * | 2011-12-16 | 2012-06-27 | 吴江市黎里科龙铁艺装饰材料厂 | 一种厨具架 |
-
2010
- 2010-04-14 CN CN2010291220592U patent/CN201710223U/zh not_active Expired - Fee Related
Cited By (1)
| Publication number | Priority date | Publication date | Assignee | Title |
|---|---|---|---|---|
| CN102512101A (zh) * | 2011-12-16 | 2012-06-27 | 吴江市黎里科龙铁艺装饰材料厂 | 一种厨具架 |
Similar Documents
| Publication | Publication Date | Title |
|---|---|---|
| CN201710223U (zh) | 壁挂式多插筒餐具插架 | |
| CN205125581U (zh) | 一种多功能抽屉 | |
| CN201564330U (zh) | 炊具悬挂架 | |
| CN201691773U (zh) | 多片连续连接餐具插架 | |
| CN203934865U (zh) | 一种多功能洁具柜 | |
| CN204743240U (zh) | 一种餐具收纳用组合柜 | |
| CN201710686U (zh) | 食具消毒柜碗架 | |
| CN209499391U (zh) | 一种厨房用稳定性筷笼 | |
| CN219331060U (zh) | 一种带有内置滑轨的餐具篮 | |
| CN201939189U (zh) | 菜板 | |
| CN204016088U (zh) | 一种两用切菜板 | |
| CN205411124U (zh) | 一种厨房用碗篮 | |
| CN208625207U (zh) | 多用筷子笼 | |
| CN215959509U (zh) | 厨房菜品收纳盒 | |
| CN201182533Y (zh) | 炊具挂板 | |
| CN204427872U (zh) | 一种餐具收纳装置 | |
| CN203953191U (zh) | 一种便于清洗的多功能可拆卸家用组合式筷笼 | |
| CN204617557U (zh) | 一种餐具柜 | |
| CN204378457U (zh) | 多功能橱柜及长条形物品搁置架 | |
| CN205795575U (zh) | 一种厨房置物架可拆卸筷篓 | |
| CN217696321U (zh) | 一种竹制浴室架 | |
| CN201481204U (zh) | 立式碗盆晾干架 | |
| CN202891733U (zh) | 组合式卫浴柜 | |
| CN201341727Y (zh) | 一种多功能磁挂式专用刀架 | |
| CN202496915U (zh) | 一种新生儿人工喂养食品食具收纳存放盒 |
Legal Events
| Date | Code | Title | Description |
|---|---|---|---|
| C14 | Grant of patent or utility model | ||
| GR01 | Patent grant | ||
| C17 | Cessation of patent right | ||
| CF01 | Termination of patent right due to non-payment of annual fee |
Granted publication date: 20110119 Termination date: 20120414 |