CN201702123U - Combination cleaning device of screen printing plate - Google Patents

Combination cleaning device of screen printing plate Download PDF

Info

Publication number
CN201702123U
CN201702123U CN2010202265574U CN201020226557U CN201702123U CN 201702123 U CN201702123 U CN 201702123U CN 2010202265574 U CN2010202265574 U CN 2010202265574U CN 201020226557 U CN201020226557 U CN 201020226557U CN 201702123 U CN201702123 U CN 201702123U
Authority
CN
China
Prior art keywords
cleaning
half tone
cleaning case
combined cleaning
circulating
Prior art date
Legal status (The legal status is an assumption and is not a legal conclusion. Google has not performed a legal analysis and makes no representation as to the accuracy of the status listed.)
Expired - Lifetime
Application number
CN2010202265574U
Other languages
Chinese (zh)
Inventor
朱杰
杨辉
王永攀
Current Assignee (The listed assignees may be inaccurate. Google has not performed a legal analysis and makes no representation or warranty as to the accuracy of the list.)
ZHEJIANG TRUELOVE GROUP CO Ltd
Original Assignee
ZHEJIANG TRUELOVE GROUP CO Ltd
Priority date (The priority date is an assumption and is not a legal conclusion. Google has not performed a legal analysis and makes no representation as to the accuracy of the date listed.)
Filing date
Publication date
Application filed by ZHEJIANG TRUELOVE GROUP CO Ltd filed Critical ZHEJIANG TRUELOVE GROUP CO Ltd
Priority to CN2010202265574U priority Critical patent/CN201702123U/en
Application granted granted Critical
Publication of CN201702123U publication Critical patent/CN201702123U/en
Anticipated expiration legal-status Critical
Expired - Lifetime legal-status Critical Current

Links

Images

Landscapes

  • Cleaning By Liquid Or Steam (AREA)

Abstract

The utility model belongs to the field of textile machinery, and relates to a combination cleaning device of a screen printing plate, which comprises an engine frame and a plate cleaning water tank, wherein the plate cleaning water tank is a movable combination cleaning tank with washing, cleaning, water scraping and drying components, a guide rail and a drive device for assisting the parallel translation of the movable combination cleaning tank are arranged on the engine frame, a screen printing plate fixing device is arranged on the engine frame, and idler wheels which are matched with the guide rail are arranged on the movable combination cleaning tank. A screen printing plate is fixed on the engine frame, and the movable combination cleaning tank is driven by the drive device to do reciprocating movement along the guide rail, so the washing, cleaning, water scraping and drying of the screen printing plate are realized. The utility model has compact structure, installs all the washing, cleaning, water scraping and drying components on one movable combination cleaning tank, has high working efficiency, and solves the defects of large occupied area, no drying procedures and low cleaning efficiency in the existing plate cleaning machine.

Description

Stamp half tone combined cleaning device
Technical field
The utility model belongs to field of textile machinery, relates to a kind of cleaning device, especially relates to a kind of stamp half tone combined cleaning device.
Background technology
As everyone knows, behind the plain net screen printing of fabric, must totally can reuse through washing, clean, scrape operation processing such as water.Present stage, common practices was earlier the surplus slurry on the half tone to be collected, and then half tone placed vertically in washing an edition chamber, again with the flushing of high-pressure wash hydraulic giant; What have washs with plate processing machine, and then be placed on the flushing station wash with hydraulic giant.The former cleans unclean, and water consumption is big, pollutes fabric easily; Though the latter can clean up, the plate processing machine function singleness is arranged, adopt the rotating brushes complex structure, need establish circulation cleaning and clean two stations, occupied ground is big, does not have shortcomings such as drying up operation, is difficult to promote.
China utility model patent ZL200820201754.3 discloses a kind of flexographic plate plate processing machine, comprises mainframe, washes edition water tank and prebake paralell; Mainframe is provided with and washes an edition thickness adjusting apparatus, advances an edition device, main drive, main driving motor, washes edition thickness adjusting motor and advances an edition driving motor; Wash and be provided with washing edition brush group and washing an edition platform of horizontal arrangement in edition water tank; The prebake paralell is positioned at the mainframe back, which is provided with the prebake device; Wash edition brush group and comprise the circular small brushes group of front and the circular big hairbrush group of square hairbrush group and back.But, adopt the rotating brushes complex structure, need establish circulation cleaning and clean two stations, occupied ground is bigger, uses inconvenience.
Summary of the invention
The utility model provides the stamp half tone combined cleaning device that a kind of compact conformation, high efficiency, saving water resource, occupied ground are few, clean up, and has solved that existing plate processing machine occupied ground is big, the deficiency of complex structure, function singleness.
Above-mentioned technical problem of the present utility model is mainly solved by following technical proposals:
A kind of stamp half tone combined cleaning device, comprise organism frame and wash an edition water tank, it is characterized in that: the described edition water tank of washing is the portable combined cleaning case that the top is provided with circulating cleaning solution inlet, clear water inlet and hot-wind inlet, the inside of portable combined cleaning case is provided with the circulating cleaning solution water pipe that links to each other with the circulating cleaning solution inlet, the first road elastic scraper, the clear water pipe that links to each other with clear water inlet, the second road elastic scraper, and link to each other with hot-wind inlet dry up warm-air pipe; Organism frame is provided with for parallel mobile guide rail of portable combined cleaning case and drive unit, and organism frame is provided with the half tone fixture, and portable combined cleaning case is provided with the roller that matches with guide rail.Half tone is fixed on the organism frame, and described portable combined cleaning case moves back and forth the washing that realizes half tone, cleans, scrapes water, dries up along guide rail under the driving of drive unit.The utility model compact conformation, wash, clean, scrape water, dry up the part member all be installed on the portable combined cleaning case high efficiency.
As preferably, the circulating cleaning solution water pipe is provided with the circulation cleaning nozzle for liquid, and the clear water pipe is provided with clear water pipe nozzle, dries up warm-air pipe and is provided with and dries up hot blast nozzle.This structure can make the cleaning of half tone very clean, in the circulation cleaning stage, because the chemical action of washing agent and the physical action of high pressure nozzle, the mill base that remains on the half tone is all peeled off and is come off from half tone, next scrape water-clear water cleanings-scraper plate and scrape water-hot blast drying operation through scraper plate again, make on the half tone the mill base full scale clearance totally and do not have a water mark.
As preferably, portable combined cleaning case is a symmetrical structure, and the middle part that half tone passes portable combined cleaning case is fixed on the organism frame.Symmetrical structure cleans the tow sides of half tone simultaneously, saves time, and has improved the detersive efficiency of half tone.
As preferably, guide rail comprises the cleaning case upper rail that is fixed on organism frame top and is fixed on the cleaning case lower guideway of organism frame bottom.Cleaning case upper rail and cleaning case lower guideway make portable combined cleaning case level and smooth more, stable along laterally moving of organism frame.
As preferably, described half tone fixture is can be along the parallel mobile half tone location-plate of cleaning case upper rail.Portable half tone location-plate generally is provided with 1 pair or 2 pairs, can adjust the spacing of half tone location-plate according to the half tone of different size, makes things convenient for the cleaning of different model different size half tone.
As preferably, the nozzle injection pressure scope is between 8~16Mpa, and nozzle diameter is 3~4mm, and nozzle to half tone surface distance is 100~110mm, and the nozzle ejection water yield is 16~20L/min.
As preferably, this device also comprises circulating pump and is located at the circulation cleaning liquid bath of the strip of organism frame bottom, described circulating pump is connected by pipeline with portable combined cleaning case with the circulation cleaning liquid bath respectively, and the circulation cleaning liquid bath is provided with overfall and connects pumping hole with the circulating cleaning solution that is used for linking to each other with circulating pump.Cleaning solution is extracted out from the circulation cleaning liquid bath by external circulating pump, sprays on the half tone surface by circulating cleaning solution water pipe and circulation cleaning nozzle for liquid, can save water resource.
Therefore, the utlity model has following advantage: 1, compact conformation, wash, clean, scrape water, dry up the part member all be installed on the portable combined cleaning case.2, high efficiency is finished simultaneously on the two sides of half tone in a stroke and is cleaned, wipes off work such as the globule on the wire side, hot blast drying with the circulating cleaning solution washing, with clear water.3, save water resource, half tone cleans based on circulation cleaning.4, occupied ground is few, and (2.6 * 3.6m) required stamp half tone combined cleaning plant areas only are 6 * 1.5 * 3.9m to the half tone of cleaning size maximum.5, clean up.
Description of drawings
Fig. 1 is a kind of structural representation of the present utility model.
Fig. 2 is a schematic side view of the present utility model.
Fig. 3 is the structural representation of the portable combined cleaning case of the utility model.
Fig. 4 is the A-A sectional structure schematic diagram of Fig. 3 embodiment.
Fig. 5 is the B-B sectional structure schematic diagram of Fig. 3 embodiment.
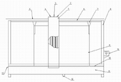
Label declaration: portable combined cleaning case 1, hot-wind inlet 2, clear water inlet 3, circulating cleaning solution inlet 4, conduction chain 5, cleaning case upper rail 6, half tone location-plate 7, organism frame 8, half tone 9, cleaning case lower guideway 10, circulation cleaning liquid bath 11, circulating cleaning solution connect pumping hole 12, overfall 13, circulating cleaning solution water pipe 14, circulation cleaning nozzle for liquid 15, the first road elastic scraper 16, clear water pipe 17, clear water pipe nozzle 18, electric cabinet 19, the second road elastic scraper 20, dry up warm-air pipe 21, dry up hot blast nozzle 22, circulating pump 23, upper roller 24, bottom roller 25.
The specific embodiment
Below by embodiment, and in conjunction with the accompanying drawings, the technical solution of the utility model is described in further detail.
Embodiment 1:
Stamp half tone combined cleaning device as illustrated in fig. 1 and 2, by organism frame 8 and have washing, clean, scrape water, the portable combined cleaning case 1 that dries up member forms, organism frame 8 is provided with for portable combined cleaning case 1 parallel mobile cleaning case upper rail 6 and cleaning case lower guideway 10, and the chain type vibrated drive equipment, the conduction chain 5 of chain type vibrated drive equipment is fixed on the upper end of portable combined cleaning case 1.One side of organism frame 8 is fixed with the electric cabinet 19 of the whole device circuit of control system.Cleaning case upper rail 6 is fixed on the top of organism frame, and cleaning case lower guideway 10 is fixed on the bottom of organism frame.Half tone 9 vertically is placed on the cleaning case lower guideway 10, and the top of half tone 9 is fixing by the half tone location-plate of being located on the organism frame 87, and cleaning case 1 is driven by conduction chain 5 and moves laterally on organism frame 8.Half tone location-plate 7 can be along cleaning case upper rail 6 parallel moving, and to be fit to the half tone of different size, half tone 9 vertical placements can make washing and rinse water fluid capacitance easily flow down.Organism frame 8 bottoms are provided with the circulation cleaning liquid bath 11 of strip, and a side of circulation cleaning liquid bath 11 is provided with overfall 13, and the bottom of circulation cleaning liquid bath 11 is provided with the circulating cleaning solution that is used for linking to each other with circulating pump 23 and connects pumping hole 12.
As shown in Figure 3, portable combined cleaning case 1 top is provided with circulating cleaning solution inlet 4, clear water inlet 3 and hot-wind inlet 2, and circulating cleaning solution inlet 4 links to each other with circulating pump 23; The inside of portable combined cleaning case 1 is provided with and the circulating cleaning solution inlet 4 circulating cleaning solution water pipes 14 that link to each other from left to right successively, the first road elastic scraper 16, with the clear water inlet 3 clear water pipes that link to each other 17, the second road elastic scrapers 20, and link to each other with hot-wind inlet 2 dry up warm-air pipe 21.Circulating cleaning solution water pipe 14 is provided with circulation cleaning nozzle for liquid 15, clear water pipe 17 is provided with clear water pipe nozzle 18, dries up warm-air pipe 21 and is provided with and dries up hot blast nozzle 22.More than the expulsion pressure of each nozzle be controlled between 8~16Mpa, nozzle diameter is 3mm, each nozzle is in 100~110mm scope to the distance on half tone 9 surfaces, the nozzle ejection water yield is 16~20L/min.
Portable combined cleaning case 1 is symmetrical structure (seeing Fig. 4 and Fig. 5), the middle part that half tone 9 passes portable combined cleaning case 1 is fixed on the organism frame 8, the bottom of portable combined cleaning case 1 is provided with the bottom roller 25 that cooperates with cleaning case lower guideway 10, and the top of portable combined cleaning case 1 is provided with the upper roller 24 that cooperates with cleaning case upper rail 6.In portable combined cleaning case 1, be positioned at the above-mentioned washing of a cover each side is installed successively, scrapes water, cleans, scrape water, blower mechanism of half tone 9, it puts in order as shown in Figure 3.
During use, portable combined cleaning case 1 is moved to the left, make half tone 9 successively through circulating cleaning solution water pipe 14, the first road elastic scraper 16, clear water pipe 17, the second road elastic scraper 20 with dry up warm-air pipe 21, promptly circulation cleaning preceding, scrape water and cleaning, dry up after; After cleaning finished, portable combined cleaning case 1 arrives the left side to be stopped, and moving to right fast behind the cleaned half tone to be removed resets waits for and enter next working cycles.Portable combined cleaning case 1 under the driving that is positioned at the chain type vibrated drive equipment on the organism frame 8, along cleaning case get on the right track 6 and cleaning case lower railway 10 move back and forth and realize cleaning and resetting.Cleaning solution is extracted out from circulation cleaning liquid bath 11 by external circulating pump 23, sprays on the surface of half tone 9 by circulating cleaning solution water pipe 14 and circulation cleaning nozzle for liquid 15.The clear water consumption that cleans usefulness seldom, hydraulic pressure is also little, is provided by water reuse pipe network in the workshop.
Should be understood that this embodiment only to be used to the utility model is described and be not used in the restriction scope of the present utility model.More than each nozzle can be provided with according to actual conditions, only need expulsion pressure is controlled between 8~16Mpa, nozzle diameter can be 3~4mm, nozzle to half tone surface distance is 100~110mm, the nozzle ejection water yield is 16~20L/min.Should be understood that in addition those skilled in the art can make various changes or modifications the present invention after the content of having read the utility model instruction, these equivalent form of values fall within the application's appended claims institute restricted portion equally.

Claims (7)

1. stamp half tone combined cleaning device, comprise organism frame and wash an edition water tank, it is characterized in that: the described edition water tank of washing is the portable combined cleaning case that the top is provided with circulating cleaning solution inlet, clear water inlet and hot-wind inlet, the inside of portable combined cleaning case is provided with the circulating cleaning solution water pipe that links to each other with the circulating cleaning solution inlet, the first road elastic scraper, the clear water pipe that links to each other with clear water inlet, the second road elastic scraper, and link to each other with hot-wind inlet dry up warm-air pipe; Organism frame is provided with for parallel mobile guide rail of portable combined cleaning case and drive unit, and organism frame is provided with the half tone fixture, and portable combined cleaning case is provided with the roller that matches with guide rail.
2. stamp half tone combined cleaning device according to claim 1, it is characterized in that: circulating cleaning solution water pipe and clear water pipe are provided with nozzle, dry up warm-air pipe and are provided with and dry up hot blast nozzle.
3. stamp half tone combined cleaning device according to claim 1, it is characterized in that: portable combined cleaning case is a symmetrical structure, the middle part that half tone passes portable combined cleaning case is fixed on the organism frame.
4. stamp half tone combined cleaning device according to claim 1 is characterized in that: guide rail comprises the cleaning case upper rail that is fixed on organism frame top and is fixed on the cleaning case lower guideway of organism frame bottom.
5. stamp half tone combined cleaning device according to claim 1 is characterized in that: described half tone fixture is can be along the parallel mobile half tone location-plate of cleaning case upper rail.
6. according to the stamp half tone combined cleaning device described in the claim 2, it is characterized in that: the expulsion pressure scope of described nozzle is between 8~16Mpa, nozzle diameter is 3~4mm, and nozzle to half tone surface distance is 100~110mm, and the ejection water yield is 16~20L/min.
7. according to each described stamp half tone combined cleaning device among the claim 1-6, it is characterized in that: this device also comprises circulating pump and is located at the circulation cleaning liquid bath of the strip of organism frame bottom, described circulating pump is connected by pipeline with portable combined cleaning case with the circulation cleaning liquid bath respectively, and the circulation cleaning liquid bath is provided with overfall and connects pumping hole with the circulating cleaning solution that is used for linking to each other with circulating pump.
CN2010202265574U 2010-06-17 2010-06-17 Combination cleaning device of screen printing plate Expired - Lifetime CN201702123U (en)

Priority Applications (1)

Application Number Priority Date Filing Date Title
CN2010202265574U CN201702123U (en) 2010-06-17 2010-06-17 Combination cleaning device of screen printing plate

Applications Claiming Priority (1)

Application Number Priority Date Filing Date Title
CN2010202265574U CN201702123U (en) 2010-06-17 2010-06-17 Combination cleaning device of screen printing plate

Publications (1)

Publication Number Publication Date
CN201702123U true CN201702123U (en) 2011-01-12

Family

ID=43439270

Family Applications (1)

Application Number Title Priority Date Filing Date
CN2010202265574U Expired - Lifetime CN201702123U (en) 2010-06-17 2010-06-17 Combination cleaning device of screen printing plate

Country Status (1)

Country Link
CN (1) CN201702123U (en)

Cited By (21)

* Cited by examiner, † Cited by third party
Publication number Priority date Publication date Assignee Title
CN102527656A (en) * 2011-12-31 2012-07-04 绍兴县瑞群纺织机械科技有限公司 Continuous cleaning device for flat-screen printing plate
CN103331274A (en) * 2013-07-19 2013-10-02 珠海紫翔电子科技有限公司 Screen board cleaning machine
CN103639140A (en) * 2013-12-24 2014-03-19 愉悦家纺有限公司 Screen printing plate cleaning device
CN103658117A (en) * 2013-12-23 2014-03-26 吴江华尔美特装饰材料有限公司 Automatic cleaning device for circular screen
CN103706587A (en) * 2013-12-24 2014-04-09 愉悦家纺有限公司 Multi-screen-plate washing device
CN103728844A (en) * 2013-12-24 2014-04-16 愉悦家纺有限公司 Rotary screen developer
CN103990625A (en) * 2014-05-30 2014-08-20 苏州倍辰莱电子科技有限公司 Steel mesh washing device
CN105128526A (en) * 2015-09-10 2015-12-09 苏州恩欧西精密机械制造有限公司 Method for cleaning tin cream printing screen
CN105499189A (en) * 2016-01-18 2016-04-20 江阴锕电尔电化设备有限公司 Electrode cleaning device
CN105689309A (en) * 2016-03-03 2016-06-22 厦门市稻贞科技有限公司 High-pressure cleaning device for screen frame washing and working method for high-pressure cleaning device
CN105945000A (en) * 2016-07-19 2016-09-21 江苏宇顺纺织有限公司 Water-pressure-adjustable heald frame cleaning device
CN106000986A (en) * 2016-07-19 2016-10-12 江苏宇顺纺织有限公司 Automatic cleaning device for printing screens
CN106000985A (en) * 2016-07-19 2016-10-12 江苏宇顺纺织有限公司 Automatic washing device for printing silk screen
CN106180037A (en) * 2016-07-19 2016-12-07 江苏宇顺纺织有限公司 A kind of weaving heald frame automatic clearing apparatus
CN106346951A (en) * 2016-11-04 2017-01-25 无锡长城机器制造有限公司 Upper-mounted sealed type roller cleaning device of satellite type printing machine
CN106423956A (en) * 2015-08-08 2017-02-22 绍兴瑞群纺织机械科技有限公司 Novel multi-station printing net plate cleaning machine
CN107243474A (en) * 2017-08-02 2017-10-13 合肥光聚财建筑装饰工程有限公司 The quick cleaning device and its clean method of a kind of interior decoration section bar
CN108212913A (en) * 2017-12-22 2018-06-29 南京日托光伏科技股份有限公司 A kind of printing screen plate cleaning method of MWT photovoltaic modulies
CN108311478A (en) * 2018-01-30 2018-07-24 海宁市金雅特纺织有限公司 A kind of method for cleaning of sectional warper
CN108724934A (en) * 2018-07-10 2018-11-02 佛山市顺德区鹏麒机械科技有限公司 Stamp net cleaning machine
CN109570103A (en) * 2018-10-26 2019-04-05 南通梦琦锐数码纺织有限公司 A method of enable to nickel screen to be recycled

Cited By (27)

* Cited by examiner, † Cited by third party
Publication number Priority date Publication date Assignee Title
CN102527656B (en) * 2011-12-31 2014-04-02 绍兴县瑞群纺织机械科技有限公司 Continuous cleaning device for flat-screen printing plate
CN102527656A (en) * 2011-12-31 2012-07-04 绍兴县瑞群纺织机械科技有限公司 Continuous cleaning device for flat-screen printing plate
CN103331274A (en) * 2013-07-19 2013-10-02 珠海紫翔电子科技有限公司 Screen board cleaning machine
CN103331274B (en) * 2013-07-19 2016-04-06 珠海紫翔电子科技有限公司 Press wash machine
CN103658117A (en) * 2013-12-23 2014-03-26 吴江华尔美特装饰材料有限公司 Automatic cleaning device for circular screen
CN103658117B (en) * 2013-12-23 2017-01-11 吴江华尔美特装饰材料有限公司 Automatic cleaning device for circular screen
CN103706587A (en) * 2013-12-24 2014-04-09 愉悦家纺有限公司 Multi-screen-plate washing device
CN103728844A (en) * 2013-12-24 2014-04-16 愉悦家纺有限公司 Rotary screen developer
CN103639140A (en) * 2013-12-24 2014-03-19 愉悦家纺有限公司 Screen printing plate cleaning device
CN103706587B (en) * 2013-12-24 2017-01-25 愉悦家纺有限公司 Multi-screen-plate washing device
CN103990625A (en) * 2014-05-30 2014-08-20 苏州倍辰莱电子科技有限公司 Steel mesh washing device
CN106423956A (en) * 2015-08-08 2017-02-22 绍兴瑞群纺织机械科技有限公司 Novel multi-station printing net plate cleaning machine
CN105128526A (en) * 2015-09-10 2015-12-09 苏州恩欧西精密机械制造有限公司 Method for cleaning tin cream printing screen
CN105499189A (en) * 2016-01-18 2016-04-20 江阴锕电尔电化设备有限公司 Electrode cleaning device
CN105689309A (en) * 2016-03-03 2016-06-22 厦门市稻贞科技有限公司 High-pressure cleaning device for screen frame washing and working method for high-pressure cleaning device
CN105945000A (en) * 2016-07-19 2016-09-21 江苏宇顺纺织有限公司 Water-pressure-adjustable heald frame cleaning device
CN106180037A (en) * 2016-07-19 2016-12-07 江苏宇顺纺织有限公司 A kind of weaving heald frame automatic clearing apparatus
CN106000985A (en) * 2016-07-19 2016-10-12 江苏宇顺纺织有限公司 Automatic washing device for printing silk screen
CN106000986A (en) * 2016-07-19 2016-10-12 江苏宇顺纺织有限公司 Automatic cleaning device for printing screens
CN106346951A (en) * 2016-11-04 2017-01-25 无锡长城机器制造有限公司 Upper-mounted sealed type roller cleaning device of satellite type printing machine
CN106346951B (en) * 2016-11-04 2018-09-28 无锡长城机器制造有限公司 Closing roller cleaning device is set on satellite-type printing machine
CN107243474A (en) * 2017-08-02 2017-10-13 合肥光聚财建筑装饰工程有限公司 The quick cleaning device and its clean method of a kind of interior decoration section bar
CN107243474B (en) * 2017-08-02 2019-11-26 陈林杰 A kind of quick cleaning device and its clean method of interior decoration section bar
CN108212913A (en) * 2017-12-22 2018-06-29 南京日托光伏科技股份有限公司 A kind of printing screen plate cleaning method of MWT photovoltaic modulies
CN108311478A (en) * 2018-01-30 2018-07-24 海宁市金雅特纺织有限公司 A kind of method for cleaning of sectional warper
CN108724934A (en) * 2018-07-10 2018-11-02 佛山市顺德区鹏麒机械科技有限公司 Stamp net cleaning machine
CN109570103A (en) * 2018-10-26 2019-04-05 南通梦琦锐数码纺织有限公司 A method of enable to nickel screen to be recycled

Similar Documents

Publication Publication Date Title
CN201702123U (en) Combination cleaning device of screen printing plate
CN203211938U (en) Printing industry conveying belt washing device
CN110496805A (en) A kind of dust-extraction unit of industrial communication cable
CN207952062U (en) A kind of efficient swing type cleaning device of building scrap iron material
CN205308826U (en) Efficient bearing belt cleaning device
CN105799105A (en) Full-automatic eighteen-groove mold ultrasonic cleaning machine
CN104759422A (en) A self-cleaning solar panel dust removal and cleaning device
CN210847333U (en) Auxiliary cleaning mechanism for screen printing screen plate
ITMI20100443A1 (en) WASHING MACHINE
CN205200098U (en) Can bottle self - cleaning device
CN214344900U (en) Cleaning device for sediment incrustation on back surface of filter cloth of drying machine
CN203610360U (en) High-pressure spraying cleaning device for stainless steel screen plate special for flat plate type selective catalytic reduction (SCR) denitration catalysts
CN208786977U (en) A kind of cell phone mainboard processing cleaning device
CN112524992B (en) Online cleaning device for condenser
CN100584423C (en) Filter cloth cleaning mechanism and cleaning method of filter press
CN109127580A (en) A kind of cleaning systems before metal plate plated film
CN203167985U (en) Feeding device of automatic sugarcane cleaning machine
CN209379513U (en) A kind of electric automatization cleaning device
CN219335114U (en) Cleaning device for circuit board production
CN208758259U (en) Cylinder barrel cleaning device
CN206997184U (en) A kind of steel plate automatic rinser
CN211359714U (en) Part machining belt cleaning device for mechanical equipment
CN206652797U (en) A kind of automatic barrel rubbing machine
CN201676570U (en) Automatic filter cloth washing device for filter press
CN103658117B (en) Automatic cleaning device for circular screen

Legal Events

Date Code Title Description
C14 Grant of patent or utility model
GR01 Patent grant
PE01 Entry into force of the registration of the contract for pledge of patent right

Denomination of utility model: Combination cleaning device of screen printing plate

Effective date of registration: 20130228

Granted publication date: 20110112

Pledgee: Agricultural Bank of China, Limited by Share Ltd, Jinhua branch

Pledgor: Zhejiang Truelove Group Co., Ltd.

Registration number: 2013990000114

PLDC Enforcement, change and cancellation of contracts on pledge of patent right or utility model
PC01 Cancellation of the registration of the contract for pledge of patent right

Date of cancellation: 20140701

Granted publication date: 20110112

Pledgee: Agricultural Bank of China, Limited by Share Ltd, Jinhua branch

Pledgor: Zhejiang Truelove Group Co., Ltd.

Registration number: 2013990000114

PE01 Entry into force of the registration of the contract for pledge of patent right

Denomination of utility model: Combination cleaning device of screen printing plate

Effective date of registration: 20140702

Granted publication date: 20110112

Pledgee: Agricultural Bank of China, Limited by Share Ltd, Jinhua branch

Pledgor: Zhejiang Truelove Group Co., Ltd.

Registration number: 2014990000538

PLDC Enforcement, change and cancellation of contracts on pledge of patent right or utility model
CX01 Expiry of patent term

Granted publication date: 20110112

CX01 Expiry of patent term