CN201696711U - 一种复合水龙头阀体 - Google Patents

一种复合水龙头阀体 Download PDF

Info

Publication number
CN201696711U
CN201696711U CN2010202373615U CN201020237361U CN201696711U CN 201696711 U CN201696711 U CN 201696711U CN 2010202373615 U CN2010202373615 U CN 2010202373615U CN 201020237361 U CN201020237361 U CN 201020237361U CN 201696711 U CN201696711 U CN 201696711U
Authority
CN
China
Prior art keywords
valve body
inner housing
obturator
frame
tap valve
Prior art date
Legal status (The legal status is an assumption and is not a legal conclusion. Google has not performed a legal analysis and makes no representation as to the accuracy of the status listed.)
Expired - Fee Related
Application number
CN2010202373615U
Other languages
English (en)
Inventor
屠锡胜
Current Assignee (The listed assignees may be inaccurate. Google has not performed a legal analysis and makes no representation or warranty as to the accuracy of the list.)
Jin Weifeng
Tu Xisheng
Original Assignee
Individual
Priority date (The priority date is an assumption and is not a legal conclusion. Google has not performed a legal analysis and makes no representation as to the accuracy of the date listed.)
Filing date
Publication date
Application filed by Individual filed Critical Individual
Priority to CN2010202373615U priority Critical patent/CN201696711U/zh
Application granted granted Critical
Publication of CN201696711U publication Critical patent/CN201696711U/zh
Anticipated expiration legal-status Critical
Expired - Fee Related legal-status Critical Current

Links

Images

Landscapes

  • Valve Housings (AREA)

Abstract

本实用新型公开了一种复合水龙头阀体,整个阀体包括填充体、内壳体和外壳体;所述填充体内设置有进水管和出水管;所述内壳体包裹在填充体外,内壳体由左、右两瓣合为一体而成;所述外壳体一体生成,外壳体上设置有阀芯座结构。本实用新型阀体的制造材料结合多种材料,在降低材料制造成本的同时保证了本体的强度和成品的光泽度,同时也保证了产品加工的良品率和成品质量,提升了生产效率。

Description

一种复合水龙头阀体
技术领域
本发明涉及一种水龙头,特别是涉及一种复合水龙头阀体。 
背景技术
最早的水龙头其阀体材料一般都采用不锈钢、铜或铜合金等金属材料,优点是成品的光泽度很好、强度高、不易磨损,缺点是材料成本太高,制造次品率比较高,本体制造的模具采用砂型并一体制造,在制造过程中很容易出现砂眼和毛孔。 
为此,近年来出现了很多采用非金属材料制造的水龙头,如陶瓷水龙头、塑料水龙头、树脂水龙头等,这几种方式在相比传统龙头阀体在一定程度上都降低了材料的制造成本。 
而为了进一步降低材料成本,目前市面上又出现了一种多种材料复合的水龙头,其结构一般包括外壳体和填充体,填充体中设置进水管和出水管,其中的外壳体采用塑料、树脂或金属,填充体为水泥、石膏等,在此,因填充体的材料非常经济,该结构设计的外壳体保证了产品外表的光洁度,而填充体结构则进一步降低了龙头阀体的材料成本。以上复合水龙头的加工过程是:首先用模具一体制成带进、出水管的填充体,而后在加工完成的填充体外壁注塑或金属铸造水龙头外壳体,最后再对水龙头外壳表面进行电镀或真空镀膜的光洁处理。但在实际加工当中,当对加工完成的填充体外壁进行注塑或金属铸造外壳体时,填充体的温度很高,而填充体本身具有一定的膨胀率,由于其表面无保护层结构,导致填充体受热后很容易发生爆裂,加工的次品率很高,严重影响了生产效率和成品质量。 
实用新型内容
针对上述问题,本发明设计了一种复合水龙头阀体,其阀体的制造材料结合多种材料,在降低材料制造成本的同时保证了本体的强度和成品的光泽度,同时也保证了产品加工的良品率和成品质量,提升了生产效率。 
为实现上述目的,本发明采用以下技术方案: 
一种复合水龙头阀体,其特征在于:整个阀体包括填充体、内壳体和外壳体;所述填充体内设置有进水管和出水管;所述内壳体包裹在填充体外,内壳体由左、右两瓣合为一体而成;所述外壳体一体生成,外壳体上设置有阀芯座结构。
上述内壳体底部设置有浇口,浇口旁边设置有浇注排气孔。 
上述填充体由非金属材料所制成。 
上述非金属材料包括水泥、泥沙、塑料、树脂、碳酸钙、石膏、矿石粉或磁性材料。 
上述内壳体由塑料或金属制成。 
上述外壳体由塑料或金属制成。 
上述塑料包括PP、PP改性材料、ABS、ABS改性材料、PPS、PEO、PVC、PA、PPR、PET或PC材料。 
上述金属包括铜、铜合金、铝、铝合金、锌合金或铸铁。 
上述复合水龙头阀体的制造方法,其步骤如下:a、首先通过模具注塑或金属铸造出内壳体的左右两瓣;b、把进水管和出水管定位在内壳体左、右两瓣的任意一瓣上,而后把左右两瓣用塑封或焊接合为一体;c、从内壳体底部的浇口外往内壳体内灌注填充体,直到填充体完全填满整个内壳体;d、把形成一体的内壳体和填充体作为嵌件放入外壳体模具的模腔中,而后在内壳体外壁注塑或金属铸造出带阀芯座的外壳体;e、最后对外壳体进行抛光、电镀或真空镀膜表面处理即得成品水龙头阀体。 
本发明阀体结合多种材料制作,在保证同强度、同光泽度的情况下大大降低了材料成本。同时为便于加工,提升产品良品率和成品质量,整个阀体由外壳体、内壳体和填充体组成,在加工时,首先由内壳体和填充体形成阀体毛坯,而后再在内壳体外壁进行注塑或金属铸造得到外壳体,在此,因阀体毛坯由内壳体包裹填充体形成,内壳体相当于给填充体设置了一保护层,有效解决了填充体的受热膨胀爆裂问题,进而保证了产品加工的良品率,提升了成品质量和加工效率。 
附图说明
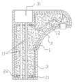
图1、本发明的平面结构示意图。 
具体实施方式
如图1所示,一种复合水龙头阀体,整个阀体包括填充体1、内壳体2和外壳体3。 
所述填充体1内设置有进水管11和出水管12。填充体1由非金属材料所制成,在本实施方式中,非金属材料包括水泥、泥沙、塑料、树脂、碳酸钙、石膏、矿石粉或磁性材料。 
所述内壳体2包裹在填充体1外,内壳体2由左、右两瓣合为一体而成。内壳体2由塑料或金属制成,其中塑料包括PP、PP改性材料、ABS、ABS改性材料、PPS、PEO、PVC、PA、PPR、PET或PC材料;金属包括铜、铜合金、铝、铝合金、锌合金或铸铁。所述内壳体2底部设置有浇口21用于填充体1的填充加工,浇口旁边设置有浇注排气孔22。 
所述外壳体3包裹在内壳体2外壁,其由注塑或金属铸造一体生成,外壳体3上设置有阀芯座31结构。外壳体3由塑料或金属制成,其中塑料包括PP、PP改性材料、ABS、ABS改性材料、PPS、PEO、PVC、PA、PPR、PET或PC材料;金属包括铜、铜合金、铝、铝合金、锌合金或铸铁。 
本发明复合水龙头阀体的制造方法,其步骤如下:a、首先通过模具注塑或金属铸造出内壳体2的左右两瓣;b、把进水管11和出水管12定位在内壳体2左、右两瓣的任意一瓣上,而后把左右两瓣用塑封或焊接合为一体;c、从内壳体2底部的浇口21外往内壳体内灌注填充体1,直到填充体1完全填满整个内壳体;d、把形成一体的内壳体2和填充体1作为嵌件放入外壳体3模具的模腔中,而后在内壳体2外壁注塑或金属铸造出带阀芯座31的外壳体3;e、最后对外壳体3进行抛光、电镀或真空镀膜表面处理即得成品水龙头阀体。 
本发明阀体结合多种材料制作,在保证同强度、同光泽度的情况下大大降低了材料成本。同时为便于加工,提升产品良品率和成品质量,本发明整个阀体由外壳体3、内壳体2和填充体1组成,在加工时,首先由内壳体2和填充体1形成阀体毛坯,而后再在内壳体2外壁进行注塑或金属铸造得到外壳体3,在此,因阀体毛坯由内壳体2包裹填充体1形成,内壳体2相当于给填充体1设置了一保护层,有效解决了填充体1在外壳体注塑或金属铸造当中的受热膨胀爆裂问题,进而保证了产品加工的良品率,提升了成品质量和加工效率。 

Claims (8)

1.一种复合水龙头阀体,其特征在于:整个阀体包括填充体、内壳体和外壳体;所述填充体内设置有进水管和出水管;所述内壳体包裹在填充体外,内壳体由左、右两瓣合为一体而成;所述外壳体一体生成,外壳体上设置有阀芯座结构。
2.如权利要求1所述的一种复合水龙头阀体,其特征在于:所述内壳体底部设置有浇口,浇口旁边设置有浇注排气孔。
3.如权利要求1所述的一种复合水龙头阀体,其特征在于:所述填充体由非金属材料所制成。
4.如权利要求3所述的一种复合水龙头阀体,其特征在于:所述非金属材料包括水泥、泥沙、塑料、树脂、碳酸钙、石膏、矿石粉或磁性材料。
5.如权利要求1所述的一种复合水龙头阀体,其特征在于:所述内壳体由塑料或金属制成。
6.如权利要求1所述的一种复合水龙头阀体,其特征在于:所述外壳体由塑料或金属制成。
7.如权利要求5或6所述的一种复合水龙头阀体,其特征在于:所述塑料包括PP、PP改性材料、ABS、ABS改性材料、PPS、PEO、PVC、PA、PPR、PET或PC材料。
8.如权利要求5或6所述的一种复合水龙头阀体,其特征在于:所述金属包括铜、铜合金、铝、铝合金、锌合金或铸铁。
CN2010202373615U 2010-06-25 2010-06-25 一种复合水龙头阀体 Expired - Fee Related CN201696711U (zh)

Priority Applications (1)

Application Number Priority Date Filing Date Title
CN2010202373615U CN201696711U (zh) 2010-06-25 2010-06-25 一种复合水龙头阀体

Applications Claiming Priority (1)

Application Number Priority Date Filing Date Title
CN2010202373615U CN201696711U (zh) 2010-06-25 2010-06-25 一种复合水龙头阀体

Publications (1)

Publication Number Publication Date
CN201696711U true CN201696711U (zh) 2011-01-05

Family

ID=43397953

Family Applications (1)

Application Number Title Priority Date Filing Date
CN2010202373615U Expired - Fee Related CN201696711U (zh) 2010-06-25 2010-06-25 一种复合水龙头阀体

Country Status (1)

Country Link
CN (1) CN201696711U (zh)

Cited By (2)

* Cited by examiner, † Cited by third party
Publication number Priority date Publication date Assignee Title
CN101936417A (zh) * 2010-06-25 2011-01-05 屠锡胜 一种复合水龙头阀体
TWI691668B (zh) * 2019-03-14 2020-04-21 黃朝林 一體式水龍頭的製造方法

Cited By (3)

* Cited by examiner, † Cited by third party
Publication number Priority date Publication date Assignee Title
CN101936417A (zh) * 2010-06-25 2011-01-05 屠锡胜 一种复合水龙头阀体
WO2011160558A1 (zh) * 2010-06-25 2011-12-29 Tu Xisheng 一种复合水龙头阀体
TWI691668B (zh) * 2019-03-14 2020-04-21 黃朝林 一體式水龍頭的製造方法

Similar Documents

Publication Publication Date Title
CN101936417A (zh) 一种复合水龙头阀体
CN103192051B (zh) 一种超薄壁轻金属合金外壳或框架的制造方法
CN103174861A (zh) 一种组合型水龙头
CN201696711U (zh) 一种复合水龙头阀体
CN207715853U (zh) 一种龙头壳体、内芯及龙头
CN103100669A (zh) 一种带有法兰铸造螺栓孔闸阀阀体组合浇注工艺
CN204075072U (zh) 一种改进阀体铸造模具
CN201651500U (zh) 复合型水龙头主体
CN102644783A (zh) 一种水龙头的制造方法
CN103551503B (zh) 一种大型回转体铸钢件模具的制作方法
CN103042177A (zh) 一种不锈钢水龙头的覆膜砂铸造工艺
CN103170800A (zh) 不锈钢水龙头的制造方法
CN203176483U (zh) 一种组合型水龙头
CN201723778U (zh) 环保型混水龙头
CN202381741U (zh) 仿陶瓷水龙头
CN205148832U (zh) 一种超厚型芯螺旋冷却装置
CN106080962B (zh) 一种水上运动船艇及其制造方法
CN110560663A (zh) 一种水泵叶轮的铸造加工工艺
CN201606557U (zh) 复合水龙头壳体
CN208535269U (zh) 一种内外一体成型金属加塑料龙头
CN202834276U (zh) 塑料成型出水构件
CN105750505A (zh) 一种压缩机内孔的铸造方法
CN102367885A (zh) 一种水龙头及其制造方法
CN210676882U (zh) 一种叶轮、导叶的高温合金压力浇铸模具
CN201412356Y (zh) 一种离心式水泵

Legal Events

Date Code Title Description
C14 Grant of patent or utility model
GR01 Patent grant
ASS Succession or assignment of patent right

Owner name: JIN WEIFENG

C41 Transfer of patent application or patent right or utility model
TR01 Transfer of patent right

Effective date of registration: 20111118

Address after: 318020 No. 31 water head village, Zhen Qiao Town, Huangyan District, Zhejiang, Taizhou

Co-patentee after: Jin Weifeng

Patentee after: Tu Xisheng

Address before: 318020 No. 31 water head village, Zhen Qiao Town, Huangyan District, Zhejiang, Taizhou

Patentee before: Tu Xisheng

CF01 Termination of patent right due to non-payment of annual fee

Granted publication date: 20110105

Termination date: 20140625

EXPY Termination of patent right or utility model