CN201672362U - An energy-saving table lamp - Google Patents
An energy-saving table lamp Download PDFInfo
- Publication number
- CN201672362U CN201672362U CN2010201845924U CN201020184592U CN201672362U CN 201672362 U CN201672362 U CN 201672362U CN 2010201845924 U CN2010201845924 U CN 2010201845924U CN 201020184592 U CN201020184592 U CN 201020184592U CN 201672362 U CN201672362 U CN 201672362U
- Authority
- CN
- China
- Prior art keywords
- desk lamp
- energy
- lamp
- lampshade
- saving
- Prior art date
- Legal status (The legal status is an assumption and is not a legal conclusion. Google has not performed a legal analysis and makes no representation as to the accuracy of the status listed.)
- Expired - Fee Related
Links
Classifications
-
- Y—GENERAL TAGGING OF NEW TECHNOLOGICAL DEVELOPMENTS; GENERAL TAGGING OF CROSS-SECTIONAL TECHNOLOGIES SPANNING OVER SEVERAL SECTIONS OF THE IPC; TECHNICAL SUBJECTS COVERED BY FORMER USPC CROSS-REFERENCE ART COLLECTIONS [XRACs] AND DIGESTS
- Y02—TECHNOLOGIES OR APPLICATIONS FOR MITIGATION OR ADAPTATION AGAINST CLIMATE CHANGE
- Y02B—CLIMATE CHANGE MITIGATION TECHNOLOGIES RELATED TO BUILDINGS, e.g. HOUSING, HOUSE APPLIANCES OR RELATED END-USER APPLICATIONS
- Y02B20/00—Energy efficient lighting technologies, e.g. halogen lamps or gas discharge lamps
- Y02B20/40—Control techniques providing energy savings, e.g. smart controller or presence detection
Landscapes
- Arrangement Of Elements, Cooling, Sealing, Or The Like Of Lighting Devices (AREA)
Abstract
本实用新型涉及一种照明工具,特别涉及一种节能台灯。该节能台灯包括台灯底座、开关、台灯支架、灯管、灯罩,台灯底座、台灯支架、灯罩、灯管依次连接,开关置于台灯底座的上表面,该节能台灯还包括红外感应器,红外感应器置于台灯支架前表面,在灯罩的下方。当使用者靠近台灯时,台灯自动开启,当使用者不使用台灯而远离时,台灯自动关闭。不仅节约了电能,也保证了台灯的用电安全。
The utility model relates to a lighting tool, in particular to an energy-saving desk lamp. The energy-saving desk lamp includes a desk lamp base, a switch, a desk lamp bracket, a lamp tube, and a lampshade. The desk lamp base, the desk lamp bracket, the lampshade, and the lamp tube are connected in sequence. The device is placed on the front surface of the desk lamp bracket, below the lampshade. When the user approaches the desk lamp, the desk lamp is automatically turned on, and when the user stays away without using the desk lamp, the desk lamp is automatically turned off. It not only saves electric energy, but also ensures the safety of electricity consumption of the desk lamp.
Description
技术领域technical field
本实用新型涉及一种照明工具,特别涉及一种台灯。The utility model relates to a lighting tool, in particular to a desk lamp.
背景技术Background technique
台灯是一种照明工具,用来把灯光集中在一小块区域内,集中光线,便于工作和学习。一般台灯用的灯泡是白炽灯或者节能灯泡。有的台灯还有应急功能,用于停电时无电照明已用来应急。台灯通常由台灯底座、台灯支架、灯管、灯罩组成,灯的开关大都设在台灯底座上。只要开启或关闭台灯底座上的开关,即可控制台灯的打开和关闭。但由于人们经常忘记在不使用台灯时随时将其关闭,这不仅造成了电能的浪费,同时由于长时间的开启也会给安全造成隐患。Desk lamp is a kind of lighting tool, is used for concentrating light in a small area, concentrates light, is convenient to work and study. The light bulb that general desk lamp is used is incandescent lamp or energy-saving light bulb. Some desk lamps also have an emergency function, which is used for emergency lighting when there is no electricity. Desk lamp is made up of desk lamp base, desk lamp support, lamp tube, lampshade usually, and the switch of light is mostly located on the desk lamp base. As long as the switch on the base of the desk lamp is turned on or off, the console lamp can be turned on and off. But because people often forget to turn it off at any time when not using the desk lamp, this not only causes the waste of electric energy, also can cause hidden danger to safety because of opening for a long time simultaneously.
发明内容Contents of the invention
本实用新型的目的是提供一种节能台灯,等使用者靠近时,也就是使用台灯时,台灯会自动开启,当使用者不使用台灯而远离时,台灯自动关闭。The purpose of the utility model is to provide an energy-saving desk lamp. When the user approaches, that is, when using the desk lamp, the desk lamp will be automatically turned on, and when the user does not use the desk lamp and stays away, the desk lamp will be automatically turned off.
一种节能台灯,包括台灯底座、开关、台灯支架、灯管、灯罩,台灯底座、台灯支架、灯罩、灯管依次连接,开关置于台灯底座的上表面,该节能台灯还包括红外感应器,红外感应器置于台灯支架前表面,在灯罩的下方。An energy-saving desk lamp, comprising a desk lamp base, a switch, a desk lamp bracket, a lamp tube, and a lamp shade; the desk lamp base, the desk lamp bracket, the lamp shade, and the lamp tube are connected in sequence; The infrared sensor is placed on the front surface of the desk lamp bracket, below the lampshade.
该节能台灯,不仅具有普通台灯的照明功能,还具有节能的功效。当使用者靠近台灯时,台灯自动开启,当使用者不使用台灯而远离时,台灯自动关闭。不仅节约了电能,也保证了台灯的用电安全。The energy-saving desk lamp not only has the lighting function of the common desk lamp, but also has the effect of saving energy. When the user approaches the desk lamp, the desk lamp is automatically turned on, and when the user stays away without using the desk lamp, the desk lamp is automatically turned off. It not only saves electric energy, but also ensures the safety of electricity consumption of the desk lamp.
附图说明Description of drawings
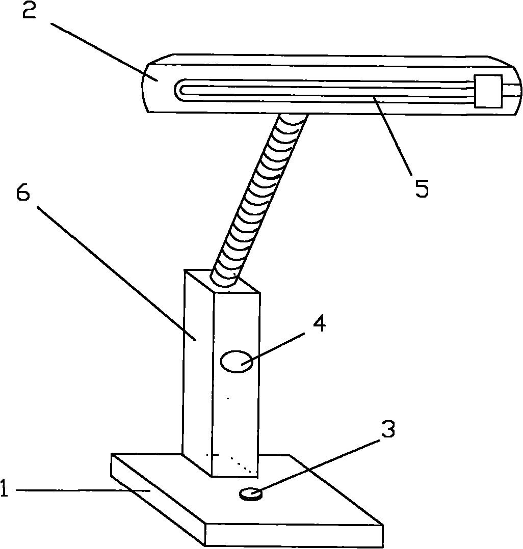
图1为结构示意图Figure 1 is a schematic diagram of the structure
1——台灯底座1——Desk lamp base
2——灯罩2 - lampshade
3——开关3 - switch
4——红外感应器4——Infrared sensor
5——灯管5 - light tube
6——台灯支架6——Desk lamp bracket
具体实施方式Detailed ways
如图1所示。节能台灯包括台灯底座、开关、台灯支架、灯管、灯罩,台灯底座、台灯支架、灯罩、灯管依次连接,开关置于台灯底座的上表面,该节能台灯还包括红外感应器,红外感应器置于台灯支架前表面,在灯罩的下方。当使用者靠近台灯时,台灯自动开启,当使用者不使用台灯而远离时,台灯自动关闭。不仅节约了电能,也保证了台灯的用电安全。As shown in Figure 1. The energy-saving desk lamp includes a desk lamp base, a switch, a desk lamp bracket, a lamp tube, and a lampshade. The desk lamp base, the desk lamp bracket, the lampshade, and the lamp tube are connected in sequence. Place it on the front surface of the desk lamp bracket, under the lampshade. When the user approaches the desk lamp, the desk lamp is automatically turned on, and when the user stays away without using the desk lamp, the desk lamp is automatically turned off. It not only saves electric energy, but also ensures the safety of electricity consumption of the desk lamp.
尽管本实用新型在这里结合特定的实施例进行了具体描述,但可以理解的是这是例证而不是限制,在不脱离附带权利要求所限定的本发明的精神的前提下,在前文所公开的和附图的范围内,合理的变化和修正都是可能的。Although the utility model has been specifically described in conjunction with specific embodiments here, it should be understood that this is an illustration rather than a limitation. On the premise of not departing from the spirit of the invention defined by the appended claims, the foregoing disclosure Reasonable variations and modifications are possible within the scope of and drawings.
Claims (1)
Priority Applications (1)
| Application Number | Priority Date | Filing Date | Title |
|---|---|---|---|
| CN2010201845924U CN201672362U (en) | 2010-05-11 | 2010-05-11 | An energy-saving table lamp |
Applications Claiming Priority (1)
| Application Number | Priority Date | Filing Date | Title |
|---|---|---|---|
| CN2010201845924U CN201672362U (en) | 2010-05-11 | 2010-05-11 | An energy-saving table lamp |
Publications (1)
| Publication Number | Publication Date |
|---|---|
| CN201672362U true CN201672362U (en) | 2010-12-15 |
Family
ID=43329774
Family Applications (1)
| Application Number | Title | Priority Date | Filing Date |
|---|---|---|---|
| CN2010201845924U Expired - Fee Related CN201672362U (en) | 2010-05-11 | 2010-05-11 | An energy-saving table lamp |
Country Status (1)
| Country | Link |
|---|---|
| CN (1) | CN201672362U (en) |
Cited By (1)
| Publication number | Priority date | Publication date | Assignee | Title |
|---|---|---|---|---|
| CN106713560A (en) * | 2017-01-24 | 2017-05-24 | 青岛工学院 | Convenient mobile phone charging support with lighting function |
-
2010
- 2010-05-11 CN CN2010201845924U patent/CN201672362U/en not_active Expired - Fee Related
Cited By (1)
| Publication number | Priority date | Publication date | Assignee | Title |
|---|---|---|---|---|
| CN106713560A (en) * | 2017-01-24 | 2017-05-24 | 青岛工学院 | Convenient mobile phone charging support with lighting function |
Similar Documents
| Publication | Publication Date | Title |
|---|---|---|
| CN201672362U (en) | An energy-saving table lamp | |
| CN202118628U (en) | Timing and voice control LED (light-emitting diode) lamp | |
| CN204227166U (en) | New LED floor lamp | |
| CN202955559U (en) | multi-function desk lamp | |
| CN202915151U (en) | Desk lamp with adjustable angle | |
| CN201672494U (en) | A desk lamp capable of killing mosquitoes | |
| CN201407575Y (en) | Suction-type illumination lamp | |
| CN201875527U (en) | LED desk lamp capable of being timed | |
| CN207407189U (en) | A kind of intelligent illumination device for office furniture | |
| CN105805630B (en) | An energy-saving table lamp | |
| CN205447351U (en) | collapsible lamps | |
| CN204879952U (en) | Plastics lampshade with aerial detection function | |
| CN202327989U (en) | Dual-purpose illuminating lamp | |
| CN202675039U (en) | Infrared induction lamp | |
| CN203240464U (en) | Table lamp with induction device | |
| CN202791376U (en) | Convenient lamp | |
| CN201437953U (en) | A kind of anti-theft alarm lamp | |
| CN202598277U (en) | Intelligent table lamp | |
| CN202148862U (en) | Movable ladder with illumination function | |
| CN202708787U (en) | Induction type energy-saving lamp | |
| CN202660362U (en) | Energy-saving desk lamp | |
| CN202140946U (en) | Voice-activated sensor light | |
| CN203757524U (en) | Spot lamp of welcome for guests | |
| CN204554432U (en) | A kind of novel green energy-saving lighting lamp | |
| CN202501424U (en) | A voice-activated night light |
Legal Events
| Date | Code | Title | Description |
|---|---|---|---|
| C14 | Grant of patent or utility model | ||
| GR01 | Patent grant | ||
| C17 | Cessation of patent right | ||
| CF01 | Termination of patent right due to non-payment of annual fee |
Granted publication date: 20101215 Termination date: 20110511 |
