CN201661788U - Pipeline connecting device among air-conditioning components - Google Patents
Pipeline connecting device among air-conditioning components Download PDFInfo
- Publication number
- CN201661788U CN201661788U CN2009200314249U CN200920031424U CN201661788U CN 201661788 U CN201661788 U CN 201661788U CN 2009200314249 U CN2009200314249 U CN 2009200314249U CN 200920031424 U CN200920031424 U CN 200920031424U CN 201661788 U CN201661788 U CN 201661788U
- Authority
- CN
- China
- Prior art keywords
- connecting tube
- connecting pipe
- air
- air supply
- supply rate
- Prior art date
- Legal status (The legal status is an assumption and is not a legal conclusion. Google has not performed a legal analysis and makes no representation as to the accuracy of the status listed.)
- Expired - Fee Related
Links
- 238000004378 air conditioning Methods 0.000 title abstract 6
- 230000007704 transition Effects 0.000 claims description 19
- 239000000463 material Substances 0.000 abstract description 13
- 229910000831 Steel Inorganic materials 0.000 abstract description 9
- 229910052782 aluminium Inorganic materials 0.000 abstract description 9
- XAGFODPZIPBFFR-UHFFFAOYSA-N aluminium Chemical compound [Al] XAGFODPZIPBFFR-UHFFFAOYSA-N 0.000 abstract description 9
- 239000010959 steel Substances 0.000 abstract description 9
- 238000007789 sealing Methods 0.000 abstract description 7
- 238000004519 manufacturing process Methods 0.000 abstract description 6
- 229910052751 metal Inorganic materials 0.000 abstract description 6
- 239000002184 metal Substances 0.000 abstract description 6
- 238000003466 welding Methods 0.000 abstract 1
- 239000004411 aluminium Substances 0.000 description 8
- RYGMFSIKBFXOCR-UHFFFAOYSA-N Copper Chemical compound [Cu] RYGMFSIKBFXOCR-UHFFFAOYSA-N 0.000 description 2
- 229910052802 copper Inorganic materials 0.000 description 2
- 239000010949 copper Substances 0.000 description 2
- 230000009286 beneficial effect Effects 0.000 description 1
- 238000000034 method Methods 0.000 description 1
Images
Landscapes
- Joints With Pressure Members (AREA)
Abstract
The utility model discloses a pipeline connecting device among air-conditioning components, which relates to an air conditioner. The air conditioner is provided with a transitional connecting pipe corresponding to a conical connecting body at the end part of the air-conditioning component; a conical connecting port is arranged at one end of the transitional connecting pipe; the air-conditioning component and the transitional connecting pipe are provided with clamp nuts; a radial sealing joint is arranged at the other end of the transitional connecting pipe; a connecting pipe among components is spliced in the radial sealing joint; a sealing ring is radially arranged between the radial sealing joint and the connecting pipe among the components; a fastening seat is arranged on the connecting pipe among the components; the connecting pipe is provided with a clamp nut through the fastening seat and the radial sealing joint of the transitional connecting pipe; the connecting pipe among the components can use an aluminum pipe or a steel tube made of material different from that of the air-conditioning component, so that the manufacturing cost is low; and in addition, a dissimilar metal connecting pipe is free from being connected at the end part of the component by welding. The utility model has the advantages of simple operation, time saving, labor saving, low cost and suitability for the connection of pipelines among the air-conditioning components.
Description
Technical field
The present invention relates to air conditioner, is pipeline connecting device between a kind of air supply rate specifically.
Background technique
We know, pipeline connecting device between existing air supply rate, be to be provided with the taper connection body in the air supply rate end, connecting tube end is provided with the taper connection mouth between corresponding parts with it, connecting tube is provided with tightening nut between air supply rate and parts, and tightening nut is fastened on the taper connection mouth of connecting tube end between parts on the taper connection body of air supply rate end.Pipeline connecting device between this air supply rate, because the air supply rate end is provided with the taper connection body, connecting tube end is provided with the taper connection mouth between corresponding parts with it, tightening nut is fastened on the taper connection mouth of connecting tube end between parts on the taper connection body of air supply rate end, the taper connection body of the taper connection mouth of connecting tube end and air supply rate end cooperatively interacts and realizes sealing between parts, connecting tube must use the copper material pipe identical with the air supply rate material, manufacture cost height between parts; When connecting tube uses aluminium pipe different with the air supply rate material or steel pipe between parts, need be at ends by being welded to connect the dissimilar metal connecting tube, complicated operation, time-consuming taking a lot of work, cost height.
Summary of the invention
The technical problem that the present invention solves is that connecting tube must use the copper material pipe identical with the air supply rate material, manufacture cost height between the solution parts; When connecting tube uses aluminium pipe different with the air supply rate material or steel pipe between parts, need be at ends by being welded to connect the dissimilar metal connecting tube, complicated operation, time-consuming taking a lot of work, the problem that cost is high, provide that connecting tube can use aluminium pipe different with the air supply rate material or steel pipe, low cost of manufacture between a kind of parts; When using aluminium pipe different or steel pipe with the air supply rate material, need be at ends by being welded to connect the dissimilar metal connecting tube, simple to operate, time and labour saving, pipeline connecting device between the low air supply rate of cost.
Technological scheme of the present invention is, be provided with the transition connecting tube, corresponding with the taper connection body of air supply rate end, transition connecting tube one end is provided with the taper connection mouth, air supply rate and transition connecting tube are provided with tightening nut, the main structure characteristics are, the transition connecting tube the other end is provided with the radial seal joint, connecting tube between plug component in the radial seal joint, radially be provided with seal ring between radial seal joint and parts between the connecting tube, connecting tube is provided with fastening seat between parts, and the radial seal joint of connecting tube on fastening seat and transition connecting tube is provided with tightening nut between parts.
The invention has the beneficial effects as follows, because the transition connecting tube the other end is provided with the radial seal joint, connecting tube between plug component in the radial seal joint, radially be provided with seal ring between radial seal joint and parts between the connecting tube, connecting tube is provided with fastening seat between parts, the radial seal joint of connecting tube on fastening seat and transition connecting tube is provided with tightening nut between parts, realized that the radial compliance between joint is tightly connected, connecting tube can use aluminium pipe different with the air supply rate material or steel pipe, low cost of manufacture between parts; When using aluminium pipe different or steel pipe with the air supply rate material, need be at ends by being welded to connect the dissimilar metal connecting tube, simple to operate, the time and labour saving, cost is low.The present invention is applicable to that pipeline connects between air supply rate.
Description of drawings
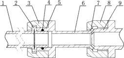
Fig. 1 is a kind of structural representation of the present invention, also is a kind of embodiment's schematic representation;
Fig. 2 is another structural representation of the present invention, also is a kind of embodiment's schematic representation.
Embodiment
Pipeline connecting device between air supply rate as shown in Figure 1, be provided with transition connecting tube 6, corresponding with the taper connection body 9 of air supply rate end, transition connecting tube 6 one ends are provided with taper connection mouth 7, air supply rate and transition connecting tube 6 are provided with tightening nut 8, tightening nut 8 is fastened on the taper connection mouth 7 of transition connecting tube 6 ends on the taper connection body 9 of air supply rate end, and the taper connection mouth 7 of transition connecting tube 6 ends cooperatively interacts with the taper connection body 9 of air supply rate end and realizes sealing.Transition connecting tube 6 the other ends are provided with radial seal joint 5, connecting tube 1 between plug component radially is provided with seal ring 4, as can be seen from the figure in the radial seal joint 5 between the connecting tube 1 between radial seal joint 5 and parts, connecting tube 1 is provided with groove between parts, is provided with seal ring 4 in the groove.Connecting tube 1 is provided with fastening seat 2 between parts, and the radial seal joint 5 of connecting tube 1 on fastening seat 2 and transition connecting tube 6 is provided with tightening nut 3 between parts, and tightening nut 3 is fastened on connecting tube between parts 1 on the radial seal joint 5 through fastening seat 2.Realized that the radial compliance between joint is tightly connected, connecting tube 1 can use aluminium pipe different with the air supply rate material or steel pipe, low cost of manufacture between parts; When using aluminium pipe different or steel pipe with the air supply rate material, need be at ends by being welded to connect the dissimilar metal connecting tube, simple to operate, the time and labour saving, cost is low.
Pipeline connecting device between air supply rate as shown in Figure 2 radially is provided with seal ring 4, as can be seen from the figure between the connecting tube 1 between radial seal joint 5 and parts, radial seal joint 5 is provided with groove, be provided with seal ring 4 in the groove, other structures are identical with embodiment 1, repeat no more.
Claims (3)
1. pipeline connecting device between an air supply rate, be provided with the transition connecting tube, corresponding with the taper connection body of air supply rate end, transition connecting tube one end is provided with the taper connection mouth, air supply rate and transition connecting tube are provided with tightening nut, it is characterized in that: the transition connecting tube the other end is provided with the radial seal joint, connecting tube between plug component in the radial seal joint, radially be provided with seal ring between radial seal joint and parts between the connecting tube, connecting tube is provided with fastening seat between parts, and the radial seal joint of connecting tube on fastening seat and transition connecting tube is provided with tightening nut between parts.
2. pipeline connecting device between air supply rate as claimed in claim 1 is characterized in that: connecting tube is provided with groove between said parts, is provided with seal ring in the groove.
3. pipeline connecting device between air supply rate as claimed in claim 1 is characterized in that: said radial seal joint is provided with groove, is provided with seal ring in the groove.
Priority Applications (1)
| Application Number | Priority Date | Filing Date | Title |
|---|---|---|---|
| CN2009200314249U CN201661788U (en) | 2009-08-06 | 2009-08-06 | Pipeline connecting device among air-conditioning components |
Applications Claiming Priority (1)
| Application Number | Priority Date | Filing Date | Title |
|---|---|---|---|
| CN2009200314249U CN201661788U (en) | 2009-08-06 | 2009-08-06 | Pipeline connecting device among air-conditioning components |
Publications (1)
| Publication Number | Publication Date |
|---|---|
| CN201661788U true CN201661788U (en) | 2010-12-01 |
Family
ID=43232203
Family Applications (1)
| Application Number | Title | Priority Date | Filing Date |
|---|---|---|---|
| CN2009200314249U Expired - Fee Related CN201661788U (en) | 2009-08-06 | 2009-08-06 | Pipeline connecting device among air-conditioning components |
Country Status (1)
| Country | Link |
|---|---|
| CN (1) | CN201661788U (en) |
Cited By (3)
| Publication number | Priority date | Publication date | Assignee | Title |
|---|---|---|---|---|
| CN107504303A (en) * | 2017-09-19 | 2017-12-22 | 广东美的制冷设备有限公司 | Air-conditioning duct attachment structure and air conditioner |
| CN107588244A (en) * | 2016-07-06 | 2018-01-16 | 科普瑞(天津)厨房设备有限公司 | draining and sealing structure |
| CN109882670A (en) * | 2019-03-27 | 2019-06-14 | 浙江华格供应链服务有限公司永康分公司 | A kind of pipe fitting joint structure on automobile refrigeration system |
-
2009
- 2009-08-06 CN CN2009200314249U patent/CN201661788U/en not_active Expired - Fee Related
Cited By (3)
| Publication number | Priority date | Publication date | Assignee | Title |
|---|---|---|---|---|
| CN107588244A (en) * | 2016-07-06 | 2018-01-16 | 科普瑞(天津)厨房设备有限公司 | draining and sealing structure |
| CN107504303A (en) * | 2017-09-19 | 2017-12-22 | 广东美的制冷设备有限公司 | Air-conditioning duct attachment structure and air conditioner |
| CN109882670A (en) * | 2019-03-27 | 2019-06-14 | 浙江华格供应链服务有限公司永康分公司 | A kind of pipe fitting joint structure on automobile refrigeration system |
Similar Documents
| Publication | Publication Date | Title |
|---|---|---|
| CN201439979U (en) | Air conditioner pipe | |
| CN201661788U (en) | Pipeline connecting device among air-conditioning components | |
| CN204163819U (en) | Exhaust pipe connection structure and there is the automobile exhaust pipe assembly of this structure | |
| CN105889663A (en) | Air conditioner part-to-part pipeline connecting device | |
| CN203686423U (en) | Sealed type straight pipe barb fitting | |
| CN203052018U (en) | Metal tube connection kit | |
| CN202171073U (en) | Oil tube interface structure | |
| CN201526751U (en) | External thread connector of automobile air-conditioner pipe | |
| CN201193901Y (en) | Splice pip for air-conditioner | |
| CN202708399U (en) | Triangular flange used for pipeline | |
| CN201443662U (en) | Quick pipeline connecting device | |
| CN203010067U (en) | Gas transport pipe system | |
| CN202580377U (en) | Corrugated pipe connector | |
| CN202691403U (en) | Branch pipe connector of pipeline | |
| CN202612912U (en) | Pipeline connecting device | |
| CN206093263U (en) | Separation and reunion pipeline connecting structure | |
| CN201925647U (en) | Multi-way joint | |
| CN203628055U (en) | Engine supercharger exhaust pipe | |
| CN204430036U (en) | A kind of novel copper pipe expanding device | |
| CN202188244U (en) | Straight pipe adapter | |
| CN203147104U (en) | Quick breakpoint pipe joint for oil pipe | |
| CN201318519Y (en) | Connecting device for reducing metal tube | |
| CN202432157U (en) | Quick coupling of enhanced flexible transfusion pipeline | |
| CN202360972U (en) | Connecting device of self-excitation sealing and locking pipeline | |
| CN202811005U (en) | Sealing structure for oil scale casing on exhaust side of engine |
Legal Events
| Date | Code | Title | Description |
|---|---|---|---|
| C14 | Grant of patent or utility model | ||
| GR01 | Patent grant | ||
| CF01 | Termination of patent right due to non-payment of annual fee |
Granted publication date: 20101201 Termination date: 20150806 |
|
| EXPY | Termination of patent right or utility model |