CN201657580U - Parallel-flow heat-matching air supplying device of IDC cabinet - Google Patents
Parallel-flow heat-matching air supplying device of IDC cabinet Download PDFInfo
- Publication number
- CN201657580U CN201657580U CN2010201393132U CN201020139313U CN201657580U CN 201657580 U CN201657580 U CN 201657580U CN 2010201393132 U CN2010201393132 U CN 2010201393132U CN 201020139313 U CN201020139313 U CN 201020139313U CN 201657580 U CN201657580 U CN 201657580U
- Authority
- CN
- China
- Prior art keywords
- air supply
- air
- cabinet
- idc cabinet
- idc
- Prior art date
- Legal status (The legal status is an assumption and is not a legal conclusion. Google has not performed a legal analysis and makes no representation as to the accuracy of the status listed.)
- Expired - Fee Related
Links
- 230000003068 static effect Effects 0.000 claims abstract description 15
- 238000001816 cooling Methods 0.000 abstract description 12
- 230000017525 heat dissipation Effects 0.000 abstract description 11
- 238000013021 overheating Methods 0.000 abstract description 5
- 239000010410 layer Substances 0.000 description 17
- 238000000034 method Methods 0.000 description 5
- 238000005265 energy consumption Methods 0.000 description 3
- 238000004378 air conditioning Methods 0.000 description 2
- 230000009286 beneficial effect Effects 0.000 description 2
- 230000007423 decrease Effects 0.000 description 1
- 230000000694 effects Effects 0.000 description 1
- 238000010438 heat treatment Methods 0.000 description 1
- 238000009434 installation Methods 0.000 description 1
- 239000011229 interlayer Substances 0.000 description 1
Images
Landscapes
- Cooling Or The Like Of Electrical Apparatus (AREA)
Abstract
本实用新型涉及一种IDC机柜平行流热匹配送风装置,在IDC机柜前门位置处连接一个前置静压箱,在静压箱底面开设下送风口,在静压箱与IDC机柜连接处安装有两块平行的左垂直平板和右垂直平板,在左垂直平板和右垂直平板之间面向各层服务器开设有流动通道,在流动通道的左端安装有对开风阀,在流动通道的右端安装有水平百叶风口。该装置能实现各层送风量的控制并水平送风,达到各层冷风所提供冷量与各层服务器应带走的散热量准确匹配,从而解决机柜中某些层服务器过热而导致超温报警的故障。
The utility model relates to a parallel flow heat matching air supply device for an IDC cabinet. A front static pressure box is connected at the front door of the IDC cabinet, and a lower air supply port is opened on the bottom surface of the static pressure box, and is installed at the joint between the static pressure box and the IDC cabinet. There are two parallel left vertical flat plates and right vertical flat plates, between the left vertical flat plate and the right vertical flat plate, there are flow passages facing the servers on each floor, a split air valve is installed at the left end of the flow passage, and an air valve is installed at the right end of the flow passage. There are horizontal louver air outlets. The device can realize the control of the air supply volume of each layer and the horizontal air supply, so that the cooling capacity provided by the cold air on each layer can accurately match the heat dissipation that should be taken away by the servers on each layer, thus solving the problem of overheating caused by overheating of servers on some layers in the cabinet Alarm failure.
Description
技术领域technical field
本实用新型涉及一种空调工程技术领域的实用装置,尤其涉及一种IDC机柜平行流热匹配送风装置。The utility model relates to a practical device in the technical field of air-conditioning engineering, in particular to a parallel flow heat matching air supply device for an IDC cabinet.
背景技术Background technique
IDC机柜是用于放置用户服务器设备的机柜,各服务器是平放在机柜中内设的竖向均匀布置支架上,工作时服务器是发热体,需要散热降温以保证其安全可靠运行。目前,降温送风方式有两种:第一,上送风方式,冷风从房间上部风口送出,气流穿越上部空间后到达机柜前门,由于机柜的前后门均开孔,送风气流便从前门孔流入、再流经各层服务器散热表面、最后从后门孔流出,把服务器热量带走;第二,下送风方式,冷风从房间夹层地板送风口送出,气流直接送至机柜前门,然后同上送风方式一样,冷风流经服务器散热表面把其热量带走,而且下送风由于冷风不穿越上部非工作区空间,因此比上送风节能。然而,这两种送风方式,由于送至机柜前门的冷风没有风量的再分配装置,即属于机柜内部空间无组织送风,因此无法实现机柜中各层服务器散热量与流经它的冷风量的准确匹配,引起某些层服务器过热而导致超温报警,影响服务器正常工作。The IDC cabinet is a cabinet used to place user server equipment. Each server is placed flat on the vertically evenly arranged brackets in the cabinet. When working, the server is a heating body and needs to be cooled to ensure its safe and reliable operation. At present, there are two cooling air supply methods: first, the upward air supply method, the cold air is sent from the upper air outlet of the room, and the air flow passes through the upper space and reaches the front door of the cabinet. Inflow, then flow through the heat dissipation surface of each layer of servers, and finally flow out from the back door hole to take away the heat of the server; second, the downward air supply mode, the cold air is sent from the air outlet on the mezzanine floor of the room, and the air flow is directly sent to the front door of the cabinet, and then sent to the cabinet as above. The wind mode is the same, the cold air flows through the heat dissipation surface of the server to take away its heat, and the down-flow air is more energy-efficient than the up-flow air because the cold air does not pass through the upper non-working area space. However, for these two air supply methods, since the cold air sent to the front door of the cabinet has no air volume redistribution device, that is, it belongs to the unorganized air supply in the internal space of the cabinet, so it is impossible to realize the heat dissipation of the servers in each layer of the cabinet and the cooling air flow through it. The exact matching of the server will cause some layers of servers to overheat and cause an over-temperature alarm, which will affect the normal operation of the server.
发明内容Contents of the invention
本实用新型所要解决的技术问题是:提供一种IDC机柜平行流热匹配送风装置,该装置能实现各层送风量的控制并水平送风,达到各层冷风所提供冷量与各层服务器应带走的散热量准确匹配,从而解决机柜中某些层服务器过热而导致超温报警的故障。The technical problem to be solved by the utility model is: to provide a parallel-flow heat matching air supply device for IDC cabinets, which can realize the control of the air supply volume of each layer and horizontal air supply, so as to achieve the cooling capacity provided by the cold air of each layer and that of each layer. The heat dissipation that the server should take away is accurately matched, so as to solve the problem of overheating of the server in some layers of the cabinet and cause an over-temperature alarm.
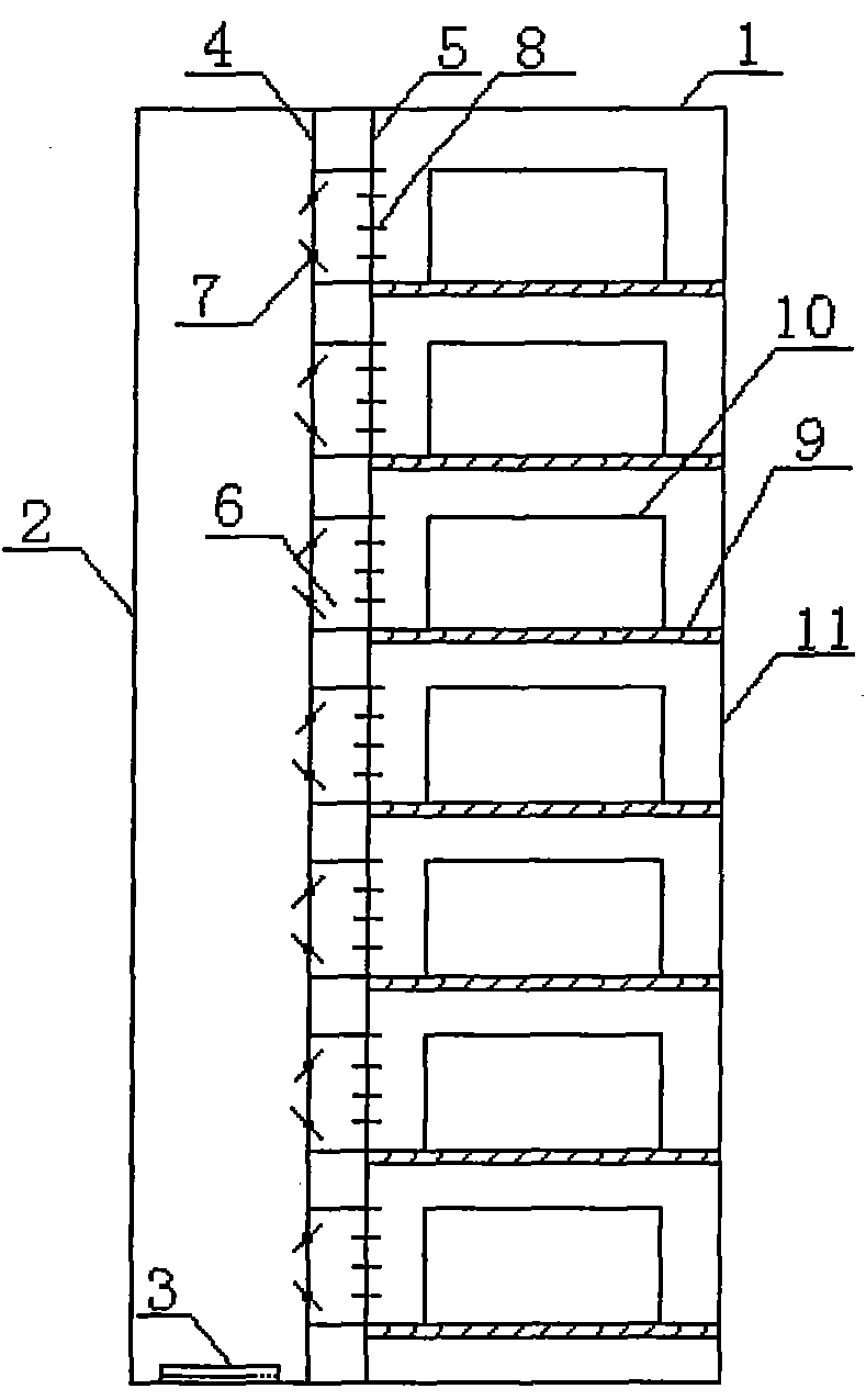
为解决上述技术问题,本实用新型技术方案是:它包括IDC机柜(1),在所述IDC机柜(1)被取掉前门后连接前置静压箱(2),在所述前置静压箱(2)内设有平行的左垂直平板(4)和右垂直平板(5)。In order to solve the above-mentioned technical problems, the technical solution of the utility model is: it includes an IDC cabinet (1), and after the front door of the IDC cabinet (1) is removed, a front static pressure box (2) is connected, and the front static pressure box (2) The pressure box (2) is provided with parallel left vertical flat plates (4) and right vertical flat plates (5).
在所述左垂直平板(4)和右垂直平板(5)之间面向各层服务器开设相应的流动通道(6)。Corresponding flow passages (6) are opened between the left vertical flat plate (4) and the right vertical flat plate (5) facing each layer of servers.
在所述流动通道(6)左端固定有对开风阀(7),在所述流动通道(6)右端固定有水平百叶风口(8)。A split air valve (7) is fixed at the left end of the flow channel (6), and a horizontal louver air port (8) is fixed at the right end of the flow channel (6).
所述前置静压箱(2)的底面开设有下送风口(3)。The bottom surface of the front static pressure box (2) is provided with a lower air supply port (3).
本实用新型的有益效果是:The beneficial effects of the utility model are:
该装置安装使用后有益的效果是:第一,供冷量与散热量匹配,避免超温报警发生。来自房间地面夹层下送风管的冷风,由前置静压箱底部的下送风口进入静压箱,空气流流动截面积增大,空气流速降低,动压转换成静压,有利地保证了各层服务器前端的空气静压基本相等,为各层服务器通道的有组织均匀送风创造了条件。当各层服务器散热量相同时,对开风阀保持全开状态,来自静压箱中的冷风通过两平行板上开设的通道流经全开风阀和水平百叶送风口,实现各服务器层的平行流均匀送风,并用选定的送风温差送风,从而获得各层的冷风的供冷量与各层服务器散热量的准确匹配,避免个别服务器过热而导致的超温报警现象发生;当各层之间服务器电子元器件的散热量不同时,只需通过调节对开风阀的阀叶开度,改变送风量,同样可以到达各层所需供冷量与所需带走的散热量匹配,避免超温报警现象发生。第二,局部有组织送风,避免了过低的送风温度,减少了冷机能耗。原IDC机柜各层服务器散热降温送风,属于局部的无组织送风,由于各层服务器通道冷风流量的无组织或不可控,为要保证最不利的服务器层不能过热,就必须降低送风温度,从而导致空调系统整个送风温差必须降低,因此冷机能耗增大。采用该装置后,即实现了局部的有组织送风,各层冷量可以按需所供,从而减少了冷机能耗,获得了节能效果。The beneficial effects after installation and use of the device are as follows: first, the cooling capacity matches the heat dissipation capacity, so as to avoid the occurrence of an over-temperature alarm. The cold air from the down-supply pipe on the ground interlayer of the room enters the plenum through the down-supply port at the bottom of the pre-static plenum, the cross-sectional area of the air flow increases, the air velocity decreases, and the dynamic pressure is converted into static pressure, which advantageously ensures The air static pressure at the front end of the servers on each floor is basically equal, which creates conditions for the organized and uniform air supply of the server channels on each floor. When the heat dissipation of the servers on each floor is the same, the half-open air valves are kept fully open, and the cold air from the static pressure box flows through the fully open air valves and the horizontal louver air supply ports through the channels opened on the two parallel plates to realize the air distribution of each server floor. Parallel air supply air evenly, and use the selected air supply temperature difference to supply air, so as to obtain an accurate match between the cooling capacity of the cold air on each floor and the heat dissipation of the servers on each floor, and avoid the occurrence of over-temperature alarms caused by overheating of individual servers; When the heat dissipation of the electronic components of the server is different between the layers, it is only necessary to adjust the opening of the valve leaf of the split air valve to change the air supply volume, and the required cooling capacity and the required heat dissipation of each layer can also be achieved. To avoid the phenomenon of over-temperature alarm. Second, the local organized air supply avoids too low air supply temperature and reduces the energy consumption of the cooling machine. Cooling and cooling of servers on each floor of the original IDC cabinet is a local unorganized air supply. Due to the unorganized or uncontrollable flow of cold air in the server channels of each layer, in order to ensure that the most unfavorable server layer does not overheat, it is necessary to reduce the air supply temperature. , so that the temperature difference of the entire supply air of the air conditioning system must be reduced, so the energy consumption of the chiller increases. After adopting the device, the local organized air supply is realized, and the cooling capacity of each layer can be supplied on demand, thereby reducing the energy consumption of the cooling machine and obtaining an energy-saving effect.
附图说明Description of drawings
图1为本实用新型侧视图;Fig. 1 is a side view of the utility model;
图2为本实用新型俯视图。Fig. 2 is a top view of the utility model.
具体实施方式Detailed ways
针对原IDC机柜1各层服务器无组织送风的状况,本实用新型加装了平行流热匹配送风装置,实现有组织送风,并冷热量匹配,避免个别服务器层过热报警。具体做法是,在取掉IDC机柜前门的位置上,通过边框卡兰连接方式,把前置静压箱2与IDC机柜1紧密连接,前置静压箱2与IDC机柜1连接处侧设有平行的两块垂直左平板4和右平板5,在左平板4和右平板5之间面向各层服务器开设有流动通道6,在流动通道6的左端安装具有调节风量功能的对开风阀7,在流动通道6的右端安装具有均匀水平送风功能的水平百叶送风口8,对开风阀7和水平百叶送风口8的个数与IDC机柜1中服务器层数相等,静压箱底部开有下送风口3。这样,冷风从下送风口3进入前置静压箱2,然后再通过两平行板上开设的通道流经可调风量的对开风阀7和起均流与水平送风作用水平百叶送风口8,有组织将所需冷风送入各层服务器通道,流经放置在服务器托架9上服务器表面10,带走应去除的散热量,吸热后的气流从IDC机柜1的开有均匀小孔的后门11排出,保证服务器在正常的工作环境温度下运行。In view of the disorganized air supply situation of the servers on each layer of the original IDC cabinet 1, the utility model is equipped with a parallel flow heat matching air supply device to realize organized air supply and match cold and heat to avoid overheating alarms on individual server layers. The specific method is to connect the front
Claims (4)
Priority Applications (1)
| Application Number | Priority Date | Filing Date | Title |
|---|---|---|---|
| CN2010201393132U CN201657580U (en) | 2010-03-23 | 2010-03-23 | Parallel-flow heat-matching air supplying device of IDC cabinet |
Applications Claiming Priority (1)
| Application Number | Priority Date | Filing Date | Title |
|---|---|---|---|
| CN2010201393132U CN201657580U (en) | 2010-03-23 | 2010-03-23 | Parallel-flow heat-matching air supplying device of IDC cabinet |
Publications (1)
| Publication Number | Publication Date |
|---|---|
| CN201657580U true CN201657580U (en) | 2010-11-24 |
Family
ID=43122807
Family Applications (1)
| Application Number | Title | Priority Date | Filing Date |
|---|---|---|---|
| CN2010201393132U Expired - Fee Related CN201657580U (en) | 2010-03-23 | 2010-03-23 | Parallel-flow heat-matching air supplying device of IDC cabinet |
Country Status (1)
| Country | Link |
|---|---|
| CN (1) | CN201657580U (en) |
Cited By (11)
| Publication number | Priority date | Publication date | Assignee | Title |
|---|---|---|---|---|
| CN102541222A (en) * | 2010-12-31 | 2012-07-04 | 鸿富锦精密工业(深圳)有限公司 | Rack-mounted server system |
| CN102711420A (en) * | 2012-06-15 | 2012-10-03 | 罗积源 | Vertical homeothermy IT (Information Technology) cabinet |
| CN102946705A (en) * | 2012-08-31 | 2013-02-27 | 南京佳盛机电器材制造有限公司 | Novel IDC cabinet |
| CN103037665A (en) * | 2011-09-29 | 2013-04-10 | 华为技术有限公司 | Electronic device cooling system with auxiliary cooling device |
| CN103052301A (en) * | 2011-10-13 | 2013-04-17 | 鸿富锦精密工业(深圳)有限公司 | Heat radiating device and air cabinet applying same |
| CN108882658A (en) * | 2018-09-07 | 2018-11-23 | 中南大学 | The server cabinet cooling system that immersion liquid cooling and circulating air cooling combine |
| CN109661158A (en) * | 2019-02-11 | 2019-04-19 | 广州大学 | Data center machine room new exclusive air-conditioning system |
| CN109661159A (en) * | 2019-02-11 | 2019-04-19 | 广州大学 | The dedicated orifice static pressure air-supply cabinet of data center machine room |
| CN109963444A (en) * | 2019-04-08 | 2019-07-02 | 突破电气(天津)有限公司 | Server level cabinet intelligent air supply system and control method |
| CN110536594A (en) * | 2019-10-12 | 2019-12-03 | 中天宽带技术有限公司 | A kind of accurate air-feeding network cabinet of front and back layer-stepping |
| CN114144018A (en) * | 2020-09-04 | 2022-03-04 | 百度(美国)有限责任公司 | System and method for managing airflow in a data center |
-
2010
- 2010-03-23 CN CN2010201393132U patent/CN201657580U/en not_active Expired - Fee Related
Cited By (14)
| Publication number | Priority date | Publication date | Assignee | Title |
|---|---|---|---|---|
| CN102541222A (en) * | 2010-12-31 | 2012-07-04 | 鸿富锦精密工业(深圳)有限公司 | Rack-mounted server system |
| US9357679B2 (en) | 2011-09-29 | 2016-05-31 | Huawei Technologies Co., Ltd. | Electronic equipment cooling system with auxiliary cooling device |
| CN103037665A (en) * | 2011-09-29 | 2013-04-10 | 华为技术有限公司 | Electronic device cooling system with auxiliary cooling device |
| CN103037665B (en) * | 2011-09-29 | 2015-09-09 | 华为技术有限公司 | A kind of electronic device cooling system with radiator cooler |
| CN103052301A (en) * | 2011-10-13 | 2013-04-17 | 鸿富锦精密工业(深圳)有限公司 | Heat radiating device and air cabinet applying same |
| CN102711420A (en) * | 2012-06-15 | 2012-10-03 | 罗积源 | Vertical homeothermy IT (Information Technology) cabinet |
| CN102946705A (en) * | 2012-08-31 | 2013-02-27 | 南京佳盛机电器材制造有限公司 | Novel IDC cabinet |
| CN108882658A (en) * | 2018-09-07 | 2018-11-23 | 中南大学 | The server cabinet cooling system that immersion liquid cooling and circulating air cooling combine |
| CN108882658B (en) * | 2018-09-07 | 2024-05-24 | 中南大学 | Server cabinet cooling system combining immersion liquid cooling and circulating air cooling |
| CN109661158A (en) * | 2019-02-11 | 2019-04-19 | 广州大学 | Data center machine room new exclusive air-conditioning system |
| CN109661159A (en) * | 2019-02-11 | 2019-04-19 | 广州大学 | The dedicated orifice static pressure air-supply cabinet of data center machine room |
| CN109963444A (en) * | 2019-04-08 | 2019-07-02 | 突破电气(天津)有限公司 | Server level cabinet intelligent air supply system and control method |
| CN110536594A (en) * | 2019-10-12 | 2019-12-03 | 中天宽带技术有限公司 | A kind of accurate air-feeding network cabinet of front and back layer-stepping |
| CN114144018A (en) * | 2020-09-04 | 2022-03-04 | 百度(美国)有限责任公司 | System and method for managing airflow in a data center |
Similar Documents
| Publication | Publication Date | Title |
|---|---|---|
| CN201657580U (en) | Parallel-flow heat-matching air supplying device of IDC cabinet | |
| CN101790300B (en) | Data center machine room cooling system featuring cool air distribution according to needs | |
| CN102883587A (en) | Controllable energy-saving heat dissipation system for communication room servers | |
| CN204665544U (en) | The multi-joint hot-pipe system of a kind of machine room water-cooling | |
| CN204987314U (en) | A natural ventilation assisted heat exchange container data center | |
| CN104833029A (en) | Data center water-cooling heat pipe cooling system and method | |
| CN101586861A (en) | Heat exchange device and machine cabinet | |
| CN108235652A (en) | For the heat management device and method of computer room | |
| CN208063653U (en) | A kind of Electric Power Automation Equipment heat sink | |
| CN207604121U (en) | Liquid-cooled cabinet, whole machine cabinet and whole machine cabinet server | |
| CN109379883B (en) | Data center cabinet with temperature control devices and vertically arranged servers | |
| CN105228415B (en) | A server cabinet system | |
| CN203661433U (en) | Cabinet with heat exchange temperature control units | |
| CN205079337U (en) | Air conditioner between modularization row | |
| CN205793884U (en) | A kind of quaternity cooling system of data center | |
| CN205987691U (en) | Can independently expand closed integrated passage of heat rack of accurate air supply | |
| CN104075426A (en) | Information computer room environment temperature optimization measures | |
| CN205266107U (en) | Special rack of server that heat dispersion is good | |
| CN204968337U (en) | Air conditioning cabinets and have its server rack system | |
| CN207443335U (en) | A kind of IDC machine room special machine cabinet devices for avoiding hot air reflux | |
| CN203708665U (en) | Partition air supply machine cabinet | |
| CN201700121U (en) | Cabinet and air supply system | |
| CN208016208U (en) | A kind of computer room of the cooling server of grouping | |
| CN205946466U (en) | Heat pipe curb plate rack | |
| CN205249680U (en) | A kind of cooling structure of cabinet |
Legal Events
| Date | Code | Title | Description |
|---|---|---|---|
| C14 | Grant of patent or utility model | ||
| GR01 | Patent grant | ||
| C17 | Cessation of patent right | ||
| CF01 | Termination of patent right due to non-payment of annual fee |
Granted publication date: 20101124 Termination date: 20120323 |
