CN201652257U - Series connection structure of lamp - Google Patents

Series connection structure of lamp Download PDF

Info

Publication number
CN201652257U
CN201652257U CN2010201120440U CN201020112044U CN201652257U CN 201652257 U CN201652257 U CN 201652257U CN 2010201120440 U CN2010201120440 U CN 2010201120440U CN 201020112044 U CN201020112044 U CN 201020112044U CN 201652257 U CN201652257 U CN 201652257U
Authority
CN
China
Prior art keywords
lamp
light fixture
connector
connection structure
series connection
Prior art date
Legal status (The legal status is an assumption and is not a legal conclusion. Google has not performed a legal analysis and makes no representation as to the accuracy of the status listed.)
Expired - Fee Related
Application number
CN2010201120440U
Other languages
Chinese (zh)
Inventor
叶建延
Current Assignee (The listed assignees may be inaccurate. Google has not performed a legal analysis and makes no representation or warranty as to the accuracy of the list.)
Individual
Original Assignee
Individual
Priority date (The priority date is an assumption and is not a legal conclusion. Google has not performed a legal analysis and makes no representation as to the accuracy of the date listed.)
Filing date
Publication date
Application filed by Individual filed Critical Individual
Priority to CN2010201120440U priority Critical patent/CN201652257U/en
Application granted granted Critical
Publication of CN201652257U publication Critical patent/CN201652257U/en
Anticipated expiration legal-status Critical
Expired - Fee Related legal-status Critical Current

Links

Images

Landscapes

  • Arrangement Of Elements, Cooling, Sealing, Or The Like Of Lighting Devices (AREA)

Abstract

本实用新型有关一种灯具串接结构,属于电器类,该灯具设有一基座,且于其两端分别装设灯座,并于灯座内设有导电装置,利用此导电装置可与灯管两端的端子分别呈一电性连接,其中各灯座上分别设有一具连接端口的连接器,利用此连接端口让灯座与灯座之间通过电线串接,因此利用此种组装结构能大幅提高使用的安全性,并且能按照使用需求更易于拆卸。

Figure 201020112044

The utility model relates to a lamp series connection structure, which belongs to the category of electrical appliances. The lamp is provided with a base, and lamp holders are respectively installed at both ends of the lamp. A conductive device is provided in the lamp holder, and the conductive device can be electrically connected to the terminals at both ends of the lamp tube respectively. Each lamp holder is respectively provided with a connector with a connection port, and the lamp holders are connected in series through wires by using the connection port. Therefore, the use safety of this assembly structure can be greatly improved, and it can be more easily disassembled according to the use requirements.

Figure 201020112044

Description

The light fixture series connection structure
Technical field
The utility model relates to electric type, and particularly a kind of light fixture series connection structure refers to a kind of light fixture series connection structure that is easy to change and can increase and decrease on demand fluorescent tube quantity especially.
Background technology
Existing fluorescent lamp, be installed on the ceiling mostly, installing in advance is connected with electric wire on the ceiling Connection Block and circuit board, the user is connected the joint on the fluorescent tube with Connection Block, can use after connecting power line again, with regard to existing daylight lamp apparatus, the user must install Connection Block and circuit board in advance on ceiling, the user can't change the position that fluorescent lamp sets up according to needs at any time, fluorescent tube can only be installed in pre-set position, and because Connection Block and circuit board are to install in advance, so the user can't be because of the difference of brightness demand, and the fluorescent tube that installation number does not wait, if need install fluorescent tube additional, then need to change circuit board and install Connection Block additional, even the whole group of default originally device need be changed, just can install fluorescent tube additional, if need to install additional again fluorescent tube backward, then must change again, its inconvenience is arranged in the use really.In view of the inconvenience of using in the past; the designer designs the velocitron that is easy to dismantle; as shown in Figure 1; be existing fluorescent tube assembling schematic perspective view; in the both ends open of its hollow stent 3 can be respectively in conjunction with the Connection Block 30 of a tool slot 302; 30 of two Connection Blocks can be provided with fluorescent tube 32; and insert for attachment plugs 34 by slot 302 and to form serial connection; therefore the person's of being easy to use assembling and dismounting; and can install in any desired position; and can be according to user's demand; velocitron is connected to the required brightness of user in twos; though this kind structure has solved because of the different problems that can't install fluorescent tube in addition additional of demand; but this kind connected mode can cause contact jaw oxidation short circuit long afterwards in using, or uses and cause overheated burning for a long time, and therefore the measure of generation unprotect causes electric wire to catch fire easily; in addition, if to change Connection Block then must put in order assembling and dismantling unload the replacing so very inconvenient.
The utility model content
The purpose of this utility model is to provide a kind of light fixture series connection structure, solves existing velocitron unprotect measure, uses to have dangerous problem long afterwards, and changes the problem of Connection Block trouble.
A kind of light fixture series connection structure, this light fixture is provided with a pedestal, and install a lamp socket with electric installation respectively in its two ends, and the terminal of lamp tube ends is connected with this electric installation respectively, be respectively equipped with one on each lamp socket and be a connector that electrically connects with this electric installation, and this connector is provided with one and connects electric wire, and be provided with another group lamp socket on the connectivity port that is connected in series mutually of connector.
This connectivity port is provided with a positive polar region, negative pole district and ground wire district;
This connector is provided with a plurality of pressing pieces for control connection port plug electric wire;
This fluorescent tube is the T5 fluorescent tube.
Advantage of the present utility model is: improve the security of using, and can be easier to dismounting, low cost of manufacture according to user demand.
Description of drawings
Fig. 1 is existing fluorescent tube assembling schematic perspective view.
Fig. 2 is the schematic perspective view of the utility model preferred embodiment.
Fig. 3 is the decomposing schematic representation of the utility model preferred embodiment.
Fig. 4 plugs the user mode schematic diagram of electric wire for the utility model.
Fig. 5 connects the user mode schematic diagram of other light fixture for the utility model.
Fig. 6 changes the user mode schematic diagram of new lamp for the utility model.
The specific embodiment
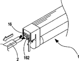
Shown in accompanying drawing 2 and accompanying drawing 3, schematic perspective view and decomposing schematic representation for the utility model preferred embodiment, find out that by knowing among the figure light fixture 1 of the present utility model is provided with a pedestal 10, and install a lamp socket 12 with electric installation 120 respectively in its two ends, and the terminal 140 at fluorescent tube 14 two ends is connected with electric installation 120 respectively, be a connector 16 that electrically connects and be respectively equipped with one on each lamp socket 12 with electric installation 120, and connector 16 is provided with a connectivity port 160, and connector 16 is provided with a plurality of pressing pieces 162 for control connection port one 60 plug electric wires 2 (as accompanying drawing 4) in addition, be thus connected port one 60 for connecting electric wire 2, and be connected in series mutually with another group connector 16 on lamp socket 12, and connectivity port 160 is provided with a positive polar region 1602, negative pole district 1604 and ground wire district 1606.
By above-mentioned structure, form design, be described as follows with regard to use situation of the present utility model, shown in accompanying drawing 4 and accompanying drawing 5, for the utility model plugs the user mode schematic diagram of electric wire and connects the user mode schematic diagram of other lamp socket, at first, impose a downforce at the 16 set pressing pieces 162 of connector on the lamp socket 12, this moment with electric wire 2 just, negative pole inserts the positive polar region 1602 of connectivity port 160 respectively, negative pole district 1604, then decontrol pressing piece 162 again, utilize pressing piece 162 with electric wire 2 fixed positions, then, electric wire 2 other ends are connected on another lamp socket 12 of being connected of group light fixture 1.
As shown in Figure 6, more renew the user mode schematic diagram of lamp socket for the utility model, find out by knowing among the figure, the light fixture 1 that desire is changed is pushed the pressing piece 162 on the connector 16 earlier, this moment, electric wire 2 was released, so replaceable new light fixture 1, when if electric wire 2 burns, then the connector 16 at electric wire 2 two ends can be pressed pressing piece 162 respectively, the also electric wire 2 that electric wire 2 can be unclamped and more renews, therefore utilize this kind package assembly can significantly improve the security of use, and can be easier to dismounting according to user demand.

Claims (4)

1. light fixture series connection structure, this light fixture is provided with a pedestal, and install a lamp socket with electric installation respectively in its two ends, and the terminal of lamp tube ends is connected with this electric installation respectively, it is characterized in that: be respectively equipped with one on each lamp socket and be a connector that electrically connects with this electric installation, and this connector is provided with one and connects electric wire, and be provided with another group lamp socket on the connectivity port that is connected in series mutually of connector.
2. light fixture series connection structure according to claim 1 is characterized in that: this connectivity port is provided with a positive polar region, negative pole district and ground wire district.
3. light fixture series connection structure according to claim 1 is characterized in that: this connector is provided with a plurality of pressing pieces for control connection port plug electric wire.
4. light fixture series connection structure according to claim 1 is characterized in that: this fluorescent tube is the T5 fluorescent tube.
CN2010201120440U 2010-02-11 2010-02-11 Series connection structure of lamp Expired - Fee Related CN201652257U (en)

Priority Applications (1)

Application Number Priority Date Filing Date Title
CN2010201120440U CN201652257U (en) 2010-02-11 2010-02-11 Series connection structure of lamp

Applications Claiming Priority (1)

Application Number Priority Date Filing Date Title
CN2010201120440U CN201652257U (en) 2010-02-11 2010-02-11 Series connection structure of lamp

Publications (1)

Publication Number Publication Date
CN201652257U true CN201652257U (en) 2010-11-24

Family

ID=43117496

Family Applications (1)

Application Number Title Priority Date Filing Date
CN2010201120440U Expired - Fee Related CN201652257U (en) 2010-02-11 2010-02-11 Series connection structure of lamp

Country Status (1)

Country Link
CN (1) CN201652257U (en)

Cited By (2)

* Cited by examiner, † Cited by third party
Publication number Priority date Publication date Assignee Title
CN110319379A (en) * 2019-06-18 2019-10-11 厦门普为光电科技有限公司 Lamps and lanterns can be concatenated
WO2020087890A1 (en) * 2018-11-01 2020-05-07 中山市琪朗灯饰厂有限公司 Lamp tube and lamp

Cited By (2)

* Cited by examiner, † Cited by third party
Publication number Priority date Publication date Assignee Title
WO2020087890A1 (en) * 2018-11-01 2020-05-07 中山市琪朗灯饰厂有限公司 Lamp tube and lamp
CN110319379A (en) * 2019-06-18 2019-10-11 厦门普为光电科技有限公司 Lamps and lanterns can be concatenated

Similar Documents

Publication Publication Date Title
CN202917766U (en) Conversion socket with night light
CN201193794Y (en) Improvement structure for novel energy-saving lamp
CN204678170U (en) LED cabinet lamp
CN201766195U (en) Expandable power socket
CN201652257U (en) Series connection structure of lamp
CN202992837U (en) Strip light with connecting structure
CN210985117U (en) Detachable plug with indicator lamp
CN201937091U (en) Socket
CN202749644U (en) Split type plug board
CN203131755U (en) Detachable power supply for lamp
CN202158441U (en) Bathroom wall lamp
CN205070089U (en) Novel row's of inserting structure
CN203288902U (en) Power plug with power socket function
CN201902899U (en) A fluorescent lamp with an input and output lamp holder
CN202813285U (en) Novel light-emitting diode (LED) lamp with portable wiring base
CN208890009U (en) A self-power-off energy-saving socket
CN203839625U (en) A power strip with front switch
CN201893489U (en) Fluorescent lamp holder with input end
CN201903015U (en) Fluorescent lamp holder with output end
CN214038282U (en) LED linear lamp connecting and fixing device
CN203240319U (en) A light source and power supply separation combined light bulb
CN211958162U (en) A multifunctional household energy-saving safety socket
CN202349702U (en) LED (light-emitting diode) daylight lamp
CN204704678U (en) Multifunctional lamp
CN201739812U (en) A straight tube lamp structure

Legal Events

Date Code Title Description
C14 Grant of patent or utility model
GR01 Patent grant
C17 Cessation of patent right
CF01 Termination of patent right due to non-payment of annual fee

Granted publication date: 20101124

Termination date: 20130211