CN201650638U - Flood prevention and emergency water pump - Google Patents
Flood prevention and emergency water pump Download PDFInfo
- Publication number
- CN201650638U CN201650638U CN2010201674390U CN201020167439U CN201650638U CN 201650638 U CN201650638 U CN 201650638U CN 2010201674390 U CN2010201674390 U CN 2010201674390U CN 201020167439 U CN201020167439 U CN 201020167439U CN 201650638 U CN201650638 U CN 201650638U
- Authority
- CN
- China
- Prior art keywords
- fixedly connected
- support
- hydraulic
- water
- pump
- Prior art date
- Legal status (The legal status is an assumption and is not a legal conclusion. Google has not performed a legal analysis and makes no representation as to the accuracy of the status listed.)
- Expired - Fee Related
Links
- XLYOFNOQVPJJNP-UHFFFAOYSA-N water Substances O XLYOFNOQVPJJNP-UHFFFAOYSA-N 0.000 title claims abstract description 34
- 230000002265 prevention Effects 0.000 title 1
- 229910000831 Steel Inorganic materials 0.000 claims description 7
- 230000005540 biological transmission Effects 0.000 claims description 7
- 239000010959 steel Substances 0.000 claims description 7
- 230000008878 coupling Effects 0.000 claims description 4
- 238000010168 coupling process Methods 0.000 claims description 4
- 238000005859 coupling reaction Methods 0.000 claims description 4
- 238000005086 pumping Methods 0.000 description 8
- 238000010586 diagram Methods 0.000 description 1
- 238000000034 method Methods 0.000 description 1
Images
Classifications
-
- Y—GENERAL TAGGING OF NEW TECHNOLOGICAL DEVELOPMENTS; GENERAL TAGGING OF CROSS-SECTIONAL TECHNOLOGIES SPANNING OVER SEVERAL SECTIONS OF THE IPC; TECHNICAL SUBJECTS COVERED BY FORMER USPC CROSS-REFERENCE ART COLLECTIONS [XRACs] AND DIGESTS
- Y02—TECHNOLOGIES OR APPLICATIONS FOR MITIGATION OR ADAPTATION AGAINST CLIMATE CHANGE
- Y02A—TECHNOLOGIES FOR ADAPTATION TO CLIMATE CHANGE
- Y02A20/00—Water conservation; Efficient water supply; Efficient water use
- Y02A20/20—Controlling water pollution; Waste water treatment
Landscapes
- Structures Of Non-Positive Displacement Pumps (AREA)
Abstract
本实用新型涉及一种可灵活移动抽水的防汛抢险用水泵。本实用新型由汽车底盘、出水软管、液压起重绞盘、支座、支撑门架、液压泵组成,出水软管套装在液压泵的出口上;液压泵一端置于支座上,另一端吊装在支撑门架上,与钢丝绳一端固定联结;钢丝绳另一端绕装于液压起重绞盘上;定滑轮与支撑门架固定联结;液压起重绞盘和支撑门架均与支座固定联结;支座置于汽车底盘上,与汽车底盘1固定联结。这样即形成一个移动液压泵站,可随时开赴各地工作。本实用新型防汛抢险用水泵机动灵活、可随时开赴需抽排水现场,它同时具备大流量、不用电源的特点,非常适合用于防汛抢险使用。
The utility model relates to a water pump for flood control and emergency rescue which can flexibly move and draw water. The utility model is composed of a car chassis, a water outlet hose, a hydraulic lifting winch, a support, a supporting door frame, and a hydraulic pump. The water outlet hose is set on the outlet of the hydraulic pump; one end of the hydraulic pump is placed on the support, and the other end is hoisted. On the support mast, it is fixedly connected with one end of the wire rope; the other end of the wire rope is wound on the hydraulic lifting winch; the fixed pulley is fixedly connected with the support mast; both the hydraulic lifting winch and the support mast are fixedly connected with the support; the support It is placed on the chassis of the car and fixedly connected with the chassis 1 of the car. In this way, a mobile hydraulic pump station is formed, which can go to work in various places at any time. The water pump for flood control and emergency rescue of the utility model is flexible and can go to the site where drainage needs to be pumped and drained at any time.
Description
所属技术领域Technical field
本实用新型涉及一种可灵活移动抽水的防汛抢险用水泵。The utility model relates to a water pump for flood control and emergency rescue which can flexibly move and draw water.
背景技术Background technique
目前我国广大地区的水利工程、防汛抗旱工程均为修建固定泵站,站内安装各种类型的水泵来实现抽排水。但是防汛抗旱抢险场合远不止上述固定泵站,有时某些无泵站地区突然需要紧急排水或送水,固定泵站就发挥不了作用。此时只能用一些小巧灵活的、人可以抬动的水泵去现场临时抽水,它们的缺点是功率太小,主要是泵流量小,通常在600m3/h以下,不能满足防汛抗旱抢险时间紧、抽水量大地需求。而且许多现场无电源,电泵用不起来。有时抗旱场合用消防车供水,但它只起一个移动水箱的作用,其主要功能不是为防汛抗旱设计的。而且车用消防泵的特点是小流量、高扬程、恒压,不适应防汛抗旱抢险场合。At present, water conservancy projects and flood control and drought relief projects in vast areas of our country are to build fixed pumping stations, and various types of water pumps are installed in the stations to realize pumping and drainage. However, the occasions for flood control and drought relief are far more than the above-mentioned fixed pumping stations. Sometimes some areas without pumping stations suddenly need emergency drainage or water delivery, and the fixed pumping stations will not be able to play a role. At this time, only some small and flexible water pumps that can be lifted by people can be used to temporarily pump water on site. Their disadvantages are that the power is too small, mainly because the pump flow rate is small, usually below 600m3/h, which cannot meet the needs of flood control and drought relief. The amount of water pumped depends on the land demand. Moreover, many sites have no power supply, and the electric pump cannot be used. Sometimes a fire truck is used for water supply in drought-resistant situations, but it only acts as a mobile water tank, and its main function is not designed for flood control and drought relief. Moreover, the vehicle fire pump is characterized by small flow, high lift, and constant pressure, which is not suitable for flood control, drought relief and emergency situations.
发明内容Contents of the invention
本实用新型的目的是提供一种机动灵活的防汛抢险用水泵。The purpose of the utility model is to provide a mobile and flexible water pump for flood control and emergency rescue.
解决上述问题的技术方案是:本实用新型由汽车底盘1、出水软管2、液压起重绞盘3、支座4、支撑门架6、液压泵8组成,出水软管2套装在液压泵8的出口上;液压泵8一端置于支座4上,另一端吊装在支撑门架6上,与钢丝绳5一端固定联结;钢丝绳5另一端绕装于液压起重绞盘3上;定滑轮7与支撑门架6固定联结;液压起重绞盘3和支撑门架6均与支座4固定联结;支座4置于汽车底盘1上,与汽车底盘1固定联结。这样即形成一个移动液压泵站,可随时开赴各地工作。The technical solution to solve the above problems is: the utility model is composed of an automobile chassis 1, a
本实用新型防汛抢险用水泵机动灵活、可随时开赴需抽排水现场,它同时具备大流量、不用电源的特点,非常适合用于防汛抢险使用。The water pump for flood control and emergency rescue of the utility model is flexible and can go to the site where drainage needs to be pumped and drained at any time.
附图说明Description of drawings
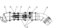
附图1是本实用新型的主视图。Accompanying drawing 1 is the front view of the utility model.
附图2是本实用新型在抽水工作状态的示意图。Accompanying
附图3是液压泵部件的剖视图。Accompanying drawing 3 is the sectional view of hydraulic pump component.
具体实施方式Detailed ways
如附图1所示,本实用新型由汽车底盘1、出水软管2、液压起重绞盘3、支座4、支撑门架6、液压泵8组成。出水软管2套装在液压泵8的出口上;液压泵8一端置于支座4上,另一端吊装在支撑门架6上,与钢丝绳5一端固定联结;钢丝绳5另一端绕装于液压起重绞盘3上;定滑轮7与支撑门架6固定联结;液压起重绞盘3和支撑门架6均与支座4固定联结;支座4置于汽车底盘1上,与汽车底盘1固定联结。这样泵系统和起重系统均置于汽车上,可随时开赴需抽水地区,通过液压起重绞盘、定滑轮、钢丝绳、支撑门架组成的起重系统将液压泵放入水中即可抽水,其工作状态如附图2。用完将泵吊起收好即可开走。As shown in accompanying drawing 1, the utility model is made up of automobile chassis 1,
如附图3所示,液压泵8由吸水管9、导叶体10、叶轮11、传动轴12、联轴器13、液压马达14、过流筒15、出水管16组成。吸水管9与导叶体10固定联结;导叶体10与过流筒15固定联结;过流筒15与出水管16固定联结;液压马达14与过流筒15固定联结;联轴器13与传动轴12和液压马达14的轴伸固定联结;叶轮11套装在传动轴12上。吸水管、导叶体和叶轮合称为泵水力部件,采用大流量高效率水力模型。泵工作时,由液压马达14通过联轴器13、传动轴12,带动叶轮11旋转即实现抽水功能。采用这种液压泵抽水,无需电源,流量从450m3/h~4000m3/h,远远大于小型泵的流量,可满足临时大抽水量需求。As shown in accompanying drawing 3, hydraulic pump 8 is made up of water suction pipe 9,
Claims (2)
Priority Applications (1)
| Application Number | Priority Date | Filing Date | Title |
|---|---|---|---|
| CN2010201674390U CN201650638U (en) | 2010-04-23 | 2010-04-23 | Flood prevention and emergency water pump |
Applications Claiming Priority (1)
| Application Number | Priority Date | Filing Date | Title |
|---|---|---|---|
| CN2010201674390U CN201650638U (en) | 2010-04-23 | 2010-04-23 | Flood prevention and emergency water pump |
Publications (1)
| Publication Number | Publication Date |
|---|---|
| CN201650638U true CN201650638U (en) | 2010-11-24 |
Family
ID=43115871
Family Applications (1)
| Application Number | Title | Priority Date | Filing Date |
|---|---|---|---|
| CN2010201674390U Expired - Fee Related CN201650638U (en) | 2010-04-23 | 2010-04-23 | Flood prevention and emergency water pump |
Country Status (1)
| Country | Link |
|---|---|
| CN (1) | CN201650638U (en) |
Cited By (1)
| Publication number | Priority date | Publication date | Assignee | Title |
|---|---|---|---|---|
| CN105544716A (en) * | 2016-02-16 | 2016-05-04 | 江苏国农泵业有限公司 | Movable pump station provided with water dispenser |
-
2010
- 2010-04-23 CN CN2010201674390U patent/CN201650638U/en not_active Expired - Fee Related
Cited By (1)
| Publication number | Priority date | Publication date | Assignee | Title |
|---|---|---|---|---|
| CN105544716A (en) * | 2016-02-16 | 2016-05-04 | 江苏国农泵业有限公司 | Movable pump station provided with water dispenser |
Similar Documents
| Publication | Publication Date | Title |
|---|---|---|
| CN201619502U (en) | High flow dewatering recovery vehicle | |
| CN207550031U (en) | Drainage car | |
| CN102529786B (en) | Large-span rotary double-pipeline drainage emergency vehicle | |
| CN102092330B (en) | Overhead remote drainage emergency car | |
| CN201650638U (en) | Flood prevention and emergency water pump | |
| CN102019871B (en) | Large-flow drainage emergency service vehicle | |
| CN204723644U (en) | A kind of long-range large discharge is met an urgent need water drainage-supply system | |
| CN201712523U (en) | Semi-trailer emergency drainage vehicle | |
| CN205350728U (en) | But convenient to use's movable water pump | |
| CN201338896Y (en) | Hydraulic climbing mechanism of construction lifter | |
| CN204821597U (en) | Take drawing to one side from coupling submerged motor pump of auto -lock brake equipment | |
| CN201961216U (en) | High-altitude remote drainage emergency service vehicle | |
| CN102561503B (en) | All hydraulic wheel type aerial mobile drainage pumping station | |
| CN207795707U (en) | A kind of adjustable speed double pump power unit | |
| CN106194641B (en) | A kind of hydraulic cab lifting device | |
| CN202368444U (en) | Large-span rotary double-pipeline water discharge emergency service vehicle | |
| CN205222544U (en) | Electrodynamic type immersible pump hoisting device | |
| CN208361781U (en) | Immersible pump Motorized lift device easy to disassemble | |
| CN205086758U (en) | Water drainage power wrecking truck | |
| CN2869394Y (en) | Movable hydraulic pump | |
| CN205714896U (en) | A kind of levitated pump being easy to carrying | |
| CN101042148A (en) | Mobile electric hydraulic pump | |
| CN205222564U (en) | Submerged pump lifting device | |
| CN202530559U (en) | All-hydraulic wheel high-altitude moving drainage pump station | |
| CN211648497U (en) | A sealed submersible pump installation structure |
Legal Events
| Date | Code | Title | Description |
|---|---|---|---|
| C14 | Grant of patent or utility model | ||
| GR01 | Patent grant | ||
| C17 | Cessation of patent right | ||
| CF01 | Termination of patent right due to non-payment of annual fee |
Granted publication date: 20101124 Termination date: 20110423 |
