CN201647028U - Friction resistance steering device of handle type motor tricycle - Google Patents

Friction resistance steering device of handle type motor tricycle Download PDF

Info

Publication number
CN201647028U
CN201647028U CN201020177042XU CN201020177042U CN201647028U CN 201647028 U CN201647028 U CN 201647028U CN 201020177042X U CN201020177042X U CN 201020177042XU CN 201020177042 U CN201020177042 U CN 201020177042U CN 201647028 U CN201647028 U CN 201647028U
Authority
CN
China
Prior art keywords
friction disc
friction
kingpin
steering hardware
last
Prior art date
Legal status (The legal status is an assumption and is not a legal conclusion. Google has not performed a legal analysis and makes no representation as to the accuracy of the status listed.)
Expired - Fee Related
Application number
CN201020177042XU
Other languages
Chinese (zh)
Inventor
韩群山
Current Assignee (The listed assignees may be inaccurate. Google has not performed a legal analysis and makes no representation or warranty as to the accuracy of the list.)
HENAN LONGXIN LOCOMOTIVE CO Ltd
Original Assignee
Individual
Priority date (The priority date is an assumption and is not a legal conclusion. Google has not performed a legal analysis and makes no representation as to the accuracy of the date listed.)
Filing date
Publication date
Application filed by Individual filed Critical Individual
Priority to CN201020177042XU priority Critical patent/CN201647028U/en
Application granted granted Critical
Publication of CN201647028U publication Critical patent/CN201647028U/en
Anticipated expiration legal-status Critical
Expired - Fee Related legal-status Critical Current

Links

Images

Landscapes

  • Motorcycle And Bicycle Frame (AREA)

Abstract

The utility model relates to a friction resistance steering device of a handle type motor tricycle. A steering vertical shaft at the lower part of a lower connecting plate of a shock absorber is provided with the friction resistance steering device; a resistance spring, an upper friction disc, a friction plate, a lower friction disc and a bearing are sequentially sheathed on the steering vertical shaft from top to bottom and fastened by adjusting nuts; the upper friction disc and the steering vertical shaft are synchronously and rotatably connected; and the lower friction disc and a front vertical tube reinforcement plate are relatively and statically connected through a lower friction disc positioning plate. The friction resistance steering device of the handle type motor tricycle can eliminate the slight swinging of a handle and keep that the handle does not substantially swing when the motor tricycle runs on a rough terrain, can reduce or relieve the deviation swinging force and the swinging speed of the handle when running on a severely bumpy terrain so as to avoid that a driver continuously correct the driving direction due to the swinging of the handle, thereby reducing driving fatigue, increasing driving and riding comfortableness and decreasing the occurrence of accidents; meanwhile, the friction can be adjusted through the tensioning degree of the adjusting nuts according to the requirement of the arm strength of the driver; and the friction resistance steering device of the handle type motor tricycle has simple structure and convenient use.

Description

Wushu three wheeled motor car friction drag steering hardware
Technical field
The utility model relates to a kind of wushu three wheeled motor car friction drag steering hardware.
Background technology
At present, the preceding standpipe of motor-tricycle, front-wheel direction are connected all employing two-wheel bassinet structures with frame-steering, and it is more rational that this structure is used on two-wheeled motor vehicle, has the following disadvantages but use on motor-tricycle:
The road surface laterally is uneven during the two-wheeled motor vehicle straight-line travelling can not influence its squareness up and down.But when motor-tricycle travelled, the road surface laterally was uneven, and the height of car load both sides changes with the variation of ground height, and the squareness that makes car load, preceding standpipe, front-wheel constantly just changes with vehicle both sides trailing wheel contact ground-surface and changes.The direction of the variable effect handlebar of the squareness of preceding standpipe changes, and when the trailing wheel of a side hanged down, handlebar then rotated to this side, makes car load depart from travel direction.The horizontal injustice in road surface causes handlebar ceaselessly to swing, and makes chaufeur ceaselessly correct handlebar, drives fatigue thereby bring, and can cause the generation of traffic accident when serious.
Generally speaking, slight Uneven road cause handlebar slightly to swing, and continuous Uneven road can make the amplitude of fluctuation of handlebar progressively strengthen, and makes to drive to control painstakingly, and chaufeur must firmly go to stablize the balance of handlebar, guarantees cruising.Safety and traveling comfort that influence is driven.
The utility model content
The purpose of this utility model provides a kind of control and causes the dynamics of handlebar swing because of Uneven road, thereby improves the wushu three wheeled motor car friction drag steering hardware of safety and driver comfort.
For achieving the above object, the technical solution adopted in the utility model is: standpipe was captiveed joint with the bumper lower plate before a kind of wushu three wheeled motor car friction drag steering hardware, kingpin passed.The kingpin of described bumper lower plate bottom is provided with the friction drag steering hardware.
Described friction drag steering hardware is made up of resistance spring, last friction disc, friction lining, following friction disc, bearing, setting nut, following friction disc locating plate, resistance spring, last friction disc, friction lining, following friction disc, bearing are sleeved on the kingpin from top to bottom successively, and it is fastening by setting nut, the overcoat of bearing is captiveed joint with following friction disc, and following friction disc cooperates by bearing and kingpin are movable; Last friction disc and kingpin are rotationally connected synchronously, and following friction disc passes through the relative static connection of friction disc locating plate down with preceding standpipe brace panel.
Above-mentioned wushu three wheeled motor car friction drag steering hardware, described going up between friction disc and the bumper lower plate by the attaching parts captive joint; Captive joint with preceding standpipe brace panel with following friction disc respectively in the described two ends of friction disc locating plate down.
Above-mentioned wushu three wheeled motor car friction drag steering hardware, described upward friction disc is connected with the groove suit by boss with kingpin or keyway connects.
Above-mentioned wushu three wheeled motor car friction drag steering hardware, the described friction disc of going up is provided with the last friction disc fix shaft that is used to make friction disc and the synchronous rotation of kingpin, the lower end of last friction disc fix shaft is fixedly connected on the friction disc, being set with on the last friction disc fix shaft and the movable locating bush that cooperates of last friction disc fix shaft, captives joint with the lower surface of bumper lower plate in the upper end of locating bush.The described leading section of friction disc locating plate is down captiveed joint with following friction disc, and the rearward end of following friction disc locating plate places in the outer U type locator card that is located at preceding standpipe brace panel lower end, and by outer U type locator card location.
Above-mentioned wushu three wheeled motor car friction drag steering hardware, described going up between friction disc fix shaft and the locating bush is provided with soft lining, the described rearward end of friction disc locating plate down is provided with interior U type locator card, is provided with soft U type liner between interior U type locator card and the outer U type locator card.
Above-mentioned wushu three wheeled motor car friction drag steering hardware, described resistance spring places down the below of friction disc, and described resistance spring is bowl-shape shell fragment or elastic force rubber cushion.
Above-mentioned wushu three wheeled motor car friction drag steering hardware, described friction disc down and kingpin are rotationally connected synchronously, the described upward relative static connection with preceding standpipe brace panel of friction disc.
Last friction disc and kingpin are rotationally connected synchronously, multiple connection mode is arranged: both can boss be set at the interior circle of last friction disc, the mode that axial notch is set on kingpin realizes, also can connect by keyway, can also be by captive joint between attaching parts and the bumper lower plate.Following friction disc passes through the relative static connection of friction disc locating plate down with preceding standpipe brace panel, captive joint with preceding standpipe brace panel with following friction disc respectively in the both ends of following friction disc locating plate or leading section is captiveed joint with following friction disc, leading section and preceding spacing connection of standpipe brace panel.The friction disc locating plate is relative static with preceding standpipe brace panel down as long as keep.
As a same reason, following friction disc and kingpin rotate synchronously, and last friction disc does not rotate; Resistance spring places down the below of friction disc, perhaps places the top of friction disc, can produce friction force equally.No matter which kind of mode is as long as apply the pressure that produces friction force can for last friction disc.
The beneficial effects of the utility model are: the utility model adopts the kingpin of bumper lower plate bottom to be provided with the friction drag steering hardware.Make when three wheeled motor car travels on general uneven road surface, eliminate the slight swing of handlebar, make it no longer to swing is excessive significantly.On the road surface of severe turbulence, reduce or alleviate the deflection oscillatory forces and the swing speed of handlebar, avoid chaufeur constantly to correct travel direction, thereby reduce driving fatigue because of the handlebar swing, increase ride comfort, reduce safety misadventure and take place.
Adopt resistance spring and setting nut, can be according to the arm strength demand of car load vehicle size, chaufeur, the size of regulating friction force by the tensioning degree of setting nut.
Friction disc is provided with and is used to make friction disc and the kingpin last friction disc fix shaft of rotation synchronously in the employing, the lower end of last friction disc fix shaft is fixedly connected on the friction disc, being set with on the last friction disc fix shaft and the movable locating bush that cooperates of last friction disc fix shaft, captives joint with the lower surface of bumper lower plate in the upper end of locating bush.The leading section of following friction disc locating plate is captiveed joint with following friction disc, and the rearward end of following friction disc locating plate places in the outer U type locator card that is located at preceding standpipe brace panel lower end, and by outer U type locator card location.Both can be for convenience detach, maintenance, also can install or select dress additional according to user's needs.
The utility model is simple in structure, and is easy to use, neither influences the attractive in appearance of three-wheel vehicle, can control handlebar again and swing because of road bump, reduces driving fatigue, increases driver comfort, reduces safety misadventure.
Other advantages of the present utility model, target and feature will be set forth to a certain extent in the following description, and to a certain extent, based on being conspicuous to those skilled in the art, perhaps can from practice of the present utility model, obtain instruction to investigating hereinafter.Target of the present utility model and other advantages can be passed through following specification sheets, claims, and the specifically noted structure realizes and obtains in the accompanying drawing.
Below in conjunction with the drawings and specific embodiments the utility model is described in further detail.
Description of drawings
Fig. 1 looks scheme drawing for the utility model structure master.
Fig. 2 is the cross-sectional schematic of Fig. 1
Fig. 3 is the A-A cross-sectional schematic among Fig. 2
Fig. 4. be the structure cross-sectional schematic of the another kind of embodiment of the utility model
Fig. 5 is the structure cross-sectional schematic of the third embodiment of the utility model
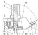
The soft lining 8-of standpipe 2-kingpin 3-bumper lower plate 5-resistance spring 6-locating bush 7-goes up friction disc fix shaft 9-and goes up under the friction disc 10-friction lining 11-bearing 12-under the friction disc 13-setting nut 14-before the outer U type locator card 16-of friction disc locating plate 15-the soft U type of U type locator card 18-liner 19-friction drag steering hardware in the standpipe brace panel 17-before mark among the figure: the 1-
The specific embodiment
As accompanying drawing 1, Fig. 2, shown in Figure 3, a kind of wushu three wheeled motor car friction drag steering hardware of the present utility model, standpipe 1 was captiveed joint with bumper lower plate 3 before kingpin 2 passed, and it is characterized in that: the kingpin 2 of described bumper lower plate bottom is provided with friction drag steering hardware 19.
Described friction drag steering hardware is made up of resistance spring 5, last friction disc 9, friction lining 10, following friction disc 12, bearing 11, setting nut 13, following friction disc locating plate 14, resistance spring, last friction disc, friction lining, following friction disc, bearing are sleeved on the kingpin from top to bottom successively, and it is fastening by setting nut, the overcoat of bearing is captiveed joint with following friction disc, and following friction disc cooperates by bearing and kingpin are movable; Last friction disc and kingpin are rotationally connected synchronously, and following friction disc passes through the relative static connection of friction disc locating plate down with preceding standpipe brace panel 16.
As a kind of embodiment: described going up between friction disc and the bumper lower plate by the attaching parts captive joint; Captive joint with preceding standpipe brace panel with following friction disc respectively in the described two ends of friction disc locating plate down.
As another kind of embodiment: describedly go up that friction disc is connected with the groove suit by boss with kingpin or the keyway connection.
As the third embodiment: the described friction disc of going up is provided with and is used to make friction disc and the kingpin last friction disc fix shaft 8 of rotation synchronously, the lower end of last friction disc fix shaft is fixedly connected on the friction disc, being set with on the last friction disc fix shaft and the movable locating bush 6 that cooperates of last friction disc fix shaft, captives joint with the lower surface of bumper lower plate in the upper end of locating bush; The described leading section of friction disc locating plate is down captiveed joint with following friction disc, and the rearward end of following friction disc locating plate places in the outer U type locator card 15 that is located at preceding standpipe brace panel 16 lower ends, and by outer U type locator card location.Described going up between friction disc fix shaft and the locating bush is provided with soft lining 7, and the described rearward end of friction disc locating plate down is provided with interior U type locator card 17, is provided with soft U type liner 18 between interior U type locator card and the outer U type locator card.
As shown in Figure 4, as the 4th kind of embodiment: described resistance spring 5 places down the below of friction disc 12, and described resistance spring is bowl-shape shell fragment or elastic force rubber cushion.Last friction disc 9 is captiveed joint with turning to column 2.
As shown in Figure 5, as the 5th kind of embodiment: following friction disc 12 is rotationally connected synchronously by keyway or boss, groove and kingpin 2, the described friction disc 9 of going up cooperates last friction disc and preceding standpipe brace panel 16 relative static connections by bearing with kingpin 2 activities.
Resistance spring can directly place between bumper lower plate and the last friction disc, also can place down the below of friction disc 12, and described resistance spring can be bowl-shape shell fragment or elastic force rubber cushion, and perhaps other produces the elastic component of elastic force.No matter which kind of mode is as long as apply the pressure that produces friction force can for last friction disc.
As a same reason, following friction disc and kingpin rotate synchronously, and last friction disc does not rotate; Can produce friction force equally.
During use, because last friction disc 9 rotates synchronously with kingpin 2, following friction disc 12 and preceding standpipe brace panel 16 are relative to static and do not rotate with kingpin 2, because the pressure effect of resistance spring 5, produce friction force between last friction disc 9 and friction lining 10, time friction disc 12.When running into uneven road surface, handlebar can not arbitrarily be swung owing to the effect of friction drag.Like this, just avoid or reduce because of Uneven road causes handlebar and swing.
Explanation is at last, above embodiment is only unrestricted in order to the explanation the technical solution of the utility model, other modifications that those of ordinary skills make the technical solution of the utility model or be equal to replacement, only otherwise break away from the spirit and scope of technical solutions of the utility model, all should be encompassed in the middle of the claim scope of the present utility model.

Claims (7)

1. wushu three wheeled motor car friction drag steering hardware, kingpin (2) passes preceding standpipe (1) captives joint with bumper lower plate (3), and it is characterized in that: the kingpin (2) of described bumper lower plate bottom is provided with friction drag steering hardware (19);
Described friction drag steering hardware is made up of resistance spring (5), last friction disc (9), friction lining (10), following friction disc (12), bearing (11), setting nut (13), following friction disc locating plate (14), resistance spring, last friction disc, friction lining, following friction disc, bearing are sleeved on the kingpin from top to bottom successively, and it is fastening by setting nut, the overcoat of bearing is captiveed joint with following friction disc, and following friction disc cooperates by bearing and kingpin are movable; Last friction disc and kingpin are rotationally connected synchronously, and following friction disc passes through the relative static connection of friction disc locating plate down with preceding standpipe brace panel (16).
2. according to the described wushu three wheeled motor car of claim 1 friction drag steering hardware, it is characterized in that: described going up between friction disc and the bumper lower plate by the attaching parts captive joint; Captive joint with preceding standpipe brace panel with following friction disc respectively in the described two ends of friction disc locating plate down.
3. according to the described wushu three wheeled motor car of claim 1 friction drag steering hardware, it is characterized in that: described upward friction disc is connected with the groove suit by boss with kingpin or keyway connects.
4. according to the described wushu three wheeled motor car of claim 1 friction drag steering hardware, it is characterized in that: the described friction disc of going up is provided with the last friction disc fix shaft (8) that is used to make friction disc and the synchronous rotation of kingpin, the lower end of last friction disc fix shaft is fixedly connected on the friction disc, being set with on the last friction disc fix shaft and the movable locating bush (6) that cooperates of last friction disc fix shaft, captives joint with the lower surface of bumper lower plate in the upper end of locating bush; The described leading section of friction disc locating plate is down captiveed joint with following friction disc, and the rearward end of following friction disc locating plate places in the outer U type locator card (15) that is located at preceding standpipe brace panel (16) lower end, and by outer U type locator card location.
5. according to the described wushu three wheeled motor car of claim 4 friction drag steering hardware, it is characterized in that: described going up between friction disc fix shaft and the locating bush is provided with soft lining (7), the described rearward end of friction disc locating plate down is provided with interior U type locator card (17), is provided with soft U type liner (18) between interior U type locator card and the outer U type locator card.
6. according to the described wushu three wheeled motor car of claim 1 friction drag steering hardware, it is characterized in that: described resistance spring places down the below of friction disc, and described resistance spring is bowl-shape shell fragment or elastic force rubber cushion.
7. according to each described wushu three wheeled motor car friction drag steering hardware in the claim 1 to 6, it is characterized in that: described friction disc down and kingpin are rotationally connected synchronously, the described upward relative static connection with preceding standpipe brace panel of friction disc.
CN201020177042XU 2010-04-02 2010-04-02 Friction resistance steering device of handle type motor tricycle Expired - Fee Related CN201647028U (en)

Priority Applications (1)

Application Number Priority Date Filing Date Title
CN201020177042XU CN201647028U (en) 2010-04-02 2010-04-02 Friction resistance steering device of handle type motor tricycle

Applications Claiming Priority (1)

Application Number Priority Date Filing Date Title
CN201020177042XU CN201647028U (en) 2010-04-02 2010-04-02 Friction resistance steering device of handle type motor tricycle

Publications (1)

Publication Number Publication Date
CN201647028U true CN201647028U (en) 2010-11-24

Family

ID=43112251

Family Applications (1)

Application Number Title Priority Date Filing Date
CN201020177042XU Expired - Fee Related CN201647028U (en) 2010-04-02 2010-04-02 Friction resistance steering device of handle type motor tricycle

Country Status (1)

Country Link
CN (1) CN201647028U (en)

Cited By (2)

* Cited by examiner, † Cited by third party
Publication number Priority date Publication date Assignee Title
CN113532885A (en) * 2021-08-16 2021-10-22 深圳市道通科技股份有限公司 Automobile calibration equipment
CN113669579A (en) * 2021-08-16 2021-11-19 深圳市道通科技股份有限公司 Automobile calibration equipment

Cited By (3)

* Cited by examiner, † Cited by third party
Publication number Priority date Publication date Assignee Title
CN113532885A (en) * 2021-08-16 2021-10-22 深圳市道通科技股份有限公司 Automobile calibration equipment
CN113669579A (en) * 2021-08-16 2021-11-19 深圳市道通科技股份有限公司 Automobile calibration equipment
CN113532885B (en) * 2021-08-16 2024-05-28 深圳市道通科技股份有限公司 Automobile calibration equipment

Similar Documents

Publication Publication Date Title
US8645024B2 (en) Motorized three-wheeled vehicle active suspension
CN108502077B (en) Swing suspension system of double front wheel vehicle
CN201647028U (en) Friction resistance steering device of handle type motor tricycle
CN101380987A (en) Swinging bicycle with two-wheel and multi-wheel
CN106394148A (en) Independent suspension mechanism allowing upright hopping of front wheel of motor vehicle, as well as steering mechanism
CN207029452U (en) A kind of steering mechanism
CN213057356U (en) Swing vehicle with middle motor and belt pulley transmission mechanism
CN202481226U (en) Motorcycle front suspension system
CN206781512U (en) Electric motor coach vehicle bridge
CN201792952U (en) Electric four-wheeled moped vehicle
CN201300677Y (en) Split type connecting device of motor tricycle
CN112061283A (en) Transverse swing mechanism and tricycle with same
CN218806348U (en) Four-wheel vehicle with shock attenuation balance function
CN208216912U (en) A kind of two front wheels vehicle waves suspension
CN206634128U (en) The rocker structure of front-wheel and the front-wheel of two front wheels motorcycle wave leaning device
CN201447008U (en) Bicycle
CN210852752U (en) Head for reverse tricycle
CN202863644U (en) Tricycle capable of inclining and swaying
CN201729057U (en) Connecting structure for circulating water cooling water tank and frame of motor tricycle
CN104859765A (en) Deformable bridge frame of motor tricycle
CN206856419U (en) A kind of aerocycle and system
CN204821956U (en) Whole suspension of dynamic balance vehicle
CN201010007Y (en) Independent suspension device of tricycle
CN200971032Y (en) Front wheel independent suspension of beach buggy
CN2625260Y (en) Shock absorbing power-assisted driving bicycle

Legal Events

Date Code Title Description
C14 Grant of patent or utility model
GR01 Patent grant
ASS Succession or assignment of patent right

Owner name: HE NAN LONCIN LOCOMOTIVE CO., LTD.

Free format text: FORMER OWNER: HAN QUNSHAN

Effective date: 20110512

C41 Transfer of patent application or patent right or utility model
COR Change of bibliographic data

Free format text: CORRECT: ADDRESS; FROM: 467200 PINGDINGSHAN LONCIN MOTORCYCLE CO., LTD., WEST OF 1 KILOMETER NORTH OF SHUIZHA, YEXIAN COUNTY, HE NAN PROVINCE TO: 467200 NORTH SECTION OF YINGBIN AVENUE, YEXIAN COUNTY, PINGDINGSHAN CITY, HE NAN PROVINCE

TR01 Transfer of patent right

Effective date of registration: 20110512

Address after: 467200 north section of Yingbin Road, Pingdingshan, Henan, Yexian County

Patentee after: Henan Longxin Locomotive Co., Ltd.

Address before: 467200, Henan, Yexian County, one kilometers north of the Road West Road, Pingdingshan LONCIN three wheeled motorcycle Co., Ltd.

Patentee before: Han Qunshan

C17 Cessation of patent right
CF01 Termination of patent right due to non-payment of annual fee

Granted publication date: 20101124

Termination date: 20130402