CN201644605U - 一种用于普通四柱液压机的拉深模架 - Google Patents

一种用于普通四柱液压机的拉深模架 Download PDF

Info

Publication number
CN201644605U
CN201644605U CN2010201539045U CN201020153904U CN201644605U CN 201644605 U CN201644605 U CN 201644605U CN 2010201539045 U CN2010201539045 U CN 2010201539045U CN 201020153904 U CN201020153904 U CN 201020153904U CN 201644605 U CN201644605 U CN 201644605U
Authority
CN
China
Prior art keywords
hydraulic press
die
punch
column hydraulic
common
Prior art date
Legal status (The legal status is an assumption and is not a legal conclusion. Google has not performed a legal analysis and makes no representation as to the accuracy of the status listed.)
Expired - Fee Related
Application number
CN2010201539045U
Other languages
English (en)
Inventor
吴建军
朱光成
Current Assignee (The listed assignees may be inaccurate. Google has not performed a legal analysis and makes no representation or warranty as to the accuracy of the list.)
Northwestern Polytechnical University
Original Assignee
Northwestern Polytechnical University
Priority date (The priority date is an assumption and is not a legal conclusion. Google has not performed a legal analysis and makes no representation as to the accuracy of the date listed.)
Filing date
Publication date
Application filed by Northwestern Polytechnical University filed Critical Northwestern Polytechnical University
Priority to CN2010201539045U priority Critical patent/CN201644605U/zh
Application granted granted Critical
Publication of CN201644605U publication Critical patent/CN201644605U/zh
Anticipated expiration legal-status Critical
Expired - Fee Related legal-status Critical Current

Links

Images

Landscapes

  • Mounting, Exchange, And Manufacturing Of Dies (AREA)

Abstract

本实用新型公开了一种用于普通四柱液压机的拉深模架,主要包括安装固定在四柱液压机的活动横梁下面的凸模固定装置和固定在四柱液压机的工作台上面的凹模及成形件落料装置两部分。该拉深模架结构简单,操作方便,安装在普通四柱液压机上,可以进行不同形状和不同尺寸的金属板料拉深件的生产,价格低廉,稳定可靠,通用性强,经过改装后的普通四柱液压机可以代替双动液压机的拉深实验功能。

Description

一种用于普通四柱液压机的拉深模架
技术领域
本实用新型涉及一种金属板料加工成型工艺设备,具体地说,涉及一种用于普通四柱液压机的拉深模架。
背景技术
目前,随着我国制造行业的迅速发展,企业对生产中小型金属板料拉深件的液压机的需求日益增加。大型企业一般采用双动液压机进行金属板料拉深件的生产。因为,双动液压机上利用外滑块压边,压边力不随压力机的行程而变化,模具结构简单,拉深效果好。但是,双动液压机结构复杂、体积庞大、价格昂贵,而且仅适用于生产大型的金属板料拉深件。对于小型的生产企业和科研机构以及高等院校实验室来说,在经济上难以接受其高额的成本费用,非常不利于科学技术研究的开展,也影响用户的及时投产。
在杂志《锻压机械》1995年第3期的《四柱液压机实现双动拉深的改装设计》一文中介绍了,对普通四柱液压机增加了压边机构,安装了充液筒,附加了柱塞式压边缸和液压回路以及液压动力站。虽然改装后的四柱液压机操作方便,能够实现双动拉深,但是其结构较复杂,改装成本相对昂贵。为了满足生产用户的使用要求,降低企业的生产成本,本实用新型在不改造四柱液压机任何动力系统和电气系统的前提下,给普通四柱液压机设计了一种通用的金属板料拉深模架,不仅简化了拉深模具的设计与制造,而且方便实用,产品质量稳定。
实用新型内容
本实用新型要解决的技术问题是提供一种用于在普通四柱液压机上实现金属板料拉深件的生产,满足用户的使用要求,降低企业的生产成本的普通四柱液压机的拉深模架。
为解决上述技术问题,本实用新型安装在普通四柱液压机上的拉深模架包括凸模固定装置和凹模及成形件落料装置。
所述的凸模固定装置包括上模座、凸模固定板、凸模套筒、凸模和六角头大螺栓。具体的装配工序是:凸模套筒放入凸模固定板的中心孔里面,上模座压在凸模固定板上面,把凸模装入凸模套筒,用六角头螺栓将凸模紧固。针对不同形状和不同尺寸的拉深件,操作人员可以非常方便的更换不同的凸模。整个凸模固定装置用4个六角头大螺栓固定在四柱液压机的活动横梁下面,上模座的另一面紧贴着四柱液压机的活动横梁的下表面,4个六角头大螺栓的头部分别装在四柱液压机的活动横梁的4个T型槽里面,尾部用六角螺母将其紧固。为了防止六角螺母松动,在安装六角螺母之前,放入平垫圈,再放入弹簧垫圈,并将六角螺母拧紧。
所述的凹模及成形件落料装置包括凹模固定板、凹模、毛坯件、压边圈、开槽盘头螺钉、垫块、下模座、六角头大螺栓和压板。具体的装配工序是:凹模放入凹模固定板的中心孔内,毛坯件放在凹模的上表面,压边圈用4个六角头螺栓固定在凹模固定板的上表面。通过调整4个六角头螺栓的松紧程度,可以控制压边圈的压边力的大小,以满足不同金属板料拉深件的成形要求。在凹模固定板上设置有4个均布、相互对称的开槽盘头螺钉,通过调整开槽盘头螺钉的高度,可以控制压边圈与凹模之间的间隙,以适应不同厚度的金属板料拉深成形。凹模固定板的4个角部用内六角圆柱头螺栓分别固定在4个垫块上端,4个垫块的下端是下模座,同样用内六角圆柱头螺栓将下模座和4个垫块连接。为了防止垫块发生转动,每个垫块与凹模固定板之间、每个垫块与下模座之间都是分别用2个内六角圆柱头螺栓进行连接的。4个垫块支撑着凹模固定板,形成的空腔用于成形零件的落料。整个凹模及成形件落料装置固定在四柱液压机的工作台上。下模座的左右两边分别用压板固定,每块压板的两端分别用六角头大螺栓将其固定在四柱液压机的工作台上。4个六角头大螺栓的头部分别装在四柱液压机的工作台的4个T型槽里面,尾部用六角螺母将其紧固。为了防止六角螺母松动,在安装六角螺母之前,先放入平垫圈,再放入弹簧垫圈,后将六角螺母拧紧。
本实用新型金属板料拉深模架安装在普通四柱液压机上,完全可以实现中小型金属板料拉深件的生产。本实用新型拉深模架结构简单,操作方便,价格低廉,通用性强,稳定可靠,可以进行不同形状和不同尺寸的金属板料拉深件的生产。经过改装后的普通四柱液压机可以代替双动液压机的拉深实验功能。
附图说明
下面结合附图对本实用新型普通四柱液压机的拉深模架作进一步的详细说明。
图1是本实用新型普通四柱液压机的拉深模架结构示意图。
图2是本实用新型拉深模架的凸模固定装置的仰视图。
图3是本实用新型拉深模架的凹模及成形件落料装置的俯视图。
图4是本实用新型拉深模架的凹模固定板、下模座与垫块的连接示意图。
图5是本实用新型拉深模架的下模座与液压机工作台固定的俯视图。
图6是本实用新型拉深模架的下模座与液压机工作台固定的左视图。
1.下模座  2.垫块  3.凹模固定板  4.开槽盘头螺钉  5.凹模
6.毛坯件  7.压边圈  8.凸模  9.六角头螺栓  10.凸模套筒
11.凸模固定板  12.上模座  13.平垫圈  14.弹簧垫圈
15.六角螺母  16.六角头大螺栓  17.六角头螺栓
18.内六角圆柱头螺栓  19.内六角圆柱头螺栓  20.M10螺纹孔
21.凸模排气孔  22.平垫圈  23.弹簧垫圈  24.六角螺母
25.六角头大螺栓  26.压板  27.工作台  28.T型槽
具体实施方式
如图1,是本实用新型普通四柱液压机的拉深模架,包括凸模固定装置和凹模及成形件落料装置两部分。
结合图1,图2展示了本实用新型拉深模架的凸模固定装置,由上模座12、凸模固定板11、凸模套筒10、凸模8、六角头螺栓9、平垫圈13、弹簧垫圈14、六角螺母15和六角头大螺栓16组成。首先将凸模套筒10放入凸模固定板11的中心孔里面,把上模座12压在凸模固定板11的上面。用4个六角头大螺栓16将凸模固定板11、凸模套筒10和上模座12固定在四柱液压机的活动横梁的下面,上模座12的另一面紧贴着四柱液压机的活动横梁的下表面。4个六角头大螺栓16的头部分别装在四柱液压机的活动横梁的4个T型槽里面,尾部用六角螺母15将其紧固。为了防止六角螺母15松动,在安装六角螺母15之前,先放入平垫圈13,再放入弹簧垫圈14,最后再将六角螺母15拧紧。
在实际操作中,可以选择不同形状和不同尺寸的凸模8,将其插入凸模套筒10,再用六角头螺栓9将凸模8紧固。操作人员可以根据实际需要非常方便的更换不同的凸模。
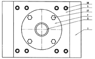
如图1、图3所示,是本实用新型拉深模架的凹模及成形件落料装置,它由凹模固定板3、凹模5、毛坯件6、压边圈7、开槽盘头螺钉4、六角头螺栓17、垫块2、下模座1、内六角圆柱头螺栓18、内六角圆柱头螺栓19、平垫圈22、弹簧垫圈23、六角螺母24、六角头大螺栓25和压板26组成。首先将凹模5放入凹模固定板3的中心孔里面,毛坯件6放在凹模5的上表面,压边圈7用4个六角头螺栓17固定在凹模固定板3的上表面。通过调整4个六角头螺栓17的松紧程度,可以控制压边圈的压边力的大小,以满足不同金属板料拉深件的成形要求。在凹模固定板3上设置有4个M10螺纹孔20,分别装入4个开槽盘头螺钉4,通过调整开槽盘头螺钉4的高度,可以控制压边圈7与凹模5之间的间隙,以适应不同厚度的金属板料拉深成形。凹模固定板3的4个角部用内六角圆柱头螺栓18分别固定在4个垫块2的上端,4个垫块2的下端是下模座1,同样用内六角圆柱头螺栓19分别将下模座1和4个垫块2连接。为了防止垫块2发生转动,每个垫块2与凹模固定板3之间是用2个内六角圆柱头螺栓18进行连接的,每个垫块2与下模座1之间用2个内六角圆柱头螺栓19进行连接。4个垫块2支撑着凹模固定板3,形成的空腔用于成形零件的落料,如图4。
图5、图6是本实用新型拉深模架的下模座与液压机工作台的固定连接,整个凹模及成形件落料装置固定在四柱液压机的工作台27上面。下模座1的左右两边分别用一块压板26压着,每块压板26的两端分别用六角头大螺栓25将其固定在四柱液压机的工作台27上面。4个六角头大螺栓25的头部分别装在四柱液压机的工作台27的4个T型槽28里面,尾部用六角螺母24将其紧固。为了防止六角螺母24松动,在安装六角螺母24之前,先放入平垫圈22,再放入弹簧垫圈23,最后将六角螺母24拧紧。
整个模架拉深时的动作顺序为:
放置毛坯件6——调整开槽盘头螺钉4的高度——固定压边圈7——凸模8随活动横梁下行——拉深成形——凸模8上行——取出成形零件——卸去压边圈7——操作重复。
本实用新型用于普通四柱液压机的拉深模架,可以进行不同形状和不同尺寸的金属板料拉深件的生产。该拉深模架结构简单,操作方便,价格低廉,通用性强,稳定可靠。经过改装后的普通四柱液压机可以代替双动液压机的拉深实验功能。

Claims (5)

1.一种用于普通四柱液压机的拉深模架,包括凸模固定装置和凹模及成形件落料装置,其特征在于:所述的凸模固定装置是用4个六角头大螺栓(16)将凸模固定板(11)和上模座(12)固定安装在四柱液压机的活动横梁下面,4个六角头大螺栓(16)的头部放置在活动横梁的4个T型槽内,尾部用六角螺母(15)紧固;所述的凹模及成形件落料装置的下模座(1)的左右两边分别用压板(26)固定,压板(26)的两端用六角头大螺栓(25)将其固定在四柱液压机的工作台(27)上面,4个六角头大螺栓(25)的头部分别放置在作台(27)的4个T型槽(28)内,尾部用六角螺母(24)紧固;凸模固定装置和凹模及成形件落料装置在同一轴线上。
2.根据权利要求1所述的普通四柱液压机的拉深模架,其特征在于:将凸模套筒(10)放入凸模固定板(11)的中心孔内,上模座(12)压在凸模固定板(11)的上面,凸模(8)插入凸模套筒(10),用六角头螺栓(9)将其紧固。
3.根据权利要求1所述的普通四柱液压机的拉深模架,其特征在于:与凹模及成形件落料装置相对的凸模(8)的端头部设有凸模排气孔(21),模柄与六角头螺栓(9)接触部位有一斜平面,防止凸模滑转。
4.根据权利要求1所述的普通四柱液压机的拉深模架,其特征在于:由安装在凹模固定板(3)上的4个均布、相互对称的开槽盘头螺钉(4)调整控制凹模(5)与压边圈(7)之间的间隙;通过调整4个六角头螺栓(17)的松紧程度,控制压边力的大小。
5.根据权利要求1所述的普通四柱液压机的拉深模架,其特征在于:凹模及成形件落料装置采用4块垫块(2)支撑凹模固定板(3),垫块(2)与凹模固定板(3)用2个内六角圆柱头螺栓(18)连接,垫块(2)与下模座(1)用2个内六角圆柱头螺栓(19)连接。
CN2010201539045U 2010-04-08 2010-04-08 一种用于普通四柱液压机的拉深模架 Expired - Fee Related CN201644605U (zh)

Priority Applications (1)

Application Number Priority Date Filing Date Title
CN2010201539045U CN201644605U (zh) 2010-04-08 2010-04-08 一种用于普通四柱液压机的拉深模架

Applications Claiming Priority (1)

Application Number Priority Date Filing Date Title
CN2010201539045U CN201644605U (zh) 2010-04-08 2010-04-08 一种用于普通四柱液压机的拉深模架

Publications (1)

Publication Number Publication Date
CN201644605U true CN201644605U (zh) 2010-11-24

Family

ID=43109802

Family Applications (1)

Application Number Title Priority Date Filing Date
CN2010201539045U Expired - Fee Related CN201644605U (zh) 2010-04-08 2010-04-08 一种用于普通四柱液压机的拉深模架

Country Status (1)

Country Link
CN (1) CN201644605U (zh)

Cited By (6)

* Cited by examiner, † Cited by third party
Publication number Priority date Publication date Assignee Title
CN103990700A (zh) * 2014-05-21 2014-08-20 洛阳理工学院 一种带排气孔的凸模
CN104550483A (zh) * 2015-01-30 2015-04-29 辽宁奥斯福科技有限公司 铝合金内胆反向拉伸模具及工艺
CN105458093A (zh) * 2015-12-25 2016-04-06 陈丽梅 一种不锈钢制品温差拉深模具
CN106334755A (zh) * 2016-09-13 2017-01-18 中国电子科技集团公司第四十八研究所 一种栅板成型模具
CN106975698A (zh) * 2017-04-12 2017-07-25 苏州汇程精密模具有限公司 一种圆筒拉深冲压模具
CN108500188A (zh) * 2018-03-27 2018-09-07 邓州市良机锻压设备制造有限公司 一种煤矿液压支架缸筒专用锻压设备以及锻压方法

Cited By (7)

* Cited by examiner, † Cited by third party
Publication number Priority date Publication date Assignee Title
CN103990700A (zh) * 2014-05-21 2014-08-20 洛阳理工学院 一种带排气孔的凸模
CN104550483A (zh) * 2015-01-30 2015-04-29 辽宁奥斯福科技有限公司 铝合金内胆反向拉伸模具及工艺
CN105458093A (zh) * 2015-12-25 2016-04-06 陈丽梅 一种不锈钢制品温差拉深模具
CN106334755A (zh) * 2016-09-13 2017-01-18 中国电子科技集团公司第四十八研究所 一种栅板成型模具
CN106975698A (zh) * 2017-04-12 2017-07-25 苏州汇程精密模具有限公司 一种圆筒拉深冲压模具
CN108500188A (zh) * 2018-03-27 2018-09-07 邓州市良机锻压设备制造有限公司 一种煤矿液压支架缸筒专用锻压设备以及锻压方法
CN108500188B (zh) * 2018-03-27 2024-08-23 邓州市良机锻压设备制造有限公司 一种煤矿液压支架缸筒专用锻压设备以及锻压方法

Similar Documents

Publication Publication Date Title
CN201644605U (zh) 一种用于普通四柱液压机的拉深模架
CN101633021B (zh) 抱箍冷弯冲压成型模
CN201455116U (zh) 拉深成型模具
CN215845103U (zh) 一种具有多向定位功能的冲压件加工模具
CN110496891A (zh) 双色氧化三头刀自动冲切成型机构
CN213613635U (zh) 一种铝模板制备用高效冲压装置
CN202290939U (zh) 花纹铝板气动切角模具
CN211250549U (zh) 一种多工位瓷器冲压模具
CN204604456U (zh) 一种带有浮动定位结构的冲切模具
CN203779380U (zh) 一种高精度零部件批量加工固定装置
CN207043818U (zh) 法兰加工工装
CN205496350U (zh) 电动冲压机器人
CN204892743U (zh) 一种解决超长连续模无法加工及上下冲床的模具连接结构
CN210547460U (zh) 一种分流头冲压模具
CN211990774U (zh) 一种摩擦压力机用模架装置
CN213223975U (zh) 一种具有自动顶模结构的冲压模具
CN209531884U (zh) 一种汽车门板冲压模具
CN204381279U (zh) 一种多钉压铆治具
CN203991945U (zh) 稳定杆端部成型冲孔模
CN213793817U (zh) 一种用于电脑键盘框架生产的冲压模具
CN207494302U (zh) 一种快速成型冲压治具
CN212329475U (zh) 一种冲压板的定位结构
CN203221120U (zh) 一种模具冲压机构
CN204338746U (zh) 板料渐近成形压板机构
CN206297181U (zh) 一种用于钛产品加工的液压控制装置

Legal Events

Date Code Title Description
C14 Grant of patent or utility model
GR01 Patent grant
C17 Cessation of patent right
CF01 Termination of patent right due to non-payment of annual fee

Granted publication date: 20101124

Termination date: 20130408