CN201641918U - 挤水拖把 - Google Patents
挤水拖把 Download PDFInfo
- Publication number
- CN201641918U CN201641918U CN2009200949923U CN200920094992U CN201641918U CN 201641918 U CN201641918 U CN 201641918U CN 2009200949923 U CN2009200949923 U CN 2009200949923U CN 200920094992 U CN200920094992 U CN 200920094992U CN 201641918 U CN201641918 U CN 201641918U
- Authority
- CN
- China
- Prior art keywords
- mop
- rod
- barre
- connecting ring
- wiping board
- Prior art date
- Legal status (The legal status is an assumption and is not a legal conclusion. Google has not performed a legal analysis and makes no representation as to the accuracy of the status listed.)
- Expired - Fee Related
Links
- 244000309464 bull Species 0.000 claims description 13
- XLYOFNOQVPJJNP-UHFFFAOYSA-N water Substances O XLYOFNOQVPJJNP-UHFFFAOYSA-N 0.000 abstract description 6
- 238000005201 scrubbing Methods 0.000 abstract 5
- 239000011248 coating agent Substances 0.000 abstract 1
- 238000000576 coating method Methods 0.000 abstract 1
- 229920000742 Cotton Polymers 0.000 description 1
- 239000000919 ceramic Substances 0.000 description 1
- 238000004140 cleaning Methods 0.000 description 1
- 230000007812 deficiency Effects 0.000 description 1
- 238000010586 diagram Methods 0.000 description 1
- 238000001035 drying Methods 0.000 description 1
- 238000005516 engineering process Methods 0.000 description 1
- 239000011521 glass Substances 0.000 description 1
- 239000003292 glue Substances 0.000 description 1
- 230000005484 gravity Effects 0.000 description 1
- 238000000034 method Methods 0.000 description 1
- 239000007787 solid Substances 0.000 description 1
- 239000002699 waste material Substances 0.000 description 1
Images
Landscapes
- Cleaning Implements For Floors, Carpets, Furniture, Walls, And The Like (AREA)
Abstract
本实用新型公开了一种挤水拖把,包括把杆和拖把头,其中拖把头为“凹”字形擦板,擦板上设有的凹形部上设有合页状连接件,连接件上活动连接有“T”字形转杆的上部,转杆的下端上固定有把杆的端部,把杆上设有的套筒和擦板之间的把杆上设有辊挤架,辊挤架包括设在把杆上的活动筒,活动筒上设有下连接环和转辊支架,转辊支架的端部上设有两个相互平行的转辊,套筒上设有的上连接环上活动连接有操纵杆,下连接环上活动连接有的拉杆的另一端部设在操纵杆上,所述的擦板的两面上均设有软包面。本实用新型结构简单,成本低,占地面积小,清擦体与被清擦体接触面积大,手不用粘水,可用两面轮流清擦,使用非常方便。
Description
技术领域
本实用新型涉及一种拖把,由其涉及一种挤水拖把。
背景技术
目前,市场上有多种挤水拖把,最为广用的有旋转甩干式挤水拖把,这种拖把是把拖把头浸湿后,再把拖把头放在专用的桶内甩干后使用,结构复杂,成本较高,占地面积大;还有较为广用的是辊压式挤水拖把,这种拖把的清擦体为实心柱状胶棉,柱状胶棉的侧面由于呈上窄下宽,所以如果使用不当,辊挤时很容易使辊挤架碎裂,或胶棉拉裂,且由于清擦体与被清擦体接触面积小,所以使用起来费时费力,非常不方便;也有对折挤压挤水式拖把,这种拖把是把擦板分为两个对折板,对折板面对面进行挤压挤水,这种拖把洗后只能用一面清擦。
发明内容
本实用新型的目的是克服现有技术中存在的不足,而提供了一种结构简单,成本低,占地面积小,清擦体与被清擦体接触面积大,可用两面轮流清擦且使用非常方便的挤水拖把。
本实用新型的目的是这样实现的:它包括把杆和拖把头,其中所述的拖把头为“凹”字形擦板,擦板上设有的凹形部上设有合页状连接件,连接件上活动连接有“T”字形转杆的上部,转杆的下端上固定有把杆的端部,这种结构使得擦板以转杆的上部为轴在360度范围内旋转,所述的把杆上设有套筒,套筒和拖把头之间的把杆上设有辊挤架,所述的辊挤架包括设在把杆上的活动筒,活动筒上设有下连接环,活动筒的下端部上设有转辊支架,转辊支架的端部上设有两个相互平行且分别位于转杆两侧的转辊,所述的转辊应平行于与转杆处于同一平面时的擦板,且所述的套筒上设有上连接环,上连接环上活动连接有操纵杆,下连接环上活动连接有的拉杆的另一端部设在操纵杆上。
所述的擦板的两面上均设有软包面,软包面可为胶棉,也可为容易清洗的棉布类。
所述的连接件与擦板之间设有固定螺丝。
所述的套筒与把杆之间设有固定螺丝。
由于采用上述技术方案,本实用新型提供的挤水拖把具有如下优点:结构简单,成本低,占地面积小,清擦体与被清擦体接触面积大,手不用粘水,可用两面轮流清擦,使用非常方便。
附图说明
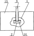
图1是本实用新型的结构示意图;
图2是本实用新型的拖把头的放大结构示意图。
在图1至图2中,1、擦板,2、连接件,3、转杆,4、把杆,5、套筒,6、活动筒,7、下连接环,8、转辊支架,9、转辊,10、上连接环,11、操纵杆,12、拉杆,13、软包面,14、固定螺丝,15、固定螺丝。
具体实施方式
如图1至图2所示,本实用新型提供的挤水拖把,包括把杆和拖把头,其中所述的拖把头为“凹”字形擦板1,擦板1上设有的凹形部上设有合页状连接件2,连接件2上活动连接有“T”字形转杆3的上部,转杆3的下端上固定有把杆4的端部,所述的把杆4上设有套筒5,套筒5和擦板1之间的把杆4上设有辊挤架,所述的辊挤架包括设在把杆4上的活动筒6,活动筒6上设有下连接环7,活动筒6的下端部上设有转辊支架8,转辊支架8的端部上设有两个相互平行且分别位于转杆3两侧的转辊9,所述的套筒5上设有上连接环10,上连接环10上活动连接有操纵杆11,下连接环7上活动连接有的拉杆12的另一端部设在操纵杆11上,所述的擦板1的两面上均设有软包面13,所述的连接件2与擦板1之间设有固定螺丝14,所述的套筒5与把杆4之间设有固定螺丝15。
具体使用时,首先拿起把杆4,把擦板1放入水中浸湿,然后让擦板1处于水面上方,在重力作用下,擦板1绕着转杆3上部转动且擦板1面与转杆3处于同一垂直地面的平面上,这时用手向下拉操纵杆11,操纵杆11上设有的拉杆12也随之向下移动,拉杆12上的下连接环7及下连接环7上的活动筒6也随之在把杆4上从上向下移动,这时,活动筒6上的转辊支架8及转辊支架8上设有的转辊9均向下移动,转辊9接触到擦板1上且在软包面13上滚动挤压。为了充分地挤压软包面13内的水份,可用手上下多次拉动操纵杆11,使转辊9在软包面13上多次上下滚动挤压。挤压完毕,再把操纵杆11由下向上拉起,这时拉杆12及拉杆12上的下连接环7、下连接环7上的活动筒6、活动筒6上的转辊支架8由下向上均移动,转辊支架8上的转辊9再次挤压软包面13后移动到擦板1的上侧。做完上述工作后,把擦板1放在需要清擦的位置上进行清擦,清擦过程中可翻转擦板1,用另一面继续清擦,用本实用新型不仅可以清擦地板,瓷砖,也可清擦门窗玻璃,使用非常方便。
Claims (4)
1.一种挤水拖把,包括把杆和拖把头,其特征是,所述的拖把头为“凹”字形擦板(1),擦板(1)上设有的凹形部上设有合页状连接件(2),连接件(2)上活动连接有“T”字形转杆(3)的上部,转杆(3)的下端上固定有把杆(4)的端部,所述的把杆(4)上设有套筒(5),套筒(5)和擦板(1)之间的把杆4)上设有辊挤架,所述的辊挤架包括设在把杆(4)上的活动筒(6),活动筒(6)上设有下连接环(7),活动筒(6)的下端部上设有转辊支架(8),转辊支架(8)的端部上设有两个相互平行且分别位于把杆(4)两侧的转辊(9),所述的套筒(5)上设有上连接环(10),上连接环(10)上活动连接有操纵杆(11),下连接环(7)上活动连接有的拉杆(12)的另一端部设在操纵杆(11)上。
2.根据权利要求1所述的挤水拖把,其特征是,所述的擦板(1)的两面上均设有软包面(13)。
3.根据权利要求1所述的挤水拖把,其特征是,所述的连接件(2)与擦板(1)之间设有固定螺丝(14)。
4.根据权利要求1所述的挤水拖把,其特征是,所述的套筒(5)与把杆(4)之间设有固定螺丝(15)。
Priority Applications (1)
| Application Number | Priority Date | Filing Date | Title |
|---|---|---|---|
| CN2009200949923U CN201641918U (zh) | 2009-12-14 | 2009-12-14 | 挤水拖把 |
Applications Claiming Priority (1)
| Application Number | Priority Date | Filing Date | Title |
|---|---|---|---|
| CN2009200949923U CN201641918U (zh) | 2009-12-14 | 2009-12-14 | 挤水拖把 |
Publications (1)
| Publication Number | Publication Date |
|---|---|
| CN201641918U true CN201641918U (zh) | 2010-11-24 |
Family
ID=43107096
Family Applications (1)
| Application Number | Title | Priority Date | Filing Date |
|---|---|---|---|
| CN2009200949923U Expired - Fee Related CN201641918U (zh) | 2009-12-14 | 2009-12-14 | 挤水拖把 |
Country Status (1)
| Country | Link |
|---|---|
| CN (1) | CN201641918U (zh) |
Cited By (3)
| Publication number | Priority date | Publication date | Assignee | Title |
|---|---|---|---|---|
| CN102138771A (zh) * | 2011-04-22 | 2011-08-03 | 张承志 | 活动式多功能胶棉拖把 |
| CN105249907A (zh) * | 2015-11-12 | 2016-01-20 | 刘军 | 水污自动脱离拖把 |
| CN109864675A (zh) * | 2017-12-04 | 2019-06-11 | 慈溪市博生塑料制品有限公司 | 免手洗的平板拖把 |
-
2009
- 2009-12-14 CN CN2009200949923U patent/CN201641918U/zh not_active Expired - Fee Related
Cited By (4)
| Publication number | Priority date | Publication date | Assignee | Title |
|---|---|---|---|---|
| CN102138771A (zh) * | 2011-04-22 | 2011-08-03 | 张承志 | 活动式多功能胶棉拖把 |
| CN102138771B (zh) * | 2011-04-22 | 2015-02-04 | 张承志 | 活动式多功能胶棉拖把 |
| CN105249907A (zh) * | 2015-11-12 | 2016-01-20 | 刘军 | 水污自动脱离拖把 |
| CN109864675A (zh) * | 2017-12-04 | 2019-06-11 | 慈溪市博生塑料制品有限公司 | 免手洗的平板拖把 |
Similar Documents
| Publication | Publication Date | Title |
|---|---|---|
| CN204293074U (zh) | 一种便于挤水的拖把 | |
| CN201641918U (zh) | 挤水拖把 | |
| CN204427958U (zh) | 可存储擦布的卷滚 | |
| CN207604925U (zh) | 具有新型挤水装置的平板拖把清洁工具 | |
| CN206700129U (zh) | 一种方便清理卫生死角的免手洗平板拖把 | |
| CN203506645U (zh) | 自挤干拖把 | |
| CN207356048U (zh) | 一种海绵清洁器 | |
| CN209697531U (zh) | 一种新型计算机显示屏清洁工具 | |
| CN201073287Y (zh) | 多功能拖把挤干器 | |
| CN212879204U (zh) | 一种平板拖把和柱式拖把的共用挤干桶 | |
| CN211592018U (zh) | 一种板擦、具有板擦的书写板及板擦清洗装置 | |
| CN210961812U (zh) | 一种可三面轮换使用的拖把 | |
| CN201008541Y (zh) | 一种拖把胶棉头挤水管 | |
| CN219877667U (zh) | 一种实验室台面擦灰器 | |
| CN213309514U (zh) | 拖把 | |
| CN221511817U (zh) | 一种拖把清洁头的刷洗结构 | |
| CN207202836U (zh) | 一种扫拖组合机 | |
| CN210541405U (zh) | 一种挤压式伸缩拖把 | |
| CN207429060U (zh) | 一种折叠扫拖组合机 | |
| CN204232517U (zh) | 一种笔记本电脑清洁刷 | |
| CN214856345U (zh) | 一种高层外墙玻璃清洗装置 | |
| CN203506632U (zh) | 一种挤水拖把 | |
| CN202699069U (zh) | 一种刮水胶棉拖把 | |
| CN202011266U (zh) | 方便清洁的黑板 | |
| CN201239115Y (zh) | 一种拖布清洗器 |
Legal Events
| Date | Code | Title | Description |
|---|---|---|---|
| C14 | Grant of patent or utility model | ||
| GR01 | Patent grant | ||
| C17 | Cessation of patent right | ||
| CF01 | Termination of patent right due to non-payment of annual fee |
Granted publication date: 20101124 Termination date: 20131214 |