CN201631815U - 疫苗注射装置 - Google Patents
疫苗注射装置 Download PDFInfo
- Publication number
- CN201631815U CN201631815U CN2010201670351U CN201020167035U CN201631815U CN 201631815 U CN201631815 U CN 201631815U CN 2010201670351 U CN2010201670351 U CN 2010201670351U CN 201020167035 U CN201020167035 U CN 201020167035U CN 201631815 U CN201631815 U CN 201631815U
- Authority
- CN
- China
- Prior art keywords
- injection device
- piston
- vaccine injection
- conduit
- needle
- Prior art date
- Legal status (The legal status is an assumption and is not a legal conclusion. Google has not performed a legal analysis and makes no representation as to the accuracy of the status listed.)
- Expired - Fee Related
Links
- 229960005486 vaccine Drugs 0.000 title claims abstract description 9
- 238000002347 injection Methods 0.000 title claims abstract description 8
- 239000007924 injection Substances 0.000 title claims abstract description 8
- 239000007788 liquid Substances 0.000 abstract description 5
- 239000003814 drug Substances 0.000 abstract description 2
- 238000011081 inoculation Methods 0.000 abstract 1
- 238000002255 vaccination Methods 0.000 description 4
- 230000009286 beneficial effect Effects 0.000 description 1
- 239000012467 final product Substances 0.000 description 1
- 239000000243 solution Substances 0.000 description 1
Images
Landscapes
- Infusion, Injection, And Reservoir Apparatuses (AREA)
Abstract
疫苗注射装置,属于医疗用具技术领域。本实用新型的技术方案是:包括针头、针管、活塞和针芯,其特征是在活塞上设有单向阀,针芯内设有导管,导管末端设有气囊。本实用新型结构简单,在给病人进行疫苗接种时能够将药液推注干净,减轻了医务人员的工作难度。
Description
技术领域:本实用新型属于医疗用具技术领域,具体地讲是一种疫苗注射装置。
背景技术:目前,临床上在给病人进行疫苗接种时大多使用一次性注射器,这种一次性注射器主要由针头、针管、活塞和针芯构成,这种注射器在活塞到达针管前段后则无法继续前移,针头内会残留大量药液,给医务人员增加了极大的工作难度。
发明内容:本实用新型的目的是提供一种在给病人进行疫苗接种时能够将药液推注干净的疫苗注射装置。
本实用新型的技术方案是:包括针头、针管、活塞和针芯,其特征是在活塞上设有单向阀,针芯内设有导管,导管末端设有气囊。
本实用新型的有益效果是:本实用新型结构简单,在给病人进行疫苗接种时能够将药液推注干净,减轻了医务人员的工作难度。
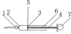
附图说明:附图1为本实用新型的结构示意图。
图中1、针头,2、针管,3、活塞,4、针芯,5、单向阀,6、导管,7、气囊。
具体实施方式:包括针头1、针管2、活塞3和针芯4,其特征是在活塞3上设有单向阀5,针芯4内设有导管6,导管6末端设有气囊7。在给病人进行疫苗接种时,活塞3推至针管2前段后,手捏气囊7通过压力推出针头1内的药液即可。
Claims (1)
1.疫苗注射装置,包括针头(1)、针管(2)、活塞(3)和针芯(4),其特征是:在活塞(3)上设有单向阀(5),针芯(4)内设有导管(6),导管(6)末端设有气囊(7)。
Priority Applications (1)
| Application Number | Priority Date | Filing Date | Title |
|---|---|---|---|
| CN2010201670351U CN201631815U (zh) | 2010-03-28 | 2010-03-28 | 疫苗注射装置 |
Applications Claiming Priority (1)
| Application Number | Priority Date | Filing Date | Title |
|---|---|---|---|
| CN2010201670351U CN201631815U (zh) | 2010-03-28 | 2010-03-28 | 疫苗注射装置 |
Publications (1)
| Publication Number | Publication Date |
|---|---|
| CN201631815U true CN201631815U (zh) | 2010-11-17 |
Family
ID=43076289
Family Applications (1)
| Application Number | Title | Priority Date | Filing Date |
|---|---|---|---|
| CN2010201670351U Expired - Fee Related CN201631815U (zh) | 2010-03-28 | 2010-03-28 | 疫苗注射装置 |
Country Status (1)
| Country | Link |
|---|---|
| CN (1) | CN201631815U (zh) |
Cited By (2)
| Publication number | Priority date | Publication date | Assignee | Title |
|---|---|---|---|---|
| CN105833422A (zh) * | 2016-03-18 | 2016-08-10 | 程大彦 | 放射性药物半自动配制注射系统 |
| CN105877869A (zh) * | 2016-05-16 | 2016-08-24 | 宁波大学 | 一种动物注射装置 |
-
2010
- 2010-03-28 CN CN2010201670351U patent/CN201631815U/zh not_active Expired - Fee Related
Cited By (3)
| Publication number | Priority date | Publication date | Assignee | Title |
|---|---|---|---|---|
| CN105833422A (zh) * | 2016-03-18 | 2016-08-10 | 程大彦 | 放射性药物半自动配制注射系统 |
| CN105833422B (zh) * | 2016-03-18 | 2023-02-07 | 程大彦 | 放射性药物半自动配制注射系统 |
| CN105877869A (zh) * | 2016-05-16 | 2016-08-24 | 宁波大学 | 一种动物注射装置 |
Similar Documents
| Publication | Publication Date | Title |
|---|---|---|
| CN201631815U (zh) | 疫苗注射装置 | |
| CN202822347U (zh) | 自毁式注射器 | |
| CN202777304U (zh) | 消结按摩注射器 | |
| CN201537291U (zh) | 注射器 | |
| CN202590080U (zh) | 便捷注射器 | |
| CN201337715Y (zh) | 新型注射针头保护装置 | |
| CN202223675U (zh) | 快速麻醉针 | |
| CN201759939U (zh) | 无药液残留注射器 | |
| CN202122705U (zh) | 护理配药器 | |
| CN201939808U (zh) | 便捷式注射器 | |
| CN202478311U (zh) | 注射深度控制注射器 | |
| CN201572388U (zh) | 一次性注射器 | |
| CN201692435U (zh) | 无药液残留注射器 | |
| CN201643237U (zh) | 注射防污染装置 | |
| CN201906300U (zh) | 便捷式注射器 | |
| CN201855428U (zh) | 配液针头 | |
| CN202604840U (zh) | 采血储血注射器 | |
| CN202505908U (zh) | 便捷式注射器 | |
| CN201631788U (zh) | 配药器 | |
| CN201609489U (zh) | 疫苗存储注射装置 | |
| CN202154940U (zh) | 阴道给药器 | |
| CN201469371U (zh) | 新型麻醉穿刺针 | |
| CN202605437U (zh) | 便捷一次性注射器 | |
| CN202637625U (zh) | 防污染注射器 | |
| CN201516208U (zh) | 新型注射器 |
Legal Events
| Date | Code | Title | Description |
|---|---|---|---|
| C14 | Grant of patent or utility model | ||
| GR01 | Patent grant | ||
| C17 | Cessation of patent right | ||
| CF01 | Termination of patent right due to non-payment of annual fee |
Granted publication date: 20101117 Termination date: 20110328 |