CN201631676U - 输液袋 - Google Patents
输液袋 Download PDFInfo
- Publication number
- CN201631676U CN201631676U CN2010201581983U CN201020158198U CN201631676U CN 201631676 U CN201631676 U CN 201631676U CN 2010201581983 U CN2010201581983 U CN 2010201581983U CN 201020158198 U CN201020158198 U CN 201020158198U CN 201631676 U CN201631676 U CN 201631676U
- Authority
- CN
- China
- Prior art keywords
- infusion bag
- utility
- model
- nursing staff
- bag
- Prior art date
- Legal status (The legal status is an assumption and is not a legal conclusion. Google has not performed a legal analysis and makes no representation as to the accuracy of the status listed.)
- Expired - Fee Related
Links
- 238000001802 infusion Methods 0.000 title abstract 5
- 230000000474 nursing effect Effects 0.000 abstract description 8
- 239000003814 drug Substances 0.000 abstract description 5
- 239000007788 liquid Substances 0.000 abstract description 3
- 238000004090 dissolution Methods 0.000 description 3
- 230000009286 beneficial effect Effects 0.000 description 1
- 239000012467 final product Substances 0.000 description 1
- 239000011435 rock Substances 0.000 description 1
- 238000003756 stirring Methods 0.000 description 1
Images
Landscapes
- Medical Preparation Storing Or Oral Administration Devices (AREA)
- Infusion, Injection, And Reservoir Apparatuses (AREA)
Abstract
输液袋,属于医疗用具技术领域。本实用新型的技术方案是:包括袋体和橡胶塞,其特征是在橡胶塞上设有支棒,支棒上设有橡胶片。本实用新型结构简单,使用方便,护理人员在给病人进行配液时能够均匀溶解药物,减轻了护理人员的工作量。
Description
技术领域:本实用新型属于医疗用具技术领域,具体地讲是一种输液袋。
背景技术:目前,临床上所使用的输液袋主要由袋体和橡胶塞构成,护理人员在配药时,需要通过橡胶塞将药物注入袋体内,这样药物溶解不均匀,给护理人员增加了工作量。
发明内容:本实用新型的目的是提供一种护理人员在给病人进行配液时能够均匀溶解药物的输液袋。
本实用新型的技术方案是:包括袋体和橡胶塞,其特征是在橡胶塞上设有支棒,支棒上设有橡胶片。
本实用新型的有益效果是:本实用新型结构简单,使用方便,护理人员在给病人进行配液时能够均匀溶解药物,减轻了护理人员的工作量。
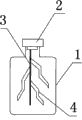
附图说明:附图1为本实用新型的结构示意图。
图中1、袋体,2、橡胶塞,3、支棒,4、橡胶片。
具体实施方式:包括袋体1和橡胶塞2,其特征是在橡胶塞2上设有支棒3,支棒3上设有橡胶片4。护理人员在给病人进行配液时,自橡胶塞2将药液注入袋体1内,然后晃动袋体1,通过支棒3和橡胶片4搅拌药液即可。
Claims (1)
1.输液袋,包括袋体(1)和橡胶塞(2),其特征是:在橡胶塞(2)上设有支棒(3),支棒(3)上设有橡胶片(4)。
Priority Applications (1)
| Application Number | Priority Date | Filing Date | Title |
|---|---|---|---|
| CN2010201581983U CN201631676U (zh) | 2010-03-18 | 2010-03-18 | 输液袋 |
Applications Claiming Priority (1)
| Application Number | Priority Date | Filing Date | Title |
|---|---|---|---|
| CN2010201581983U CN201631676U (zh) | 2010-03-18 | 2010-03-18 | 输液袋 |
Publications (1)
| Publication Number | Publication Date |
|---|---|
| CN201631676U true CN201631676U (zh) | 2010-11-17 |
Family
ID=43076150
Family Applications (1)
| Application Number | Title | Priority Date | Filing Date |
|---|---|---|---|
| CN2010201581983U Expired - Fee Related CN201631676U (zh) | 2010-03-18 | 2010-03-18 | 输液袋 |
Country Status (1)
| Country | Link |
|---|---|
| CN (1) | CN201631676U (zh) |
-
2010
- 2010-03-18 CN CN2010201581983U patent/CN201631676U/zh not_active Expired - Fee Related
Similar Documents
| Publication | Publication Date | Title |
|---|---|---|
| CN201631676U (zh) | 输液袋 | |
| CN201481810U (zh) | 新型配药器 | |
| CN201329019Y (zh) | 新型输液袋 | |
| CN201356803Y (zh) | 新型输液袋 | |
| CN201939703U (zh) | 输液袋 | |
| CN201370755Y (zh) | 新型输液瓶 | |
| CN201304104Y (zh) | 新型配药器 | |
| CN201603093U (zh) | 输液袋 | |
| CN203315346U (zh) | 便捷配液输液瓶 | |
| CN201558302U (zh) | 液体速溶输液瓶 | |
| CN201481800U (zh) | 新型避光输液瓶 | |
| CN201939698U (zh) | 液体速溶输液瓶 | |
| CN201295382Y (zh) | 新型粉剂药瓶 | |
| CN202036933U (zh) | 新型注射药剂助溶器 | |
| CN201642898U (zh) | 输液袋 | |
| CN201591711U (zh) | 一种护理托盘 | |
| CN202605314U (zh) | 护理配药器 | |
| CN201618246U (zh) | 注射器 | |
| CN202516002U (zh) | 防污染配药针头 | |
| CN201643207U (zh) | 药液混匀注射器 | |
| CN201807007U (zh) | 配液输液架 | |
| CN201379795Y (zh) | 新型配药器 | |
| CN202409505U (zh) | 输液配液装置 | |
| CN202446493U (zh) | 方便输液装置 | |
| CN202505573U (zh) | 眼液滴加器 |
Legal Events
| Date | Code | Title | Description |
|---|---|---|---|
| C14 | Grant of patent or utility model | ||
| GR01 | Patent grant | ||
| C17 | Cessation of patent right | ||
| CF01 | Termination of patent right due to non-payment of annual fee |
Granted publication date: 20101117 Termination date: 20110318 |