CN201625843U - Double-wire welding tooling - Google Patents

Double-wire welding tooling Download PDF

Info

Publication number
CN201625843U
CN201625843U CN2010201222088U CN201020122208U CN201625843U CN 201625843 U CN201625843 U CN 201625843U CN 2010201222088 U CN2010201222088 U CN 2010201222088U CN 201020122208 U CN201020122208 U CN 201020122208U CN 201625843 U CN201625843 U CN 201625843U
Authority
CN
China
Prior art keywords
fixed
wire welding
wheel
double
double wire
Prior art date
Legal status (The legal status is an assumption and is not a legal conclusion. Google has not performed a legal analysis and makes no representation as to the accuracy of the status listed.)
Expired - Fee Related
Application number
CN2010201222088U
Other languages
Chinese (zh)
Inventor
巩汉生
苏以谦
张志勇
胡志朝
Current Assignee (The listed assignees may be inaccurate. Google has not performed a legal analysis and makes no representation or warranty as to the accuracy of the list.)
SHANDONG HANGXIAO STEEL STRUCTURE CO Ltd
Original Assignee
SHANDONG HANGXIAO STEEL STRUCTURE CO Ltd
Priority date (The priority date is an assumption and is not a legal conclusion. Google has not performed a legal analysis and makes no representation as to the accuracy of the date listed.)
Filing date
Publication date
Application filed by SHANDONG HANGXIAO STEEL STRUCTURE CO Ltd filed Critical SHANDONG HANGXIAO STEEL STRUCTURE CO Ltd
Priority to CN2010201222088U priority Critical patent/CN201625843U/en
Application granted granted Critical
Publication of CN201625843U publication Critical patent/CN201625843U/en
Anticipated expiration legal-status Critical
Expired - Fee Related legal-status Critical Current

Links

Images

Landscapes

  • Resistance Welding (AREA)

Abstract

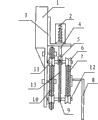
The utility model discloses a double-wire welding tooling, which is characterized in that the tooling comprises a framework, a spring seat is fixed on the framework, the spring seat is connected with a sliding regulation mechanism via a lifting shaft, and the sliding regulation mechanism is fixed with a welding gun carrier. An upper and lower adjustment device is added on the base of the original tooling, the design of a large-sized transverse slide board is utilized by the double-wire welding tooling so as to increase flexibility and stability of the welding gun carrier when in up to down and left to right position adjustment, and then accuracy and stability of welding operations can be ensured.

Description

A kind of Double Wire Welding frock
Technical field
The utility model relates to a kind of welding tooling, and a kind of specifically Double Wire Welding frock belongs to mechanical manufacturing field.
Background technology
Original Double Wire Welding is difficult to adjust flexibly the position of door gun rack, make it aim at weld seam, the accuracy and the stability of welding reduce greatly, therefore, design a kind of Double Wire Welding frock targetedly and can on the basis of original frock, increase adjusting device, increasing flexibility and the stability of door gun rack in position adjustment up and down, is the technical problem that needs to be resolved hurrily.
The utility model content
At the deficiency that prior art exists, technical problem to be solved in the utility model is, a kind of Double Wire Welding frock is provided, and adjusts a door gun rack position up and down flexibly, with accuracy and the stability that ensures welding.
For solving above-mentioned technical problem, technical solution adopted in the utility model is a kind of Double Wire Welding frock, it is characterized in that: it comprises frame, frame is fixed with spring base, and spring base is connected with slidable adjustment mechanism by lifting shaft, and slidable adjustment mechanism and gun rack are fixed together.
Above-mentioned Double Wire Welding frock, its slidable adjustment mechanism comprises the road wheel fixed head that is fixed on the lifting shaft, the wheel shaft that connects before and after being equipped with on the road wheel fixed head, the wheel shaft front end is equipped with horizontal movable pulley, the wheel shaft rear end is equipped with the longitudinal sliding motion wheel, laterally is embedded with cross slide between the movable pulley, and cross slide and gun rack are fixed together, be embedded with longitudinal slide between the longitudinal sliding motion wheel, longitudinal slide is fixed on the frame.
Above-mentioned Double Wire Welding frock, its lifting shaft is fixed together by connecting pin and road wheel fixed head.
Double Wire Welding frock of the present utility model has increased adjusting device up and down on the basis of original frock, the large-sized transversal slide plate design of adopting simultaneously, this design has increased flexibility and the stability of door gun rack in position adjustment up and down greatly, can guarantee the accuracy and stability of welding job.
Description of drawings
Below in conjunction with accompanying drawing the technical solution of the utility model is described further.
Fig. 1 is the Facad structure schematic diagram of Double Wire Welding frock;
Fig. 2 is the side structure schematic diagram of Double Wire Welding frock.
The specific embodiment
As shown in Figure 1, be fixed with spring base 3 on the frame 1, spring 2 is set on the spring base 3, and an end and the spring base 3 of spring 2 are fixed together, and the other end of spring 2 and lifting shaft 4 are fixed together, lifting shaft 4 links together by connecting pin 5 and road wheel fixed head 9, horizontal movable pulley 6 is installed on the road wheel fixed head 9, laterally is embedded with cross slide 7 between the movable pulley 6, be fixed with gun rack 8 on the cross slide 7, longitudinal slide 10 is positioned at spring base 3 belows, also is fixed on the frame 1.
As shown in Figure 2, the wheel shaft 12 that connects before and after being fixed with on the road wheel fixed head 9, the front end of wheel shaft 12 is fixed with horizontal movable pulley 6, the rear end of wheel shaft 12 is fixed with longitudinal sliding motion wheel 11, be embedded with longitudinal slide 10 between the longitudinal sliding motion wheel 11, longitudinal slide 10 is fixed on the frame 1, and the below of position and spring base 3, laterally be embedded with cross slide 7 between the movable pulley 6, the front of cross slide 7 is fixed with gun rack 8.
During use, when frame 1 descends, driving spring base 3 moves downward, extrusion spring 2 produces pressure, spring 2 drives lifting shafts 4 downwards, drive whole slidable adjustment mechanism 13 and move downward, longitudinal sliding motion wheel 11 longitudinally slide plate 10 to lower slider, make gun rack 8 in welding process, be close to weld seam, can not become flexible up and down; Cross slide 7 links together by screw and gun rack 8, about promote to adjust to guarantee torch head aligning weld seam center about just can doing to whole gun rack 8 at the horizontal cross slide 7 of walking between the movable pulley 6.
Certainly, above-mentioned explanation is not to be to restriction of the present utility model, and the utility model also is not limited to aforesaid operations, and all variations of making in essential scope of the present utility model, remodeling, interpolation or replacement all should belong to protection domain of the present utility model.

Claims (3)

1. Double Wire Welding frock, it is characterized in that: it comprises frame, and frame is fixed with spring base, and spring base is connected with slidable adjustment mechanism by lifting shaft, and slidable adjustment mechanism and gun rack are fixed together.
2. Double Wire Welding frock according to claim 1, it is characterized in that: described slidable adjustment mechanism comprises the road wheel fixed head that is fixed on the lifting shaft, the wheel shaft that connects before and after being equipped with on the road wheel fixed head, the wheel shaft front end is equipped with horizontal movable pulley, the wheel shaft rear end is equipped with the longitudinal sliding motion wheel, laterally is embedded with cross slide between the movable pulley, and cross slide and gun rack are fixed together, be embedded with longitudinal slide between the longitudinal sliding motion wheel, longitudinal slide is fixed on the frame.
3. Double Wire Welding frock according to claim 2 is characterized in that: described lifting shaft is fixed together by connecting pin and road wheel fixed head.
CN2010201222088U 2010-03-03 2010-03-03 Double-wire welding tooling Expired - Fee Related CN201625843U (en)

Priority Applications (1)

Application Number Priority Date Filing Date Title
CN2010201222088U CN201625843U (en) 2010-03-03 2010-03-03 Double-wire welding tooling

Applications Claiming Priority (1)

Application Number Priority Date Filing Date Title
CN2010201222088U CN201625843U (en) 2010-03-03 2010-03-03 Double-wire welding tooling

Publications (1)

Publication Number Publication Date
CN201625843U true CN201625843U (en) 2010-11-10

Family

ID=43057228

Family Applications (1)

Application Number Title Priority Date Filing Date
CN2010201222088U Expired - Fee Related CN201625843U (en) 2010-03-03 2010-03-03 Double-wire welding tooling

Country Status (1)

Country Link
CN (1) CN201625843U (en)

Cited By (1)

* Cited by examiner, † Cited by third party
Publication number Priority date Publication date Assignee Title
CN107442975A (en) * 2017-08-03 2017-12-08 杭州新松机器人自动化有限公司 Double wire welding platform

Cited By (2)

* Cited by examiner, † Cited by third party
Publication number Priority date Publication date Assignee Title
CN107442975A (en) * 2017-08-03 2017-12-08 杭州新松机器人自动化有限公司 Double wire welding platform
CN107442975B (en) * 2017-08-03 2019-03-01 杭州新松机器人自动化有限公司 Double Wire Welding platform

Similar Documents

Publication Publication Date Title
CN202963769U (en) Full-automatic hydraulic link butt welding machine
CN102873448A (en) Self-adaption floatation pressure device for spot welding machine
CN204057213U (en) Intelligence Handling device
CN204160057U (en) A kind of double tool section bonding machine
CN203944987U (en) The welding tooling of wheel cover of automobile
CN201625843U (en) Double-wire welding tooling
CN203448899U (en) Oil cylinder shaft automatic rotating welding device
CN102554450A (en) Multi-layer electrode ultrasonic manipulator welding equipment for power battery
CN202192126U (en) Double movable side shaping mechanism for outer panel male die
CN101585125A (en) Lead the arc rack device in the H shaped steel horizontal assembly and welding integrated machine
CN201783772U (en) Welding bead extrusion mechanism for welding bead production
CN203418776U (en) Oil cylinder floating type press machine
CN202595323U (en) Frame of electrical etching machine
CN103801682B (en) A kind of automatic casting device
CN203401290U (en) Device for automatically installing screw
CN207189074U (en) A kind of elevator safety gear shell plate-side plate welding fixture
CN205519225U (en) Head mould is clapped to leaf spring grasswort
CN204368320U (en) A kind of carrying out front bumper of saloon car assembles the frock regulated
CN102689320A (en) Afteredge cutting mechanism of automotive interior ceiling
CN204122960U (en) Welding mechanism
CN202984943U (en) Upright H-shaped steel clamping device
CN201752823U (en) Angle welding machine for double guide wheel
CN203109501U (en) Bucket rod lug plate overlap welding die
CN204771111U (en) Welding machine welding wheel pressure device
CN201940740U (en) Welding device of lead frame

Legal Events

Date Code Title Description
C14 Grant of patent or utility model
GR01 Patent grant
C17 Cessation of patent right
CF01 Termination of patent right due to non-payment of annual fee

Granted publication date: 20101110

Termination date: 20130303