CN201613384U - 复合钻头 - Google Patents
复合钻头 Download PDFInfo
- Publication number
- CN201613384U CN201613384U CN2010201409427U CN201020140942U CN201613384U CN 201613384 U CN201613384 U CN 201613384U CN 2010201409427 U CN2010201409427 U CN 2010201409427U CN 201020140942 U CN201020140942 U CN 201020140942U CN 201613384 U CN201613384 U CN 201613384U
- Authority
- CN
- China
- Prior art keywords
- drill bit
- chamfering
- section
- utility
- cutting
- Prior art date
- Legal status (The legal status is an assumption and is not a legal conclusion. Google has not performed a legal analysis and makes no representation as to the accuracy of the status listed.)
- Expired - Fee Related
Links
- 150000001875 compounds Chemical class 0.000 title abstract 4
- 239000002131 composite material Substances 0.000 claims description 8
- 238000000034 method Methods 0.000 abstract description 5
- 230000007704 transition Effects 0.000 abstract 3
- 238000009434 installation Methods 0.000 abstract 1
- 238000004519 manufacturing process Methods 0.000 description 2
- 230000009286 beneficial effect Effects 0.000 description 1
- 230000015572 biosynthetic process Effects 0.000 description 1
- 238000010586 diagram Methods 0.000 description 1
- 238000005516 engineering process Methods 0.000 description 1
- 238000003801 milling Methods 0.000 description 1
- 238000012986 modification Methods 0.000 description 1
- 230000004048 modification Effects 0.000 description 1
Images
Landscapes
- Drilling Tools (AREA)
Abstract
本实用新型涉及机床加工刀具技术领域,尤其是一种复合钻头。它包括一个柄部和一个钻头头部,柄部和钻头头部一体式连接,所述的钻头头部由倒角段、过渡段和带切削刃的切削段组成,倒角段位于柄部和过渡段之间,倒角段上开有与过渡段衔接的倒角刃口。该复合钻头既可以钻孔,又可以对工件进行倒角,只需安装一次即可完成两道工序,操作简便,节省了时间,提高了工作效率。
Description
技术领域
本实用新型涉及机床加工刀具技术领域,尤其是一种复合钻头。
背景技术
一般工件的加工都需要多道工序,如铣端面、车外圆、镗孔、钻孔、倒圆角等这些工序是不可缺少的。不同工序所用刀具都不一样,车外圆需要车刀,钻孔需要钻头,因此每完成一道工序,都需要更换刀具,每次更换刀具还要进行对刀,这样操作比较麻烦,浪费时间,生产效率也比较低,另外经常更换刀具容易对刀盘造成损坏。
实用新型内容
本实用新型要解决的技术问题是:为了解决工件加工需要经常更换刀具,操作麻烦,生产效率低等问题,提供了一种复合钻头。
本实用新型解决其技术问题所采用的技术方案是:一种复合钻头,包括一个柄部和一个钻头头部,柄部和钻头头部一体式连接,所述的钻头头部由倒角段、过渡段和带切削刃的切削段组成,倒角段位于柄部和过渡段之间,倒角段上开有与过渡段衔接的倒角刃口。
本实用新型的有益效果是:该复合钻头既可以钻孔,又可以对工件进行倒角,只需安装一次即可完成两道工序,操作简便,节省了时间,提高了工作效率。
附图说明
下面结合附图和实施例对本实用新型进一步说明。
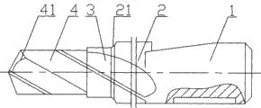
图1是本实用新型的结构示意图。
图中1.柄部,2.倒角段,21.倒角刃口,3.过渡段,4.切削段,41.切削刃。
具体实施方式
现在结合附图对本实用新型作进一步详细的说明。这些附图均为简化的示意图,仅以示意方式说明本实用新型的基本结构,因此其仅显示与本实用新型有关的构成。
如图1所示,一种复合钻头,包括一个柄部1和一个钻头头部,柄部1和钻头头部一体式连接,所述的钻头头部由倒角段2、过渡段3和带切削刃41的切削段4组成,倒角段2位于柄部1和过渡段3之间,倒角段2上开有与过渡段3衔接的倒角刃口21。
该复合钻头的切削段4可用于对工件进行钻孔,倒角段2上的倒角刃口21可以对工件倒角,只需安装一次即可完成两道工序,操作简便,节省了时间,提高了工作效率。
以上述依据本实用新型的理想实施例为启示,通过上述的说明内容,相关工作人员完全可以在不偏离本项实用新型技术思想的范围内,进行多样的变更以及修改。本项实用新型的技术性范围并不局限于说明书上的内容,必须要根据权利要求范围来确定其技术性范围。
Claims (1)
1.一种复合钻头,包括一个柄部(1)和一个钻头头部,柄部(1)和钻头头部一体式连接,其特征是:所述的钻头头部由倒角段(2)、过渡段(3)和带切削刃(41)的切削段(4)组成,倒角段(2)位于柄部(1)和过渡段(3)之间,倒角段(2)上开有与过渡段(3)衔接的倒角刃口(21)。
Priority Applications (1)
| Application Number | Priority Date | Filing Date | Title |
|---|---|---|---|
| CN2010201409427U CN201613384U (zh) | 2010-03-24 | 2010-03-24 | 复合钻头 |
Applications Claiming Priority (1)
| Application Number | Priority Date | Filing Date | Title |
|---|---|---|---|
| CN2010201409427U CN201613384U (zh) | 2010-03-24 | 2010-03-24 | 复合钻头 |
Publications (1)
| Publication Number | Publication Date |
|---|---|
| CN201613384U true CN201613384U (zh) | 2010-10-27 |
Family
ID=42999756
Family Applications (1)
| Application Number | Title | Priority Date | Filing Date |
|---|---|---|---|
| CN2010201409427U Expired - Fee Related CN201613384U (zh) | 2010-03-24 | 2010-03-24 | 复合钻头 |
Country Status (1)
| Country | Link |
|---|---|
| CN (1) | CN201613384U (zh) |
Cited By (1)
| Publication number | Priority date | Publication date | Assignee | Title |
|---|---|---|---|---|
| CN108284242A (zh) * | 2018-01-16 | 2018-07-17 | 重庆百吉四兴压铸有限公司 | 一种钻头 |
-
2010
- 2010-03-24 CN CN2010201409427U patent/CN201613384U/zh not_active Expired - Fee Related
Cited By (2)
| Publication number | Priority date | Publication date | Assignee | Title |
|---|---|---|---|---|
| CN108284242A (zh) * | 2018-01-16 | 2018-07-17 | 重庆百吉四兴压铸有限公司 | 一种钻头 |
| CN108284242B (zh) * | 2018-01-16 | 2019-06-21 | 重庆百吉四兴压铸有限公司 | 一种钻头 |
Similar Documents
| Publication | Publication Date | Title |
|---|---|---|
| CN202506879U (zh) | 一次成型钻刀具 | |
| CN202591742U (zh) | 一种反向倒角刀具 | |
| CN201871786U (zh) | 钻孔、倒角、铣螺纹复合立铣刀 | |
| CN202539726U (zh) | 一种兼具钻孔、螺纹和倒角功能的硬质合金复合刀具 | |
| CN203918040U (zh) | 复合刀具 | |
| CN207239240U (zh) | 一种快速钻及扩孔倒角刀 | |
| CN208391098U (zh) | 一种换挡箱专用复合钻铰铣刀 | |
| CN201470954U (zh) | 一种多用钻头 | |
| CN201613384U (zh) | 复合钻头 | |
| CN203197397U (zh) | 去毛刺刀 | |
| CN102275018A (zh) | 一种钻攻一体复合丝锥 | |
| CN202162425U (zh) | 一种钻铰复合刀具 | |
| CN102581396A (zh) | 一种钻铣螺纹刀 | |
| CN202804285U (zh) | 一种具有孔口倒角功能的钻铣刀 | |
| CN202151714U (zh) | 一种钻铰刀 | |
| CN201684962U (zh) | 一种钻头 | |
| CN104551245A (zh) | 复合铰刀 | |
| CN104551104A (zh) | 台阶微型钻头 | |
| CN201089027Y (zh) | 钻铣组合刀具 | |
| CN204135347U (zh) | 钻、镗、车多功能车削工具 | |
| CN103551634A (zh) | 一种直槽钻 | |
| CN202162426U (zh) | 一种钻攻一体复合丝锥 | |
| CN210172564U (zh) | 一种活塞加工刀具及具有该刀具的活塞加工车床 | |
| CN203030946U (zh) | 数控车床专用多功能刀具夹具 | |
| CN202398872U (zh) | 一种磨钻一体式铣刀盘 |
Legal Events
| Date | Code | Title | Description |
|---|---|---|---|
| C14 | Grant of patent or utility model | ||
| GR01 | Patent grant | ||
| C17 | Cessation of patent right | ||
| CF01 | Termination of patent right due to non-payment of annual fee |
Granted publication date: 20101027 Termination date: 20110324 |