CN201601554U - 马达 - Google Patents

马达 Download PDF

Info

Publication number
CN201601554U
CN201601554U CN2009202720764U CN200920272076U CN201601554U CN 201601554 U CN201601554 U CN 201601554U CN 2009202720764 U CN2009202720764 U CN 2009202720764U CN 200920272076 U CN200920272076 U CN 200920272076U CN 201601554 U CN201601554 U CN 201601554U
Authority
CN
China
Prior art keywords
shaft tube
assembly hole
central siphon
motor according
wall
Prior art date
Legal status (The legal status is an assumption and is not a legal conclusion. Google has not performed a legal analysis and makes no representation as to the accuracy of the status listed.)
Expired - Lifetime
Application number
CN2009202720764U
Other languages
English (en)
Inventor
洪银树
Current Assignee (The listed assignees may be inaccurate. Google has not performed a legal analysis and makes no representation or warranty as to the accuracy of the list.)
Sunonwealth Electric Machine Industry Co Ltd
Original Assignee
Sunonwealth Electric Machine Industry Co Ltd
Priority date (The priority date is an assumption and is not a legal conclusion. Google has not performed a legal analysis and makes no representation as to the accuracy of the date listed.)
Filing date
Publication date
Application filed by Sunonwealth Electric Machine Industry Co Ltd filed Critical Sunonwealth Electric Machine Industry Co Ltd
Priority to CN2009202720764U priority Critical patent/CN201601554U/zh
Application granted granted Critical
Publication of CN201601554U publication Critical patent/CN201601554U/zh
Anticipated expiration legal-status Critical
Expired - Lifetime legal-status Critical Current

Links

Images

Landscapes

  • Motor Or Generator Frames (AREA)

Abstract

一种马达,至少包含一基座、一定子组及一转子。该基座设有一轴管,该轴管具有一外周壁;该定子组结合于该基座的轴管,该定子组具有一组装孔,该组装孔的内侧孔壁与该轴管的外周壁之间形成数个紧配合部,各该紧配合部之间分别具有一调整间隙;该转子具有一中心轴,该中心轴可旋转地结合该基座的轴管。借助该调整间隙的简易结构设计,即可有效解决该定子组容易过度压迫该轴管的问题。

Description

马达
技术领域
本实用新型是关于一种马达,尤其是一种可防止轴管变形的马达。
背景技术
目前市面上常见的现有马达,大致可区分为具有金属轴管的马达及具有塑料轴管的马达。
请参照图1所示,如中国台湾公告第384947号《散热扇马达的金属管及其轴承构造》专利案,揭示一种具有金属轴管的马达。该现有马达7是将一金属轴管71结合于一壳座72,并具有紧配合于该金属轴管71的外周壁的一定子座73;另外,该金属轴管71内设置数个轴承74,该数个轴承74可供一转子75枢接结合。
然而,在实际进行组装的过程中,该定子座73一般是以紧配合方式结合于该金属轴管71的外周壁,只是假设该定子座73与该金属轴管71之间的结合状态过于紧密时,将导致该定子座73过度压迫该金属轴管71;此时,由于该定子座73与该金属轴管71之间并无可防止或缓冲变形的结构设计,因此,造成该金属轴管71容易受该定子座73的压迫而变形,其变形后的金属轴管71同样也会直接压迫该轴承74,使该轴承74容易产生变形、损坏或中心偏位等诸多问题,进而降低该马达7的使用寿命。再者,该现有马达7在金属轴管71的加工步骤上较为困难,且必须浪费多余人力将该金属轴管71组装于该壳座72上,造成组装上的诸多不便,并相对增加制造成本。
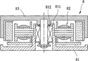
又如图2所示,是揭示一种具有塑料轴管的马达。该现有马达8主要包含一基座81、一定子82及一转子83。该基座81具有一塑料轴管811,该塑料轴管811内设置一轴承812;该定子82结合于该塑料轴管811的外周面;该转子83可旋转地结合该轴承812;借此,该定子82可带动该转子83旋转工作。
该现有马达8的塑料轴管811可采用一体射出成型,因此,相较于上述具有金属轴管71的马达7,具有制作成型容易、组装方便及降低制造成本等优点;然而,在实际进行组装的过程中,该定子82也可采用紧配合方式结合该塑料轴管811的外周壁,由于该定子82与该塑料轴管811之间同样未具有可防止或缓冲变形的结构设计,当该定子82过度压迫该塑料轴管811时,由于该塑料轴管811的结构强度不及金属轴管,因此,更容易造成该塑料轴管811变形。
为改善上述具有塑料轴管的马达8所可能产生的相关问题,请参照图3所示,为中国台湾公告第519259号《直流风扇轴承固定装置的改良结构》专利案;该现有马达9具有一轴座91,该轴座91设有一中空环槽911,使该轴座91形成由一内环912及外环913所构成的双层结构;借此,该内环912可供结合一轴承92,并于该外环913外部套设一定子组93,且该中空环槽911内设置一挡环94,以便利用该挡环94支撑该外环913,以防止该轴座91于结合该定子组93的过程中产生变形,并进一步避免该轴座91过度压迫该轴承92。然而,该现有马达9的轴座91的结构组成过于复杂,反而造成导致该轴座91的制作成型更为困难,仍有改善的必要。
实用新型内容
本实用新型目的是提供一种马达,用以解决现有马达在组装时,其定子容易过度压迫轴管的问题。
本实用新型另一目的是提供一种借助简易的结构设计,即可有效防止轴管产生变形的马达。
本实用新型马达至少包含一基座、一定子组及一转子。该基座设有一轴管,该轴管具有一外周壁;该定子组结合于该基座的轴管,该定子组具有一组装孔,该组装孔的内侧孔壁与该轴管的外周壁之间形成数个紧配合部,各该紧配合部之间分别具有一调整间隙;该转子具有一中心轴,该中心轴可旋转地结合该基座的轴管。
本实用新型的有益技术效果在于:本实用新型马达确可借助该调整间隙的简易结构设计,以提供该轴管作为弹性变形空间的功能,用以有效解决马达在组装时,该定子组容易过度压迫该轴管的问题,以确保该轴管不会产生变形等问题,并兼可提升组装便利性;借此,可达到提升该马达的使用寿命、减少旋转噪音及提升产品品质等诸多功效。
附图说明
图1:现有具有金属轴管的马达的组合剖视图。
图2:现有具有塑料轴管的马达的组合剖视图。
图3:另一种现有马达的组合剖视图。
图4:本实用新型马达的紧配合部及调整间隙的第一种实施方式的立体分解图。
图5:本实用新型马达的紧配合部及调整间隙的第一种实施方式的的组合剖视图。
图6:本实用新型马达的紧配合部及调整间隙的第一种实施方式的的俯视剖视图。
图7:本实用新型马达的紧配合部及调整间隙的第二种实施方式的立体分解图。
图8:本实用新型马达的紧配合部及调整间隙的第二种实施方式的的组合剖视图。
图9:本实用新型马达的紧配合部及调整间隙的第二种实施方式的的俯视剖视图。
图10:本实用新型马达的紧配合部及调整间隙的第三种实施方式的的组合剖视图。
图11:本实用新型马达的紧配合部及调整间隙的第三种实施方式的的俯视剖视图。
图12:本实用新型马达的紧配合部及调整间隙的第四种实施方式的立体分解图。
图13:本实用新型马达的紧配合部及调整间隙的第四种实施方式的的俯视剖视图。
图14:本实用新型马达的紧配合部及调整间隙的第四种实施方式具有定位槽时的立体分解图。
图15:本实用新型马达的紧配合部及调整间隙的第四种实施方式具有定位槽时的组合剖视图。
图16:本实用新型马达作为散热风扇的组合剖视图。
主要元件符号说明:
1基座        11轴管         111外周壁    112开口
113凸柱      114隆起区段    115封闭部    12轴承
121轴孔      13耐磨片       14扣持片
2定子组      21组装孔       211凸肋      212环凸缘
213定位槽    22硅钢片       23线圈       24绝缘套
3转子        31轮毂         311中心轴    312叶片
32永久磁铁   4紧配合部      5调整间隙    6框体
61连接件     62入风口       63出风口     7马达
71金属轴管   72壳座         73定子座     74轴承
75转子       8马达          81基座       811轴管
812轴承      82定子         83转子       9马达
91轴座       911中空环槽    912内环      913外环
92轴承       93定子组       94挡环
具体实施方式
为让本实用新型的上述及其他目的、特征及优点能更明显易懂,下文特举本实用新型的较佳实施例,并配合附图,作详细说明如下:
请参照图4及5所示,本实用新型马达至少包含一基座1、一定子组2及一转子3。该基座1可供结合该定子组2及该转子3;该定子组2则用以驱动该转子3旋转工作。
该基座1设有一轴管11,该轴管11可选用金属轴管或塑料轴管,较佳为塑料轴管。该轴管11具有一外周壁111,并于该轴管11的一端形成一开口112。另外,该轴管11设置至少一轴承12,该至少一轴承12可经由该开口112结合于该轴管11的内部,于如图所示实施例中,揭示该轴承12数量为一个,且该轴承12设有一轴孔121;再者,该轴管11较佳设有如耐磨片13或扣持片14等构件。
该定子组2结合于该基座1,且该定子组2具有一组装孔21,该组装孔21可供该轴管11穿伸通过。另外,于本实施例中,该定子组2用以驱动该转子3旋转工作,因此,该定子组2可由数个硅钢片22(也可将数个硅钢片22一体成型为单一个体)、数个线圈23及二绝缘套24所组成;其中各该硅钢片22相互堆叠且共同形成有该组装孔21,该二绝缘套24结合堆叠为一体的各该硅钢片22的二端,各该线圈23可卷绕于各该硅钢片22及该二绝缘套24的预定部位。
更详言之,如图6所示,在该定子组2结合该基座1的轴管11时,该组装孔21的内侧孔壁与该轴管11的外周壁111之间可形成数个紧配合部4,借此使该定子组2与该轴管11之间可呈紧配合状态;另外,同样在该组装孔21的内侧孔壁与该轴管11的外周壁111之间,各该紧配合部4之间则分别具有一调整间隙5。
该转子3包含一轮毂31及一永久磁铁32。该轮毂31设有一中心轴311,该中心轴311可旋转地结合该基座1的轴管11,使该中心轴311可穿伸该轴承12的轴孔121;该永久磁铁32则为结合于该轮毂31的内侧周壁的一环形体,且该永久磁铁32与该定子组2之间具有一气隙。
本实用新型马达于实际使用时,该定子组2可产生交变磁场,并通过该气隙与该永久磁铁32产生作用,进而带动该转子3进行旋转。
本实用新型马达的主要特点在于:利用该组装孔21的内侧孔壁与该轴管11的外周壁之间所形成数个紧配合部4,可使该定子组2以紧配合方式结合于该轴管11的外周壁,令该定子组2与该轴管11之间具有较佳的结合稳固性;更重要的是,由于各该紧配合部4之间分别具有该调整间隙5,因此,即使该定子组2与该轴管11呈紧配合状态,但仍可借助该调整间隙5确实防止该定子组2过度压迫该轴管11,以有效避免该轴管11因直接压迫该轴承12,而导致该轴承12产生变形、损坏或中心偏位等诸多问题;再者,当该轴管11为塑料轴管时,如该轴管11因热胀冷缩而产生变形,也可利用该调整间隙5的缓冲作用,同样可防止该定子组2过度压迫该轴管11。整体而言,本实用新型的各该紧配合部4之间所分别形成的该调整间隙5,具有可供该轴管11作为弹性变形空间的功能。
借助上述本实用新型马达的结构设计概念,本实用新型马达的紧配合部4及调整间隙5可为以下数种不同的实施方式:
请参照图4、5及6所示,为该紧配合部4及调整间隙5的第一种实施方式。其中该紧配合部4可为形成于该组装孔21的内侧孔壁的至少一凸部(如凸肋、凸粒或其他具有相同功能的结构设计),该轴管11于径向上具有一外管径D,借助该至少一凸部的设计,令该组装孔21的最小孔径小于该轴管11的外管径D,使该定子组2可更紧密的结合于该轴管11的外周壁111;另外,于本实施例中,该凸部为凸肋211设计,该凸肋211为两个(也可视需求仅选用一个),该二凸肋211可轴向延伸于该组装孔21的内侧孔壁,该凸肋211抵接于该轴管11的外周壁111,该凸肋211与该轴管11呈紧配合的接触面上具有一轴向高度H,该调整间隙5的轴向延伸范围与该轴向高度H对齐;因此,该轴管11受该定子组2压迫而产生变形的部位,可更容易地利用该轴向延伸的调整间隙5作为弹性变形空间。
请参照图7、8及9所示,为该紧配合部4及调整间隙5的第二种实施方式。其中该紧配合部4同样可为形成于该组装孔21的内侧孔壁的至少一凸部(如凸环或其他具有相同功能的结构设计),借助该至少一凸部的设计,令该组装孔21的最小孔径小于该轴管11的外管径D,使该定子组2可更紧密的结合于该轴管11的外周壁111;另外,于本实施例中,该凸部为环凸缘212设计,该环凸缘212为两个(也可视需求仅选用一个),该二环凸缘212可轴向排列形成于该组装孔21的内侧孔壁,该环凸缘212抵接于该轴管11的外周壁111,该调整间隙5是位于该环凸缘212的两侧;因此,该轴管11受该定子组2压迫而产生变形的部位,同样可利用该调整间隙5作为弹性变形空间。
请参照图10及11所示,为该紧配合部4及调整间隙5的第三种实施方式。该定子组2的组装孔21在其径向截面上为非正圆孔,使该组装孔21的最小孔径小于该轴管11的外管径D;或者,该轴管11在其径向截面上为非正圆管,使该轴管11的最大外管径D大于该组装孔21的孔径(如图11所示);借此,无论选择令该组装孔21为非正圆孔或该轴管11为非正圆管的条件下,皆可同时形成如图所示的两个相对的紧配合部4,该二个相对紧配合部4之间即为该调整间隙5;因此,该轴管11受该定子组2压迫而产生变形的部位,可利用该调整间隙5作为弹性变形空间;再者,相较于上述第一种及第二种实施方式,本实施例的定子组2及轴管11的结构相对简单,可有效降低制造成本。
请参照图12及13所示,为该紧配合部4及调整间隙5的第四种实施方式。其中该紧配合部4为形成于该轴管11的外周壁111的至少一凸柱113,该至少一凸柱113轴向延伸于该轴管11的外周壁111,借助该至少一凸柱113的设计,令该轴管11的最大外管径D大于该组装孔21的孔径,使该至少一凸柱113可抵接于该定子组2的组装孔21的内侧孔壁,进而形成该紧配合部4,在该组装孔21的内侧孔壁与该轴管11的外周壁111之间,该至少一凸柱113以外的区域即为该调整间隙5;因此,该轴管11可借助该凸柱113提升结构强度,使该轴管11受该定子组2压迫时可有效防止变形,并同样可利用该调整间隙5作为弹性变形空间。再者,相较于上述于该定子组2的组装孔21形成如凸肋211或环凸缘212等设计,本实施例将该凸柱113直接形成于该轴管11上,除具有提升该轴管11结构强度的功效外,由于该轴管11成型较为容易,故该紧配合部4在制作上更为简易方便。
更详言之,如图14及15所示,基于上述第四种实施方式,该定子组2的组装孔21的内侧孔壁可进一步形成一定位槽213,该定位槽213轴向延伸于该组装孔21的内侧孔壁;另外,该形成于轴管11的外周壁111的其中一凸柱113可结合该定位槽213,且与该定位槽213结合的该凸柱113形成一隆起区段114,该隆起区段114可抵接该定位槽213的内侧槽壁。借此,可在不影响该定子组2与该轴管11紧配合关系的条件下,利用该定位槽213的设计,使该定子组2可更容易与该轴管11完成组装作业,以提供较佳的组装便利性。
借助上述本实用新型马达的结构设计概念,本实用新型马达也可进一步包含如下所述的至少一附属结构特征或其组合,使本实用新型马达的功能更趋近于完善,其中:
所述该轴管11的另一端可形成一封闭部115(如图4所示)。借此,该封闭部115可提供如防漏油等效果,另当该定子组2与该轴管11之间的结合状态过于紧密时,该封闭部115仍可确保该轴管11的另一端的变形量不至于过大。
所述封闭部115位于该轴管11内部的一侧表面可为平面。借此,该中心轴311在组装过程中,可更容易定位,并确保该中心轴311组装后的垂直度较佳。
所述如图4、7及10所揭示的实施方式,在不影响该紧配合部4及调整间隙5的功能的条件下,也可设计具有如图14所示的定位槽213及凸柱113等设计,其详细结构特征与上述相同不再赘述。借此,同样可提供较佳的组装便利性。
本实用新型马达另可应用于散热风扇结构,如鼓风式散热风扇或轴流式散热风扇。请参照图16所示,揭示本实用新型马达应用于轴流式散热风扇;其中该基座1可直接以数个连接件61(如肋条或静叶)外接一框体6,以形成具有一入风口62及一出风口63的扇框结构;另外,该转子3的轮毂31可径向延伸出数个叶片312。借此,该散热风扇可装设于各式电子装置或电子仪器,当该转子3旋转工作时,该叶片312可自该入风口62引入外界的气流,并将该气流自该出风口63导出至一热源位置,以达到预定的散热作用。
由上得知,本实用新型马达确可借助该调整间隙5的简易结构设计,以提供该轴管11作为弹性变形空间的功能,用以有效解决马达在组装时,该定子组2容易过度压迫该轴管11的问题,以确保该轴管11不会产生变形等问题,并兼可提升组装便利性;借此,可达到提升该马达的使用寿命、减少旋转噪音及提升产品品质等诸多功效。

Claims (12)

1.一种马达,其特征在于包含:
一个基座,设有一个轴管,该轴管具有外周壁;
一个定子组,结合于该基座的轴管,该定子组具有一个组装孔,该组装孔的内侧孔壁与该轴管的外周壁之间形成数个紧配合部,各该紧配合部之间分别具有调整间隙;及
一个转子,具有一个中心轴,该中心轴结合该基座的轴管。
2.依权利要求1所述的马达,其特征在于:该紧配合部为形成于该组装孔的内侧孔壁的至少一个凸部,该轴管于径向上具有一个外管径,该组装孔的最小孔径小于该轴管的外管径。
3.依权利要求2所述的马达,其特征在于:该凸部为凸肋,该凸肋轴向延伸于该组装孔的内侧孔壁,并抵接于该轴管的外周壁,且与该轴管呈紧配合的接触面上具有一个轴向高度,该调整间隙的轴向延伸范围与该轴向高度对齐。
4.依权利要求2所述的马达,其特征在于:该凸部为形成于该组装孔的内侧孔壁的环凸缘,该环凸缘形成于该组装孔的内侧孔壁,该环凸缘抵接于该轴管的外周壁,该调整间隙位于该环凸缘的两侧。
5.依权利要求1所述的马达,其特征在于:该定子组的组装孔在径向截面上为非正圆孔,该组装孔的最小孔径小于该轴管的外管径,形成两个相对的紧配合部。
6.依权利要求1所述的马达,其特征在于:该轴管在径向截面上为非正圆形,该轴管的最大外管径大于该组装孔的孔径,形成两个相对的紧配合部。
7.依权利要求1所述的马达,其特征在于:该紧配合部为形成于该轴管的外周壁的至少一个凸柱,该至少一个凸柱轴向延伸于该轴管的外周壁,该轴管的最大外管径大于该组装孔的孔径。
8.依权利要求7所述的马达,其特征在于:该凸柱为至少两个,该定子组的组装孔的内侧孔壁形成一个定位槽,该定位槽轴向延伸于该组装孔的内侧孔壁,该形成于轴管的外周壁的其中一个凸柱结合该定位槽。
9.依权利要求8所述的马达,其特征在于:与该定位槽结合的该凸柱形成一个隆起区段,该隆起区段抵接该定位槽的内侧槽壁。
10.依权利要求1、2、3、4、5、6、7、8或9所述的马达,其特征在于:该轴管的另一端形成一个封闭部。
11.依权利要求10所述的马达,其特征在于:该封闭部位于该轴管内部的一侧表面为平面。
12.依权利要求1、2、3、4、5、6、7、8或9所述的马达,其特征在于:该基座以数个连接件外接一个框体,形成具有一个入风口及一个出风口的扇框结构,该转子径向延伸出数个叶片。
CN2009202720764U 2009-12-23 2009-12-23 马达 Expired - Lifetime CN201601554U (zh)

Priority Applications (1)

Application Number Priority Date Filing Date Title
CN2009202720764U CN201601554U (zh) 2009-12-23 2009-12-23 马达

Applications Claiming Priority (1)

Application Number Priority Date Filing Date Title
CN2009202720764U CN201601554U (zh) 2009-12-23 2009-12-23 马达

Publications (1)

Publication Number Publication Date
CN201601554U true CN201601554U (zh) 2010-10-06

Family

ID=42812614

Family Applications (1)

Application Number Title Priority Date Filing Date
CN2009202720764U Expired - Lifetime CN201601554U (zh) 2009-12-23 2009-12-23 马达

Country Status (1)

Country Link
CN (1) CN201601554U (zh)

Cited By (3)

* Cited by examiner, † Cited by third party
Publication number Priority date Publication date Assignee Title
CN102111022A (zh) * 2009-12-23 2011-06-29 建准电机工业股份有限公司 马达
CN102832748A (zh) * 2011-06-15 2012-12-19 昆山广兴电子有限公司 马达及其组装方法
CN107516959A (zh) * 2016-06-16 2017-12-26 庆奇企业股份有限公司 直流马达

Cited By (5)

* Cited by examiner, † Cited by third party
Publication number Priority date Publication date Assignee Title
CN102111022A (zh) * 2009-12-23 2011-06-29 建准电机工业股份有限公司 马达
CN102111022B (zh) * 2009-12-23 2013-09-04 建准电机工业股份有限公司 马达
CN102832748A (zh) * 2011-06-15 2012-12-19 昆山广兴电子有限公司 马达及其组装方法
CN102832748B (zh) * 2011-06-15 2015-04-01 昆山广兴电子有限公司 马达及其组装方法
CN107516959A (zh) * 2016-06-16 2017-12-26 庆奇企业股份有限公司 直流马达

Similar Documents

Publication Publication Date Title
CN201601554U (zh) 马达
JP2013224632A (ja) 送風機
CN103812268A (zh) 旋转电机
CN101931300B (zh) 无刷直流马达及其定子
CN102111022A (zh) 马达
CN106533008A (zh) 转子、电机和压缩机
WO2017193513A1 (zh) 双轴伸外转子电机及应用其的风机
CN201307810Y (zh) 电机转子及电机
CN201528245U (zh) 马达及具有该马达的散热风扇
WO2021258676A1 (zh) 电机外转子、无刷永磁电机和电气产品
CN201541161U (zh) 马达
CN201230265Y (zh) 无刷直流马达
CN201478938U (zh) 封闭式工具机的散热架构
CN201478976U (zh) 无刷直流马达及其定子
CN202178632U (zh) 可防止转子脱出的马达及其防脱出组件
CN215762325U (zh) 一种风机模组及其外转子送风组件
CN201639401U (zh) 具有轴向气隙的微型马达
JP4423919B2 (ja) 遠心送風機及びこれを用いた空気調和機
CN201466819U (zh) 电机转子及电机
CN202221952U (zh) 具有轴向气隙的马达
CN117543852A (zh) 定子组件和电机
CN201639402U (zh) 具有轴向气隙的微型马达
CN212162960U (zh) 电机外转子、无刷永磁电机和电气产品
CN211830456U (zh) 一种永磁电机转子
CN103717904B (zh) 贯流式风扇

Legal Events

Date Code Title Description
C14 Grant of patent or utility model
GR01 Patent grant
CP02 Change in the address of a patent holder
CP02 Change in the address of a patent holder

Address after: The new Taiwan China Ya Lu Kaohsiung City No. 30 Lane 296

Patentee after: Jianzhun Electric Motor Industry Co., Ltd.

Address before: Are China Taiwan Lingya Kaohsiung No. 120 12 floor 1

Patentee before: Jianzhun Electric Motor Industry Co., Ltd.

CX01 Expiry of patent term
CX01 Expiry of patent term

Granted publication date: 20101006