CN201600215U - Force measuring wheel set static calibration test bench - Google Patents
Force measuring wheel set static calibration test bench Download PDFInfo
- Publication number
- CN201600215U CN201600215U CN2010201133722U CN201020113372U CN201600215U CN 201600215 U CN201600215 U CN 201600215U CN 2010201133722 U CN2010201133722 U CN 2010201133722U CN 201020113372 U CN201020113372 U CN 201020113372U CN 201600215 U CN201600215 U CN 201600215U
- Authority
- CN
- China
- Prior art keywords
- force
- measuring wheel
- bearing
- pair
- measuring
- Prior art date
- Legal status (The legal status is an assumption and is not a legal conclusion. Google has not performed a legal analysis and makes no representation as to the accuracy of the status listed.)
- Expired - Lifetime
Links
Images
Landscapes
- Investigating Strength Of Materials By Application Of Mechanical Stress (AREA)
Abstract
本实用新型公开了一种测力轮对静态标定试验台,其包括:承载底座;一对测力轮对定位装置,其设置在承载底座上方的左右两侧,且每个测力轮对定位装置分别可调节地连接在所述测力轮对的轴端上;一对垂向力标定承载装置,其设置在承载底座的上方,并分别位于测力轮对定位装置的内侧,每个垂向力标定承载装置分别可移动地连接在所述测力轮对的底部,且均具有测力传感器;能对测力轮对进行加减载的加载装置。本实用新型通过一对测力轮对定位装置即可适用各种不同类型的测力轮对的标定定位,具有广泛的适应性。
The utility model discloses a test bench for static calibration of a force-measuring wheel set, which comprises: a load-bearing base; The devices are respectively adjustably connected to the shaft ends of the force measuring wheel pair; a pair of vertical force calibration bearing devices are arranged above the bearing base and respectively located inside the force measuring wheel pair positioning device, each vertical The load-bearing devices for force calibration are respectively movably connected to the bottom of the force-measuring wheelset, and each has a force-measuring sensor; a loading device capable of adding or deloading the force-measuring wheelset. The utility model can be applied to calibration and positioning of various types of force-measuring wheel sets through a pair of force-measuring wheel-set positioning devices, and has wide adaptability.
Description
技术领域technical field
本实用新型是有关于一种用于机车车辆测力轮对静态标定的试验设备,特别是有关于一种测力轮对静态标定试验台,其主要用于测力轮对承受垂向力与其输出关系的测量确定。The utility model relates to a test device for static calibration of a force-measuring wheel set of a locomotive, in particular to a static calibration test bench for a force-measuring wheel set, which is mainly used for the force-measuring wheel set to bear vertical force and its The measurement of the output relationship is determined.
背景技术Background technique
测力轮对静态标定试验台是用于机车车辆测力轮对静态标定的试验设备,其用于测量轮轨之间相互作用的垂向力和横向力。而横向力和垂向力的比值就是我们俗称的脱轨系数,它是机车车辆安全性能评定的重要依据指标之一。The dynamometer wheel set static calibration test bench is a test equipment for the static calibration of the dynamometer wheel set of the rolling stock, which is used to measure the vertical force and lateral force of the interaction between the wheel and the rail. The ratio of the lateral force to the vertical force is what we commonly call the derailment coefficient, which is one of the important indicators for evaluating the safety performance of rolling stock.
目前,相关的测力轮对静态标定试验设备包括承载底座和液压系统,测力轮对设置于承载底座上,液压系统通过杠杆原理对测力轮对进行加载,容易造成力的传递误差,从而影响测力轮对标定结果的准确性。At present, the relevant test equipment for static calibration of the force-measuring wheel set includes a bearing base and a hydraulic system. Affect the accuracy of the calibration results of the force measuring wheel set.
另外,由于测力轮对型号不同,其轴承尺寸不一,相关的测力轮对静态标定试验设备中,每一种轮对需要配套一种工装,如此需要多种工装来分别适应不同类型的测力轮对,使得成本较高,且使用不便。In addition, due to the different types of force-measuring wheel sets, the bearing sizes are different. In the related force-measuring wheel set static calibration test equipment, each wheel set needs to be equipped with a kind of tooling, so a variety of tooling is required to adapt to different types. The force-measuring wheel set makes the cost higher and inconvenient to use.
因此,有必要提供一种新型的测力轮对静态标定试验台,以克服上述缺陷。Therefore, it is necessary to provide a new type of static calibration test bench for force-measuring wheelset to overcome the above-mentioned defects.
实用新型内容Utility model content
本实用新型的目的是,提供一种测力轮对静态标定试验台,其通过一对测力轮对定位装置即可适用各种不同类型的测力轮对,具有广泛的适应性。The purpose of the utility model is to provide a test bench for static calibration of force-measuring wheelsets, which can be applied to various types of force-measuring wheelsets through a pair of force-measuring wheelset positioning devices, and has wide adaptability.
本实用新型的上述目的可采用下列技术方案来实现:Above-mentioned purpose of the utility model can adopt following technical scheme to realize:
一种测力轮对静态标定试验台,其包括:承载底座;一对测力轮对定位装置,其设置在承载底座上方的左右两侧,且每个测力轮对定位装置分别可调节地连接在所述测力轮对的轴端上;一对垂向力标定承载装置,其设置在承载底座的上方,并分别位于测力轮对定位装置的内侧,每个垂向力标定承载装置分别可移动地连接在所述测力轮对的底部,且均具有测力传感器;能对测力轮对进行加减载的加载装置。A static calibration test bench for a force-measuring wheel set, which includes: a load-bearing base; a pair of force-measuring wheel-set positioning devices, which are arranged on the left and right sides above the load-bearing base, and each force-measuring wheel set positioning device can be adjusted separately Connected to the axle ends of the force-measuring wheel set; a pair of vertical force calibration bearing devices, which are arranged above the bearing base and respectively located inside the force-measuring wheel set positioning device, each vertical force calibration bearing device They are respectively movably connected to the bottom of the force-measuring wheel set, and each has a force-measuring sensor; a loading device capable of loading and unloading the force-measuring wheel set.
在优选的实施方式中,每个所述测力轮对定位装置包括龙门加载架,所述龙门加载架包括两个连动的立柱,每个立柱具有上下连接的上立柱和下立柱,所述上、下立柱之间具有固定销和位于固定销下方的可拔出的活动销,在活动销的拔出状态下,所述上立柱能绕着固定销向外转动;在每个龙门加载架的至少其中一个下立柱的内侧设置有限制上立柱转动角度的旋转限位止挡件。In a preferred embodiment, each of the force-measuring wheelset positioning devices includes a gantry loading frame, and the gantry loading frame includes two interlocking columns, each column has an upper column and a lower column connected up and down, the There is a fixed pin between the upper and lower columns and an extractable movable pin located below the fixed pin. When the movable pin is pulled out, the upper column can rotate outward around the fixed pin; each gantry loading frame The inner side of at least one of the lower columns is provided with a rotation limit stopper that limits the rotation angle of the upper column.
在优选的实施方式中,每个所述测力轮对定位装置还包括:一对轴向定位顶推装置,每个轴向定位顶推装置连接在所述承载底座上,并可移动地分别顶抵于所述测力轮对的轴头端面;至少一对纵向螺纹顶推装置,每对纵向螺纹顶推装置分别螺纹连接在所述龙门加载架的两个立柱上,并可水平移动地分别顶抵在所述测力轮对的轴端上。In a preferred embodiment, each of the force-measuring wheel set positioning devices further includes: a pair of axial positioning pushing devices, each axial positioning pushing device is connected to the bearing base, and is movably respectively butt against the end face of the shaft head of the force-measuring wheel set; at least one pair of longitudinal threaded thrusting devices, each pair of longitudinal threaded thrusting devices are respectively threaded on the two columns of the gantry loading frame, and can move horizontally Respectively abut against the axle ends of the force measuring wheelset.
在优选的实施方式中,每个所述轴向定位顶推装置包括轴向定位柱和轴向顶杆,轴向定位柱的下端连接在所述承载底座上,轴向顶杆可移动地螺纹连接在轴向定位柱的中段,轴向顶杆的内侧端对应着所述测力轮对的轴头端面;每个所述纵向螺纹顶推装置包括一对纵向顶杆,其分别可水平移动地螺纹连接在同一个所述龙门加载架的两个所述立柱上,每个纵向顶杆的内侧端对应着所述测力轮对的轴端的轴颈部位上。In a preferred embodiment, each of the axial positioning pushing devices includes an axial positioning post and an axial push rod, the lower end of the axial positioning post is connected to the bearing base, and the axial push rod is movably threaded. Connected to the middle section of the axial positioning column, the inner end of the axial push rod corresponds to the end face of the shaft head of the force measuring wheel set; each of the longitudinal threaded push devices includes a pair of longitudinal push rods, which can move horizontally respectively The ground is screwed to the two columns of the same gantry loading frame, and the inner end of each longitudinal push rod corresponds to the journal position of the axle end of the force measuring wheel set.
在优选的实施方式中,所述轴向定位柱内部具有可上下移动的移动块,所述轴向顶杆可水平移动地螺纹连接在移动块上;每个所述轴向顶杆的内侧端设有横向顶头,横向顶头的端面一侧对应测力轮对的轴头端面,每个所述纵向顶杆的内侧端设有纵向顶头。In a preferred embodiment, there is a moving block inside the axial positioning column that can move up and down, and the axial push rod is screwed to the moving block so that it can move horizontally; the inner end of each axial push rod A horizontal plug is provided, and one side of the end face of the horizontal plug corresponds to the end face of the axle head of the force-measuring wheel set, and a longitudinal plug is provided at the inner end of each of the longitudinal push rods.
在优选的实施方式中,每个所述龙门加载架还包括加载梁,其连接在两个所述立柱之间的上端;上述加载装置包括升降千斤顶、加载千斤顶和液压系统,所述升降千斤顶和加载千斤顶通过液压系统均可分别升降设置;所述升降千斤顶设置于所述承载底座上并位于两立柱的中间位置,所述加载千斤顶设置于加载梁上并对应于升降千斤顶的位置;所述测力轮对的两轴端的轴颈部位分别位于升降千斤顶和加载千斤顶之间。In a preferred embodiment, each of the gantry loading frames also includes a loading beam, which is connected to the upper end between the two columns; the above-mentioned loading device includes a lifting jack, a loading jack and a hydraulic system, and the lifting jack and the The loading jacks can be lifted and set separately through the hydraulic system; the lifting jack is arranged on the bearing base and is located in the middle of the two columns, and the loading jack is arranged on the loading beam and corresponds to the position of the lifting jack; the measuring The journal positions of the two shaft ends of the power wheel pair are respectively located between the lifting jack and the loading jack.
在优选的实施方式中,所述测力轮对的每个轴端的轴颈部位的外侧均连接着轴承或轴箱体,所述加载千斤顶、升降千斤顶和两个所述纵向顶头分别对应着每个所述轴承或轴箱体。In a preferred embodiment, the outer side of the journal of each shaft end of the force-measuring wheel set is connected to a bearing or an axle box, and the loading jack, the lifting jack and the two longitudinal jacks are respectively corresponding to Each of said bearings or axle housings.
在优选的实施方式中,每个所述垂向力标定承载装置包括垂向力承载滑台,所述垂向力承载滑台可水平移动地设置在所述承载底座上,所述垂向力承载滑台上设置有所述测力传感器,所述测力传感器的上端连接有可更换的传感器承载头。In a preferred embodiment, each of the vertical force calibration bearing devices includes a vertical force bearing slide, and the vertical force bearing slide is horizontally movable and arranged on the bearing base, and the vertical force The loading slide is provided with the load cell, and the upper end of the load cell is connected with a replaceable sensor load head.
在优选的实施方式中,每个所述垂向力标定承载装置还包括垂向力承载滑台座,垂向力承载滑台座连接在所述承载底座上,所述垂向力承载滑台通过横移调整件可移动地连接在垂向力承载滑台座上,所述垂向力承载滑台座对应所述测力轮对的位置设有横移量标尺;所述垂向力承载滑台的下方对应所述测力传感器的位置设有指针,所述指针对应地指向横移量标尺。In a preferred embodiment, each of the vertical force calibration bearing devices also includes a vertical force bearing slide base, the vertical force bearing slide base is connected to the bearing base, and the vertical force bearing slide The shift adjustment part is movably connected to the vertical force bearing slide base, and the position of the vertical force bearing slide base corresponding to the force measuring wheel pair is provided with a lateral movement scale; the lower part of the vertical force bearing slide A pointer is provided corresponding to the position of the load cell, and the pointer points to the lateral displacement scale correspondingly.
在优选的实施方式中,每个所述垂向力承载滑台的内侧和外侧的至少其中一侧设有可转动的角度定位指针,其与所述测力轮对的内侧端面相接触;所述测力轮对的轮辋内侧设置有多条沿径向的标定角度划线。In a preferred embodiment, at least one of the inner side and the outer side of each of the vertical force bearing slides is provided with a rotatable angle positioning pointer, which is in contact with the inner end surface of the force measuring wheel pair; The inner side of the rim of the force-measuring wheel set is provided with a plurality of marking angle marking lines along the radial direction.
本实用新型的特点和优点是:Features and advantages of the utility model are:
1、其测力轮对直接位于测力传感器上,即车轮垂向力直接作用于测力传感器上,消除旧有标定设备采用杠杆原理加载造成的力的传递误差,最大限度的提高测力轮对标定结果的准确性。1. The force-measuring wheel set is directly located on the force-measuring sensor, that is, the vertical force of the wheel acts directly on the force-measuring sensor, eliminating the force transmission error caused by the old calibration equipment using the lever principle to load, and maximizing the force-measuring wheel accuracy of calibration results.
2、采用可转动龙门架结构,无论是车辆测力轮对还是机车测力轮对,无论是带电机测力轮对,还是不带电机测力轮对,都可以在此标定台上方便的进行标定作业,具有广泛的适应性。2. Adopting a rotatable gantry structure, whether it is a vehicle force measuring wheel set or a locomotive force measuring wheel set, whether it is a force measuring wheel set with a motor or without a motor force measuring wheel set, it can be conveniently performed on this calibration platform. Calibration work, with a wide range of adaptability.
3、其以一套测力轮对定位装置即可适用于所有不同类型的测力轮对,从而彻底改变由于轮对型号不同,轴承尺寸不一;或轴箱体千差万别、各式各样,而需要设计加工针对每一种测力轮对轴颈部位状态的专用定位工装。3. It can be applied to all different types of force-measuring wheelsets with a set of force-measuring wheel-set positioning device, thus completely changing the bearing size due to different wheel-set models; However, it is necessary to design and process a special positioning tool for the state of the journal of each force-measuring wheel set.
4、其通过横移调整件能实现轮轨接触点位置任意可调并得到保持,以获得由于轮轨间接触点变化引起测量结果改变的完整而精确的标定数据。4. The position of the wheel-rail contact point can be adjusted arbitrarily and maintained through the lateral movement of the adjusting part, so as to obtain complete and accurate calibration data of the change of the measurement result due to the change of the contact point between the wheel and the rail.
5、其采用便携式电动液压加载系统作为动力源,液压系统能够同时对测力轮对垂向加减载和对测力轮对垂直起升与降落等进行独立控制,互不影响。5. It uses a portable electro-hydraulic loading system as the power source. The hydraulic system can independently control the vertical loading and unloading of the force measuring wheel pair and the vertical lifting and landing of the force measuring wheel pair at the same time without affecting each other.
附图说明Description of drawings
为了更清楚地说明本实用新型实施例中的技术方案,下面将对实施例描述中所需要使用的附图作简单地介绍,显而易见地,下面描述中的附图仅仅是本实用新型的一些实施例,对于本领域普通技术人员来讲,在不付出创造性劳动的前提下,还可以根据这些附图获得其他的附图。In order to more clearly illustrate the technical solutions in the embodiments of the present invention, the accompanying drawings that need to be used in the description of the embodiments will be briefly introduced below. Obviously, the accompanying drawings in the following description are only some implementations of the present invention. For example, those of ordinary skill in the art can also obtain other drawings based on these drawings on the premise of not paying creative efforts.
图1是本实用新型的测力轮对静态标定试验台的主视示意图(显示测力轮对);Fig. 1 is the schematic diagram of the front view of the static calibration test bench of the force-measuring wheels of the present utility model (displaying the force-measuring wheels);
图1A是本实用新型的测力轮对静态标定试验台的侧视示意图(显示测力轮对);Fig. 1A is a schematic side view of the static calibration test bench of the force-measuring wheel of the present invention (displaying the force-measuring wheel);
图2是本实用新型的测力轮对静态标定试验台的主视示意图(未显示测力轮对);Fig. 2 is the schematic diagram of the front view of the static calibration test bench of the force measuring wheel of the present utility model (the force measuring wheel is not shown);
图2A是本实用新型的测力轮对静态标定试验台的侧视示意图(未显示测力轮对);Fig. 2A is a schematic side view of the static calibration test bench of the force-measuring wheelset of the present invention (the force-measuring wheelset is not shown);
图2B是本实用新型的测力轮对静态标定试验台的俯视示意图(未显示测力轮对);Fig. 2B is a schematic top view of the static calibration test bench of the force-measuring wheelset of the present invention (the force-measuring wheelset is not shown);
图3是本实用新型的轴向定位顶推装置的主视剖面示意图;Fig. 3 is a front view sectional schematic view of the axial positioning push device of the present utility model;
图3A是本实用新型的轴向定位顶推装置的俯视示意图;Fig. 3A is a schematic top view of the axial positioning and pushing device of the present invention;
图4是本实用新型的龙门加载架在旋转状态的主视示意图;Fig. 4 is a schematic front view of the gantry loading frame of the present invention in a rotating state;
图5是本实用新型的垂向力标定承载装置的主视示意图(承载头与测力轮对的接触点在滚动圆位置);Fig. 5 is a schematic front view of the vertical force calibration bearing device of the present invention (the contact point between the bearing head and the force measuring wheel pair is at the rolling circle position);
图5A是本实用新型的垂向力标定承载装置的侧视示意图(承载头与测力轮对的接触点在滚动圆位置,);Fig. 5A is a schematic side view of the vertical force calibration bearing device of the present invention (the contact point between the bearing head and the force measuring wheel pair is at the rolling circle position);
图5B是本实用新型的垂向力标定承载装置的俯视示意图(承载头与测力轮对的接触点在滚动圆位置);Fig. 5B is a schematic top view of the vertical force calibration bearing device of the present invention (the contact point between the bearing head and the force measuring wheel set is at the rolling circle position);
图6是本实用新型的垂向力标定承载装置的主视示意图(承载头与测力轮对的接触点向外移的位置);Fig. 6 is a schematic front view of the vertical force calibration bearing device of the present invention (the position where the contact point between the bearing head and the force measuring wheel pair moves outward);
图7是本实用新型的垂向力标定承载装置的主视示意图(承载头与测力轮对的接触点内移至轮缘的位置);Fig. 7 is a schematic front view of the vertical force calibration bearing device of the present invention (the contact point between the bearing head and the force-measuring wheel set moves inward to the position of the wheel rim);
图8是本实用新型的垂向力标定承载装置组合状态的侧视示意图(显示轮缘承载头);Fig. 8 is a schematic side view of the combined state of the vertical force calibration bearing device of the present invention (showing the rim bearing head);
图8A是本实用新型的垂向力标定承载装置半分离状态的侧视示意图(显示轮缘承载头);Fig. 8A is a schematic side view of the half-separated state of the vertical force calibration bearing device of the present invention (showing the rim bearing head);
图9是本实用新型的踏面承载头的主视示意图;Fig. 9 is a schematic front view of the tread carrying head of the present invention;
图9A是本实用新型的踏面承载头的侧视示意图;Fig. 9A is a schematic side view of the tread bearing head of the present invention;
图10是本实用新型的轮缘承载头的主视示意图;Fig. 10 is a schematic front view of the rim bearing head of the present invention;
图10A是本实用新型的轮缘承载头的侧视示意图。Fig. 10A is a schematic side view of the rim carrying head of the present invention.
具体实施方式Detailed ways
下面将结合本实用新型实施例中的附图,对本实用新型实施例中的技术方案进行清楚、完整地描述,显然,所描述的实施例仅仅是本实用新型一部分实施例,而不是全部的实施例。基于本实用新型中的实施例,本领域普通技术人员在没有做出创造性劳动前提下所获得的所有其他实施例,都属于本实用新型保护的范围。The technical solutions in the embodiments of the present invention will be clearly and completely described below in conjunction with the accompanying drawings in the embodiments of the present invention. Obviously, the described embodiments are only part of the embodiments of the present invention, not all of them. example. Based on the embodiments of the present utility model, all other embodiments obtained by persons of ordinary skill in the art without making creative efforts belong to the scope of protection of the present utility model.
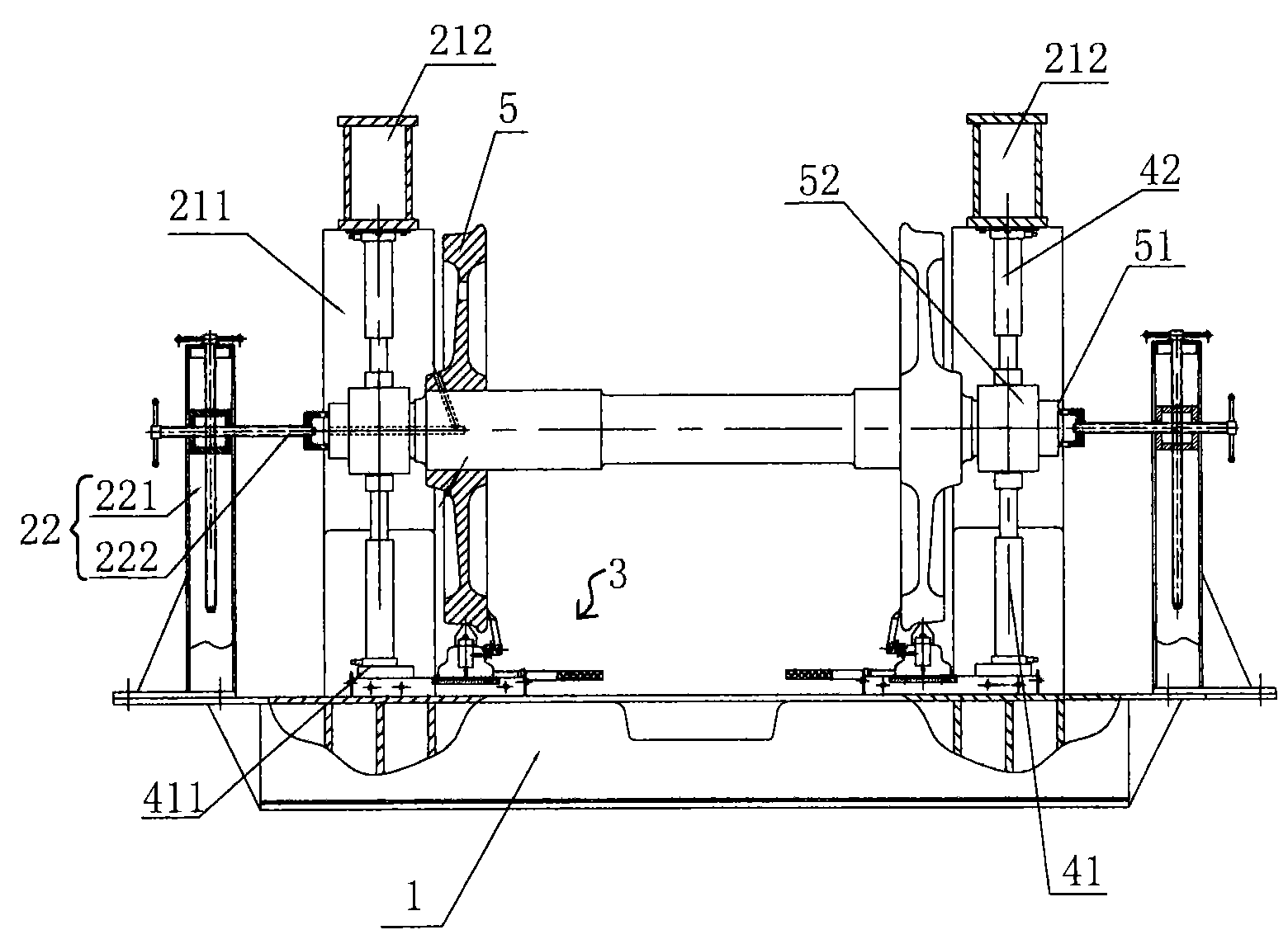
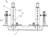
参照图1至图10A所示,本实用新型提出的测力轮对静态标定试验台,包括承载底座1,一对测力轮对定位装置2(“一对”是指相互对应的两个),一对垂向力标定承载装置3和加载装置4。一对测力轮对定位装置2设置在承载底座1上方的左右两侧,且每个测力轮对定位装置2分别可调节地连接在所述测力轮对5的轴端上,以适应各种不同型号测力轮对5的装入和取出。一对垂向力标定承载装置3设置在承载底座1的上方,并分别位于测力轮对定位装置2的内侧,每个垂向力标定承载装置3分别可移动地连接在测力轮对5的底部,每个垂向力标定承载装置3均具有测力传感器31。加载装置4对应着测力轮对5,并对测力轮对5进行加减载设置,此处主要为垂向加减载设置。Referring to Figures 1 to 10A, the static calibration test bench for force measuring wheels proposed by the utility model includes a
在需要对轮对进行标定时,首先调节测力轮对定位装置2,使其分别连接在测力轮对5的两个轴端上;接着通过加载装置4对测力轮对5进行加载测试,同时测力轮对5底部的垂向力标定承载装置3通过其测力传感器31,测得测力轮对5的垂向力。另外,关于测力轮对5的横向力可通过本领域技术人员熟知的方法进行测量,在此不再赘述。When the wheel set needs to be calibrated, first adjust the force measuring wheel set positioning device 2 so that it is respectively connected to the two shaft ends of the force measuring
本实用新型实施例中,由于测力轮对定位装置2可调节设置,使得其可适应各种不同类型的测力轮对,从而提高了其适用性,且节省成本,使用方便。In the embodiment of the utility model, since the force-measuring wheel set positioning device 2 can be adjusted, it can be adapted to various types of force-measuring wheelsets, thereby improving its applicability, saving costs, and being easy to use.
根据本实用新型的一个实施方式,配合图2B和图4所示,每个测力轮对定位装置2包括龙门加载架21,龙门加载架21包括两个连动的立柱211,每个立柱211具有上下连接的上立柱2111和下立柱2112,所述上、下立柱2111、2112之间具有固定销2113和位于固定销2113下方的可拔出的活动销2114,当然,活动销2114也可位于固定销2113的上方、左侧或右侧;在活动销2114的拔出状态下,所述上立柱2111能绕着固定销2113向外转动。当然,本领域技术人员应当理解,对于同一个龙门加载架21的两个立柱211,其上、下立柱2111、2112之间的固定销2113的轴线在同一条线上,如此在拔出活动销2114后,上立柱2111才能绕着固定销2113转动,而活动销2114的轴线可以共线也可以不共线;另外,活动销2114可以仅设置在两个立柱211的其中之一上,另一个立柱则可不设置活动销2114,如此仍旧能使,在拔出活动销时,使上立柱相对于下立柱转动,插上活动销,则能使上立柱固定在下立柱上,不能转动。According to an embodiment of the present utility model, as shown in FIG. 2B and FIG. 4 , each force-measuring wheel set positioning device 2 includes a
当需要装入或取出测力轮对5时,拔出活动销2114,此时上、下立柱2111、2112之间仅通过固定销2113相连接,向外推动上立柱2111,使得上立柱2111可绕着固定销2113转动,由于同一个龙门加载架21的两个立柱211处于连动状态,拔出两个立柱211上的活动销2114时,推动其中一个上立柱2111即可使两个上立柱2111一起绕着固定销2113向外转动。When it is necessary to load or take out the force-measuring
进一步而言,在每个龙门加载架21的至少其中一个下立柱2112的内侧设置有旋转限位止挡件2115,以限制上立柱2111的转动角度,从而方便使用;此处,每个下立柱2112均设有旋转限位止挡件2115。Further, a
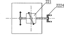
根据本实用新型的一个实施方式,每个所述测力轮对定位装置2还包括一对轴向(横向)定位顶推装置22和至少一对纵向螺纹顶推装置23。每个轴向定位顶推装置22连接在承载底座1上,并可移动地分别顶抵于测力轮对5的轴头端面51,以对测力轮对5的轴向(横向)进行定位;每对纵向螺纹顶推装置23分别螺纹连接在龙门加载架21的两个立柱211上,并可水平移动地分别顶抵在测力轮对5的轴端上,以对测力轮对5的纵向进行定位。According to an embodiment of the present utility model, each said force measuring wheel set positioning device 2 further includes a pair of axial (transverse) positioning pushing
具体是,每个轴向定位顶推装置22包括轴向定位柱221和轴向顶杆222,轴向定位柱221的下端连接在承载底座1上,轴向顶杆222可移动(包括水平移动和竖直移动)地螺纹连接在轴向定位柱221的中段,轴向顶杆222的内侧端对应着测力轮对5的轴头端面;更具体是,配合图3和图3A所示,轴向定位柱221内部具有可上下移动的移动块2221,此处移动块2221是通过螺旋杆2222进行上下移动的,螺旋杆2222的上部设有限位块2223,使得移动块2221只能在一定范围内上下移动;轴向顶杆222可水平移动地螺纹连接在移动块2221上,也就是说,借助移动块2221,使得轴向顶杆222可上下竖直或水平地移动,以适应各种规格型号的测力轮对5不同的高度和轴向距离。其中,轴向顶杆222的内侧端可设有横向顶头2224,横向顶头2224的端面一侧对应着测力轮对5的轴头端面51。Specifically, each axial
纵向螺纹顶推装置23可为多对,例如三对,其分别位于立柱211的不同高度,以适应不同规格的测力轮对5轴端的轴颈部位的不同高度。每个纵向螺纹顶推装置23包括一对纵向顶杆231,其分别可移动地螺纹连接在同一个龙门加载架21的两个立柱211(即图1所示的前后两个立柱)上,每个纵向顶杆231的内侧端对应着测力轮对5的轴颈部位;其中,每个纵向顶杆231的内侧端部设有纵向顶头。There can be multiple pairs of longitudinal threaded thrusting
在往龙门加载架21装入测力轮对5之前,先使轴向顶杆222和纵向顶杆231分别向外侧水平旋出,当测力轮对5的两轴端放入龙门加载架21后,使测力轮对5对应其中一对纵向螺纹顶推装置23,将测力轮对5的每个轴端对应的两个纵向顶杆231分别向内侧移动,并最终使纵向顶杆231上的纵向头顶抵在测力轮对5的轴颈部位上,使测力轮对5无法在纵向上移动;接着,可借助移动块2221使轴向顶杆222上下移动至对应测力轮对5的轴头端面51处,且将两个轴向顶杆222分别向内侧水平移动,并最终使轴向(横向)顶头顶抵在测力轮对5的轴头端面51,使测力轮对5无法在轴向上移动。Before loading the force-measuring
根据本实用新型的一个实施方式,每个龙门加载架21还包括加载梁212,其连接在两个立柱212之间的上端;上述加载装置4包括升降千斤顶41和加载千斤顶42,所述升降千斤顶41和加载千斤顶42均可升降设置,例如可通过液压系统进行升降设置,其中可使液压系统同时分别地控制升降千斤顶41和加载千斤顶42,从而对测力轮对垂直起升与降落和对测力轮对垂向加减载等进行独立控制,互不影响,也可相互配合协调动作;所述升降千斤顶41置于所述承载底座1上并位于两立柱211的中间位置,所述加载千斤顶42设置于加载梁212上并对应于升降千斤顶41的位置。所述测力轮对5左右两端的轴颈部位分别位于升降千斤顶41和加载千斤顶42之间。According to one embodiment of the present utility model, each
具体是,所述测力轮对5两端的轴颈部位的外侧均连接着轴承或轴箱体52,所述加载千斤顶42、升降千斤顶41和两个纵向顶头分别对应着每个轴承或轴箱体52。其中,各种不同规格的测力轮对5的两个轴箱体52的中心距离都是相近的,两个龙门加载架21的中心距离取各种测力轮对轴承或轴箱体52中心距离的平均值,因此,加载千斤顶42能可靠地接触轴箱体52。Specifically, the outer sides of the journal positions at both ends of the force-measuring
根据本实用新型的一个实施方式,配合图5至图10A所示,每个垂向力标定承载装置3包括垂向力承载滑台32,垂向力承载滑台32可水平移动地设置在所述承载底座1上,垂向力承载滑台32上设置有测力传感器31;测力传感器31的上端连接有可更换的传感器承载头,此处传感器承载头具有踏面承载头33和轮缘承载头33’两种,分别用于承载测力轮对5的踏面53和轮缘54,图9所示为踏面承载头33,图10所示为轮缘承载头33’,两种承载头的更换主要是为了适应测力轮对5的踏面53和轮缘54的不同形状特征;其中,传感器承载头是通过定位销331连接在测力传感器31上的,如图8A所示。According to an embodiment of the present utility model, as shown in FIG. 5 to FIG. 10A , each vertical force calibration bearing device 3 includes a vertical
每个垂向力标定承载装置3还包括垂向力承载滑台座34,垂向力承载滑台座34连接在承载底座1上,所述垂向力承载滑台32通过横移调整件35可移动地连接在垂向力承载滑台座34上,所述垂向力承载滑台座34对应测力轮对5的位置设有横移量标尺36,垂向力承载滑台32的下方对应测力传感器31的位置设有指针37,指针37对应地指向横移量标尺36。其中,横移调整件35在轴向上固定,但可以转动,横移调整件35包括相互连接的手柄351和螺杆352,螺杆352可转动地连接在垂向力承载滑台32内部,当转动手柄351时,可使垂向力承载滑台32水平移动。Each vertical force calibration bearing device 3 also includes a vertical force bearing
另外,在垂向力承载滑台座34上可以设置沿轴向滑动的滑座411,升降千斤顶41放在滑座411上,使得升降千斤顶41能轴向滑动,以使其更好地接触轴箱体52。当然,也可不设置滑座411,由于两个轴箱体52的距离是近似的,同时各种轴箱体的轴向宽度足够宽。因此,只要使两个升降千斤顶41之间的距离与两个轴箱体52之间的距离相近,即能确保升降千斤顶41顶在轴箱体52上。In addition, a sliding
此外,每个垂向力承载滑台32的内侧和外侧的至少其中一侧设有可转动的角度定位指针38,其与所述测力轮对5的内侧端面相接触,测力轮对5的轮辋内侧设置有多条沿径向的角度划线,划线可均匀分布,通过旋转测力轮对5可使角度定位指针38指向其中一条划线,本实施例中,是在角度定位指针38指向划线的位置时,加载装置4对测力轮对5进行加载,通过测力传感器31测得测力轮对5的垂向力。当需要转动测力轮对5时,可通过升降千斤顶41将测力轮对5升起,手动或通过工具转动测力轮对5,使其划线对准角度定位指针38即可对该角度测力轮对输出特性进行标定。In addition, at least one of the inner and outer sides of each vertical
以上所述仅为本实用新型的几个实施例,本领域的技术人员依据申请文件公开的可以对本实用新型实施例进行各种改动或变型而不脱离本实用新型的精神和范围。The above are only a few embodiments of the present utility model, and those skilled in the art can make various changes or modifications to the embodiments of the present utility model according to the disclosure of the application documents without departing from the spirit and scope of the present utility model.
Claims (10)
Priority Applications (1)
| Application Number | Priority Date | Filing Date | Title |
|---|---|---|---|
| CN2010201133722U CN201600215U (en) | 2010-02-08 | 2010-02-08 | Force measuring wheel set static calibration test bench |
Applications Claiming Priority (1)
| Application Number | Priority Date | Filing Date | Title |
|---|---|---|---|
| CN2010201133722U CN201600215U (en) | 2010-02-08 | 2010-02-08 | Force measuring wheel set static calibration test bench |
Publications (1)
| Publication Number | Publication Date |
|---|---|
| CN201600215U true CN201600215U (en) | 2010-10-06 |
Family
ID=42811277
Family Applications (1)
| Application Number | Title | Priority Date | Filing Date |
|---|---|---|---|
| CN2010201133722U Expired - Lifetime CN201600215U (en) | 2010-02-08 | 2010-02-08 | Force measuring wheel set static calibration test bench |
Country Status (1)
| Country | Link |
|---|---|
| CN (1) | CN201600215U (en) |
Cited By (11)
| Publication number | Priority date | Publication date | Assignee | Title |
|---|---|---|---|---|
| CN102501241A (en) * | 2011-11-03 | 2012-06-20 | 中国铁道科学研究院机车车辆研究所 | Marking-off table for instrumented wheel sets and using method for the same |
| CN102564690A (en) * | 2012-01-05 | 2012-07-11 | 中国铁道科学研究院机车车辆研究所 | Novel calibration test platform for force-measuring wheel set |
| CN102890001A (en) * | 2012-09-21 | 2013-01-23 | 山西汾河焦煤股份有限公司回坡底煤矿 | Pneumatic landing leg type jumbolter detecting platform |
| CN105043629A (en) * | 2015-08-24 | 2015-11-11 | 哈尔滨工程大学 | Portable hull eye plate tension detection apparatus |
| CN106546379A (en) * | 2015-09-22 | 2017-03-29 | 南京理工大学 | For the integrated apparatus that quiet dynamic force in situ is demarcated |
| CN107436209A (en) * | 2017-06-22 | 2017-12-05 | 中车青岛四方机车车辆股份有限公司 | A kind of track column wheel confrontation heart inertia pilot system and method |
| CN108297875A (en) * | 2018-02-06 | 2018-07-20 | 中车工业研究院有限公司 | Center of Gravity Control System and vehicle including the Center of Gravity Control System |
| CN109030038A (en) * | 2018-08-09 | 2018-12-18 | 中车株洲电力机车有限公司 | A kind of calibration test platform for force-measuring wheel set |
| CN111198104A (en) * | 2020-01-09 | 2020-05-26 | 西南交通大学 | Portable vertical and lateral wheel-rail force calibration device and calibration method |
| CN113484047A (en) * | 2021-07-07 | 2021-10-08 | 中车唐山机车车辆有限公司 | Calibration test bed for force measuring wheel set |
| CN114088290A (en) * | 2021-11-19 | 2022-02-25 | 中车长春轨道客车股份有限公司 | Steel rail assembly for calibrating force measuring wheel set and force measuring wheel set calibration test bed |
-
2010
- 2010-02-08 CN CN2010201133722U patent/CN201600215U/en not_active Expired - Lifetime
Cited By (18)
| Publication number | Priority date | Publication date | Assignee | Title |
|---|---|---|---|---|
| CN102501241A (en) * | 2011-11-03 | 2012-06-20 | 中国铁道科学研究院机车车辆研究所 | Marking-off table for instrumented wheel sets and using method for the same |
| CN102501241B (en) * | 2011-11-03 | 2014-08-06 | 中国铁道科学研究院机车车辆研究所 | Marking-off table for instrumented wheel sets and using method for the same |
| CN102564690A (en) * | 2012-01-05 | 2012-07-11 | 中国铁道科学研究院机车车辆研究所 | Novel calibration test platform for force-measuring wheel set |
| CN102564690B (en) * | 2012-01-05 | 2013-12-25 | 中国铁道科学研究院机车车辆研究所 | Calibration test platform for force-measuring wheel set |
| CN102890001A (en) * | 2012-09-21 | 2013-01-23 | 山西汾河焦煤股份有限公司回坡底煤矿 | Pneumatic landing leg type jumbolter detecting platform |
| CN102890001B (en) * | 2012-09-21 | 2015-06-03 | 山西汾河焦煤股份有限公司回坡底煤矿 | Pneumatic landing leg type jumbolter detecting platform |
| CN105043629A (en) * | 2015-08-24 | 2015-11-11 | 哈尔滨工程大学 | Portable hull eye plate tension detection apparatus |
| CN106546379A (en) * | 2015-09-22 | 2017-03-29 | 南京理工大学 | For the integrated apparatus that quiet dynamic force in situ is demarcated |
| CN107436209A (en) * | 2017-06-22 | 2017-12-05 | 中车青岛四方机车车辆股份有限公司 | A kind of track column wheel confrontation heart inertia pilot system and method |
| CN107436209B (en) * | 2017-06-22 | 2019-07-16 | 中车青岛四方机车车辆股份有限公司 | A system and method for testing the inertia of the center of mass of a rail train wheel |
| CN108297875A (en) * | 2018-02-06 | 2018-07-20 | 中车工业研究院有限公司 | Center of Gravity Control System and vehicle including the Center of Gravity Control System |
| CN109030038A (en) * | 2018-08-09 | 2018-12-18 | 中车株洲电力机车有限公司 | A kind of calibration test platform for force-measuring wheel set |
| CN111198104A (en) * | 2020-01-09 | 2020-05-26 | 西南交通大学 | Portable vertical and lateral wheel-rail force calibration device and calibration method |
| CN111198104B (en) * | 2020-01-09 | 2021-08-03 | 西南交通大学 | Portable vertical and lateral wheel-rail force calibration device and calibration method |
| CN113484047A (en) * | 2021-07-07 | 2021-10-08 | 中车唐山机车车辆有限公司 | Calibration test bed for force measuring wheel set |
| CN113484047B (en) * | 2021-07-07 | 2025-05-27 | 中车唐山机车车辆有限公司 | A force measuring wheel pair calibration test bench |
| CN114088290A (en) * | 2021-11-19 | 2022-02-25 | 中车长春轨道客车股份有限公司 | Steel rail assembly for calibrating force measuring wheel set and force measuring wheel set calibration test bed |
| CN114088290B (en) * | 2021-11-19 | 2024-03-08 | 中车长春轨道客车股份有限公司 | Steel rail assembly for measuring force wheel set calibration and measuring force wheel set calibration test bed |
Similar Documents
| Publication | Publication Date | Title |
|---|---|---|
| CN201600215U (en) | Force measuring wheel set static calibration test bench | |
| CN112832077B (en) | Railway rail center detection vehicle | |
| CN203798304U (en) | Tool used for centering and aligning engine and dynamometer | |
| WO2011044741A1 (en) | Measuring and assembling workbench | |
| CN107271195A (en) | Automobile roll and side rollover testing table | |
| CZ2012125A3 (en) | Test bench for stationary testing rail vehicles and measuring method on such a test bench | |
| CN101246080B (en) | A movable three-dimensional adjustment device for optical instrument detection | |
| CN203798587U (en) | Test stand for testing tire dynamic loading deformation | |
| CN214334251U (en) | Axle detection device | |
| CN107152921B (en) | Roller bearing clearance fit measuring device and measuring method using same | |
| CN112779831B (en) | Multifunctional track detection vehicle | |
| CN106370346B (en) | Vertical loading system of wheel set calibration test bed | |
| CN203069386U (en) | Double wishbone suspension wheel location parameter measuring apparatus | |
| CN112746536B (en) | A railway standard gauge detection vehicle | |
| CN215329097U (en) | A railway line center inspection vehicle | |
| CN202177362U (en) | Special apparatus for measuring inner fairway symmetry of spherical cage outer wheel | |
| CN204479306U (en) | Directly drive mechanical arm type single-wheel kingpin inclination and kingpin castor angle calibrating installation | |
| CN104729861B (en) | Straight drive mechanical arm type single-wheel kingpin inclination and castor calibrating installation | |
| RU92173U1 (en) | DEVICE FOR MEASURING DIMENSIONS AND DETERMINING DEFECTS OF WHEELS OF VEHICLES | |
| CN219319660U (en) | A horizontal force-measuring wheel-to-wheel-rail force calibration test bench | |
| CN201575921U (en) | Car fault diagnosis test bench wheel universal turntable | |
| CN212226568U (en) | Distance measuring device for hoisting truss | |
| CN113484047B (en) | A force measuring wheel pair calibration test bench | |
| CN113188400B (en) | Measuring device for measuring size of thrust surface of cylinder body | |
| CN117739779A (en) | Diameter convexity angle measuring instrument for large logarithmic tapered roller of wind power bearing |
Legal Events
| Date | Code | Title | Description |
|---|---|---|---|
| C14 | Grant of patent or utility model | ||
| GR01 | Patent grant | ||
| ASS | Succession or assignment of patent right |
Owner name: LOCOMOTIVE + CAR RESEARCH INSTITUTE, CHINA ACADEMY Effective date: 20120712 |
|
| C41 | Transfer of patent application or patent right or utility model | ||
| TR01 | Transfer of patent right |
Effective date of registration: 20120712 Address after: 100081 Beijing city Haidian District Daliushu Road No. 2 Co-patentee after: Locomotive & Car Research Institute, China Academy of Railway Sciences Patentee after: China Academy of Railway Sciences Address before: 100081 Beijing city Haidian District Daliushu Road No. 2 Patentee before: Locomotive & Car Research Institute, China Academy of Railway Sciences |
|
| CX01 | Expiry of patent term |
Granted publication date: 20101006 |
|
| CX01 | Expiry of patent term |
