CN201550779U - A Practical Handle of a Convenient Bag That Doesn't Hurt Your Hands - Google Patents

A Practical Handle of a Convenient Bag That Doesn't Hurt Your Hands Download PDF

Info

Publication number
CN201550779U
CN201550779U CN2009202292066U CN200920229206U CN201550779U CN 201550779 U CN201550779 U CN 201550779U CN 2009202292066 U CN2009202292066 U CN 2009202292066U CN 200920229206 U CN200920229206 U CN 200920229206U CN 201550779 U CN201550779 U CN 201550779U
Authority
CN
China
Prior art keywords
utility
model
soft surface
bag
surface body
Prior art date
Legal status (The legal status is an assumption and is not a legal conclusion. Google has not performed a legal analysis and makes no representation as to the accuracy of the status listed.)
Expired - Fee Related
Application number
CN2009202292066U
Other languages
Chinese (zh)
Inventor
陈书滔
Current Assignee (The listed assignees may be inaccurate. Google has not performed a legal analysis and makes no representation or warranty as to the accuracy of the list.)
Individual
Original Assignee
Individual
Priority date (The priority date is an assumption and is not a legal conclusion. Google has not performed a legal analysis and makes no representation as to the accuracy of the date listed.)
Filing date
Publication date
Application filed by Individual filed Critical Individual
Priority to CN2009202292066U priority Critical patent/CN201550779U/en
Application granted granted Critical
Publication of CN201550779U publication Critical patent/CN201550779U/en
Anticipated expiration legal-status Critical
Expired - Fee Related legal-status Critical Current

Links

Images

Classifications

    • YGENERAL TAGGING OF NEW TECHNOLOGICAL DEVELOPMENTS; GENERAL TAGGING OF CROSS-SECTIONAL TECHNOLOGIES SPANNING OVER SEVERAL SECTIONS OF THE IPC; TECHNICAL SUBJECTS COVERED BY FORMER USPC CROSS-REFERENCE ART COLLECTIONS [XRACs] AND DIGESTS
    • Y02TECHNOLOGIES OR APPLICATIONS FOR MITIGATION OR ADAPTATION AGAINST CLIMATE CHANGE
    • Y02WCLIMATE CHANGE MITIGATION TECHNOLOGIES RELATED TO WASTEWATER TREATMENT OR WASTE MANAGEMENT
    • Y02W30/00Technologies for solid waste management
    • Y02W30/50Reuse, recycling or recovery technologies
    • Y02W30/80Packaging reuse or recycling, e.g. of multilayer packaging

Landscapes

  • Purses, Travelling Bags, Baskets, Or Suitcases (AREA)

Abstract

本实用新型涉及一种实用不伤手方便袋提手,它包括一软质面形体和一连接于软质面形体上的扣接元件,所述的软质面形体是条形布;所述的扣接元件是尼龙搭扣,尼龙搭扣的毛扣条和钩扣条分别背对设置于软质面形体的异端;本实用新型经反向折叠后,由扣接元件相扣连接,包卷于方便袋上,增大了方便袋提带部分的受力面,由此可以减少方便袋的坠力。本实用新型它可以分散方便袋的坠力,不伤手,使用非常方便。

Figure 200920229206

The utility model relates to a practical handle for a hand-free convenient bag, which comprises a soft surface body and a fastening element connected to the soft surface body, the soft surface body is strip cloth; The fastening element of the fastening element is a Velcro, and the Velcro buckle strip and the hook strip are respectively facing away from the different ends of the soft surface body; after the utility model is reversely folded, it is connected by the fastening elements, including Wrapped on the convenience bag, the force-bearing surface of the handle part of the convenience bag is increased, thereby reducing the falling force of the convenience bag. The utility model can disperse the falling force of the convenience bag, does not hurt hands, and is very convenient to use.

Figure 200920229206

Description

The hand handle of convenient bags is not hindered in a kind of practicality
Technical field:
The utility model relates to a kind of daily living article, and the hand handle of convenient bags is not hindered in especially a kind of practicality.
Background technology:
At present, people remove morning market or supermarket shopping, businessman provides and puts article all is to use convenient bag more than 90 percent, when the weight of purchase surpassed 3 kilograms, thinner narrow because of the belt of convenient bag, the belt of convenient bag was just very big to the bob power of finger on the road of backhaul, make finger be subjected to the pain that is difficult to bear, brought inconvenience to shopping, guided and supported weight for a long time the finger blood circulation is obstructed, and people's health is had a negative impact.
The utility model content:
The utility model is big to the bob power of finger in order to solve existing convenient bag belt, the finger blood circulation is obstructed, make finger be subjected to the pain that is difficult to bear, bring inconvenience to shopping, and the problem that people's health is had a negative impact, the technical scheme that provides a kind of practicality not hinder the hand handle of convenient bags, characteristics such as it has simple in structure, and is easy to use.
Realize that the technical scheme that the utility model purpose is adopted is: the hand handle of convenient bags is not hindered in a kind of practicality, it is characterized in that: it comprises that one soft body and is connected in soft the fastener components on the body; Described fastener components is a velcro, and the hair profile of velcro and fastener bar are respectively back to the heterodoxy that is arranged at soft body.
As preferably: described soft body is bar shaped cloth.
The utlity model has following beneficial effect:
1, the utility model it can disperse the bob power of convenient bag, do not hinder hand, very easy to use.
2, the utility model design is unique, novel, makes easily, produces easily.
3, the utility model is simple and practical, cost is low, has very big market prospects.
Description of drawings:
Below in conjunction with accompanying drawing the utility model is further described.
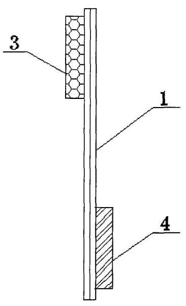
Fig. 1 is a structural representation of the present utility model.
Fig. 2 is a folding schematic diagram of the present utility model.
Among Fig. 1-2, a 1. soft body, 2. velcro, 3. mao profile, 4. fastener bar.
The specific embodiment:
As seen from Figure 1, Figure 2, the hand handle of convenient bags is not hindered in a kind of practicality, and it comprises that one soft body 1 and is connected in soft the fastener components on the body 1, and described soft body 1 is bar shaped cloth.
Described fastener components is a velcro 2, and the hair profile 3 of velcro 2 and fastener bar 4 are respectively back to the heterodoxy that is arranged at soft body 1.
The utility model is after folded inverted, and by the fastener components connection that interlocks, winding has increased the stress surface of convenient bag belt part on convenient bag, can reduce the bob power of convenient bag thus.
Basic principle of the present utility model and principal character and advantage have more than been described.The technical staff of the industry can understand; the utility model is not restricted to the described embodiments; that describes in the foregoing description and the specification just illustrates principle of the present utility model; under the prerequisite that does not break away from the utility model spirit and scope; the utility model also has various changes and modifications, and these changes and improvements all will fall in claimed the utility model scope.

Claims (2)

1.一种实用不伤手方便袋提手,其特征在于:1. A practical bag handle that does not hurt hands, characterized in that: 它包括一软质面形体和一连接于软质面形体上的扣接元件;所述的扣接元件是尼龙搭扣,尼龙搭扣的毛扣条和钩扣条分别背对设置于软质面形体的异端。It includes a soft surface body and a fastening element connected to the soft surface body; the fastening element is a Velcro fastener, and the Velcro buckle strip and the hook strip are respectively arranged on the soft surface. Heresy of face shape. 2.根据权利要求1所述的一种实用不伤手方便袋提手,其特征在于:2. According to claim 1, the handle of a practical convenient bag that does not hurt the hands is characterized in that: 所述的软质面形体是条形布。The soft surface body is strip cloth.
CN2009202292066U 2009-11-02 2009-11-02 A Practical Handle of a Convenient Bag That Doesn't Hurt Your Hands Expired - Fee Related CN201550779U (en)

Priority Applications (1)

Application Number Priority Date Filing Date Title
CN2009202292066U CN201550779U (en) 2009-11-02 2009-11-02 A Practical Handle of a Convenient Bag That Doesn't Hurt Your Hands

Applications Claiming Priority (1)

Application Number Priority Date Filing Date Title
CN2009202292066U CN201550779U (en) 2009-11-02 2009-11-02 A Practical Handle of a Convenient Bag That Doesn't Hurt Your Hands

Publications (1)

Publication Number Publication Date
CN201550779U true CN201550779U (en) 2010-08-18

Family

ID=42610453

Family Applications (1)

Application Number Title Priority Date Filing Date
CN2009202292066U Expired - Fee Related CN201550779U (en) 2009-11-02 2009-11-02 A Practical Handle of a Convenient Bag That Doesn't Hurt Your Hands

Country Status (1)

Country Link
CN (1) CN201550779U (en)

Similar Documents

Publication Publication Date Title
CN201550779U (en) A Practical Handle of a Convenient Bag That Doesn't Hurt Your Hands
CN202801428U (en) Towel
CN207912263U (en) A foldable backpack
CN202635831U (en) Novel umbrella
CN202389251U (en) Public bus suspended ring handle with adjustable length
CN201640792U (en) Double use shopping bag as hand bag and shoulder bag
CN201052037Y (en) Paper cup with folding handle
CN201453610U (en) Massage beating device
CN201814076U (en) Grip of plastic bag
CN201617308U (en) Foldable shopping bag
CN2877412Y (en) Simple and useful convenient bag handle
CN203505789U (en) Novel backpack
CN205649250U (en) Collapsible baby's hand -basket
CN203106124U (en) Pet training bag
CN201550818U (en) Multifunctional sleeve messenger bag
CN202312402U (en) Baby backpack
CN208301328U (en) A kind of Multifunctional seat cushion
CN201123423Y (en) Headscarf
CN206231436U (en) A kind of multifunctional baby dolly
CN103720160A (en) Storage-type shopping bag
CN202335459U (en) Umbrella
CN203120679U (en) Multipurpose pet training bag
CN2536095Y (en) A multipurpose handle
CN201718701U (en) School bag convenient to carry on back
CN201518838U (en) Bag for reducing burden when taking bus

Legal Events

Date Code Title Description
DD01 Delivery of document by public notice

Addressee: Chen Shutao

Document name: Notification to Go Through Formalities of Registration

C14 Grant of patent or utility model
GR01 Patent grant
C17 Cessation of patent right
CF01 Termination of patent right due to non-payment of annual fee

Granted publication date: 20100818

Termination date: 20101102