CN201545582U - Elevator driving device - Google Patents
Elevator driving device Download PDFInfo
- Publication number
- CN201545582U CN201545582U CN2009202095960U CN200920209596U CN201545582U CN 201545582 U CN201545582 U CN 201545582U CN 2009202095960 U CN2009202095960 U CN 2009202095960U CN 200920209596 U CN200920209596 U CN 200920209596U CN 201545582 U CN201545582 U CN 201545582U
- Authority
- CN
- China
- Prior art keywords
- brake
- rotor
- stator
- installation portion
- brake equipment
- Prior art date
- Legal status (The legal status is an assumption and is not a legal conclusion. Google has not performed a legal analysis and makes no representation as to the accuracy of the status listed.)
- Expired - Fee Related
Links
- 238000009434 installation Methods 0.000 claims description 75
- 230000005540 biological transmission Effects 0.000 claims description 5
- 239000000428 dust Substances 0.000 description 5
- 238000012423 maintenance Methods 0.000 description 4
- 230000007812 deficiency Effects 0.000 description 2
- 238000005265 energy consumption Methods 0.000 description 2
- 230000002093 peripheral effect Effects 0.000 description 2
- 208000001840 Dandruff Diseases 0.000 description 1
- 229910000831 Steel Inorganic materials 0.000 description 1
- 230000015572 biosynthetic process Effects 0.000 description 1
- 238000010276 construction Methods 0.000 description 1
- 238000005516 engineering process Methods 0.000 description 1
- 239000004519 grease Substances 0.000 description 1
- 239000010959 steel Substances 0.000 description 1
Images
Landscapes
- Cage And Drive Apparatuses For Elevators (AREA)
- Braking Arrangements (AREA)
Abstract
The utility model relates to an elevator driving device which comprises two engine bases, a stator, a rotor, a rotating frame body, a main shaft, a driving rope wheel, a brake device and a brake disc, wherein one engine base is provided with a stator mounting part of the stator, a brake device mounting part of the brake device, and a cavity part used for containing the brake device, the brake disc, the brake device mounting part; the rotating frame body is provided with a rotor mounting part of the rotor, and a driving rope wheel mounting part of the driving rope wheel; the stator and the rotor are arranged in an opposite way along the axial direction; the stator and the driving rope wheel are respectively arranged at the two sides of the rotor; and the driving rope wheel is supported by the two engine bases. The elevator driving device has the characteristics of simple structure, miniaturization, low cost and low noise and the like.
Description
Technical field
The utility model relates to a kind of drive unit for lift.
Background technology
Existing drive unit for lift is as the disclosed elevator traction machine of Chinese invention patent (publication number CN1882494A).This towing machine is in order to solve the elevator traction machine miniaturization, prevent problem that the rotation brake power that drives rope sheave is reduced, to drive rope sheave and be provided with annulus, brake equipment is provided with this annulus inside, and brake component and the inner peripheral surface contact of annulus, the braking maneuver of separating realization driving rope sheave.Although having solved, this towing machine prevents to drive the problem that rope sheave rotation brake power reduces, and the radially oad of towing machine can reduce, but this invention has following deficiency: 1) because brake equipment passes through the inner peripheral surface of braking annulus, the required braking force of brake equipment is big like this, is the twice that end face (two brake surfaces are arranged) brake braking force requires; 2) required braking force because of brake equipment is big, thereby may cause the oad of brake equipment to increase, and in order to reduce the radially oad of towing machine, the axial dimension of the brake equipment that is bound to increases, thereby causes the axial dimension of towing machine to increase; 3) drive the devices spaced apart ground configuration on the axis direction of S. A. of rope sheave and electrical motor, the axial dimension of whole like this towing machine increases; 4) drive rope sheave and be provided with annulus, further increase the axial dimension of towing machine so on the one hand, increase the rotor inertia of towing machine on the other hand, thereby cause the moment of towing machine to require to increase, cost increases, and the energy consumption of towing machine is higher simultaneously; 5) brake surface is subjected to the abrasive dust influence of brake component easily, causes the braking force instability, can only regularly handle abrasive dust by anti-dandruff device like this, increases the work capacity of maintenance and maintenance, increases the cost of towing machine simultaneously.
The utility model content
The purpose of this utility model is the above-mentioned deficiency at prior art, and a kind of simple in structure, miniaturization, cost is low and noise is little drive unit for lift are provided.
Drive unit for lift of the present utility model, it comprises two supports, stator, rotor, rotation framework, main shaft, driving rope sheave, brake equipment and brake disc; A described wherein support has the stator installation portion of described stator, has the brake equipment installation portion of described brake equipment, has the chamber portion that can hold described brake equipment, described brake disc and described brake equipment installation portion; Described rotation framework has the rotor installation portion of described rotor, has the driving rope sheave installation portion of described driving rope sheave; Described stator and described rotor are oppositely arranged at axial direction, and described stator and described driving rope sheave are separately positioned on the both sides of described rotor; Described driving rope sheave is by two sole plate supports.
Another drive unit for lift of the utility model, it comprises two supports, stator, rotor, rotation framework, main shaft, driving rope sheave, brake equipment and brake disc; A described wherein support has the stator installation portion of described stator; Described another support has the brake equipment installation portion of described brake equipment, has the chamber portion that can hold described brake equipment, described brake disc and described brake equipment installation portion; Described rotation framework has the rotor installation portion of described rotor, has the driving rope sheave installation portion of described driving rope sheave; Described stator and described rotor are oppositely arranged at axial direction, and described stator and described driving rope sheave are separately positioned on the both sides of described rotor; Described driving rope sheave is by two sole plate supports.
The another drive unit for lift of the utility model, it comprises two supports, stator, rotor, rotation framework, main shaft, driving rope sheave, brake equipment and brake disc; A described wherein support has the stator installation portion of described stator, has the brake equipment installation portion of described brake equipment, has the chamber portion that can hold described brake equipment, described brake disc and described brake equipment installation portion; Described rotation framework has the rotor installation portion of described rotor, has the driving rope sheave installation portion of described driving rope sheave; Described stator and described rotor are oppositely arranged in radial direction; Described brake equipment and brake disc and described stator and rotor are arranged diametrically, and brake equipment to small part is positioned at the inside of stator and/or rotor; Described driving rope sheave is by two sole plate supports.
The utility model is a drive unit for lift again, and it comprises two supports, stator, rotor, rotation framework, main shaft, driving rope sheave, brake equipment and brake disc; A described wherein support has the stator installation portion of described stator; Described another support has the brake equipment installation portion of described brake equipment, has the chamber portion that can hold described brake equipment, described brake disc and described brake equipment installation portion; Described rotation framework has the rotor installation portion of described rotor, has the driving rope sheave installation portion of described driving rope sheave; Described stator and described rotor are oppositely arranged in radial direction; Described driving rope sheave is by two sole plate supports.
Adopt the drive unit for lift of said structure, more existing drive unit for lift has following characteristics: 1) because two brake surfaces are arranged, thereby can reduce the requirement of the braking force of brake equipment, reduce the cost of brake equipment, the scantling of structure of brake equipment can not influence the structure design of drive unit for lift simultaneously; 2) described brake equipment and brake disc are arranged on the chamber portion of support, and brake equipment and brake disc can not influence the axial dimension of drive unit for lift like this; 3) the rotation framework of driving rope sheave and drive unit for lift links together, and the axial dimension that increases actuating device so only limits the axial dimension that drives rope sheave, thereby the axial dimension of drive unit for lift can reduce; 4) do not have annulus owing to drive rope sheave, the inertia of drive unit for lift is little than prior art, and is little thereby the moment of drive unit for lift requires, and the energy consumption of drive unit for lift is little simultaneously; 5) can not be subjected to the influence of brake plate abrasive dust because of brake surface, so braking force is stable.
Description of drawings
Below in conjunction with the drawings and specific embodiments the utility model is described in further detail:
Fig. 1 a is first kind of embodiment scheme drawing of the utility model;
Fig. 1 b is that the A of Fig. 1 a is to view;
Fig. 1 c is that the B of Fig. 1 a is to view;
Fig. 2 a is second kind of embodiment scheme drawing of the utility model;
Fig. 2 b is that the A of Fig. 2 a is to view;
Fig. 2 c is that the B of Fig. 2 a is to view;
Fig. 3 a is the third embodiment scheme drawing of the utility model;
Fig. 3 b is that the A of Fig. 3 a is to view;
Fig. 3 c is that the B of Fig. 3 a is to view;
Fig. 4 a is the 4th kind of embodiment scheme drawing of the utility model.
Fig. 4 b is that the A of Fig. 4 a is to view;
Fig. 4 c is that the B of Fig. 4 a is to view;
The specific embodiment
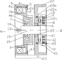
First kind of embodiment of the utility model as shown in Figure 1a, Fig. 1 b be the A of Fig. 1 a to view, Fig. 1 c is that the B of Fig. 1 a is to view; Drive unit for lift comprises driving rope sheave 1, rotation framework 2, rotor 3, support 4, support 22, stator 5, main shaft 19, brake disc 8 and brake equipment, brake equipment comprises secured core 10, mobile armature 16, magnet coil 11, spring 12, installation shaft 15, connects the brace table 23 of support 4 and support 22.Described support 4 comprises stator installation portion 4a, the 4b of main shaft support portion, brake equipment installation portion 4c, brake surface 4c, for simplified structure, the brake surface 4c of this embodiment and brake equipment installation portion 4c are same structure, can hold the 4d of chamber portion of described brake equipment, described brake disc 8, described brake equipment installation portion 4c and described brake surface 4c.Rotation framework 2 comprises rotor installation portion 2a, drives rope sheave installation portion 2b, and main shaft 19 is fixed together with rotation framework 2.Described driving rope sheave 1 is supported by support 4 and support 22.Described main shaft 19 is connected with support 22 with the 4b of main shaft support portion with bearing 7 rotatably by bearing 6.Described brake disc 8 can be connected 20 with described main shaft 19 with moving axially, can move axially on main shaft 19 by connecting 20 brake discs 8, and connecting 20 brake discs 8 by this simultaneously can be delivered to described main shaft 19 with the drag friction power that brake equipment produces.Certainly, brake disc 8 also can be connected with rotation framework 2, connects brake-force transmission on described rotation framework 2 by this.
Drive unit for lift as shown in Figure 1a, support 4 is permanently connected stator 5 together by stator installation portion 4a, and by the 4b of main shaft support portion, support 22 and two bearings 6, bearing 7, support 4 and support 22 link together rotatably with main shaft 19.The 4d of chamber portion of support 4 is provided with brake equipment installation portion 4c and brake surface 4c.The secured core 10 of brake equipment, mobile armature 16, magnet coil 11, installation shaft 15 and brake disc 8 are arranged in the 4d of chamber portion of support 4.Certainly secured core 10, mobile armature 16, magnet coil 11, installation shaft 15 and the brake disc 8 of brake equipment also can partly be arranged in the 4d of chamber portion of support 4.The 4d of chamber portion forms an osed top installing space by support cover plate 18, and the secured core 10 of brake equipment, mobile armature 16, magnet coil 11, installation shaft 15 and brake disc 8 are positioned at described installing space.
Rotate framework 2 as shown in Figure 1a and be permanently connected together, captive joint with described driving rope sheave 1 by driving rope sheave installation portion 2b by rotor installation portion 2a and described rotor 3.Main shaft 19 is permanently connected with described rotation framework 2, and stretches into to small part in the 4d of chamber portion of support 4.Main shaft 19 stretches into the end of the 4d of chamber portion, is connected with coder axle 13, and coder 14 is connected rotationally with coder axle 13.Described rotor 3 and described stator 5 are oppositely arranged at axial direction.Described stator 5 is positioned at the both sides of rotor 3 with driving rope sheave 1, and drives the outside that rope sheave 1 is positioned at actuating device, and the maintenance and the maintenance that drive rope sheave 1 like this are very easy, convenient.The support 4 of described drive unit for lift is provided with a shrouding 17, by shrouding 17 stator 5 and rotor 3 is enclosed in the space.Stator 5 and rotor 3 can not be subjected to the influence of external environment condition like this.The described main shaft support 4b of portion partly stretches into the inside that drives rope sheave 1.In order to simplify the number of parts of drive unit for lift, drive rope sheave 1, main shaft 9 and 2 integrated designs of rotation framework.
The secured core 10 of brake equipment is captiveed joint with brake equipment installation portion 4c by two installation shaft 15 as shown in Figure 1a.Mobile armature 16 is connected movably with two installation shaft 15.Brake disc 8 is between brake equipment and brake equipment installation portion 4c.Brake disc 8 both ends of the surface have friction lining 9 respectively.Brake disc 8 is connected movably with the part that main shaft 19 stretches into the 4d of chamber portion, and this connection 20 can be that spline connects, and also can be that flat key connects.The utility model drive unit for lift has two brake equipments.Two brake equipments floor plan on described brake surface 4c.Coder 14 is arranged on the midway location of two brake equipments.Certainly brake disc 8 both ends of the surface also can not be provided with friction lining 9, and two brake surfaces only are set, and this moment, the mobile armature 16 of support 4 and brake equipment was provided with friction lining 9.
Has the said structure drive unit for lift, its structure is very simple, safe and reliable, described support 4 has rotary supporting part 4b, the brake equipment installation portion 4c of stator installation portion 4a, main shaft 19, can hold the 4d of chamber portion of described brake equipment, described brake disc 8, described brake equipment installation portion 4c and described brake surface 4c; Described rotation framework 2 has the rope sheave of driving installation portion 2b, rotor installation portion 2a; Described brake surface 4c keeps apart fully with driving rope sheave 1; Described driving rope sheave 1 is supported by support 4 and support 22.The component part of drive unit for lift is few, simple in structure so on the one hand; On the other hand owing to have the 4d of chamber portion, hold brake equipment, brake disc 8, brake equipment installation portion 4c, brake surface 4c, brake equipment is positioned at the inside of the 4d of chamber portion fully like this, or brake equipment partly is positioned at the inside of the 4d of chamber portion, support cover plate 18 forms an osed top installing space with the 4d of chamber portion simultaneously, so the brake noise of the utility model drive unit for lift can not transmitted out substantially, described brake surface 4c can not be subjected to the influence of steel rope grease, also can not be subjected to simultaneously the influence of external environment, humidity of dust and air etc. for example, thereby the stay in grade that guarantees drive unit for lift is reliable, the noise of drive unit for lift is little, oad is little, especially axial dimension can do little, compact conformation; While is supported by support 4 and support 22 owing to driving rope sheave 1, and is stressed more reasonable, can reduce the requirement of strength of main shaft 19.Littler for what the axial dimension of drive unit for lift can be done, the described main shaft support 4b of portion stretches into the inside that drives rope sheave 1 to small part.
As shown in Figure 1a as can be known, the brake surface 4c of brake equipment and brake equipment installation portion 4c are support 4 same structures, whole like this drive unit for lift is simple in structure, simultaneously the intensity of the brake surface 4c of brake equipment and brake equipment installation portion 4c can make full use of the intensity of support 4 itself, thereby can save the supporting construction of brake surface 4c, can save cost.Because brake surface 4c is the part of support 4, so do not need rotor installation portion 2a is had the requirement of any strength and stiffness, the thickness of rotor installation portion 2a can be reduced like this, thereby reduce rotor installation portion 2a and drive unit for lift cost, and owing to the inertia of rotor installation portion 2a reduces, can reduce the moment requirement of drive unit for lift, thereby further reduce the cost of drive unit for lift.Two brake equipments horizontal distribution on brake surface 4c of described drive unit for lift, brake equipment will make full use of radial space and the axial space of the 4d of chamber portion like this, guarantee brake equipment substantially to the scantling of structure of support 4 without any influence.Because of the brake surface 4c of two brake equipments is identical, and brake surface 4c is the part of support 4, so the braking maneuver of two brake equipments can not influence each other, can not exist brake equipment to move when inconsistent, and the braking maneuver of described brake equipment influences each other.Described brake disc 8 is between brake equipment and brake surface 4c, have two brake strips 9, the requirement of brake equipment braking force can reduce half like this, thereby the size of brake equipment can reduce, cost can reduce simultaneously, so the structure design of drive unit for lift is freer.Because it is described brake surface 4c can not adhere to the abrasive dust of brake strip 9, stable thereby braking force keeps.Braking force is to act on the brake surface 4c in addition, be on the support 4, braking force is by braking brake disc 8, brake-force transmission is given on the main shaft 19, be delivered to again and drive on the rope sheave 1, glancing impact can not cause radial impact to described rotor 3 like this, can not influence described rotor 3 and produce any influence with being connected of described rotation framework 2, guarantees the safety of drive unit for lift.
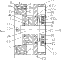
Second kind of embodiment of the utility model shown in Fig. 2 a, Fig. 2 b be the A of Fig. 2 a to view, Fig. 2 c is that the B of Fig. 2 a is to view.Be only to be provided with on the support 4 stator installation portion 4a with first kind of embodiment difference of the utility model; Support 22 is provided with the 22a of chamber portion that can hold brake equipment installation portion 22b, brake disc 8, brake equipment and brake surface 22c.By being installed in support cover plate 18 and the 22a of chamber portion on the support 22, form an osed top installing space, brake equipment, brake disc 8, brake surface 22c are positioned at described installing space.
The third embodiment of the utility model shown in Fig. 3 a, Fig. 3 b be the A of Fig. 3 a to view, Fig. 3 c is that the B of Fig. 3 a is to view.Be that with first kind of embodiment difference of the utility model described stator 5 and rotor 3 radial direction are oppositely arranged, brake equipment and brake disc 8 are arranged diametrically with stator 5 and rotor 3, and brake equipment to small part be positioned at the inside of stator 5 and rotor 3.
The 4th kind of embodiment of the utility model shown in Fig. 4 a, Fig. 4 b be the A of Fig. 4 a to view, Fig. 4 c is that the B of Fig. 4 a is to view.Be only to be provided with on the support 4 stator installation portion 4a with the 4th kind of embodiment difference of the utility model; Support 22 is provided with the 22a of chamber portion that can hold brake equipment installation portion 22b, brake disc 8, brake equipment and brake surface 22c.By being installed in support cover plate 18 and the 22a of chamber portion on the support 22, form an osed top installing space, brake equipment, brake disc 8, brake surface 22c are positioned at described installing space.
More than by embodiment, the utility model is had been described in detail, but these be not formation to restriction of the present utility model, main shaft 19 for example of the present utility model can be designed to captive joint with support 4.In the utility model spirit and essential feature scope, those skilled in the art also can make many distortion and improvement like this, and these also should be considered as protection domain of the present utility model.
Claims (9)
1. drive unit for lift, it comprises two supports, stator, rotor, rotation framework, main shaft, driving rope sheave, brake equipment and brake disc; A described wherein support has the stator installation portion of described stator, has the brake equipment installation portion of described brake equipment, has the chamber portion that can hold described brake equipment, described brake disc and described brake equipment installation portion; Described rotation framework has the rotor installation portion of described rotor, has the driving rope sheave installation portion of described driving rope sheave; Described stator and described rotor are oppositely arranged at axial direction, and described stator and described driving rope sheave are separately positioned on the both sides of described rotor; Described driving rope sheave is by two sole plate supports.
2. drive unit for lift, it comprises two supports, stator, rotor, rotation framework, main shaft, driving rope sheave, brake equipment and brake disc; A described wherein support has the stator installation portion of described stator; Described another support has the brake equipment installation portion of described brake equipment, has the chamber portion that can hold described brake equipment, described brake disc and described brake equipment installation portion; Described rotation framework has the rotor installation portion of described rotor, has the driving rope sheave installation portion of described driving rope sheave; Described stator and described rotor are oppositely arranged at axial direction, and described stator and described driving rope sheave are separately positioned on the both sides of described rotor; Described driving rope sheave is by two sole plate supports.
3. drive unit for lift, it comprises two supports, stator, rotor, rotation framework, main shaft, driving rope sheave, brake equipment and brake disc; A described wherein support has the stator installation portion of described stator, has the brake equipment installation portion of described brake equipment, has the chamber portion that can hold described brake equipment, described brake disc and described brake equipment installation portion; Described rotation framework has the rotor installation portion of described rotor, has the driving rope sheave installation portion of described driving rope sheave; Described stator and described rotor are oppositely arranged in radial direction; Described brake equipment and brake disc and described stator and rotor are arranged diametrically, and brake equipment to small part is positioned at the inside of stator and/or rotor; Described driving rope sheave is by two sole plate supports.
4. drive unit for lift, it comprises two supports, stator, rotor, rotation framework, main shaft, driving rope sheave, brake equipment and brake disc; A described wherein support has the stator installation portion of described stator; Described another support has the brake equipment installation portion of described brake equipment, has the chamber portion that can hold described brake equipment, described brake disc and described brake equipment installation portion; Described rotation framework has the rotor installation portion of described rotor, has the driving rope sheave installation portion of described driving rope sheave; Described stator and described rotor are oppositely arranged in radial direction; Described driving rope sheave is by two sole plate supports.
5. as arbitrary described drive unit for lift in the claim 1 to 4, it is characterized in that: described brake disc is connected with described main shaft, connects brake-force transmission on described rotation framework by this.
6. as arbitrary described drive unit for lift in the claim 1 to 4, it is characterized in that: described main shaft is captiveed joint described two described main shafts of sole plate supports with the rotation framework.
7. as arbitrary described drive unit for lift in the claim 1 to 4, it is characterized in that: described brake disc is connected with described rotation framework, connects brake-force transmission on described rotation framework by this.
8. as arbitrary described drive unit for lift in the claim 1 to 4, it is characterized in that: described brake disc is connected with described main shaft, connects brake-force transmission on described rotation framework by this.
9. drive unit for lift as claimed in claim 8 is characterized in that: described brake equipment, brake equipment installation portion, brake disc are positioned at described installing space.
Priority Applications (1)
| Application Number | Priority Date | Filing Date | Title |
|---|---|---|---|
| CN2009202095960U CN201545582U (en) | 2009-09-11 | 2009-09-11 | Elevator driving device |
Applications Claiming Priority (1)
| Application Number | Priority Date | Filing Date | Title |
|---|---|---|---|
| CN2009202095960U CN201545582U (en) | 2009-09-11 | 2009-09-11 | Elevator driving device |
Publications (1)
| Publication Number | Publication Date |
|---|---|
| CN201545582U true CN201545582U (en) | 2010-08-11 |
Family
ID=42600748
Family Applications (1)
| Application Number | Title | Priority Date | Filing Date |
|---|---|---|---|
| CN2009202095960U Expired - Fee Related CN201545582U (en) | 2009-09-11 | 2009-09-11 | Elevator driving device |
Country Status (1)
| Country | Link |
|---|---|
| CN (1) | CN201545582U (en) |
Cited By (3)
| Publication number | Priority date | Publication date | Assignee | Title |
|---|---|---|---|---|
| CN105217422A (en) * | 2014-06-09 | 2016-01-06 | 上海三菱电梯有限公司 | Elevator hoist |
| CN110027969A (en) * | 2018-01-11 | 2019-07-19 | 奥的斯电梯公司 | Traction thermomechanical components and elevator |
| CN113595278A (en) * | 2021-07-30 | 2021-11-02 | 珠海格力电器股份有限公司 | Rotor subassembly and have its motor |
-
2009
- 2009-09-11 CN CN2009202095960U patent/CN201545582U/en not_active Expired - Fee Related
Cited By (4)
| Publication number | Priority date | Publication date | Assignee | Title |
|---|---|---|---|---|
| CN105217422A (en) * | 2014-06-09 | 2016-01-06 | 上海三菱电梯有限公司 | Elevator hoist |
| CN110027969A (en) * | 2018-01-11 | 2019-07-19 | 奥的斯电梯公司 | Traction thermomechanical components and elevator |
| US11702321B2 (en) | 2018-01-11 | 2023-07-18 | Otis Elevator Company | Traction machine assembly and elevator |
| CN113595278A (en) * | 2021-07-30 | 2021-11-02 | 珠海格力电器股份有限公司 | Rotor subassembly and have its motor |
Similar Documents
| Publication | Publication Date | Title |
|---|---|---|
| CN101973479B (en) | Ultra-high-speed heavy-loading outer-rotor permanent magnet synchronous traction machine | |
| CN201068360Y (en) | Thin type permanent magnetism synchronization gear wheel free traction machine | |
| CN106185563A (en) | Lift appliance and lift appliance traction machine | |
| CN201545582U (en) | Elevator driving device | |
| US7705501B2 (en) | Common construction of coaxial I/O dual electro-mechanical units | |
| CN201538630U (en) | Drive device of elevator | |
| EP2657568A2 (en) | External rotation type power generation device having biased power generator | |
| CN201538629U (en) | Traction machine for elevator | |
| CN101955114B (en) | Tractor | |
| KR101085827B1 (en) | Friction hoist with free fall function | |
| CN201580872U (en) | Tractor | |
| CN102009904A (en) | Elevator driving device | |
| CN204778533U (en) | Magneto installs electric block inside | |
| CN201647775U (en) | Elevator traction machine | |
| CN201545580U (en) | Elevator driving device | |
| CN201545579U (en) | Elevator driving device | |
| CN102205934A (en) | Hoist-driving device of steel-rope electric hoist | |
| CN201545581U (en) | Elevator traction machine | |
| CN213141225U (en) | Built-in permanent magnet direct-drive winch | |
| CN201553521U (en) | Driving device for lift | |
| CN101993001B (en) | Elevator drive device | |
| CN208761954U (en) | Flange form traction machine and its mounting structure | |
| CN102001569A (en) | Elevator tractor | |
| CN201647778U (en) | Elevator driving device and supporting structure of driving rope wheel | |
| CN101987711B (en) | Tractor used for elevator |
Legal Events
| Date | Code | Title | Description |
|---|---|---|---|
| C14 | Grant of patent or utility model | ||
| GR01 | Patent grant | ||
| CF01 | Termination of patent right due to non-payment of annual fee |
Granted publication date: 20100811 Termination date: 20140911 |
|
| EXPY | Termination of patent right or utility model |