CN201538708U - Purified water ozone disinfection system - Google Patents
Purified water ozone disinfection system Download PDFInfo
- Publication number
- CN201538708U CN201538708U CN2009201872384U CN200920187238U CN201538708U CN 201538708 U CN201538708 U CN 201538708U CN 2009201872384 U CN2009201872384 U CN 2009201872384U CN 200920187238 U CN200920187238 U CN 200920187238U CN 201538708 U CN201538708 U CN 201538708U
- Authority
- CN
- China
- Prior art keywords
- water
- disinfection
- ejector
- purified water
- circuit
- Prior art date
- Legal status (The legal status is an assumption and is not a legal conclusion. Google has not performed a legal analysis and makes no representation as to the accuracy of the status listed.)
- Expired - Lifetime
Links
- XLYOFNOQVPJJNP-UHFFFAOYSA-N water Chemical compound O XLYOFNOQVPJJNP-UHFFFAOYSA-N 0.000 title claims abstract description 61
- 238000004659 sterilization and disinfection Methods 0.000 title claims abstract description 27
- 239000008213 purified water Substances 0.000 title claims abstract description 16
- CBENFWSGALASAD-UHFFFAOYSA-N Ozone Chemical compound [O-][O+]=O CBENFWSGALASAD-UHFFFAOYSA-N 0.000 title abstract description 9
- 230000001954 sterilising effect Effects 0.000 claims description 15
- 238000006385 ozonation reaction Methods 0.000 claims description 6
- MHAJPDPJQMAIIY-UHFFFAOYSA-N Hydrogen peroxide Chemical compound OO MHAJPDPJQMAIIY-UHFFFAOYSA-N 0.000 abstract description 14
- 238000004519 manufacturing process Methods 0.000 abstract description 5
- 230000000694 effects Effects 0.000 abstract description 2
- QVGXLLKOCUKJST-UHFFFAOYSA-N atomic oxygen Chemical compound [O] QVGXLLKOCUKJST-UHFFFAOYSA-N 0.000 description 3
- 239000001301 oxygen Substances 0.000 description 3
- 229910052760 oxygen Inorganic materials 0.000 description 3
- 244000005700 microbiome Species 0.000 description 2
- 239000000203 mixture Substances 0.000 description 2
- 238000006243 chemical reaction Methods 0.000 description 1
- 238000004140 cleaning Methods 0.000 description 1
- 230000002950 deficient Effects 0.000 description 1
- 238000011010 flushing procedure Methods 0.000 description 1
- 239000007789 gas Substances 0.000 description 1
- 230000002427 irreversible effect Effects 0.000 description 1
- 238000000034 method Methods 0.000 description 1
- 230000003647 oxidation Effects 0.000 description 1
- 238000007254 oxidation reaction Methods 0.000 description 1
- 239000000126 substance Substances 0.000 description 1
- 238000013022 venting Methods 0.000 description 1
- 230000003442 weekly effect Effects 0.000 description 1
Images
Landscapes
- Treatment Of Water By Oxidation Or Reduction (AREA)
Abstract
The utility model discloses a purified water ozone disinfection system which comprises a water storage tank, a water pump, and a water consumption station device for a user, wherein all the devices form a closed circuit by a pipeline; the system is characterized in that: the water storage tank is also externally connected with a water disinfection circuit, the water pump and an ejector are installed in the water disinfection circuit, and an air outlet of an ozone generator is connected into the water disinfection circuit by the ejector; and the water storage tank is externally connected with a purified water supply system. Compared with hydrogen peroxide disinfection, the system does not need to purchase a great amount of hydrogen peroxide, thus leading the disinfection work to be convenient and simple and have no residue, saving a great amount of cost, reducing production cost, and having very good disinfection effect.
Description
Technical field:
The utility model relates generally to a kind of purified water sterilisation system, relates in particular to a kind of purified water ozonization system.
Background technology:
At present, in traditional pure water sterilisation system, employing be the hydrogen peroxide sterilization, this sterilization method satisfies people's requirement substantially, but hydrogen peroxide sterilization is inconvenient, and consumption is big, with after have residually, cause the production cost height of pure water.
Ozone (O3) is the allotropic substance of oxygen, form by three Sauerstoffatoms (O), because the ozone molecule structure is extremely unstable, easily a Sauerstoffatom that has more is dished out and becomes oxygen molecule---" newborn oxygen ", the oxidation capacity of ozone is very strong, and microorganism is had the extremely strong ability of killing, and multiple composition produces reaction in it and the microorganism cells, thereby produce irreversible variation and be destroyed, can adopt the ozone water sterilization thus.
Summary of the invention:
The purpose of this utility model is exactly in order to remedy the defective of prior art, and a kind of purified water ozonization system is provided, and it is inconvenient to have solved the hydrogen peroxide sterilization, and consumption is big, with after have residually, cause the high problem of production cost of pure water.
The utility model is achieved through the following technical solutions:
A kind of purified water ozonization system, include water tank, water pump, user's water point apparatus, described each device constitutes the loop line by pipeline, it is characterized in that: described water tank also is circumscribed with a water sterilization loop, described water sterilization is equipped with water pump and ejector in the loop, has the air outlet of ozonizer to be linked in the water sterilization loop through ejector; The external pure water supply system of water tank.
Advantage of the present utility model:
The sterilization of the utility model and hydrogen peroxide is compared, and need not to buy a large amount of hydrogen peroxide, make disinfection become light, simple, noresidue, saved a large amount of expenses, reduced production cost, sterilisation effect is also very good, can promote the use of.
Description of drawings:
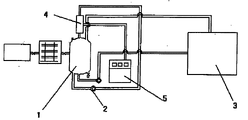
Fig. 1 is the utility model structural representation.
Embodiment:
A kind of purified water ozonization system, include water tank 1, water pump 2, user's usefulness water 3 devices, described each device constitutes the loop line by pipeline, water tank 1 is circumscribed with a water sterilization loop, water pump 2 and ejector 4 are installed in the water sterilization loop, ejector 4 is connected on the water tank 1, and ejector 4 is received in the air outlet of ozonizer 5.
Its concrete steps are:
(1). open purified water system ejector, make ejector, close ozonizer, close purified water system ejector simultaneously ejector operation 60min of purified water system such as the ozone gas that ozonizer produced mix;
(2). continue to allow the closed water pump operation 10min of purified water system, make ozone water closed in closed duct;
(3). stop the closed water pump of purified water system, the venting cleaning water;
(4). with the closed flushing of the purified water 10min of new system, qualified to detecting;
(5). the sterilization frequency for weekly or stop production after reproduce before.
Claims (1)
1. purified water ozonization system, include water tank, water pump, user's water point apparatus, described each device constitutes the loop line by pipeline, it is characterized in that: described water tank also is circumscribed with a water sterilization loop, described water sterilization is equipped with water pump and ejector in the loop, has the air outlet of ozonizer to be linked in the water sterilization loop through ejector; The external pure water supply system of water tank.
Priority Applications (1)
| Application Number | Priority Date | Filing Date | Title |
|---|---|---|---|
| CN2009201872384U CN201538708U (en) | 2009-08-31 | 2009-08-31 | Purified water ozone disinfection system |
Applications Claiming Priority (1)
| Application Number | Priority Date | Filing Date | Title |
|---|---|---|---|
| CN2009201872384U CN201538708U (en) | 2009-08-31 | 2009-08-31 | Purified water ozone disinfection system |
Publications (1)
| Publication Number | Publication Date |
|---|---|
| CN201538708U true CN201538708U (en) | 2010-08-04 |
Family
ID=42590160
Family Applications (1)
| Application Number | Title | Priority Date | Filing Date |
|---|---|---|---|
| CN2009201872384U Expired - Lifetime CN201538708U (en) | 2009-08-31 | 2009-08-31 | Purified water ozone disinfection system |
Country Status (1)
| Country | Link |
|---|---|
| CN (1) | CN201538708U (en) |
Cited By (3)
| Publication number | Priority date | Publication date | Assignee | Title |
|---|---|---|---|---|
| WO2014113917A1 (en) * | 2013-01-22 | 2014-07-31 | Nestec S.A. | Liquid purification apparatus and method |
| CN105060591A (en) * | 2015-09-02 | 2015-11-18 | 天津邦盛净化设备工程有限公司 | Storage and distribution system for purified water |
| CN108328578A (en) * | 2018-01-29 | 2018-07-27 | 荣成海奥斯生物科技有限公司 | The filling apparatus of gaseous state effective chlorine aqueous solution |
-
2009
- 2009-08-31 CN CN2009201872384U patent/CN201538708U/en not_active Expired - Lifetime
Cited By (5)
| Publication number | Priority date | Publication date | Assignee | Title |
|---|---|---|---|---|
| WO2014113917A1 (en) * | 2013-01-22 | 2014-07-31 | Nestec S.A. | Liquid purification apparatus and method |
| CN105073647A (en) * | 2013-01-22 | 2015-11-18 | 雀巢产品技术援助有限公司 | Liquid purification apparatus and method |
| US10329170B2 (en) | 2013-01-22 | 2019-06-25 | Nestec S. A. | Liquid purification apparatus and method |
| CN105060591A (en) * | 2015-09-02 | 2015-11-18 | 天津邦盛净化设备工程有限公司 | Storage and distribution system for purified water |
| CN108328578A (en) * | 2018-01-29 | 2018-07-27 | 荣成海奥斯生物科技有限公司 | The filling apparatus of gaseous state effective chlorine aqueous solution |
Similar Documents
| Publication | Publication Date | Title |
|---|---|---|
| CN103910426B (en) | A drinking water disinfection and purification device for centralized water supply in residential areas | |
| CN201538708U (en) | Purified water ozone disinfection system | |
| CN204569507U (en) | Vehicle-mounted ozone water machine | |
| CN106517619A (en) | Device and method for treating organic wastewater by sound, light and ozone coupling | |
| CN202038862U (en) | Ozone gas and ozone water preparation device | |
| CN201999782U (en) | Novel ozone sterilization aeration all-in-one machine | |
| CN205676147U (en) | A kind of chlorine dioxide generator | |
| CN207209953U (en) | Novel energy-conserving hypochlorous acid thimerosal process units | |
| CN202337685U (en) | Chlorine dioxide generating device | |
| CN202594781U (en) | Cooling water circulating device for external ozone generator | |
| CN216141633U (en) | Proton exchange membrane electrolytic device for multiple products | |
| CN201694833U (en) | Portable chlorine dioxide reacting apparatus | |
| CN204417257U (en) | A kind of oxidation treatment device of sewage | |
| CN219730665U (en) | Secondary water supply ozone sterilizer | |
| CN221384481U (en) | Sterilizing device utilizing ozone gas | |
| CN206783384U (en) | A water treatment ozone oxidation device | |
| CN111717889A (en) | Portable hydrogen generator and method for generating hydrogen using portable hydrogen generator | |
| CN221815762U (en) | An organic waste gas ozone decomposition and deodorization treatment equipment | |
| CN112058057A (en) | A low-pressure electrolyzed water type mixed ozone water supply deodorization device | |
| CN222331678U (en) | Ozone water disinfection system for purified water storage and distribution in pharmaceutical industry | |
| CN222631237U (en) | A mobile pilot plant | |
| CN218993614U (en) | Neck hanging type air purifying product with photocatalyst for disinfection and sterilization | |
| CN105752935B (en) | Ball-type floating warehouse formula device for producing oxygen from chemical substance | |
| CN204138496U (en) | Buried type integrated hospital sewage treating apparatus | |
| CN220202050U (en) | Electrolytic ozone generating device |
Legal Events
| Date | Code | Title | Description |
|---|---|---|---|
| C14 | Grant of patent or utility model | ||
| GR01 | Patent grant | ||
| CP01 | Change in the name or title of a patent holder |
Address after: 246600 Changning industrial district, Yuexi County, Anhui Province Patentee after: Anqing Hui must pharmaceutical Limited by Share Ltd Address before: 246600 Changning industrial district, Yuexi County, Anhui Province Patentee before: Anqing Chengfeng Pharmaceutical Co.,Ltd. |
|
| CP01 | Change in the name or title of a patent holder | ||
| CX01 | Expiry of patent term |
Granted publication date: 20100804 |
|
| CX01 | Expiry of patent term |