CN201537727U - Movable Feed System - Google Patents
Movable Feed System Download PDFInfo
- Publication number
- CN201537727U CN201537727U CN2009202319374U CN200920231937U CN201537727U CN 201537727 U CN201537727 U CN 201537727U CN 2009202319374 U CN2009202319374 U CN 2009202319374U CN 200920231937 U CN200920231937 U CN 200920231937U CN 201537727 U CN201537727 U CN 201537727U
- Authority
- CN
- China
- Prior art keywords
- base
- moving block
- slide plate
- utility
- screw rod
- Prior art date
- Legal status (The legal status is an assumption and is not a legal conclusion. Google has not performed a legal analysis and makes no representation as to the accuracy of the status listed.)
- Expired - Fee Related
Links
- 238000000034 method Methods 0.000 description 2
- 238000010586 diagram Methods 0.000 description 1
Images
Classifications
-
- Y—GENERAL TAGGING OF NEW TECHNOLOGICAL DEVELOPMENTS; GENERAL TAGGING OF CROSS-SECTIONAL TECHNOLOGIES SPANNING OVER SEVERAL SECTIONS OF THE IPC; TECHNICAL SUBJECTS COVERED BY FORMER USPC CROSS-REFERENCE ART COLLECTIONS [XRACs] AND DIGESTS
- Y02—TECHNOLOGIES OR APPLICATIONS FOR MITIGATION OR ADAPTATION AGAINST CLIMATE CHANGE
- Y02A—TECHNOLOGIES FOR ADAPTATION TO CLIMATE CHANGE
- Y02A40/00—Adaptation technologies in agriculture, forestry, livestock or agroalimentary production
- Y02A40/80—Adaptation technologies in agriculture, forestry, livestock or agroalimentary production in fisheries management
- Y02A40/81—Aquaculture, e.g. of fish
Landscapes
- Drilling And Boring (AREA)
- Details Of Spanners, Wrenches, And Screw Drivers And Accessories (AREA)
Abstract
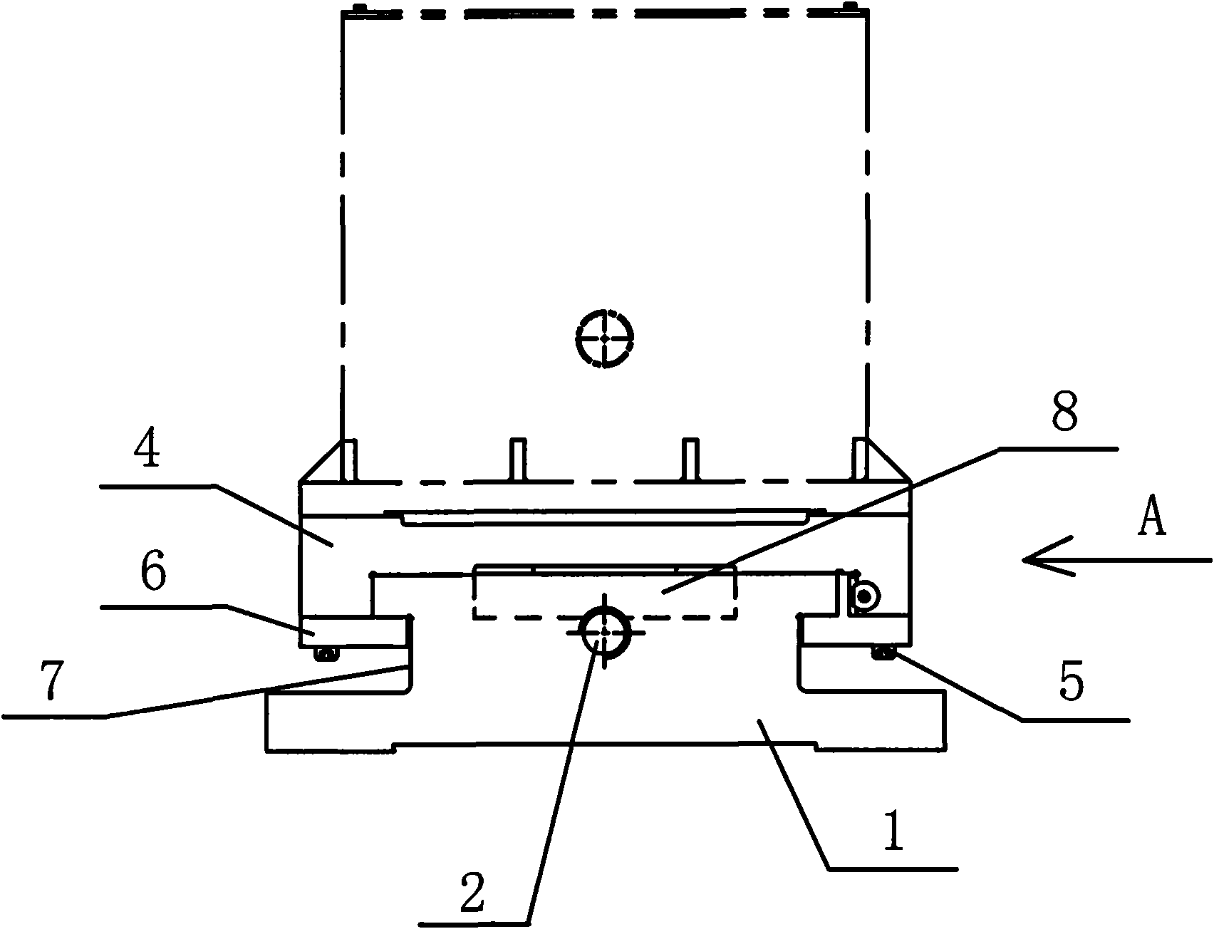
本实用新型涉及一种可移动式进给系统,包括底座,底座为“工”字形,在底座中设有纵向槽,纵向槽内设有丝杆,丝杆的一端置于底座中,另一端穿过底座连接有电机,底座上设有与底座相配合的滑板,滑板为“门”字形,滑板的两端底部都通过螺母连接有螺母座,两个螺母座的一端分别置于底座两端设有的凹槽中,且在丝杆与滑板之间设有移动块,移动块的下部设有与丝杆相匹配的圆弧凹槽。本实用新型结构简单、运行平稳,可用于加工大型工件,节约生产成本的优点。
The utility model relates to a movable feeding system, comprising a base, the base is "I" shaped, a longitudinal groove is arranged in the base, a screw rod is arranged in the longitudinal groove, one end of the screw rod is placed in the base, and the other end The motor is connected through the base, and the base is equipped with a sliding plate that matches the base. The sliding plate is in the shape of a "door". The bottoms of both ends of the sliding plate are connected with nut seats through nuts. In the provided groove, a moving block is arranged between the screw mandrel and the slide plate, and the lower part of the moving block is provided with an arc groove matching the screw mandrel. The utility model has the advantages of simple structure and stable operation, can be used for processing large workpieces, and saves production costs.
Description
技术领域:Technical field:
本实用新型涉及一种进给系统,特别是一种可移动式进给系统。The utility model relates to a feeding system, in particular to a movable feeding system.
背景技术:Background technique:
在港口机械等很多行业中,有许多大型工件需要进行镗孔等机加工,而工件本身由于过重过大,普通的落地镗床无法对此进行加工,必须制作大型镗加工工装、镗排及动力头来满足该类工件的加工需要,从而制作进给系统来提供整个镗床的进给装置,即能带动镗刀之类的做移动的装置,现有的进给系统都是固定,不可移动的,这样便给进给装置带来很多的不便,导致很多工件无法正常加工,需更换不同行程的镗床等,加工工艺繁琐。In many industries such as port machinery, there are many large-scale workpieces that need to be machined such as boring, and the workpiece itself is too heavy and too large to be processed by ordinary floor boring machines. Large-scale boring tooling, boring row and power must be produced. Head to meet the processing needs of this type of workpiece, so as to make the feed system to provide the feed device of the entire boring machine, that is, to drive the moving device such as the boring tool. The existing feed system is fixed and cannot be moved. , This will bring a lot of inconvenience to the feeding device, causing many workpieces to be unable to be processed normally, and it is necessary to replace boring machines with different strokes, etc., and the processing technology is cumbersome.
发明内容:Invention content:
本实用新型的目的是为了克服以上的不足,提供一种结构简单、运行平稳,可用于加工大型工件,节约生产成本的可移动式进给系统。The purpose of the utility model is to overcome the above disadvantages and provide a movable feeding system with simple structure, stable operation, which can be used for processing large workpieces and saves production costs.
本实用新型的目的通过以下技术方案来实现:一种可移动式进给系统,包括底座,底座为“工”字形,在底座中设有纵向槽,纵向槽内设有丝杆,丝杆的一端置于底座中,另一端穿过底座连接有电机,底座上设有与底座相配合的滑板,滑板为“门”字形,滑板的两端底部都通过螺母连接有螺母座,两个螺母座的一端分别置于底座两端设有的凹槽中,且在丝杆与滑板之间设有移动块,且在移动块的下部设有与丝杆相匹配的圆弧凹槽。The purpose of this utility model is achieved through the following technical solutions: a movable feed system, including a base, the base is "I" shape, a longitudinal groove is arranged in the base, a screw rod is arranged in the longitudinal groove, and the screw rod One end is placed in the base, and the other end is connected to the motor through the base. The base is equipped with a sliding plate that matches the base. The sliding plate is in the shape of a "door". Both ends of the sliding plate are connected with nut seats through nuts. Two nut seats One end of each is respectively placed in the groove provided at both ends of the base, and a moving block is arranged between the screw rod and the slide plate, and an arc groove matching the screw rod is arranged at the lower part of the moving block.
本实用新型与现有技术相比具有以下优点:将动力头等固定在滑板上,通过丝杆的转动带动移动块移动,从而带动滑板的移动,实现系统的移动,且在滑板的两端底部通过螺母连接有螺母座,保证了系统整体的运行平稳,这种可移动式进给系统不仅结构简单,可用于加工大型工件,从而节约了生产成本。Compared with the prior art, the utility model has the following advantages: the power head and the like are fixed on the slide plate, and the moving block is driven to move by the rotation of the screw rod, thereby driving the movement of the slide plate to realize the movement of the system. The nut is connected with a nut seat, which ensures the smooth operation of the whole system. This movable feeding system not only has a simple structure, but also can be used to process large workpieces, thereby saving production costs.
附图说明:Description of drawings:
图1为本实用新型的结构示意图;Fig. 1 is the structural representation of the utility model;
图2为图1的A向结构示意图;Fig. 2 is a schematic diagram of the structure in direction A of Fig. 1;
图中标号:1-底座、2-丝杆、3-电机、4-滑板、5-螺母、6-螺母座、7-凹槽、8-移动块。Labels in the figure: 1-base, 2-screw, 3-motor, 4-slide, 5-nut, 6-nut seat, 7-groove, 8-moving block.
具体实施方式:Detailed ways:
为了加深对本实用新型的理解,下面将结合实施例和附图对本实用新型作进一步详述,该实施例仅用于解释本实用新型,并不构成对本实用新型保护范围的限定。In order to deepen the understanding of the utility model, the utility model will be further described below in conjunction with the embodiments and accompanying drawings. The embodiment is only used to explain the utility model, and does not constitute a limitation to the protection scope of the utility model.
如图1示出了本实用新型可移动式进给系统的一种具体实施方式,包括底座1,底座1为“工”字形,底座1中设有纵向槽,纵向槽内设有丝杆2,丝杆2的一端置于底座1中,另一端穿过底座1连接有电机3,底座1上设有与底座1相配合的滑板4,滑板4为“门”字形,滑板4的两端底部都通过螺母5连接有螺母座6,两个螺母座6的一端分别置于底座1两端设有的凹槽7中,在工作时,保证了滑板4能平稳运行,丝杆2与滑板4之间设有移动块8,在需要工作时,可以在滑板4上安装动力头,系统工作时,电机3带动丝杆2转动,而丝杆2与滑板4之间设有移动块8,移动块的下部设有与丝杆相匹配的圆弧凹槽,当丝杆转动时,带动移动块8移动,从而带动滑板4移动,即动力头移动,这种移动式进给系统可用于加工大型工件,节约了生产成本。Figure 1 shows a specific embodiment of the utility model movable feed system, including a
Claims (1)
Priority Applications (1)
| Application Number | Priority Date | Filing Date | Title |
|---|---|---|---|
| CN2009202319374U CN201537727U (en) | 2009-09-23 | 2009-09-23 | Movable Feed System |
Applications Claiming Priority (1)
| Application Number | Priority Date | Filing Date | Title |
|---|---|---|---|
| CN2009202319374U CN201537727U (en) | 2009-09-23 | 2009-09-23 | Movable Feed System |
Publications (1)
| Publication Number | Publication Date |
|---|---|
| CN201537727U true CN201537727U (en) | 2010-08-04 |
Family
ID=42589181
Family Applications (1)
| Application Number | Title | Priority Date | Filing Date |
|---|---|---|---|
| CN2009202319374U Expired - Fee Related CN201537727U (en) | 2009-09-23 | 2009-09-23 | Movable Feed System |
Country Status (1)
| Country | Link |
|---|---|
| CN (1) | CN201537727U (en) |
Cited By (2)
| Publication number | Priority date | Publication date | Assignee | Title |
|---|---|---|---|---|
| CN108788248A (en) * | 2018-06-22 | 2018-11-13 | 西安航天动力机械有限公司 | A kind of processing unit (plant) of diversion trench tablet inclined hole |
| CN110722185A (en) * | 2019-11-04 | 2020-01-24 | 刘雪侠 | Crankshaft connecting rod double-head synchronous multi-shaft drilling device |
-
2009
- 2009-09-23 CN CN2009202319374U patent/CN201537727U/en not_active Expired - Fee Related
Cited By (2)
| Publication number | Priority date | Publication date | Assignee | Title |
|---|---|---|---|---|
| CN108788248A (en) * | 2018-06-22 | 2018-11-13 | 西安航天动力机械有限公司 | A kind of processing unit (plant) of diversion trench tablet inclined hole |
| CN110722185A (en) * | 2019-11-04 | 2020-01-24 | 刘雪侠 | Crankshaft connecting rod double-head synchronous multi-shaft drilling device |
Similar Documents
| Publication | Publication Date | Title |
|---|---|---|
| CN202846171U (en) | A sliding workbench | |
| CN202498356U (en) | Special numerical control drilling and milling machine for pin shaft | |
| CN204818206U (en) | Improved generation is milling machine for sleeping in immediately | |
| CN205043209U (en) | Take drilling special plane of power shaft group of drill bushing | |
| CN203509717U (en) | Horizontal type boring-milling head | |
| CN207873168U (en) | A kind of upright drill equipped with positioning device | |
| CN201537727U (en) | Movable Feed System | |
| CN206382593U (en) | Automation equipment for the drilling simultaneously of Barrel of Hydraulic Cylinders two ends and iron filings cleaning | |
| CN202479814U (en) | Turning and milling composite power head device | |
| CN105729126A (en) | Numerical control machining all-in-one machine of plates | |
| CN211163194U (en) | Gantry grinding and filing machine tool | |
| CN209578230U (en) | A dual-servo intelligent reinforced hinge plate chamfering device | |
| CN104400564B (en) | A kind of multifunction machine | |
| CN203725816U (en) | Machining device for inner hole of shaft type workpiece | |
| CN202114293U (en) | High-precision multistation numerical-control drilling center for overlength workpiece | |
| CN206326698U (en) | A kind of timber horizontal Machining centers | |
| CN110576195A (en) | A CNC double-head vertical lathe | |
| CN206474901U (en) | The side-mounted lathe of cutter | |
| CN103481101A (en) | Horizontal type boring and milling head | |
| CN205165958U (en) | Drilling machine | |
| CN203197008U (en) | Cold centering machine for tube blanks | |
| CN203401851U (en) | Engraving machine for rotary drum | |
| CN206351358U (en) | A kind of NEW TYPE OF COMPOSITE special purpose machine tool | |
| CN204338879U (en) | Centre bore lathe for machining | |
| CN211840953U (en) | Forming mechanism of casing machine |
Legal Events
| Date | Code | Title | Description |
|---|---|---|---|
| C14 | Grant of patent or utility model | ||
| GR01 | Patent grant | ||
| CF01 | Termination of patent right due to non-payment of annual fee | ||
| CF01 | Termination of patent right due to non-payment of annual fee |
Granted publication date: 20100804 Termination date: 20170923 |
