CN201535309U - An iron tower anti-loosening and anti-theft thread connection pair - Google Patents
An iron tower anti-loosening and anti-theft thread connection pair Download PDFInfo
- Publication number
- CN201535309U CN201535309U CN2009201894843U CN200920189484U CN201535309U CN 201535309 U CN201535309 U CN 201535309U CN 2009201894843 U CN2009201894843 U CN 2009201894843U CN 200920189484 U CN200920189484 U CN 200920189484U CN 201535309 U CN201535309 U CN 201535309U
- Authority
- CN
- China
- Prior art keywords
- loosening
- nut
- several
- bolt
- ferrule
- Prior art date
- Legal status (The legal status is an assumption and is not a legal conclusion. Google has not performed a legal analysis and makes no representation as to the accuracy of the status listed.)
- Expired - Fee Related
Links
Images
Landscapes
- Bridges Or Land Bridges (AREA)
Abstract
一种铁塔防松防盗螺纹连接副,它包括螺栓、防松卡套和螺母,其特征是螺栓通过防松卡套连接螺母,螺栓的螺纹处开有数条凹槽;螺母一面外形为六角柱形,另一面为圆柱形,在圆螺母外缘对称设有两个或若干个下部呈弧形的止动柱;防松卡套有两个大小不同的台阶孔,小台阶孔处设有数个内凸齿,与开有凹槽的螺栓套合,大台阶孔端开有十字槽,在卡套上开有两个或数个止动孔。本实用新型的技术效果是:通过防松卡套实现螺栓、螺母的固定,从而达到螺栓连接副不易松动并防盗的目的。
An iron tower anti-loosening and anti-theft thread connection pair, which includes bolts, anti-loosening ferrules and nuts, is characterized in that the bolts are connected to nuts through the anti-loosening ferrules, and there are several grooves on the threads of the bolts; one side of the nuts is in the shape of a hexagonal column , the other side is cylindrical, and there are two or several arc-shaped stop posts symmetrically arranged on the outer edge of the round nut; the anti-loosening ferrule has two stepped holes of different sizes, and several inner Convex teeth fit with grooved bolts, cross grooves are formed at the end of the large step hole, and two or several stop holes are formed on the ferrule. The technical effect of the utility model is: the fixing of the bolt and the nut is realized through the anti-loosening ferrule, so as to achieve the purpose that the bolt connection pair is not easy to loosen and prevents theft.
Description
技术领域technical field
本实用新型涉及一种连接副,尤其涉及一种铁塔防松防盗螺纹连接副。The utility model relates to a connection pair, in particular to an iron tower anti-loosening and anti-theft thread connection pair.
背景技术Background technique
铁塔受风振影响,其构件的螺纹连接副往往会产生松动,因而易磨损、脱落,酿成重大事故及不必要的损失;同时,现有铁塔的螺纹连接用一般工具就能进行拆卸,很容易给不法分子带来可乘之机。为解决防松问题,现有的做法包括:1、加弹簧垫圈;2用钢丝绳或插销穿入螺栓螺母母体;3、双螺母连接,如中国专利号为ZL992349.15.X和ZL02244796.2的专利;4、利用膨胀原理使螺栓膨胀,如中国专利号为ZL01271652.9和ZL200320131108.1等等。上述第一种方法由于弹性力作用不均匀,防松效果不理想;第二种方法防松作用有所改善,同时也起到一定的防盗效果,但高空安装困难;后两种方法防松效果有所提高,但大部分不具备防盗作用,且结构较为复杂,螺栓或螺母加工困难,成本较高。Iron towers are affected by wind vibrations, and the threaded connection pairs of its components tend to be loose, so they are easy to wear and fall off, causing major accidents and unnecessary losses; at the same time, the threaded connections of existing iron towers can be disassembled with ordinary tools, which is very easy It is easy to bring opportunities for criminals. In order to solve the problem of anti-loosening, the existing methods include: 1. Add spring washers; 2. Penetrate the bolt and nut matrix with steel wire rope or latch; 3. Double nut connection, such as Chinese patent No. ZL992349.15. Patent; 4. Use the expansion principle to expand the bolt, such as Chinese patent No. ZL01271652.9 and ZL200320131108.1 and so on. The above-mentioned first method is not ideal due to the uneven effect of the elastic force; the second method has improved the anti-loose effect and also has a certain anti-theft effect, but it is difficult to install at high altitude; the latter two methods have better anti-loose effect. Some improvements have been made, but most of them do not have the anti-theft function, and the structure is more complicated, the bolts or nuts are difficult to process, and the cost is higher.
发明内容Contents of the invention
本实用新型的目的在于提供了一种铁塔防松防盗螺纹连接副,该连接副有效防松防盗,制造成本低,安装方便。The purpose of the utility model is to provide an iron tower anti-loosening and anti-theft thread connection pair, which is effective in anti-loosening and anti-theft, has low manufacturing cost and is easy to install.
本实用新型是这样来实现的,它包括螺栓、防松卡套和螺母,其特征是螺栓通过防松卡套连接螺母,螺栓的螺纹处开有数条凹槽;螺母一面外形为六角柱形,另一面为圆柱形,在圆螺母外缘对称设有两个或若干个下部呈弧形的止动柱;防松卡套有两个大小不同的台阶孔,小台阶孔处设有数个内凸齿,与开有凹槽的螺栓套合,大台阶孔端开有十字槽,且大台阶孔口径能套入带有止动柱的圆螺母并使卡套胀开,在卡套上开有两个或数个止动孔,其位置能使圆螺母压住台阶并与螺母上的止动柱配合。使用时,螺栓安装在工件上,通过螺栓凹槽与卡套内凸齿的配合实现螺栓与卡套的固定;而在螺母旋紧的同时,带有止动柱的圆螺母部分进入卡套,使卡套大孔端逐渐发生弹塑性变形而胀开,直至圆螺母压住卡套上的台阶且止动柱进入止动孔,卡套弹性回复,实现螺母与卡套的固定。The utility model is realized in this way, it comprises bolt, anti-loosening ferrule and nut, it is characterized in that bolt connects nut through anti-loosening ferrule, and there are several grooves on the screw thread of bolt; The shape of one side of nut is hexagonal column shape, The other side is cylindrical, and two or several arc-shaped stop posts are arranged symmetrically on the outer edge of the round nut; the anti-loose ferrule has two stepped holes of different sizes, and several inner protrusions are arranged at the small stepped holes. Teeth, fitted with bolts with grooves, the end of the large step hole is provided with a cross groove, and the diameter of the large step hole can be inserted into a round nut with a stopper column to expand the ferrule, and the ferrule has a Two or more stop holes positioned so that the round nut presses against the step and cooperates with the stop post on the nut. When in use, the bolt is installed on the workpiece, and the bolt and the ferrule are fixed by the cooperation between the bolt groove and the convex teeth in the ferrule; while the nut is tightened, the round nut with the stopper part enters the ferrule, Make the large hole end of the ferrule gradually undergo elastic-plastic deformation and expand until the round nut presses the step on the ferrule and the stop post enters the stop hole, the ferrule elastically recovers, and the nut and ferrule are fixed.
本实用新型的技术效果是:通过防松卡套实现螺栓、螺母的固定,从而达到螺栓连接副不易松动并防盗的目的。The technical effect of the utility model is: the fixing of the bolt and the nut is realized through the anti-loosening ferrule, so as to achieve the purpose that the bolt connection pair is not easy to loosen and prevents theft.
附图说明Description of drawings
图1为本实用新型的结构示意图。Fig. 1 is the structural representation of the utility model.
图2为本实用新型螺栓的俯视图。Fig. 2 is a top view of the bolt of the present invention.
图3为本实用新型防松卡套的俯视图。Fig. 3 is a top view of the anti-loosening ferrule of the present invention.
图4为本实用新型防松卡套的正视图。Fig. 4 is a front view of the anti-loosening ferrule of the present invention.
图5为本实用新型螺母的正视图。Fig. 5 is the front view of the nut of the present utility model.
图6为本实用新型螺母的仰视图。Fig. 6 is the bottom view of the nut of the present invention.
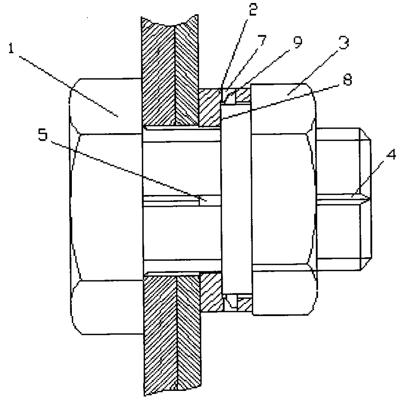
在图中,1、螺栓 2、防松卡套 3、螺母 4、凹槽 5、内凸齿 6、十字槽 7、止动孔 8、台阶 9、止动柱In the figure, 1, bolt 2,
具体实施方式Detailed ways
如图1、图2、图3、图4、图5、图6所示,铁塔防松防盗螺纹连接副由螺栓1、防松卡套2和螺母3组成。螺栓1的螺纹处开有数条凹槽4。防松卡套2有两个大小不同的孔,两孔之间存在一个台阶8,小孔处设有数个内凸齿5,与开有凹槽4的螺栓1套合,大孔端开有十字槽6和两个或数个止动孔7。螺母3一面外形为六角柱形,另一面为圆柱形,在圆螺母外缘对称设有两个或数个下部呈弧形的止动柱9。螺栓1安装在工件上,套上防松动卡套2再拧上螺母3,圆螺母部分的止动柱9进入防松动卡套2,使防松动卡套2胀开,直至圆螺母压住卡套上的台阶8且止动柱9进入止动孔7,卡套2弹性回复,螺栓1和螺母3在卡套2的固定下不易松动并可防盗。As shown in Fig. 1, Fig. 2, Fig. 3, Fig. 4, Fig. 5 and Fig. 6, the iron tower anti-loosening and anti-theft thread connection pair is composed of a
Claims (1)
Priority Applications (1)
| Application Number | Priority Date | Filing Date | Title |
|---|---|---|---|
| CN2009201894843U CN201535309U (en) | 2009-10-19 | 2009-10-19 | An iron tower anti-loosening and anti-theft thread connection pair |
Applications Claiming Priority (1)
| Application Number | Priority Date | Filing Date | Title |
|---|---|---|---|
| CN2009201894843U CN201535309U (en) | 2009-10-19 | 2009-10-19 | An iron tower anti-loosening and anti-theft thread connection pair |
Publications (1)
| Publication Number | Publication Date |
|---|---|
| CN201535309U true CN201535309U (en) | 2010-07-28 |
Family
ID=42535088
Family Applications (1)
| Application Number | Title | Priority Date | Filing Date |
|---|---|---|---|
| CN2009201894843U Expired - Fee Related CN201535309U (en) | 2009-10-19 | 2009-10-19 | An iron tower anti-loosening and anti-theft thread connection pair |
Country Status (1)
| Country | Link |
|---|---|
| CN (1) | CN201535309U (en) |
Cited By (4)
| Publication number | Priority date | Publication date | Assignee | Title |
|---|---|---|---|---|
| CN102022019A (en) * | 2010-11-03 | 2011-04-20 | 河南省电力公司洛阳供电公司 | Method for split tower erection of lines in complex terrain |
| CN102889288A (en) * | 2012-09-26 | 2013-01-23 | 黑龙江建龙钢铁有限公司 | Irregular nut matched with foundation bolt for reducer and reducer fixing method |
| CN104947805A (en) * | 2015-07-03 | 2015-09-30 | 上海同演建筑科技有限公司 | Transverse fastening type female and male flange device |
| CN117230978A (en) * | 2023-11-13 | 2023-12-15 | 山东创元建设集团有限公司 | Truss for building construction |
-
2009
- 2009-10-19 CN CN2009201894843U patent/CN201535309U/en not_active Expired - Fee Related
Cited By (7)
| Publication number | Priority date | Publication date | Assignee | Title |
|---|---|---|---|---|
| CN102022019A (en) * | 2010-11-03 | 2011-04-20 | 河南省电力公司洛阳供电公司 | Method for split tower erection of lines in complex terrain |
| CN102022019B (en) * | 2010-11-03 | 2016-03-30 | 河南省电力公司洛阳供电公司 | A kind of method of complex terrain route split tower erection |
| CN102889288A (en) * | 2012-09-26 | 2013-01-23 | 黑龙江建龙钢铁有限公司 | Irregular nut matched with foundation bolt for reducer and reducer fixing method |
| CN104947805A (en) * | 2015-07-03 | 2015-09-30 | 上海同演建筑科技有限公司 | Transverse fastening type female and male flange device |
| CN104947805B (en) * | 2015-07-03 | 2018-05-22 | 上海同演建筑科技有限公司 | Horizontal fastening-type concave-convex flange device |
| CN117230978A (en) * | 2023-11-13 | 2023-12-15 | 山东创元建设集团有限公司 | Truss for building construction |
| CN117230978B (en) * | 2023-11-13 | 2024-02-06 | 山东创元建设集团有限公司 | Truss for building construction |
Similar Documents
| Publication | Publication Date | Title |
|---|---|---|
| CN201535309U (en) | An iron tower anti-loosening and anti-theft thread connection pair | |
| CN101825130A (en) | Easily detachable expansion bolt | |
| CN201973066U (en) | Anti-theft screw cap | |
| CN102561599A (en) | Connector of steel stranded wires and finished twisted steel | |
| CN205639248U (en) | Anti vibration is from jack panel | |
| CN202391018U (en) | Connector between steel strand and finished deformed bar | |
| CN104454914A (en) | Plough type ratchet pad lock catch anti-loose device for railway touching net | |
| CN204344652U (en) | A kind of railway contact line plough sour jujube pad snap close locking device | |
| CN102192231A (en) | Anti-theft device | |
| CN106640915A (en) | Anti-loosening structure for press bar chock plug additionally-arranged thread sleeve | |
| CN110805605A (en) | Locking theftproof high strength bolt | |
| CN212407277U (en) | Anti-loose shockproof fastener | |
| CN215671271U (en) | Connector for 2400 MPa-grade steel strand testing | |
| CN204082861U (en) | A kind of high ferro contact net to be interlocked locking securing means with special-shaped sour jujube pad | |
| CN201250835Y (en) | Anti-demolition bolt pair | |
| CN202545520U (en) | Backstop bolt | |
| CN105889286A (en) | Anti-theft and anti-vibration screw thread pair structure | |
| CN202531579U (en) | One-time setscrew with lock | |
| CN214998745U (en) | Locking car screw that moves | |
| CN221779809U (en) | An easy-to-tighten anti-loosening bolt for highway guardrail | |
| CN205780212U (en) | A kind of nested type cone antitheft antidetonation nut | |
| CN2635977Y (en) | Convenient loosening-preventing screw | |
| CN212671200U (en) | An easy-to-remove pull-bolt assembly | |
| CN219101838U (en) | Polygonal anti-theft nut | |
| CN221818491U (en) | A nut assembly fixture for automobile chassis parts |
Legal Events
| Date | Code | Title | Description |
|---|---|---|---|
| C14 | Grant of patent or utility model | ||
| GR01 | Patent grant | ||
| ASS | Succession or assignment of patent right |
Owner name: JIANGXI ELECTRIC POWER SCIENCE ACADEMY Free format text: FORMER OWNER: LI BO Effective date: 20101108 |
|
| C41 | Transfer of patent application or patent right or utility model | ||
| COR | Change of bibliographic data |
Free format text: CORRECT: ADDRESS; FROM: 330000 NO.88, MINQIANG ROAD, PRIVATE SCIENCE AND TECHNOLOGY PARK, NANCHANG CITY, JIANGXI PROVINCE TO: 330096 NO.88, MINQIANG ROAD, PRIVATE SCIENCE AND TECHNOLOGY PARK, NANCHANG CITY, JIANGXI PROVINCE |
|
| TR01 | Transfer of patent right |
Effective date of registration: 20101108 Address after: 330096 Nanchang private science and Technology Park, Jiangxi Road, No. 88 Patentee after: Jiangxi Electric Power Science Academy Address before: 330000 No. 88 min Qiang Road, private science and Technology Park, Jiangxi, Nanchang Patentee before: Li Bo |
|
| C17 | Cessation of patent right | ||
| CF01 | Termination of patent right due to non-payment of annual fee |
Granted publication date: 20100728 Termination date: 20101019 |
