CN201531021U - 预制构件水泥土钻孔灌注桩 - Google Patents
预制构件水泥土钻孔灌注桩 Download PDFInfo
- Publication number
- CN201531021U CN201531021U CN2009202077144U CN200920207714U CN201531021U CN 201531021 U CN201531021 U CN 201531021U CN 2009202077144 U CN2009202077144 U CN 2009202077144U CN 200920207714 U CN200920207714 U CN 200920207714U CN 201531021 U CN201531021 U CN 201531021U
- Authority
- CN
- China
- Prior art keywords
- steel
- concrete
- cement
- prefabricated
- situ pile
- Prior art date
- Legal status (The legal status is an assumption and is not a legal conclusion. Google has not performed a legal analysis and makes no representation as to the accuracy of the status listed.)
- Expired - Lifetime
Links
- 239000004568 cement Substances 0.000 title claims abstract description 53
- 239000002689 soil Substances 0.000 title abstract description 14
- 238000005553 drilling Methods 0.000 title abstract description 7
- 229910000831 Steel Inorganic materials 0.000 claims abstract description 87
- 239000010959 steel Substances 0.000 claims abstract description 87
- 239000004567 concrete Substances 0.000 claims abstract description 52
- 239000011513 prestressed concrete Substances 0.000 claims abstract description 11
- 238000011065 in-situ storage Methods 0.000 claims description 33
- 239000011150 reinforced concrete Substances 0.000 claims description 27
- 230000003014 reinforcing effect Effects 0.000 claims description 13
- 239000011440 grout Substances 0.000 claims description 9
- 238000003892 spreading Methods 0.000 claims description 6
- 230000009191 jumping Effects 0.000 claims description 2
- 238000010276 construction Methods 0.000 abstract description 19
- 239000002131 composite material Substances 0.000 abstract description 8
- 238000000034 method Methods 0.000 description 15
- 150000001875 compounds Chemical class 0.000 description 8
- 238000010586 diagram Methods 0.000 description 6
- 230000002787 reinforcement Effects 0.000 description 6
- 238000005516 engineering process Methods 0.000 description 5
- 230000000694 effects Effects 0.000 description 4
- 238000003756 stirring Methods 0.000 description 4
- 238000009412 basement excavation Methods 0.000 description 3
- 239000000463 material Substances 0.000 description 3
- 238000013019 agitation Methods 0.000 description 2
- 238000007906 compression Methods 0.000 description 2
- 238000003780 insertion Methods 0.000 description 2
- 230000037431 insertion Effects 0.000 description 2
- 238000002156 mixing Methods 0.000 description 2
- 238000002360 preparation method Methods 0.000 description 2
- 238000005086 pumping Methods 0.000 description 2
- 238000007789 sealing Methods 0.000 description 2
- 229910001018 Cast iron Inorganic materials 0.000 description 1
- 238000005452 bending Methods 0.000 description 1
- 230000009286 beneficial effect Effects 0.000 description 1
- 238000005266 casting Methods 0.000 description 1
- 239000004927 clay Substances 0.000 description 1
- 238000004140 cleaning Methods 0.000 description 1
- 238000005520 cutting process Methods 0.000 description 1
- 238000012423 maintenance Methods 0.000 description 1
- 239000011148 porous material Substances 0.000 description 1
- 239000002244 precipitate Substances 0.000 description 1
- 238000001556 precipitation Methods 0.000 description 1
- 230000011218 segmentation Effects 0.000 description 1
- 239000002699 waste material Substances 0.000 description 1
- XLYOFNOQVPJJNP-UHFFFAOYSA-N water Substances O XLYOFNOQVPJJNP-UHFFFAOYSA-N 0.000 description 1
- 239000002023 wood Substances 0.000 description 1
Images
Landscapes
- Piles And Underground Anchors (AREA)
Abstract
本实用新型涉及深基础设计与施工方法中的新型围护结构领域,尤其涉及预制构件水泥土钻孔灌注桩。这种预制构件水泥土钻孔灌注桩,包括一桩孔,所述桩孔内含有水泥土,并且在所述桩孔中插置有一长条状的预制构件。所述预制构件可以是一混凝土箱型构件,或一钢与混凝土组合梁构件,或一钢与混凝土组合衍架构件,或一预应力混凝土构件。这种预制构件水泥土钻孔灌注桩,在满足受力要求保证安全的前提下,有效降低了造价成本。属于一种造价经济、环境影响小、安全和高效的新型围护结构型式,可以完善地下工程领域的围护结构型式,以进一步满足工程建设需求。
Description
技术领域
本实用新型涉及深基础设计与施工方法中的新型围护结构领域,尤其涉及预制构件水泥土钻孔灌注桩。
背景技术
基坑的围护结构主要用于承受基坑开挖卸荷所产生的土压力和水压力,并将此压力传递给支撑。基坑的围护结构是稳定基坑的一种挡墙结构。目前,软土地区较常用的适用于基坑开挖深度在10m以上的基坑围护结构型式主要有:SMW工法桩、钻孔灌注桩和地下连续墙等。
其中,SMW工法桩是在连续套接的三轴水泥土搅拌桩内插入型钢形成的复合挡土止水结构。SMW工法(soil mixing wall)全称“型钢水泥土复合搅拌桩(墙)支护结构技术”。该法是在水泥土深层搅拌桩(墙)中插入H形型钢所形成的一种新的地下连续墙施工方法。其原理是以专用机具、用水泥土作为固化剂与地基土进行就地原位强制性搅拌,并插入型钢,固化后形成桩列式地下连续墙体,充分利用水泥土挡土墙的高止水性和型钢所具有的强度与刚度。SMW工法桩的缺点是:当工期大于6个月时,会造成型钢租赁费用增加,并且型钢拔除比较麻烦。
其中,钻孔灌注桩围护属于柱列式挡土墙,本身不可止水,需另外设置止水帷幕,其缺点是:由于其横截面是圆形,因此受力特性较差;如为提高其受力强度,需要增加钢筋投入,如此会造成部分钢筋用量的浪费。
其中,地下连续墙的缺点是:造价较高,且施工工艺复杂。
综上所述,目前我国地下工程建设中现有的围护结构型式还不能完全满足工程建设需求,因此,迫切需要开发一种造价经济、环境影响小、安全、高效的围护结构型式。
实用新型内容
本实用新型的目的在于提供一种预制构件水泥土钻孔灌注桩,在满足基坑围护结构受力要求而保证安全的前提下,有效降低了造价成本。
为了达到上述的目的,本实用新型提供一种预制构件水泥土钻孔灌注桩,包括一桩孔,所述桩孔内含有水泥土浆液,并且在所述桩孔中插置有一长条状的预制构件。
进一步,所述预制构件水泥土钻孔灌注桩包括多个所述桩孔,通过跳打而成,且相邻桩孔相互咬合。
进一步,所述预制构件的横截面呈轴对称。
所述预制构件是一混凝土箱型构件,所述混凝土箱型构件由钢筋混凝土制成,其横截面呈矩形,且横截面的中部设一矩形孔。
所述预制构件是一钢与混凝土组合梁构件,所述钢与混凝土组合梁构件包括一H型钢和两钢筋混凝土厚板,所述H型钢由两块边板通过一块连接板连接构成,所述钢筋混凝土厚板分别贴合连接在所述H型钢的边板外侧。所述钢筋混凝土厚板与所述H型钢的边板采用栓钉连接。
所述预制构件是一钢与混凝土组合衍架构件,所述钢与混凝土组合衍架构件包括一钢筋混凝土厚板和一钢衍架,所述钢衍架由上、下弦杆通过若干腹杆连接组成,所述钢筋混凝土厚板固定连接于所述钢衍架的上弦杆上侧。所述钢筋混凝土厚板与钢衍架的上弦杆采用栓钉连接。所述钢衍架的上、下弦杆采用角钢,所述腹杆采用钢管。
所述预制构件是一预应力混凝土构件,所述预应力混凝土构件是横截面呈矩形的内部设有钢筋的具有预应力的混凝土结构。
本实用新型的有益效果是:
本实用新型预制构件水泥土钻孔灌注桩与钻孔灌注桩及SMW工法桩相比:
1、采用本实用新型预制构件水泥土钻孔灌注桩的止水帷幕与挡土结构合二为一,截面受力特性更好,同钻孔灌注桩相比减少了钢材与混凝土的用量。
2、本实用新型预制构件水泥土钻孔灌注桩的造价完全不受施工工期影响,尤其对于超大面积的基坑而言,SMW工法桩完全不具备经济可比性。
3、本实用新型预制构件水泥土钻孔灌注桩施工方法立足于原有施工机械,因而,省去了大量机械研发成本。
4、将钻孔灌注桩与本实用新型预制构件水泥土钻孔灌注桩作经济性比较,可以发现:本实用新型提出的三种新型围护结构型式造价比钻孔灌注桩小10%~20%左右,尤以钢与混凝土组合桁架型式最节省。
综上所述,本实用新型预制构件水泥土钻孔灌注桩,在满足基坑围护结构受力要求而保证安全的前提下,有效降低了造价成本。属于一种造价经济、环境影响小、安全和高效的新型围护结构型式,可以完善地下工程领域的围护结构型式,以进一步满足工程建设需求。
附图说明
本实用新型的预制构件水泥土钻孔灌注桩由以下的实施例及附图给出。
图1a是本实用新型预制构件水泥土钻孔灌注桩的结构示意图;
图1b是实施例1中预制构件的横截面结构示意图;
图1c是实施例1中预制构件的配筋情况示意图;
图2是实施例2中预制构件的横截面结构示意图;
图3a是实施例3中预制构件的横截面结构示意图;
图3b是实施例3中预制构件的纵截面结构示意图;
图4是实施例4中预制构件的横截面结构示意图;
图5是本实用新型预制构件水泥土钻孔灌注桩施工方法的整体施工工艺流程图;
图6是本实用新型多根桩的施工顺序图;
图7是本实用新型单根桩施工工艺流程图;
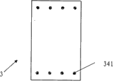
图中,1-桩孔,2-水泥土浆液,3-预制构件,311-孔,321-H型钢,3211-边板,3212-连接板,322-钢筋混凝土厚板,331-钢衍架,3311-上弦杆,3312-下弦杆,3312-腹杆,332钢筋混凝土厚板,341-钢筋。
具体实施方式
以下将对本实用新型的预制构件水泥土钻孔灌注桩作进一步的详细描述。
实施例1
请参阅图1a,这种预制构件水泥土钻孔灌注桩,包括一桩孔1,所述桩孔1内含有水泥土浆液2,并且在所述桩孔1中插置有一长条状的预制构件3。
请参阅图1b,考虑两面受侧向荷载作用,所述预制构件3采用轴对称截面设计:两侧配筋情况相同(见图1c)。即所述预制构件3的横截面呈轴对称。本实施例中,所述预制构件3是一混凝土箱型构件。该混凝土箱型构件由钢筋混凝土制成,其横截面呈矩形,且横截面的中部设一矩形孔311,在满足基坑围护结构受力要求的前提下节约钢筋和混凝土。这种预制构件3采用由钢筋混凝土制成的箱型截面形式,相对于现有的钻孔灌注桩而言,既能充分利用钢材的受拉能力,又能发挥混凝土的抗压特性。因而,可以最大化发挥和利用材料的优点。
本实施例应用于开挖深度在13m左右的基坑。考虑每延米围护结构可以承受1300KN.m的弯矩,因此可以采用φ1100mm孔径的预制箱型构件的水泥土钻孔灌注桩,桩长26m。其中预制构件采用950mm×400mm的箱型构件截面,混凝土强度等级C40,配筋如图1c所示(图中,单位是mm),钢筋等级HRB335。其中,混凝土中的钢筋配置如下:12根φ28mm的钢筋、6根φ22mm的钢筋和6根φ10mm的钢筋。这些钢筋通过φ10mm的箍筋连接并由混凝土浇筑成上述混凝土箱型构件。
另外,根据成孔深度27m,桩径为φ1100mm,考虑采用GPS-10型钻机能满足成孔要求,预制构件的吊装选用32t汽车吊,起重半径控制在7m,最大起重量为10t左右,能满足吊装工况。
实施例2
本实施例与实施例1的区别在于:所述预制构件3是一钢与混凝土组合梁构件,即采用钢-混凝土组合结构。这种钢-混凝土组合结构与钢结构相比,它节省了钢材,并且增强了构件或建筑物的刚度,提高了抗变形能力。这种钢-混凝土组合结构与普通的钢筋混凝土结构相比,它减轻了重量,增大了构件的延性,且具有更高的强度,可以充分发挥了钢材和混凝土这两种材料的材性特点,因而可以做到技术和经济的统一。
请参阅图2,所述钢与混凝土组合梁构件具体结构如下:包括一H型钢321和两钢筋混凝土厚板322。所述钢筋混凝土厚板322由配置有若干钢筋的混凝土厚板组成。所述H型钢321由两块边板3211通过一块连接板3212连接构成“H”型钢板。所述钢筋混凝土厚板322分别贴合连接在所述H型钢321的边板3211外侧。所述H型钢321由薄钢板制成,构成薄翼缘的“H”型钢板。所述H型钢321与钢筋混凝土厚板322组合,并在混凝土厚板中配置较多的钢筋。这样根据钢结构组合梁的思想:既能充分利用型钢和钢材的受拉能力,又能发挥混凝土的抗压特性,因此,可以最大化发挥和利用材料的优点。这种钢与混凝土组合梁构件与现有组合梁不同的是,预制构件3需考虑两面受侧向荷载作用,需要采用轴对称截面设计:H型钢两边板3211(即两翼缘)采用等截面钢板,翼缘外钢筋混凝土厚板322截面和配筋情况均相同。
所述钢筋混凝土厚板322与所述H型钢321的边板3211采用栓钉连接。即所述钢筋混凝土厚板322与边板3211间采用栓钉作为抗剪连接件。栓钉的直径一般为12m~25mm,为了抵抗掀起作用,栓钉上部做成大头或弯钩。
实施例3
请参阅图3a和图3b,本实施例与实施例1的区别在于:所述预制构件3是一钢与混凝土组合衍架构件。所述钢与混凝土组合衍架构件包括一钢筋混凝土厚板332和一钢衍架321。所述钢衍架321由上、下弦杆3211、3212通过若干腹杆3213连接组成。所述钢筋混凝土厚板332固定连接于所述钢衍架321的上弦杆3211上侧。所述钢筋混凝土厚板332与钢衍架321的上弦杆3211采用栓钉连接。钢桁架321的上、下弦杆3211、3212可以采用角钢,腹杆3213可以采用钢管的型式。
这种钢与混凝土组合桁架梁构件是一种新型的组合结构形式,具有良好的受力性能和较好的经济性,可以广泛应用于大跨度、重荷载的高层建筑和超高层建筑、大型的公共建筑和工业厂房当中。这种钢与混凝土组合桁架梁构件与普通的组合梁相比,可以进一步减轻结构自重,降低造价。相比普通的组合梁节约钢材达20%左右。而在同等用钢量的情况下,这种钢与混凝土组合桁架梁构件比普通组合梁具有更大的整体抗弯刚度。
另外,这种钢与混凝土组合桁架梁构件与钢-混凝土组合梁类似,在钢桁架321与钢筋混凝土厚板332间也同样需要设置抗剪连接件。剪力连接件用来承受钢筋混凝土厚板332与钢衍架321之间的纵向剪切力和垂直掀起作用的重要部件。它的性能的优劣对整个结构的承载力、变形等各种力学性能有重大的影响。
实施例4
请参阅图4,本实施例与实施例1的区别在于:所述预制构件3是一预应力混凝土构件,所述预应力混凝土构件是横截面呈矩形的内部设有钢筋341的具有预应力的混凝土结构。
这种预应力混凝土构件由于充分利用高强度钢筋及高强度混凝土,可以减小或抵消荷载所引起的混凝土拉应力,从而使结构构件的拉应力不大,甚至处于受压状态。它可以提高构件的抗裂度和刚度,并且可以节约钢筋、减轻自重。
本实用新型预制构件水泥土钻孔灌注桩施工方法如下,采用实施例1所述的预制构件。请参阅图5,图5是本实用新型预制构件水泥土钻孔灌注桩施工方法的整体施工工艺流程图。该预制构件水泥土钻孔灌注桩施工方法整体施工工艺流程主要包括如下步骤:首先,清理地下障碍物、平整场地;然后,开挖导沟;接着,设置导架;接着,桩机定位,与此同时需要做好如下准备工作:准备压浆(配置好由沉淀泥浆与水泥搅拌成的水泥浆)和准备好泵送压缩空气;然后,钻进搅拌,一边钻进,一边压浆和泵送压缩空气,同时进行搅拌;接着,插入预制构件,其通过起吊机实现;最后,进行弃土处理。其中,所述预制构件的制作方法如下:首先,进行钢筋骨架制作,然后,进行组合钢构件安装,最后,进行混凝土浇筑及养护。
请参阅图6,图6是多根桩的施工顺序图。这些桩采用跳打而成。先施工各A桩,在A桩中的水泥土浆液初凝之前,施工好B桩。简要步骤如下:先对地面钻孔形成若干A桩的桩孔1,然后,灌入水泥土浆液,接着,插入预制构件3,从而完成A桩的施工。接着,必须在A桩的水泥土浆液初凝前完成B桩的施工。B桩的施工方法如同A桩。
请参阅图7,图7是本实用新型单根预制构件水泥土钻孔灌注桩施工工艺流程图。这种预制构件水泥土钻孔灌注桩的施工方法,详细步骤如下:
第一步,对地面钻孔形成一桩孔1。所述第一步中,采用正循环工艺成孔。
第二步,在所述桩孔1内灌入水泥土浆液2。所述第二步中,先将沉淀泥浆与水泥搅拌好配制成所需要的水泥土浆液21,然后采用导管法灌入所述桩孔中。以上第一步和第二步就是上述整体施工工艺中的钻进搅拌工序细分而来。
第三步,在所述桩孔1内插入一长条状的预制构件3。所述预制构件3是一混凝土箱型构件,即与实施例1中的预制构件结构形式相同,所述混凝土箱型构件由钢筋混凝土制成,其横截面呈矩形,且横截面的中部设一矩形孔。所述预制构件的横截面呈轴对称。
Claims (10)
1.一种预制构件水泥土钻孔灌注桩,包括一桩孔,其特征在于:所述桩孔内含有水泥土浆液,并且在所述桩孔中插置有一长条状的预制构件。
2.如权利要求1所述的预制构件水泥土钻孔灌注桩,其特征在于:所述预制构件水泥土钻孔灌注桩包括多个所述桩孔,通过跳打而成,且相邻桩孔相互咬合。
3.如权利要求1所述的预制构件水泥土钻孔灌注桩,其特征在于:所述预制构件的横截面呈轴对称。
4.如权利要求1或2或3所述的预制构件水泥土钻孔灌注桩,其特征在于:所述预制构件是一混凝土箱型构件,所述混凝土箱型构件由钢筋混凝土制成,其横截面呈矩形,且横截面的中部设一矩形孔。
5.如权利要求1或2或3所述的预制构件水泥土钻孔灌注桩,其特征在于:所述预制构件是一钢与混凝土组合梁构件,所述钢与混凝土组合梁构件包括一H型钢和两钢筋混凝土厚板,所述H型钢由两块边板通过一块连接板连接构成,所述钢筋混凝土厚板分别贴合连接在所述H型钢的边板外侧。
6.如权利要求5所述的预制构件水泥土钻孔灌注桩,其特征在于:所述钢筋混凝土厚板与所述H型钢的边板采用栓钉连接。
7.如权利要求1或2或3所述的预制构件水泥土钻孔灌注桩,其特征在于:所述预制构件是一钢与混凝土组合衍架构件,所述钢与混凝土组合衍架构件包括一钢筋混凝土厚板和一钢衍架,所述钢衍架由上、下弦杆通过若干腹杆连接组成,所述钢筋混凝土厚板固定连接于所述钢衍架的上弦杆上侧。
8.如权利要求7所述的预制构件水泥土钻孔灌注桩,其特征在于:所述钢筋混凝土厚板与钢衍架的上弦杆采用栓钉连接。
9.如权利要求7所述的预制构件水泥土钻孔灌注桩,其特征在于:所述钢衍架的上、下弦杆采用角钢,所述腹杆采用钢管。
10.如权利要求1或2或3所述的预制构件水泥土钻孔灌注桩,其特征在于:所述预制构件是一预应力混凝土构件,所述预应力混凝土构件是横截面呈矩形的内部设有钢筋的具有预应力的混凝土结构。
Priority Applications (1)
| Application Number | Priority Date | Filing Date | Title |
|---|---|---|---|
| CN2009202077144U CN201531021U (zh) | 2009-08-11 | 2009-08-11 | 预制构件水泥土钻孔灌注桩 |
Applications Claiming Priority (1)
| Application Number | Priority Date | Filing Date | Title |
|---|---|---|---|
| CN2009202077144U CN201531021U (zh) | 2009-08-11 | 2009-08-11 | 预制构件水泥土钻孔灌注桩 |
Publications (1)
| Publication Number | Publication Date |
|---|---|
| CN201531021U true CN201531021U (zh) | 2010-07-21 |
Family
ID=42526425
Family Applications (1)
| Application Number | Title | Priority Date | Filing Date |
|---|---|---|---|
| CN2009202077144U Expired - Lifetime CN201531021U (zh) | 2009-08-11 | 2009-08-11 | 预制构件水泥土钻孔灌注桩 |
Country Status (1)
| Country | Link |
|---|---|
| CN (1) | CN201531021U (zh) |
Cited By (4)
| Publication number | Priority date | Publication date | Assignee | Title |
|---|---|---|---|---|
| CN103266597A (zh) * | 2012-07-31 | 2013-08-28 | 广东省基础工程公司 | 一种水泥土护壁灌注排桩及其施工方法 |
| CN104631440A (zh) * | 2015-01-29 | 2015-05-20 | 南昌市建筑工程集团有限公司 | 一种既有大直径灌注桩劲芯增长基坑支护结构及施工方法 |
| CN105887837A (zh) * | 2016-04-27 | 2016-08-24 | 王继忠 | 一种现场地面搅拌水泥土桩的施工方法 |
| CN106065608A (zh) * | 2016-07-25 | 2016-11-02 | 王继忠 | 一种预拌高强度水泥土地基基础 |
-
2009
- 2009-08-11 CN CN2009202077144U patent/CN201531021U/zh not_active Expired - Lifetime
Cited By (5)
| Publication number | Priority date | Publication date | Assignee | Title |
|---|---|---|---|---|
| CN103266597A (zh) * | 2012-07-31 | 2013-08-28 | 广东省基础工程公司 | 一种水泥土护壁灌注排桩及其施工方法 |
| CN103266597B (zh) * | 2012-07-31 | 2015-09-23 | 广东省基础工程集团有限公司 | 一种水泥土护壁灌注排桩及其施工方法 |
| CN104631440A (zh) * | 2015-01-29 | 2015-05-20 | 南昌市建筑工程集团有限公司 | 一种既有大直径灌注桩劲芯增长基坑支护结构及施工方法 |
| CN105887837A (zh) * | 2016-04-27 | 2016-08-24 | 王继忠 | 一种现场地面搅拌水泥土桩的施工方法 |
| CN106065608A (zh) * | 2016-07-25 | 2016-11-02 | 王继忠 | 一种预拌高强度水泥土地基基础 |
Similar Documents
| Publication | Publication Date | Title |
|---|---|---|
| CN101078216B (zh) | 一种水泥搅拌土帷幕植入预制钢筋砼抗侧向力桩的方法 | |
| CN102477781A (zh) | 一种装配整体式钢-混凝土叠合构件及其制造方法 | |
| CN204899204U (zh) | 逆作法中取土口处构建混凝土结构的模板系统 | |
| CN201531021U (zh) | 预制构件水泥土钻孔灌注桩 | |
| CN101666086B (zh) | 预制构件水泥土钻孔灌注桩及其施工方法 | |
| CN208486404U (zh) | 一种钢筋模板一体化安装的混凝土剪力墙 | |
| CN101666085A (zh) | 预制构件复合水泥土墙及其施工方法 | |
| CN203487542U (zh) | 混合配筋h型板桩与五轴水泥土搅拌墙结合的围护结构 | |
| CN103147438A (zh) | 基于现场浇筑后张法工字型支护桩及支护桩的制作方法 | |
| CN105019645A (zh) | 逆作法中取土口处构建混凝土结构的模板系统及施工方法 | |
| CN210507502U (zh) | 一种预制装配式混凝土板胎膜结构 | |
| CN206376251U (zh) | 钢板砼预制构件及永‑临结合地下围护体系 | |
| CN106703015A (zh) | 钢板砼预制构件、永‑临结合地下围护体系及施工方法 | |
| CN201567565U (zh) | 预制构件复合水泥土墙 | |
| CN202767286U (zh) | 一种预制混凝土剪力墙与主体钢结构的连接节点 | |
| CN103452101B (zh) | 预应力混凝土桩及支护桩墙 | |
| CN202017197U (zh) | 多节h型钢筋砼板桩焊接结构 | |
| CN206928281U (zh) | 先张法预应力混凝土多孔空心生态桩 | |
| CN201826326U (zh) | 一种深基坑塔吊的基础 | |
| CN105369814A (zh) | 一种预制装配式预应力混凝土支撑及其架设方法 | |
| CN205153144U (zh) | 一种剪力墙角部与斜向钢梁的连接构造 | |
| CN109235444A (zh) | 一种棱形预应力支护桩、桩墙及其施工方法 | |
| CN104032732B (zh) | 现浇式预应力钢板混凝土桩及其施工方法及支护桩墙 | |
| CN103526877B (zh) | 一种预制混凝土构件 | |
| CN202543898U (zh) | 一种预应力u型钢筋混凝土挡土板桩 |
Legal Events
| Date | Code | Title | Description |
|---|---|---|---|
| C14 | Grant of patent or utility model | ||
| GR01 | Patent grant | ||
| AV01 | Patent right actively abandoned |
Granted publication date: 20100721 Effective date of abandoning: 20090811 |