CN201530273U - A liftable auxiliary wheel connecting device - Google Patents
A liftable auxiliary wheel connecting device Download PDFInfo
- Publication number
- CN201530273U CN201530273U CN2009202532657U CN200920253265U CN201530273U CN 201530273 U CN201530273 U CN 201530273U CN 2009202532657 U CN2009202532657 U CN 2009202532657U CN 200920253265 U CN200920253265 U CN 200920253265U CN 201530273 U CN201530273 U CN 201530273U
- Authority
- CN
- China
- Prior art keywords
- cylinder
- assembly
- fixing
- auxiliary wheel
- pin shaft
- Prior art date
- Legal status (The legal status is an assumption and is not a legal conclusion. Google has not performed a legal analysis and makes no representation as to the accuracy of the status listed.)
- Expired - Fee Related
Links
Images
Landscapes
- Unwinding Of Filamentary Materials (AREA)
Abstract
本实用新型公开了一种可升降辅助轮连接装置,属于整车附件系统。包括固定总成、连接总成和销轴,所述固定总成为设有固定筒的架板,所述连接总成为套装在固定筒内或外的连接筒,所述固定筒和连接筒上均设有若干个高度不同的高度调节孔,所述销轴直径小于高度调节孔的直径。本实用新型的有益效果是:通过简单的销轴插接即可方便地实现辅助轮高度的调节,操作简单灵活。
The utility model discloses a lifting auxiliary wheel connecting device, which belongs to the accessory system of the whole vehicle. It includes a fixing assembly, a connecting assembly and a pin shaft. The fixing assembly is a frame plate provided with a fixing cylinder. The connecting assembly is a connecting cylinder set inside or outside the fixing cylinder. Both the fixing cylinder and the connecting cylinder are There are several height adjustment holes with different heights, and the diameter of the pin shaft is smaller than the diameter of the height adjustment holes. The beneficial effect of the utility model is that the adjustment of the height of the auxiliary wheel can be realized conveniently through simple plugging of pin shafts, and the operation is simple and flexible.
Description
技术领域technical field
本实用新型涉及一种可升降辅助轮连接装置,属于整车附件系统。The utility model relates to a connection device for a liftable auxiliary wheel, which belongs to the accessory system of a complete vehicle.
背景技术Background technique
目前,现有车用辅助轮连接装置多采用整体式结构,辅助轮安装完成后,辅助轮高度不可调。始终处于同一高度,对于特殊要求的辅助轮已不适用。At present, most of the existing auxiliary wheel connecting devices for vehicles adopt an integral structure, and the height of the auxiliary wheel cannot be adjusted after the auxiliary wheel is installed. Always at the same height, training wheels for special requirements are no longer applicable.
发明内容Contents of the invention
为解决以上技术上的不足,本实用新型提供了一种设计简洁,操作灵活,可以调节辅助轮高度,安装与拆卸方便的辅助轮连接装置。In order to solve the above technical deficiencies, the utility model provides an auxiliary wheel connecting device with simple design, flexible operation, adjustable auxiliary wheel height, and convenient installation and disassembly.
本实用新型是通过以下措施实现的:The utility model is achieved through the following measures:
本实用新型的可升降辅助轮连接装置,包括固定总成、连接总成和销轴,所述固定总成为设有固定筒的架板,所述连接总成为套装在固定筒内或外的连接筒,所述固定筒和连接筒上均设有若干个高度不同的高度调节孔,所述销轴直径小于高度调节孔的直径。The lifting auxiliary wheel connecting device of the present utility model includes a fixing assembly, a connecting assembly and a pin shaft. cylinder, the fixed cylinder and the connecting cylinder are provided with several height adjustment holes with different heights, and the diameter of the pin shaft is smaller than the diameter of the height adjustment hole.
本实用新型的可升降辅助轮连接装置,所述销轴的末端设有开口销孔。In the lifting auxiliary wheel connecting device of the utility model, the end of the pin shaft is provided with a cotter pin hole.
本实用新型的可升降辅助轮连接装置,所述架板上设置有固定孔。In the lifting auxiliary wheel connecting device of the present utility model, fixing holes are arranged on the shelf plate.
本实用新型的有益效果是:通过简单的销轴插接即可方便地实现辅助轮高度的调节,操作简单灵活。The beneficial effect of the utility model is that the adjustment of the height of the auxiliary wheel can be realized conveniently through simple plugging of pin shafts, and the operation is simple and flexible.
附图说明Description of drawings
图1为本实用新型的主视结构示意图。Fig. 1 is a front structural schematic diagram of the utility model.
图2为本实用新型的左视结构示意图。Fig. 2 is a left view structure diagram of the utility model.
图3为本实用新型的俯视结构示意图。Fig. 3 is a top view structural diagram of the utility model.
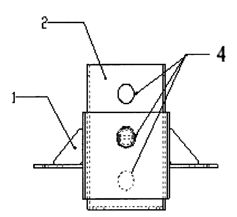
图中:1固定总成,2连接总成,3销轴,4高度调节孔,5开口销孔,6固定孔。In the figure: 1 fixed assembly, 2 connecting assembly, 3 pin shaft, 4 height adjustment hole, 5 cotter pin hole, 6 fixing hole.
具体实施方式Detailed ways
如图1、2、3所示,本实用新型的可升降辅助轮连接装置,包括固定总成1、连接总成2和销轴3,固定总成1采用竖直的固定筒下端固定在架板上,固定筒侧面与架板间设置加强筋,以起到加固的作用。连接总成2采用简单的连接筒,可以套装在固定筒内或者固定筒外。其中固定筒和连接筒采用方形或者圆形的筒状,同时在固定筒和连接筒上设置若干个高度不同的高度调节孔4,并且高度调节孔4在筒壁上前后对应。销轴3的直径小于高度调节孔4的直径。在销轴3的末端设有开口销孔5用以固定销轴3。As shown in Figures 1, 2, and 3, the liftable auxiliary wheel connection device of the present invention includes a fixed assembly 1, a
其工作原理为:通过架板上设置的固定孔6将固定总成1固定,连接总成2与辅助轮相连接。在使用时,将连接总成2的连接筒套装在固定筒内或外。选择适当位置,将连接筒与固定筒上的高度调节孔4对齐,然后将销轴3同时穿过对齐后的高度调节孔4,同时在销轴3末端的开口销孔5插入销子进行固定。可以通过销轴3穿过不同高度的高度调节孔4来调节连接总成2的连接高度,从而调节辅助轮的高度。Its working principle is: the fixing assembly 1 is fixed through the fixing hole 6 provided on the shelf plate, and the connecting
Claims (3)
Priority Applications (1)
| Application Number | Priority Date | Filing Date | Title |
|---|---|---|---|
| CN2009202532657U CN201530273U (en) | 2009-11-18 | 2009-11-18 | A liftable auxiliary wheel connecting device |
Applications Claiming Priority (1)
| Application Number | Priority Date | Filing Date | Title |
|---|---|---|---|
| CN2009202532657U CN201530273U (en) | 2009-11-18 | 2009-11-18 | A liftable auxiliary wheel connecting device |
Publications (1)
| Publication Number | Publication Date |
|---|---|
| CN201530273U true CN201530273U (en) | 2010-07-21 |
Family
ID=42525681
Family Applications (1)
| Application Number | Title | Priority Date | Filing Date |
|---|---|---|---|
| CN2009202532657U Expired - Fee Related CN201530273U (en) | 2009-11-18 | 2009-11-18 | A liftable auxiliary wheel connecting device |
Country Status (1)
| Country | Link |
|---|---|
| CN (1) | CN201530273U (en) |
Cited By (2)
| Publication number | Priority date | Publication date | Assignee | Title |
|---|---|---|---|---|
| CN102224992A (en) * | 2011-05-04 | 2011-10-26 | 力帆实业(集团)股份有限公司 | motorcycle display rack |
| CN107662271A (en) * | 2017-11-06 | 2018-02-06 | 新疆远大华美建筑工业有限公司 | Die station drive device |
-
2009
- 2009-11-18 CN CN2009202532657U patent/CN201530273U/en not_active Expired - Fee Related
Cited By (2)
| Publication number | Priority date | Publication date | Assignee | Title |
|---|---|---|---|---|
| CN102224992A (en) * | 2011-05-04 | 2011-10-26 | 力帆实业(集团)股份有限公司 | motorcycle display rack |
| CN107662271A (en) * | 2017-11-06 | 2018-02-06 | 新疆远大华美建筑工业有限公司 | Die station drive device |
Similar Documents
| Publication | Publication Date | Title |
|---|---|---|
| CN201530273U (en) | A liftable auxiliary wheel connecting device | |
| CN203113811U (en) | Simple correction device for installation perpendicularity of steel column | |
| CN204675220U (en) | A kind of flange polygon cross-piece concertina type Conveyor | |
| CN204899114U (en) | Argil board coupling assembling | |
| CN203961420U (en) | A kind of pattern chimney construction servicing unit of carrying | |
| CN202690103U (en) | Suspension device of shield tunnel draught fan | |
| CN201455634U (en) | Device for dismounting couplers | |
| CN203940545U (en) | Outdoor machine of air-conditioner mounting bracket | |
| CN202102646U (en) | Three-dimensional character-installing component | |
| CN201637577U (en) | Multifunctional engine test platform | |
| CN202579511U (en) | Multi-directional metal connecting piece | |
| CN201874268U (en) | Baffle connecting device of swinging pool escalator | |
| CN202079383U (en) | Dismantling tool for large roller chain | |
| CN202248938U (en) | Curtain wall plate mounting vehicle | |
| CN203230725U (en) | Pivot | |
| CN203003023U (en) | Manufacturing device for mounting hole of fan cover of air conditioner | |
| CN203656125U (en) | Reduction gearbox body | |
| CN209036426U (en) | A kind of top plate of steel wheel easy to disassemble | |
| CN203452847U (en) | Pendant pipeline hook for channel | |
| CN212198273U (en) | Portable tower footing wall-attached frame inner support | |
| CN201738579U (en) | Template platform and building template | |
| CN205811817U (en) | A kind of motor case milling lower margin fixing device | |
| CN201126310Y (en) | Bracket for baking gun | |
| CN203560536U (en) | Open-type valve | |
| CN203345032U (en) | Frame baffle for automobile |
Legal Events
| Date | Code | Title | Description |
|---|---|---|---|
| C14 | Grant of patent or utility model | ||
| GR01 | Patent grant | ||
| CF01 | Termination of patent right due to non-payment of annual fee |
Granted publication date: 20100721 Termination date: 20141118 |
|
| EXPY | Termination of patent right or utility model |
