CN201525956U - A kind of multi-tub washing machine - Google Patents
A kind of multi-tub washing machine Download PDFInfo
- Publication number
- CN201525956U CN201525956U CN2009202047011U CN200920204701U CN201525956U CN 201525956 U CN201525956 U CN 201525956U CN 2009202047011 U CN2009202047011 U CN 2009202047011U CN 200920204701 U CN200920204701 U CN 200920204701U CN 201525956 U CN201525956 U CN 201525956U
- Authority
- CN
- China
- Prior art keywords
- washing machine
- washing
- gear
- tub
- barrel washing
- Prior art date
- Legal status (The legal status is an assumption and is not a legal conclusion. Google has not performed a legal analysis and makes no representation as to the accuracy of the status listed.)
- Expired - Fee Related
Links
- 238000005406 washing Methods 0.000 title claims abstract description 168
- XLYOFNOQVPJJNP-UHFFFAOYSA-N water Substances O XLYOFNOQVPJJNP-UHFFFAOYSA-N 0.000 claims description 25
- CBENFWSGALASAD-UHFFFAOYSA-N Ozone Chemical compound [O-][O+]=O CBENFWSGALASAD-UHFFFAOYSA-N 0.000 claims description 18
- 210000001226 toe joint Anatomy 0.000 claims 4
- 238000004804 winding Methods 0.000 claims 1
- 241000894006 Bacteria Species 0.000 abstract description 6
- 241000700605 Viruses Species 0.000 abstract description 6
- 238000011109 contamination Methods 0.000 abstract description 4
- 238000010586 diagram Methods 0.000 description 3
- 238000001035 drying Methods 0.000 description 3
- 230000007547 defect Effects 0.000 description 2
- 230000005611 electricity Effects 0.000 description 2
- 230000036541 health Effects 0.000 description 2
- 230000008821 health effect Effects 0.000 description 2
- 206010011409 Cross infection Diseases 0.000 description 1
- 206010029803 Nosocomial infection Diseases 0.000 description 1
- 244000052616 bacterial pathogen Species 0.000 description 1
- 230000005540 biological transmission Effects 0.000 description 1
- 230000006872 improvement Effects 0.000 description 1
- 238000000034 method Methods 0.000 description 1
Images
Classifications
-
- Y—GENERAL TAGGING OF NEW TECHNOLOGICAL DEVELOPMENTS; GENERAL TAGGING OF CROSS-SECTIONAL TECHNOLOGIES SPANNING OVER SEVERAL SECTIONS OF THE IPC; TECHNICAL SUBJECTS COVERED BY FORMER USPC CROSS-REFERENCE ART COLLECTIONS [XRACs] AND DIGESTS
- Y02—TECHNOLOGIES OR APPLICATIONS FOR MITIGATION OR ADAPTATION AGAINST CLIMATE CHANGE
- Y02B—CLIMATE CHANGE MITIGATION TECHNOLOGIES RELATED TO BUILDINGS, e.g. HOUSING, HOUSE APPLIANCES OR RELATED END-USER APPLICATIONS
- Y02B40/00—Technologies aiming at improving the efficiency of home appliances, e.g. induction cooking or efficient technologies for refrigerators, freezers or dish washers
Landscapes
- Accessory Of Washing/Drying Machine, Commercial Washing/Drying Machine, Other Washing/Drying Machine (AREA)
Abstract
本实用新型公开了一种多桶式洗衣机,所述多桶式洗衣机包括多个洗衣桶和一电机,所述电机轴接有第一齿轮,所述每个洗衣桶底部均轴接有一第二齿 轮,所述电机的第一齿轮与至少一个所述洗衣桶的第二齿轮相互齿接,由所述电机通过驱动第一齿轮带动第二齿轮来控制每个洗衣桶转动工作。更好的是,所述多桶式洗衣机为全自动式小型洗衣机,并且每个洗衣桶的进/排水管为一体设置以进一步节省体积和重量。本实用新型多桶式洗衣机利用一个电机带动多个洗衣桶工作,可实现衣物分类同时洗涤,令每个洗衣桶专人专用和/或专物专用,避免衣物之间相互污染及传播细菌和病毒。
The utility model discloses a multi-tub washing machine. The multi-tub washing machine comprises a plurality of washing tubs and a motor. The motor shaft is connected with a first gear, and the bottom of each washing tub is connected with a second gear. Gears, the first gear of the motor and the second gear of at least one of the washing tubs are geared to each other, and the motor drives the first gear to drive the second gear to control the rotation of each washing tub. Even better, the multi-tub washing machine is a fully automatic small washing machine, and the inlet/drainage pipe of each washing tub is integrated to further save volume and weight. The multi-barrel washing machine of the utility model uses one motor to drive multiple washing barrels to work, which can realize the simultaneous washing of clothes in classification, and make each washing barrel dedicated to a person and/or to a special item, so as to avoid mutual contamination of clothes and the spread of bacteria and viruses.
Description
技术领域technical field
本实用新型涉及一种洗衣机,尤其是涉及一种多桶式洗衣机。The utility model relates to a washing machine, in particular to a multi-barrel washing machine.
背景技术Background technique
随着人们生活水平的提高,人们的健康、卫生意识越来越强。因此,人们对衣物的分类洗涤有了更高的要求。而现有的洗衣机大多只有一个洗衣桶,洗涤时要把全部衣物放进该洗衣桶中一起洗涤,这样会造成衣物间的相互污染,特别是袜子、内裤等易携带细菌或病毒的衣物会造成交叉感染,给人们的身体健康带来危害。为避免这种情况,人们只有将衣物分类(按衣物分类或者按人物分类)作几次洗涤,但是这样不仅浪费时间而且还浪费水电资源。With the improvement of people's living standards, people's health and hygiene awareness is getting stronger and stronger. Therefore, people have higher requirements to the classification washing of clothes. Most of the existing washing machines have only one washing tub, and all the clothes should be put into the washing tub to be washed together during washing, which will cause mutual pollution between the clothes, especially socks, underwear and other clothes that are easy to carry bacteria or viruses. Cross-infection brings harm to people's health. For avoiding this situation, people have only to do washing several times with clothing classification (by clothing classification or by character classification), but like this not only wastes time but also wastes water and electricity resources.
综上可知,所述现有技术的洗衣机,在实际使用上显然存在不便与缺陷,所以有必要加以改进。In summary, the washing machine of the prior art clearly has inconveniences and defects in actual use, so it is necessary to improve it.
实用新型内容Utility model content
针对上述的缺陷,本实用新型的目的在于提供一种多桶式洗衣机,其可以实现衣物分类同时洗涤,达到高效率的专人专用和/或专物专用式洗涤,避免衣物之间相互污染及传播细菌和病毒。In view of the above-mentioned defects, the purpose of this utility model is to provide a multi-tub washing machine, which can realize the simultaneous washing of clothes by classification, achieve high-efficiency special-purpose and/or special-purpose washing, and avoid mutual pollution and transmission of clothes Bacteria and viruses.
为了实现上述目的,本实用新型提供一种多桶式洗衣机,所述多桶式洗衣机包括多个洗衣桶和一电机,所述电机轴接有第一齿轮,所述每个洗衣桶底部均轴接有一第二齿轮,所述电机的第一齿轮与至少一个所述洗衣桶的第二齿轮相互齿接,由所述电机通过驱动第一齿轮带动第二齿轮来控制每个洗衣桶转动工作。In order to achieve the above object, the utility model provides a multi-tub washing machine, the multi-tub washing machine includes a plurality of washing tubs and a motor, the first gear is connected to the shaft of the motor, and the bottom of each washing tub is A second gear is connected, the first gear of the motor and the second gear of at least one of the washing tubs are geared to each other, and the motor controls the rotation of each washing tub by driving the first gear to drive the second gear.
根据本实用新型的多桶式洗衣机,所述电机的第一齿轮分别与每个洗衣桶的第二齿轮相互齿接;或者According to the multi-tub washing machine of the present invention, the first gear of the motor is geared with the second gear of each washing tub; or
所述多个洗衣桶的第二齿轮串联齿接,所述电机的第一齿轮与其中的一个第二齿轮相齿接。The second gears of the plurality of washing buckets are geared in series, and the first gear of the motor is geared with one of the second gears.
根据本实用新型的多桶式洗衣机,所述每个洗衣桶包括外壳和内胆,所述内胆的底部设有多个相互对称的凸条,所述内胆的内壁上设有与所述凸条对应的多个凸柱,所述内胆的内壁上还镂空有多个条形缝隙,并且该条形缝隙延伸至所述内胆的底部。According to the multi-tub washing machine of the present utility model, each of the washing tubs includes an outer shell and an inner tank, the bottom of the inner tank is provided with a plurality of mutually symmetrical convex lines, and the inner wall of the inner tank is provided with the The protruding lines correspond to a plurality of protruding posts, and the inner wall of the inner container is also hollowed out with a plurality of strip-shaped slits, and the strip-shaped slits extend to the bottom of the inner container.
根据本实用新型的多桶式洗衣机,所述内胆的高度为外壳高度的一半。According to the multi-tub washing machine of the present invention, the height of the inner tank is half of the height of the outer shell.
根据本实用新型的多桶式洗衣机,所述每个洗衣桶的高度相同;每个洗衣桶的直径相同、部分相同或者不同。According to the multi-tub washing machine of the present invention, the height of each washing tub is the same; the diameter of each washing tub is the same, partially the same or different.
根据本实用新型的多桶式洗衣机,所述电机固定于所述多个洗衣桶的底部并位于多个洗衣桶底部的中间处,所述电机下端设有所述第一齿轮。According to the multi-tub washing machine of the present invention, the motor is fixed at the bottom of the plurality of washing tubs and is located in the middle of the bottoms of the plurality of washing tubs, and the first gear is provided at the lower end of the motor.
根据本实用新型的多桶式洗衣机,所述每个洗衣桶的底部设有至少一臭氧管接口,所述多桶式洗衣机内设有至少一臭氧发生器,所述臭氧管接口与所述臭氧发生器通过一臭氧管连接。According to the multi-tub washing machine of the present utility model, at least one ozone pipe interface is provided at the bottom of each washing tub, and at least one ozone generator is arranged in the multi-tub washing machine, and the ozone pipe interface is connected with the ozone The generator is connected through an ozone tube.
根据本实用新型的多桶式洗衣机,所述洗衣桶的进水口和排水口一体设计为一个进/排水口。According to the multi-tub washing machine of the present invention, the water inlet and outlet of the washing tub are integrally designed as an inlet/outlet.
根据本实用新型的多桶式洗衣机,所述每个洗衣桶的进/排水管的直径大小相同,所述每个洗衣桶的进/排水口的直径大小与各洗衣桶的直径成正比。According to the multi-tub washing machine of the present invention, the diameters of the inlet/drain pipes of each washing tub are the same, and the diameters of the inlet/drain outlets of each washing tub are proportional to the diameters of the washing tubs.
根据本实用新型的多桶式洗衣机,所述多桶式洗衣机设有进/排水装置,该进/排水装置包括若干个相互组接的三通阀构成的三通阀组;该三通阀组的一端分别接入每个洗衣桶的进/排水口,该三通阀组的另一端分别接有两个电磁阀。According to the multi-tub washing machine of the present invention, the multi-tub washing machine is provided with an inlet/drainage device, and the inlet/drainage device includes a three-way valve group composed of several three-way valves assembled with each other; the three-way valve group One end of the three-way valve group is respectively connected to the inlet/drainage port of each washing bucket, and the other end of the three-way valve group is respectively connected to two solenoid valves.
本实用新型由一个电机通过驱动齿轮带动控制多个洗衣桶转动工作,可同时对每个人的袜子、内衣等各种衣物进行分类同时洗涤,达到高效率的专人专用和/或专物专用式洗涤,避免衣物之间相互污染及传播细菌和病毒,提升了衣物洗涤环节的卫生与健康效果。更好的是,所述多桶式洗衣机为全自动式小型洗衣机,并且每个洗衣桶的进/排水管为一体设置以进一步节省整体体积和重量。The utility model is driven by a motor through the drive gear to control the rotation of multiple washing buckets, and can simultaneously classify and wash each person's socks, underwear and other clothes at the same time, achieving high-efficiency special-purpose and/or special-purpose washing. , to avoid mutual contamination between clothes and the spread of bacteria and viruses, and improve the hygiene and health effects of the clothes washing process. Even better, the multi-tub washing machine is a fully automatic small washing machine, and the inlet/drainage pipe of each washing tub is integrated to further save overall volume and weight.
附图说明Description of drawings
图1是本实用新型多桶式洗衣机的第一立体结构图;Fig. 1 is the first three-dimensional structural diagram of the multi-tub washing machine of the present invention;
图2是本实用新型多桶式洗衣机的第二立体结构图;Fig. 2 is the second three-dimensional structural diagram of the multi-tub washing machine of the present invention;
图3是本实用新型多桶式洗衣机的第三立体结构图;Fig. 3 is the third three-dimensional structural diagram of the multi-tub washing machine of the present invention;
图4是本实用新型多桶式洗衣机的俯视图;Fig. 4 is a top view of the multi-tub washing machine of the present invention;
图5是本实用新型多桶式洗衣机的仰视图;Fig. 5 is a bottom view of the multi-tub washing machine of the present invention;
图6是本实用新型多桶式洗衣机的正视图。Fig. 6 is a front view of the multi-tub washing machine of the present invention.
具体实施方式Detailed ways
为了使本实用新型的目的、技术方案及优点更加清楚明白,以下结合附图及实施例,对本实用新型进行进一步详细说明。应当理解,此处所描述的具体实施例仅仅用以解释本实用新型,并不用于限定本实用新型。In order to make the purpose, technical solution and advantages of the utility model clearer, the utility model will be further described in detail below in conjunction with the accompanying drawings and embodiments. It should be understood that the specific embodiments described here are only used to explain the utility model, and are not intended to limit the utility model.
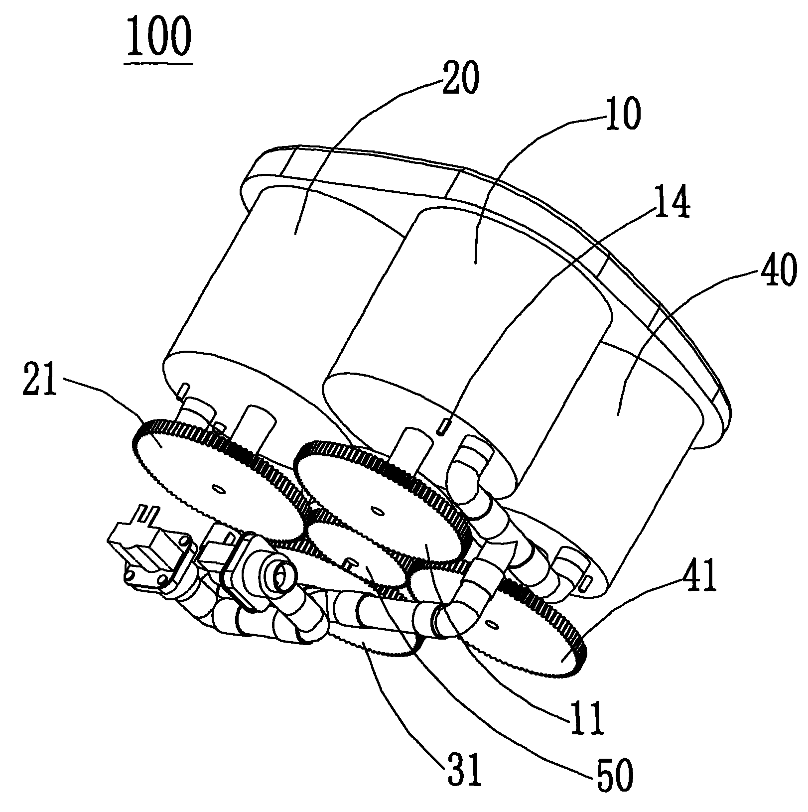
图1~图6示出了本实用新型多桶式洗衣机的结构,多桶式洗衣机100包括四个洗衣桶,分别为第一洗衣桶10、第二洗衣桶20、第三洗衣桶30和第四洗衣桶40,各个洗衣桶底部中央分别轴接有作为从动齿轮(即第二齿轮)的齿轮11、21、31和41,如图1所示。多桶式洗衣机100还包括一电机90,电机90上轴接有一作为驱动齿轮(即第一齿轮)的齿轮50,该齿轮50与至少一个第二齿轮相齿接。在本实用新型提供的一实施例中,该齿轮50分别与各洗衣桶底部齿轮11、21、31和41均相互齿接,由电机90通过驱动齿轮50带动齿轮11、21、31和41来控制每个洗衣桶转动工作。优选的,根据各洗衣桶的工作需求,本实用新型多桶式洗衣机100采用的电机90功率为30W~100W。电机90固定于四个洗衣桶10、20、30和40的底部,并位于该多个洗衣桶底部的中间处,这种设计可更有效利用已有空间;电机90下端设置驱动齿轮50,优选地是,电机90的齿轮50与多个洗衣桶的齿轮11、21、31和41之间保持同一水平位置。更好的是,各个从动齿轮11、21、31、41可以相互串联齿接,齿轮50与其中的一个从动齿轮相齿接,借此齿轮50转动时同样可以带动各第二齿轮的转动,从而带动控制各洗衣桶转动工作。1 to 6 show the structure of the multi-tub washing machine of the present invention. The
实际上,本实用新型提供的多桶式洗衣机100的洗衣桶的数量不仅仅限于四个,其可以根据不同需求设计为两个、三个或更多数量的洗衣桶结构。例如对于单身人士,可以选择两桶式洗衣机,其中一个洗衣桶专用于洗涤内衣、内裤,另一个洗衣桶专用于洗涤袜子。对于三口之家,则可以选择四桶式洗衣机,第一个洗衣桶用于洗小孩的衣物,第二个、第三个洗衣桶用于洗大人的衣物,第四个洗衣桶则随时待用。借此,本实用新型可同时对袜子、内衣等各种衣物分类同时洗涤,做到专人专用和/或专物专用,避免衣物之间相互污染及传播细菌和病毒。In fact, the number of washing tubs of the
在本实用新型的一实施例中,第一洗衣桶10包括外壳12和内胆13,结合图3和图4所示,内胆13集洗涤和甩干功能于一体,其底部设有多个相互对称的凸条131,这些凸条131一起构成波轮结构,凸条131的数量可以根据不同需求来设定,在本实施例中,其数量设为6个。所述内胆13的内壁上设有与凸条131对应的多个凸柱132,电机90控制带动第一洗衣桶10工作时,凸条131和凸柱132转动可以完成多桶式洗衣机100的洗涤功能。优选的是,内胆13的内壁上镂空有若干条形缝隙133,并且该条形缝隙133延伸至内胆12的底部,用于洗涤后对衣物的甩干功能,条形缝隙133可以根据不同要求设定数量,本实施例中优选的设为12个缝隙。In one embodiment of the present utility model, the
在第一洗衣桶10的构造中,如果内胆13的高度较高,则会容易引起晃动;如果内胆13的高度较低则在洗涤或甩干过程中容易将衣物甩出。因此,在本实施例中,第一洗衣桶10的内胆13的高度设成约为外壳12高度的一半,其在既不会产生晃动也不容易将衣物甩出。In the structure of the
更好的是,第一洗衣桶10的底部设有臭氧管接口14,多桶式洗衣机100内设有至少一用于将空气生成臭氧的臭氧发生器(图中未示),可以通过一臭氧管连接臭氧管接口14和臭氧发生器,借此可以将臭氧发生器生成的臭氧通过臭氧管和臭氧管接口14输入第一洗衣桶10,臭氧溶入水中对第一洗衣桶10内衣物进行消毒杀菌。More preferably, the bottom of the
多桶式洗衣机100的其它各洗衣桶的结构与第一洗衣桶10的结构相同,故其它洗衣桶的结构不再赘述。优选的,每个洗衣桶的高度相同,每个洗衣桶的直径相同、部分相同或者不同。直径大的洗衣桶用于洗涤内裤等相对大的衣物,直径小的洗衣桶用于洗涤袜子等相对小的衣物。如图2所示,洗衣桶10和20的直径相同,洗衣桶30和40的直径相同,并且洗衣桶10和20的直径大于洗衣桶30和40的直径。借此可以对个人衣物进行分类、分量的进行洗涤。The structure of the other washing tubs of the
本实用新型的多桶式洗衣机100为全自动式小型洗衣机,其成本低,体积较小,主要用于洗涤袜子、内衣以及内裤等易携带病菌的小衣物。例如在一种实施例中,多桶式洗衣机100的长宽高大小为360*360*300mm。更好的是,多桶式洗衣机100既可以是图1~图6中所示的波轮式洗衣机,也可以是滚筒式洗衣机,只需将多个洗衣桶进行横置以及相应设计处理。The
传统的洗衣机的进水管和排水管都是分开设置,但由于本实用新型多桶洗衣机100的洗衣桶的数量较多,为简化管路以进一步节省整体体积和重量,其进水管和排水管采用一体设计,即将每个洗衣桶的进水口和排水口一体设计为一个进/排水口。如图5~图6所示,多桶式洗衣机100设有进/排水装置,该进/排水装置包括四个相互组接的三通阀构成的三通阀组60,该三通阀组60的一端分别接入四个洗衣桶的进/排水口,该三通阀组60的另一端分别接有进水阀70和排水阀80,且进水阀70和排水阀80均为电磁阀。在需要向洗衣桶内注水时,只需控制打开进水阀70而关闭排水阀80,即可同时向四个洗衣桶内注水。相应的,排水时,只需关闭进水阀70而打开排水阀80,即可从四个洗衣桶内排水。三通阀组60的三通阀个数并不限于四个,其实际是根据洗衣桶个数来定的。优选的,多桶式洗衣机100的各进/排水管的直径相同,且各多桶式洗衣机100的各洗衣桶的进/排水口的直径与各洗衣桶的直径成正比,以便在各洗衣桶直径大小(容量)不同时,各洗衣桶的排水和进水时间都是相同的,进水和排水可以同步完成。The water inlet pipe and the drain pipe of the traditional washing machine are all set separately, but because the number of washing buckets of the
以上所述的多桶式洗衣机100的电机90的驱动齿轮50转动时会同时带动四个洗衣桶转动工作,但如果衣物的分类或数量较少时,只需一个或两个洗衣桶洗涤即可。因此,本实用新型可以设计使各洗衣桶可以分开工作,例如在多桶式洗衣机100合适的位置设置离合结构,该离合结构控制驱动齿轮50分别和/或同时与四个洗衣桶10、20、30和40齿接传动,并且可以根据不同的需求,设计控制电路来控制各洗衣桶的工作时间,借此可以节省水电资源。When the driving gear 50 of the
综上所述,本实用新型由一个电机通过驱动齿轮带动控制多个洗衣桶转动工作,可同时对每个人的袜子、内衣等各种衣物进行分类同时洗涤,达到高效率的专人专用和/或专物专用式洗涤,避免衣物之间相互污染及传播细菌和病毒,提升了衣物洗涤环节的卫生与健康效果。更好的是,所述多桶式洗衣机为全自动式小型洗衣机,并且每个洗衣桶的进/排水管为一体设置以进一步节省整体体积和重量。To sum up, the utility model is driven by a motor through the drive gear to control the rotation of multiple washing buckets, and can simultaneously classify and wash each person's socks, underwear and other clothes at the same time, achieving high-efficiency dedicated and/or Special washing for items avoids mutual contamination between clothes and the spread of bacteria and viruses, and improves the sanitation and health effects of clothes washing. Even better, the multi-tub washing machine is a fully automatic small washing machine, and the inlet/drainage pipe of each washing tub is integrated to further save overall volume and weight.
当然,本实用新型还可有其它多种实施例,在不背离本实用新型精神及其实质的情况下,熟悉本领域的技术人员当可根据本实用新型作出各种相应的改变和变形,但这些相应的改变和变形都应属于本实用新型所附的权利要求的保护范围。Of course, the utility model can also have other various embodiments, and those skilled in the art can make various corresponding changes and deformations according to the utility model without departing from the spirit and essence of the utility model, but These corresponding changes and deformations should all belong to the protection scope of the appended claims of the present utility model.
Claims (10)
Priority Applications (1)
| Application Number | Priority Date | Filing Date | Title |
|---|---|---|---|
| CN2009202047011U CN201525956U (en) | 2009-09-09 | 2009-09-09 | A kind of multi-tub washing machine |
Applications Claiming Priority (1)
| Application Number | Priority Date | Filing Date | Title |
|---|---|---|---|
| CN2009202047011U CN201525956U (en) | 2009-09-09 | 2009-09-09 | A kind of multi-tub washing machine |
Publications (1)
| Publication Number | Publication Date |
|---|---|
| CN201525956U true CN201525956U (en) | 2010-07-14 |
Family
ID=42517246
Family Applications (1)
| Application Number | Title | Priority Date | Filing Date |
|---|---|---|---|
| CN2009202047011U Expired - Fee Related CN201525956U (en) | 2009-09-09 | 2009-09-09 | A kind of multi-tub washing machine |
Country Status (1)
| Country | Link |
|---|---|
| CN (1) | CN201525956U (en) |
Cited By (8)
| Publication number | Priority date | Publication date | Assignee | Title |
|---|---|---|---|---|
| CN102080321A (en) * | 2011-01-26 | 2011-06-01 | 海尔集团公司 | Multi-barrel washing machine capable of controlling number of washing barrels in operation |
| CN105442243A (en) * | 2016-01-07 | 2016-03-30 | 王晓望 | Three-barrel type drum washing machine |
| CN109355857A (en) * | 2018-04-18 | 2019-02-19 | 李渝 | A kind of socks or underwear rapid-curing cutback cleaning machine |
| CN109797521A (en) * | 2018-12-25 | 2019-05-24 | 珠海格力电器股份有限公司 | Washing device and washing machine |
| CN109914064A (en) * | 2019-03-25 | 2019-06-21 | 王成军 | Multi-tub pulsator washing machine |
| CN111088633A (en) * | 2020-01-07 | 2020-05-01 | 珠海格力电器股份有限公司 | Washing chamber with spray washing mode |
| CN111188154A (en) * | 2020-01-07 | 2020-05-22 | 珠海格力电器股份有限公司 | a washing device |
| CN111235811A (en) * | 2020-01-07 | 2020-06-05 | 珠海格力电器股份有限公司 | Washing device and control method thereof |
-
2009
- 2009-09-09 CN CN2009202047011U patent/CN201525956U/en not_active Expired - Fee Related
Cited By (10)
| Publication number | Priority date | Publication date | Assignee | Title |
|---|---|---|---|---|
| CN102080321A (en) * | 2011-01-26 | 2011-06-01 | 海尔集团公司 | Multi-barrel washing machine capable of controlling number of washing barrels in operation |
| CN102080321B (en) * | 2011-01-26 | 2016-03-02 | 海尔集团公司 | A kind of multi-tub washing machine that can control washtub working quantity |
| CN105442243A (en) * | 2016-01-07 | 2016-03-30 | 王晓望 | Three-barrel type drum washing machine |
| CN109355857A (en) * | 2018-04-18 | 2019-02-19 | 李渝 | A kind of socks or underwear rapid-curing cutback cleaning machine |
| CN109797521A (en) * | 2018-12-25 | 2019-05-24 | 珠海格力电器股份有限公司 | Washing device and washing machine |
| CN109914064A (en) * | 2019-03-25 | 2019-06-21 | 王成军 | Multi-tub pulsator washing machine |
| CN111088633A (en) * | 2020-01-07 | 2020-05-01 | 珠海格力电器股份有限公司 | Washing chamber with spray washing mode |
| CN111188154A (en) * | 2020-01-07 | 2020-05-22 | 珠海格力电器股份有限公司 | a washing device |
| CN111235811A (en) * | 2020-01-07 | 2020-06-05 | 珠海格力电器股份有限公司 | Washing device and control method thereof |
| CN111235811B (en) * | 2020-01-07 | 2024-04-19 | 珠海格力电器股份有限公司 | Washing device and control method thereof |
Similar Documents
| Publication | Publication Date | Title |
|---|---|---|
| CN201525956U (en) | A kind of multi-tub washing machine | |
| CN101654855B (en) | Multi-barrel washing machine | |
| CN203270307U (en) | Mini hand-scrubbed sock washing machine | |
| NL2026040B1 (en) | Laundry box and machine for separately washing clothes | |
| CN108611800B (en) | Flapping underwear cleaning machine and using method | |
| CN204058990U (en) | A kind of roller washing machine | |
| CN107805909B (en) | Full-automatic washing and shoe washing integrated machine | |
| CN104153156B (en) | Multi-functional automated intelligent cloth-washing cabinet | |
| CN206752141U (en) | One kind washes hosiery machine | |
| CN206289428U (en) | A kind of energy-conserving and environment-protective water saving laundry machine | |
| CN107083630A (en) | A kind of polyester rinsing device | |
| CN219952144U (en) | Intelligent induction closestool capable of deodorizing and sterilizing | |
| CN107366130A (en) | Washing machine | |
| CN106906604A (en) | One kind washes hosiery machine | |
| CN105088623B (en) | A drum washing machine control method and drum washing machine | |
| CN201648768U (en) | Sanitary fully automatic washing machine | |
| CN106367918A (en) | Ozone washing machine | |
| CN201850427U (en) | Water-saving efficient washing machine | |
| CN105816134A (en) | Household chopstick washing machine | |
| CN209958077U (en) | Enterovirus Infected Fabric Automatic Disinfection Washing Machine | |
| CN206603696U (en) | A kind of disinfecting vegetable washer | |
| CN215561333U (en) | Washing machine with sterilization and disinfection functions | |
| CN107313201A (en) | A kind of Versatile washing machine | |
| CN109056272A (en) | A kind of mini washing machine | |
| CN102851917A (en) | High-efficient energy-conservation environment-protection washing machine |
Legal Events
| Date | Code | Title | Description |
|---|---|---|---|
| C14 | Grant of patent or utility model | ||
| GR01 | Patent grant | ||
| C17 | Cessation of patent right | ||
| CF01 | Termination of patent right due to non-payment of annual fee |
Granted publication date: 20100714 Termination date: 20120909 |
