CN201522113U - A vacuum stuffy solar water heater - Google Patents

A vacuum stuffy solar water heater Download PDF

Info

Publication number
CN201522113U
CN201522113U CN200920253100XU CN200920253100U CN201522113U CN 201522113 U CN201522113 U CN 201522113U CN 200920253100X U CN200920253100X U CN 200920253100XU CN 200920253100 U CN200920253100 U CN 200920253100U CN 201522113 U CN201522113 U CN 201522113U
Authority
CN
China
Prior art keywords
wall
vacuum
water heater
heat
solar water
Prior art date
Legal status (The legal status is an assumption and is not a legal conclusion. Google has not performed a legal analysis and makes no representation as to the accuracy of the status listed.)
Expired - Fee Related
Application number
CN200920253100XU
Other languages
Chinese (zh)
Inventor
王业斌
Current Assignee (The listed assignees may be inaccurate. Google has not performed a legal analysis and makes no representation or warranty as to the accuracy of the list.)
Individual
Original Assignee
Individual
Priority date (The priority date is an assumption and is not a legal conclusion. Google has not performed a legal analysis and makes no representation as to the accuracy of the date listed.)
Filing date
Publication date
Application filed by Individual filed Critical Individual
Priority to CN200920253100XU priority Critical patent/CN201522113U/en
Application granted granted Critical
Publication of CN201522113U publication Critical patent/CN201522113U/en
Anticipated expiration legal-status Critical
Expired - Fee Related legal-status Critical Current

Links

Images

Classifications

    • YGENERAL TAGGING OF NEW TECHNOLOGICAL DEVELOPMENTS; GENERAL TAGGING OF CROSS-SECTIONAL TECHNOLOGIES SPANNING OVER SEVERAL SECTIONS OF THE IPC; TECHNICAL SUBJECTS COVERED BY FORMER USPC CROSS-REFERENCE ART COLLECTIONS [XRACs] AND DIGESTS
    • Y02TECHNOLOGIES OR APPLICATIONS FOR MITIGATION OR ADAPTATION AGAINST CLIMATE CHANGE
    • Y02EREDUCTION OF GREENHOUSE GAS [GHG] EMISSIONS, RELATED TO ENERGY GENERATION, TRANSMISSION OR DISTRIBUTION
    • Y02E10/00Energy generation through renewable energy sources
    • Y02E10/40Solar thermal energy, e.g. solar towers
    • Y02E10/44Heat exchange systems

Landscapes

  • Heat-Pump Type And Storage Water Heaters (AREA)

Abstract

本实用新型公开了一种真空闷晒式太阳能热水器,该真空闷晒式太阳能热水器包括底座、吸热罩、内壁、外壁,所述内壁与外壁为半圆弧形,所述内壁与外壁边缘密封在一起,所述内壁与外壁之间为真空,所述半圆弧形密封在一起的内壁与外壁固定在底座上并与底座通过密封垫连接,所述内壁内侧设有弧形的吸热罩。该真空闷晒式太阳能热水器集合了真空管太阳能热水器和普通闷晒式热水器的优点,利用吸热罩吸热,成真空状态的内、外玻璃壁保温,不需要支架,具有结构简单、热效率高,成本低的优点。

Figure 200920253100

The utility model discloses a vacuum stuffy solar water heater. The vacuum stuffy solar water heater comprises a base, a heat absorbing cover, an inner wall and an outer wall. Together, there is a vacuum between the inner wall and the outer wall, and the inner wall and the outer wall sealed together in a semi-circular arc are fixed on the base and connected with the base through a gasket, and an arc-shaped heat-absorbing cover is provided on the inner side of the inner wall. The vacuum sun-dried solar water heater combines the advantages of vacuum tube solar water heaters and common sun-dried water heaters, uses the heat-absorbing cover to absorb heat, and keeps the inner and outer glass walls in a vacuum state for heat preservation without brackets. It has simple structure and high thermal efficiency. The advantage of low cost.

Figure 200920253100

Description

A kind of vacuum passive solarenergy water heater
Technical field
The utility model belongs to solar water heater and utilizes technical field, especially relates to a kind of efficient passive solarenergy water heater.
Background technology
Solar energy is a kind of inexhaustible not intact pollution-free green energy resource of using, at present, the utilization of solar energy has related to every field, and utilizing solar water heater to produce hot water is one of mature technique field, present solar water heater mainly contains electron tubes type and closing-sunning type, though vacuum pipe solar water heater thermal efficiency height, complex structure needs storage tank, vacuum heat collection pipe, support, the manufacturing cost height, though common closing-sunning type water heater is simple in structure, cost is low, and the thermal efficiency is low.
Summary of the invention
The purpose of this utility model is exactly the problem that exists at above two kinds of solar water heaters, and a kind of simple in structure, the thermal efficiency is high, cost is low passive solarenergy water heater is provided.
The purpose of this utility model is achieved through the following technical solutions, this vacuum passive solarenergy water heater comprises base, heat-absorbing shield, inwall, outer wall, described inwall and outer wall are semicircular arc, described inwall is sealed with outer mural margin, state is evacuated between described inwall and the outer wall, described inwall, outer wall is transparent glass, the inwall that described semicircular arc is sealed is fixed on the base and with base with outer wall and is connected by sealing gasket, described inwall inboard is provided with the heat-absorbing shield of arc, described heat-absorbing shield is a waveform, to increase endotherm area, described heat-absorbing shield is good copper sheet or the aluminium flake of conducting heat, and described heat-absorbing shield outside is a black, to improve heat absorption capacity, described base is provided with the heat-insulation layer of being made by insulation material, and described water heater is provided with water inlet pipe and water outlet pipe, overflow pipe.
The beneficial effects of the utility model: this vacuum passive solarenergy water heater has gathered the advantage of solar vacuum-tube water heater and common closing-sunning type water heater, utilize the heat-absorbing shield heat absorption, become the inside and outside glass wall insulation of vacuum state, do not need support, have simple in structure, the thermal efficiency is high, the advantage that cost is low.
Description of drawings
Describe embodiment of the present utility model in detail below in conjunction with accompanying drawing
Fig. 1 is a schematic diagram of the present utility model
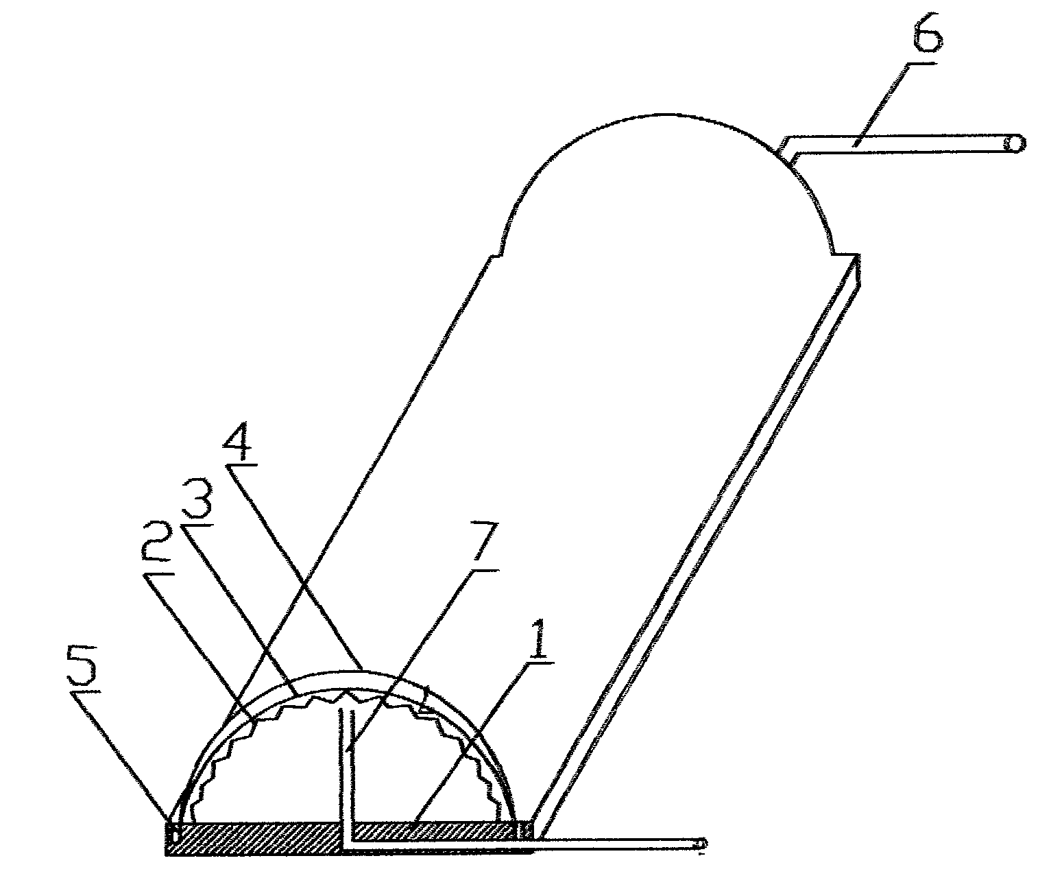
Among the figure: 1, base 2, heat-absorbing shield 3, inwall 4, outer wall 5, sealing gasket 6, water inlet pipe and water outlet pipe 7, overflow pipe
The specific embodiment
As shown in Figure 1, this vacuum passive solarenergy water heater comprises base 1, heat-absorbing shield 2, inwall 3, outer wall 4, inwall 3 is a semicircular arc with outer wall 4, inwall 3 is sealed with outer wall 4 edges, state is evacuated in it, inwall, outer wall is transparent glass, the inwall that semicircular arc is sealed is fixed on the base 1 and with base 1 with outer wall and is connected by sealing gasket 5, inwall 3 inboards are provided with the heat-absorbing shield 2 of arc, heat-absorbing shield 2 is a waveform, to increase endotherm area, heat-absorbing shield 2 is the good copper sheet that conducts heat, and heat-absorbing shield 2 outsides are black, to improve heat absorption capacity, base 1 is provided with the heat-insulation layer of being made by insulation material, also is provided with water inlet pipe and water outlet pipe 6 on the water heater, overflow pipe 7.

Claims (4)

1.一种真空闷晒式太阳能热水器,其特征在于所述该真空闷晒式太阳能热水器包括底座、吸热罩、内壁、外壁,所述内壁与外壁为半圆弧形,所述内壁与外壁边缘密封在一起,所述内壁与外壁之间为真空,所述半圆弧形密封在一起的内壁与外壁固定在底座上并与底座通过密封垫连接,所述内壁内侧设有弧形的吸热罩。1. A vacuum stuffy solar water heater, characterized in that said vacuum stuffy solar water heater comprises a base, a heat-absorbing cover, an inner wall, and an outer wall, the inner wall and the outer wall are semicircular arc-shaped, and the edges of the inner wall and the outer wall are Sealed together, there is a vacuum between the inner wall and the outer wall, the inner wall and the outer wall sealed together in a semi-circular arc are fixed on the base and connected with the base through a gasket, and an arc-shaped heat-absorbing cover is provided on the inner side of the inner wall . 2.根据权利要求1所述的一种真空闷晒式太阳能热水器,其特征在于所述吸热罩为波浪形。2. A vacuum sun-drying solar water heater according to claim 1, characterized in that the heat-absorbing cover is wave-shaped. 3.根据权利要求1所述的一种真空闷晒式太阳能热水器,其特征在于所述吸热罩为铜质材料。3. A vacuum sun-drying solar water heater according to claim 1, characterized in that the heat-absorbing cover is made of copper material. 4.据权利要求1所述的一种真空闷晒式太阳能热水器,其特征在于所述内壁、外壁均为透明的玻璃。4. A vacuum sun-drying solar water heater according to claim 1, characterized in that both the inner wall and the outer wall are transparent glass.
CN200920253100XU 2009-11-16 2009-11-16 A vacuum stuffy solar water heater Expired - Fee Related CN201522113U (en)

Priority Applications (1)

Application Number Priority Date Filing Date Title
CN200920253100XU CN201522113U (en) 2009-11-16 2009-11-16 A vacuum stuffy solar water heater

Applications Claiming Priority (1)

Application Number Priority Date Filing Date Title
CN200920253100XU CN201522113U (en) 2009-11-16 2009-11-16 A vacuum stuffy solar water heater

Publications (1)

Publication Number Publication Date
CN201522113U true CN201522113U (en) 2010-07-07

Family

ID=42508290

Family Applications (1)

Application Number Title Priority Date Filing Date
CN200920253100XU Expired - Fee Related CN201522113U (en) 2009-11-16 2009-11-16 A vacuum stuffy solar water heater

Country Status (1)

Country Link
CN (1) CN201522113U (en)

Cited By (2)

* Cited by examiner, † Cited by third party
Publication number Priority date Publication date Assignee Title
CN101949601A (en) * 2010-09-27 2011-01-19 傅剑 Solar energy heat collection pipe
CN109812986A (en) * 2019-01-23 2019-05-28 南昌大学 A solar water heater

Cited By (2)

* Cited by examiner, † Cited by third party
Publication number Priority date Publication date Assignee Title
CN101949601A (en) * 2010-09-27 2011-01-19 傅剑 Solar energy heat collection pipe
CN109812986A (en) * 2019-01-23 2019-05-28 南昌大学 A solar water heater

Similar Documents

Publication Publication Date Title
CN201779880U (en) Solar collector
CN201463362U (en) All glass vacuum solar collector tube
CN102943548B (en) Construction curtain wall type flat-plate solar heat collector
CN202188677U (en) Thermal storage vacuum tube and heat collector with the vacuum tube
CN202002355U (en) Micro-pore super-conduction flat-plate solar collector
CN201522113U (en) A vacuum stuffy solar water heater
CN203203271U (en) Double-film efficient flat solar energy collector
CN102353155A (en) Solar air heat collection device with fluctuant strip fins
CN202419972U (en) Square-pipe-type solar heat collector
CN201837088U (en) Double-flow flat-plate type solar air heat collector
CN201514058U (en) A high-efficiency double-plate coupled flat-plate solar collector
CN2525428Y (en) Energy storage solar ranger
CN201093777Y (en) Double glass vacuum tube type solar heat collector
CN201322456Y (en) Vacuum flat glass box type solar thermal collector
CN201764735U (en) Full glass vacuum solar energy heat-collecting tube with multiple inner tubes
CN201803479U (en) A Microchannel Parallel Flow Flat Plate Solar Heat Collector
CN201508056U (en) Flat-plate solar collector
CN204880792U (en) Flat medium temperature heat collector
CN103629823A (en) Negative pressure solar flat plate collector
CN203190670U (en) Flat plate type solar air heat collector
CN2788093Y (en) Vertical solar heat collector
CN202204187U (en) Solar air heat collecting device with fluctuated type strip fins
CN201850710U (en) Simple solar air heat collector integrated with building
CN202008236U (en) Flat plate vacuum solar heat collector
CN107289646B (en) A Flat-type Integral Solar Air Yi Medicine Heat Collector and Its Dryer

Legal Events

Date Code Title Description
C14 Grant of patent or utility model
GR01 Patent grant
C17 Cessation of patent right
CF01 Termination of patent right due to non-payment of annual fee

Granted publication date: 20100707

Termination date: 20101116