CN201501150U - Positioning device for multi-station screen printing machine - Google Patents
Positioning device for multi-station screen printing machine Download PDFInfo
- Publication number
- CN201501150U CN201501150U CN2009202040027U CN200920204002U CN201501150U CN 201501150 U CN201501150 U CN 201501150U CN 2009202040027 U CN2009202040027 U CN 2009202040027U CN 200920204002 U CN200920204002 U CN 200920204002U CN 201501150 U CN201501150 U CN 201501150U
- Authority
- CN
- China
- Prior art keywords
- positioning
- turntable
- plate
- printing machine
- screen printing
- Prior art date
- Legal status (The legal status is an assumption and is not a legal conclusion. Google has not performed a legal analysis and makes no representation as to the accuracy of the status listed.)
- Expired - Fee Related
Links
Images
Classifications
-
- Y—GENERAL TAGGING OF NEW TECHNOLOGICAL DEVELOPMENTS; GENERAL TAGGING OF CROSS-SECTIONAL TECHNOLOGIES SPANNING OVER SEVERAL SECTIONS OF THE IPC; TECHNICAL SUBJECTS COVERED BY FORMER USPC CROSS-REFERENCE ART COLLECTIONS [XRACs] AND DIGESTS
- Y02—TECHNOLOGIES OR APPLICATIONS FOR MITIGATION OR ADAPTATION AGAINST CLIMATE CHANGE
- Y02P—CLIMATE CHANGE MITIGATION TECHNOLOGIES IN THE PRODUCTION OR PROCESSING OF GOODS
- Y02P70/00—Climate change mitigation technologies in the production process for final industrial or consumer products
- Y02P70/50—Manufacturing or production processes characterised by the final manufactured product
Landscapes
- Rotary Presses (AREA)
Abstract
本实用新型涉及一种多工位丝网印刷机的定位装置,包括固定架、可转动地安装在所述固定架上一侧的转盘、可滑动地安装在所述固定架上相对于转盘的另一侧的定位机构、以及带动所述定位机构相对于所述转盘伸出和缩回的驱动气缸,其中,所述转盘的外周设置有与印刷工位数量相等的多个沿径向延伸的缺口槽,所述定位机构的靠近转盘处设有可随所述定位机构的伸出和缩回而伸入和退出所述缺口槽的定位件。本实用新型的定位装置定位精度高,结构简单,并且制作成本低。
The utility model relates to a positioning device for a multi-station screen printing machine, which comprises a fixed frame, a turntable rotatably installed on one side of the fixed frame, and a turntable that is slidably installed on the fixed frame The positioning mechanism on the other side, and the driving cylinder that drives the positioning mechanism to extend and retract relative to the turntable, wherein the outer periphery of the turntable is provided with a plurality of radially extending A notch slot, the position of the positioning mechanism close to the turntable is provided with a positioning piece that can extend into and out of the notch slot with the extension and retraction of the positioning mechanism. The positioning device of the utility model has high positioning precision, simple structure and low manufacturing cost.
Description
技术领域technical field
本实用新型涉及丝网印刷机,更具体地说,涉及一种用于多工位丝网印刷机的定位装置。The utility model relates to a screen printing machine, in particular to a positioning device for a multi-station screen printing machine.
背景技术Background technique
当前,随着服装和印花行业的发展,丝网印刷以其画面精美、立体感强且不易掉色等优势,越来越受到服装及印花行业的青睐,同时对丝网印刷的精度要求也越来越高。服装印花通常需要在多个工位进行多色套印,因而转盘式多工位丝网印刷机的定位精度直接决定了印刷质量。目前的转盘式丝网印刷机的定位机构一般采用的是安装位置可调节式的结构,结构复杂,调节难度大,制作成本高,定位精度低。At present, with the development of the clothing and printing industry, screen printing is more and more popular in the clothing and printing industry due to its advantages of exquisite picture, strong three-dimensional effect and not easy to fade. At the same time, the precision requirements of screen printing are also increasing. higher. Garment printing usually requires multi-color overprinting at multiple stations, so the positioning accuracy of the rotary multi-station screen printing machine directly determines the printing quality. The positioning mechanism of the current rotary screen printing machine generally adopts an adjustable installation position structure, which is complicated in structure, difficult to adjust, high in production cost, and low in positioning accuracy.
实用新型内容Utility model content
本实用新型要解决的技术问题在于,针对现有转盘式多工位丝网印刷机的上述缺陷,提供一种结构简单、定位精度高的定位装置。The technical problem to be solved by the utility model is to provide a positioning device with a simple structure and high positioning accuracy for the above-mentioned defects of the existing rotary multi-station screen printing machine.
本实用新型解决其技术问题所采用的技术方案是:提出一种多工位丝网印刷机的定位装置,包括固定架、可转动地安装在所述固定架上一侧的转盘、可滑动地安装在所述固定架上相对于转盘的另一侧的定位机构、以及带动所述定位机构相对于所述转盘伸出和缩回的驱动气缸,其中,所述转盘的外周设置有与印刷工位数量相等的多个沿径向延伸的缺口槽,所述定位机构的靠近转盘处设有可随所述定位机构的伸出和缩回而伸入和退出所述缺口槽的定位件。The technical solution adopted by the utility model to solve the technical problems is: a positioning device for a multi-station screen printing machine is proposed, which includes a fixed frame, a turntable rotatably installed on one side of the fixed frame, a slidable The positioning mechanism installed on the fixed frame relative to the other side of the turntable, and the drive cylinder that drives the positioning mechanism to extend and retract relative to the turntable, wherein the outer periphery of the turntable is provided with a There are a plurality of radially extending notch slots with the same number of positions, and the position of the positioning mechanism near the turntable is provided with a positioning member that can extend into and out of the notch slots with the extension and retraction of the positioning mechanism.
根据本实用新型的一个实施例中,所述固定架包括安装在印刷机机架上的底板、以及固定在所述底板上两侧的安装板和转盘中心轴,所述定位机构可滑动地安装在所述安装板上,所述转盘可转动地安装在所述转盘中心轴上。According to an embodiment of the present utility model, the fixed frame includes a bottom plate installed on the frame of the printing machine, and a mounting plate fixed on both sides of the bottom plate and a central axis of the turntable, and the positioning mechanism is slidably installed On the mounting plate, the turntable is rotatably mounted on the central axis of the turntable.
根据本实用新型的一个实施例中,所述转盘的下表面固定有转盘轴承座,所述转盘轴承座通过轴承安装在所述转盘中心轴上。进一步,所述转盘轴承座的上、下两端面形成轴承安装孔位,两个轴承分别安装在所述轴承安装孔位内。According to one embodiment of the present invention, the lower surface of the turntable is fixed with a turntable bearing seat, and the turntable bearing seat is installed on the central axis of the turntable through a bearing. Further, bearing installation holes are formed on the upper and lower end surfaces of the turntable bearing seat, and two bearings are respectively installed in the bearing installation holes.
根据本实用新型的一个实施例中,所述定位机构包括与驱动气缸的活塞杆固定连接的动力输入板、以及与所述动力输入板固定连接的定位板,所述定位板可滑动地安装在所述安装板上,且所述定位板的靠近转盘处设有所述定位件。According to an embodiment of the present invention, the positioning mechanism includes a power input plate fixedly connected with the piston rod of the driving cylinder, and a positioning plate fixedly connected with the power input plate, and the positioning plate is slidably installed on The positioning member is provided on the mounting plate and near the turntable of the positioning plate.
根据本实用新型的一个实施例中,所述定位件包括安装在所述定位板上的定位销,所述定位销上通过轴承安装有可转动的定位轴承座,所述定位轴承座具有与所述缺口槽宽度相适配的直径。进一步,所述定位轴承座的上、下两端面形成轴承安装孔位,所述定位轴承座通过安装在所述轴承安装孔位内的两个轴承可转动地安装在所述定位销上。According to one embodiment of the present invention, the positioning member includes a positioning pin installed on the positioning plate, and a rotatable positioning bearing seat is installed on the positioning pin through a bearing, and the positioning bearing seat has a The diameter that matches the width of the notch groove. Further, the upper and lower ends of the positioning bearing seat form bearing mounting holes, and the positioning bearing seat is rotatably mounted on the positioning pin through two bearings installed in the bearing mounting holes.
根据本实用新型的一个实施例中,所述定位板下表面设有滑块,套在所述安装板上设置的直线导轨上。According to one embodiment of the present invention, a slider is provided on the lower surface of the positioning plate, which is sleeved on the linear guide rail provided on the mounting plate.
本实用新型的多工位丝网印刷机的定位装置由驱动气缸驱动定位机构沿导轨滑移,使得定位机构上的定位件能在需要定位时伸入转盘上设置的缺口槽内将转盘定位,并可在完成相应印刷工位的操作后将定位件从缺口槽中退出,解除转盘的定位。因而该定位装置定位精度高,结构简单,并且制作成本低。The positioning device of the multi-station screen printing machine of the utility model is driven by the driving cylinder to drive the positioning mechanism to slide along the guide rail, so that the positioning member on the positioning mechanism can extend into the notch groove provided on the turntable to position the turntable when positioning is required. And after completing the operation of the corresponding printing station, the positioning member can be withdrawn from the notch groove, and the positioning of the turntable can be released. Therefore, the positioning device has high positioning accuracy, simple structure, and low manufacturing cost.
附图说明Description of drawings
下面将结合附图及实施例对本实用新型作进一步说明,附图中:The utility model will be further described below in conjunction with accompanying drawing and embodiment, in the accompanying drawing:
图1是根据本实用新型实施例的定位装置的整体结构示意图;Figure 1 is a schematic diagram of the overall structure of a positioning device according to an embodiment of the present invention;
图2是图1所示的定位装置的主视图;Fig. 2 is the front view of the positioning device shown in Fig. 1;
图3是图1所示的定位装置的结构剖视图;Fig. 3 is a structural sectional view of the positioning device shown in Fig. 1;
图4是根据本实用新型实施例的定位装置在驱动气缸活塞杆缩回时的位置示意图;Fig. 4 is a schematic diagram of the position of the positioning device according to the embodiment of the present invention when the piston rod of the driving cylinder is retracted;
图5是根据本实用新型实施例的定位装置在驱动气缸活塞杆伸出时的位置示意图。Fig. 5 is a schematic diagram of the position of the positioning device according to the embodiment of the present invention when the piston rod of the driving cylinder is extended.
具体实施方式Detailed ways
为了使本实用新型的目的、技术方案及优点更加清楚明白,以下结合附图及实施例,对本实用新型进行进一步详细说明。应当理解,此处所描述的具体实施例仅仅用以解释本实用新型,并不用于限定本实用新型。In order to make the purpose, technical solution and advantages of the utility model clearer, the utility model will be further described in detail below in conjunction with the accompanying drawings and embodiments. It should be understood that the specific embodiments described here are only used to explain the utility model, and are not intended to limit the utility model.
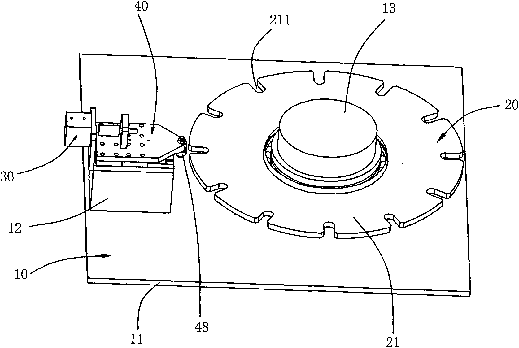
图1和图2示出了根据本实用新型实施例的定位装置的整体结构。如图所示,该转盘式多工位丝网印刷机的定位装置包括固定架10、转盘机构20、气缸驱动机构30和定位机构40。Figure 1 and Figure 2 show the overall structure of a positioning device according to an embodiment of the present invention. As shown in the figure, the positioning device of the rotary multi-station screen printing machine includes a
固定架10包括底板11、安装板12和转盘中心轴13。底板11安装在印刷机机架上,用于支撑整个定位装置。安装板12和转盘中心轴13固定安装在底板11上侧面的两侧。The fixing
转盘机构20包括可转动地安装在转盘中心轴13上的转盘21。转盘21的外周设置有与印刷工位数量相等的多个沿径向延伸的缺口槽211,每一缺口槽211对应于转盘21上每一印刷工位的定位位置。具体如图3所示,转盘21通过转盘轴承座23和轴承22安装在转盘中心轴13上。转盘轴承座23固定在转盘21的下表面,在转盘轴承座23的上、下两端面形成轴承安装孔位,两个轴承22分别安装在该上、下端面的轴承安装孔位内,使得转盘21通过轴承22活动安装在转盘中心轴13上,并可绕转盘中心轴13发生相对的转动。进一步如图3所示,转盘中心轴13的靠近底板11下端还套设有轴承衬套24,用于将靠近底板11的轴承22的内圈与底板11隔开,以利于转盘21相对于转盘中心轴13的转动。本领域技术人员可知的是,图3所示仅仅是转盘可转动地安装在转盘中心轴上的一个具体实施例,并非是对本实用新型的限制。The
再参见图2,气缸驱动机构30包括固定安装在汽缸安装板32上的驱动气缸33。气缸安装板32固定在安装板12上的导轨底板31外侧。驱动气缸33的活塞杆水平设置,活塞杆头端通过螺纹固定连接有中间传动轴35。中间传动轴35随气缸工作而伸出或缩进,带动定位机构40水平滑移。Referring to FIG. 2 again, the
具体如图3所示,定位机构40可滑动地设置在安装板12上,包括动力输入板41、定位板42、滑块43、定位销45、定位轴承47和定位轴承座48。动力输入板固定安装在定位板42上表面,并通过螺纹与气缸驱动机构30的中间传动轴35固定安装在一起。滑块43固定安装在定位板42的下表面,滑块43套在导轨底板31上表面设置的直线导轨34上,使得定位板42可通过滑块43与直线导轨34的配合而相对于安装板12左右滑移,即可相对于转盘21伸出和缩回。Specifically as shown in FIG. 3 , the
进一步如图3所示,定位板42的靠近转盘21处安装有一定位销45。定位销45通过螺纹固定安装在定位板42上,并在其末端用锁紧螺母44锁紧。定位销45上套设有定位轴承座48,定位轴承座48具有与转盘21上的缺口槽211宽度相适配的直径尺寸。该定位轴承座48的上、下两端设有轴承安装孔位,定位轴承座48通过安装在轴承安装孔位内的两个定位轴承47可转动地安装在定位销45上,并可绕定位销45发生相对的转动。此外,定位板42和靠近定位板42的轴承47之间的定位销45上还套设有垫片46,将定位板42与轴承47隔开,以利于定位轴承座48相对于定位销45的转动。As further shown in FIG. 3 , a
根据本实用新型实施例的定位装置的工作原理如下:The working principle of the positioning device according to the embodiment of the utility model is as follows:
当转盘21在外力作用下转至其一缺口槽211的中心线与定位机构40的定位轴承座48的中心点在同一线上时,驱动气缸33的后端进气,驱动气缸33的活塞杆通过中间传动轴35带动动力输入板41伸出,从而带动定位轴承座48伸入到与其在同一线上的转盘21的缺口槽211内,阻止转盘21的旋转,进而实现转盘21的精确定位,如图5所示。接着,丝网印刷机在与该缺口槽211对应的工位上进行印刷。当印刷完毕后,驱动气缸33的前端进气,驱动气缸33的活塞杆通过中间传动轴35带动动力输入板41缩回,从而带动定位轴承座48退出到与其在同一线上的转盘21的缺口槽211之外,如图4所示。此时,转盘21的定位解除,转盘21在外力作用下继续绕转盘中心轴13发生相对的转动,直至转盘21的下一缺口槽中心线转至与定位轴承座48中心点在同一线上时,本定位装置再次进行定位动作。When the
以上所述仅为本实用新型的较佳实施例而已,并不用以限制本实用新型,凡在本实用新型的精神和原则之内所作的任何修改、等同替换和改进等,均应包含在本实用新型的保护范围之内。The above descriptions are only preferred embodiments of the present utility model, and are not intended to limit the present utility model. Any modifications, equivalent replacements and improvements made within the spirit and principles of the present utility model shall be included in this utility model. within the scope of protection of utility models.
Claims (8)
Priority Applications (1)
| Application Number | Priority Date | Filing Date | Title |
|---|---|---|---|
| CN2009202040027U CN201501150U (en) | 2009-08-21 | 2009-08-21 | Positioning device for multi-station screen printing machine |
Applications Claiming Priority (1)
| Application Number | Priority Date | Filing Date | Title |
|---|---|---|---|
| CN2009202040027U CN201501150U (en) | 2009-08-21 | 2009-08-21 | Positioning device for multi-station screen printing machine |
Publications (1)
| Publication Number | Publication Date |
|---|---|
| CN201501150U true CN201501150U (en) | 2010-06-09 |
Family
ID=42452089
Family Applications (1)
| Application Number | Title | Priority Date | Filing Date |
|---|---|---|---|
| CN2009202040027U Expired - Fee Related CN201501150U (en) | 2009-08-21 | 2009-08-21 | Positioning device for multi-station screen printing machine |
Country Status (1)
| Country | Link |
|---|---|
| CN (1) | CN201501150U (en) |
Cited By (13)
| Publication number | Priority date | Publication date | Assignee | Title |
|---|---|---|---|---|
| CN105836468A (en) * | 2016-04-29 | 2016-08-10 | 宿州市天艺钢化玻璃有限公司 | Automatic feeding type glass cutting device |
| CN105836467A (en) * | 2016-04-29 | 2016-08-10 | 宿州市天艺钢化玻璃有限公司 | Lifting and turning type feeding device for glass plates |
| CN106041666A (en) * | 2016-07-14 | 2016-10-26 | 宿州市天艺钢化玻璃有限公司 | Double-side edge grinding machine for glass |
| CN106334984A (en) * | 2016-08-27 | 2017-01-18 | 宿州市天艺钢化玻璃有限公司 | Automatic double-edge glass edge grinding production line |
| CN106393960A (en) * | 2016-06-17 | 2017-02-15 | 桐乡市龙欣印染有限公司 | Intermittent drive mechanism of printing worktable |
| CN106925993A (en) * | 2017-03-30 | 2017-07-07 | 嘉善金亿精密铸件有限公司 | It is a kind of can automatic loading/unloading casting assembly equipment |
| CN107009142A (en) * | 2017-03-30 | 2017-08-04 | 嘉善金亿精密铸件有限公司 | A kind of casting assembles device |
| CN107009111A (en) * | 2017-03-30 | 2017-08-04 | 嘉善金亿精密铸件有限公司 | Device is assembled in a kind of automatic production for casting |
| CN107672298A (en) * | 2017-10-25 | 2018-02-09 | 万兴(佛冈)玩具有限公司 | A kind of transfer rotating disk on the head of the toy with multiaspect expression |
| CN107867047A (en) * | 2017-11-29 | 2018-04-03 | 深圳市天慧谷科技股份公司 | Full-automatic screen printer |
| CN108788790A (en) * | 2018-07-25 | 2018-11-13 | 深圳市科益展自动化有限公司 | A kind of bolt positioning device and processing mobile phone product five shaft platform of cantilever |
| CN109366225A (en) * | 2018-12-25 | 2019-02-22 | 航天科工哈尔滨风华有限公司电站设备分公司 | A kind of non-equal part complex parts clamp for machining of multistation |
| CN116330820A (en) * | 2023-04-11 | 2023-06-27 | 深圳威迈斯新能源股份有限公司 | A silicone grease screen printing device |
-
2009
- 2009-08-21 CN CN2009202040027U patent/CN201501150U/en not_active Expired - Fee Related
Cited By (14)
| Publication number | Priority date | Publication date | Assignee | Title |
|---|---|---|---|---|
| CN105836468A (en) * | 2016-04-29 | 2016-08-10 | 宿州市天艺钢化玻璃有限公司 | Automatic feeding type glass cutting device |
| CN105836467A (en) * | 2016-04-29 | 2016-08-10 | 宿州市天艺钢化玻璃有限公司 | Lifting and turning type feeding device for glass plates |
| CN106393960A (en) * | 2016-06-17 | 2017-02-15 | 桐乡市龙欣印染有限公司 | Intermittent drive mechanism of printing worktable |
| CN106393960B (en) * | 2016-06-17 | 2018-07-27 | 桐乡市龙欣印染有限公司 | A kind of stamp workbench intermittent drive mechanism |
| CN106041666A (en) * | 2016-07-14 | 2016-10-26 | 宿州市天艺钢化玻璃有限公司 | Double-side edge grinding machine for glass |
| CN106334984A (en) * | 2016-08-27 | 2017-01-18 | 宿州市天艺钢化玻璃有限公司 | Automatic double-edge glass edge grinding production line |
| CN107009142A (en) * | 2017-03-30 | 2017-08-04 | 嘉善金亿精密铸件有限公司 | A kind of casting assembles device |
| CN107009111A (en) * | 2017-03-30 | 2017-08-04 | 嘉善金亿精密铸件有限公司 | Device is assembled in a kind of automatic production for casting |
| CN106925993A (en) * | 2017-03-30 | 2017-07-07 | 嘉善金亿精密铸件有限公司 | It is a kind of can automatic loading/unloading casting assembly equipment |
| CN107672298A (en) * | 2017-10-25 | 2018-02-09 | 万兴(佛冈)玩具有限公司 | A kind of transfer rotating disk on the head of the toy with multiaspect expression |
| CN107867047A (en) * | 2017-11-29 | 2018-04-03 | 深圳市天慧谷科技股份公司 | Full-automatic screen printer |
| CN108788790A (en) * | 2018-07-25 | 2018-11-13 | 深圳市科益展自动化有限公司 | A kind of bolt positioning device and processing mobile phone product five shaft platform of cantilever |
| CN109366225A (en) * | 2018-12-25 | 2019-02-22 | 航天科工哈尔滨风华有限公司电站设备分公司 | A kind of non-equal part complex parts clamp for machining of multistation |
| CN116330820A (en) * | 2023-04-11 | 2023-06-27 | 深圳威迈斯新能源股份有限公司 | A silicone grease screen printing device |
Similar Documents
| Publication | Publication Date | Title |
|---|---|---|
| CN201501150U (en) | Positioning device for multi-station screen printing machine | |
| CN101733600B (en) | Manual and automatic double-adjustment device | |
| CN112283256B (en) | Test bench driving-disc quick change mechanism | |
| CN203345796U (en) | Mechanical connecting rod type inner hole expansion device | |
| CN201538083U (en) | Turntable drive device for multi-station screen printing machine | |
| CN101927596B (en) | Oscillating ink device of offset machine | |
| CN203895264U (en) | Telescopic moving platform | |
| CN201287467Y (en) | Air Spring Forming Machine | |
| CN103481640B (en) | Crawler-type forme mechanism of unit type printing machine and forme replacement method thereof | |
| CN102554696A (en) | Multi-station conversion indexing mechanism | |
| CN206242658U (en) | A kind of new type printing press roller transmission device | |
| CN217732290U (en) | Die changing device of coiled wire processing machine | |
| CN201833648U (en) | Plug two-stage adjustment and locking device of ink-jet flexible rotary screen engraver | |
| CN214465707U (en) | Based on intelligent electromechanical arresting gear | |
| CN210456748U (en) | Label rewinder | |
| CN218312212U (en) | A CNC cutting machine blade replacement device | |
| CN108616201B (en) | Magnetic shoe pasting mechanism | |
| CN210024399U (en) | Nut adsorption rotating mechanism | |
| CN220742468U (en) | Pad printing machine is used in animation toy production | |
| CN223412974U (en) | A noise detection device for thrust cylindrical roller bearings for high-speed machine tools | |
| CN207931168U (en) | A kind of carton production dewaxing drying equipment | |
| CN207386631U (en) | A kind of steel plate positional punch equipment | |
| CN221886244U (en) | A turntable mechanism for a winding and embedding integrated machine | |
| CN110535278A (en) | Electric motor end cap and its motor | |
| CN221716407U (en) | Polishing device for processing plate roller |
Legal Events
| Date | Code | Title | Description |
|---|---|---|---|
| C14 | Grant of patent or utility model | ||
| GR01 | Patent grant | ||
| PP01 | Preservation of patent right |
Effective date of registration: 20170112 Granted publication date: 20100609 |
|
| RINS | Preservation of patent right or utility model and its discharge | ||
| PD01 | Discharge of preservation of patent |
Date of cancellation: 20170712 Granted publication date: 20100609 |
|
| PD01 | Discharge of preservation of patent | ||
| CF01 | Termination of patent right due to non-payment of annual fee |
Granted publication date: 20100609 Termination date: 20160821 |
|
| CF01 | Termination of patent right due to non-payment of annual fee |
