CN201491995U - A combined table and stool - Google Patents

A combined table and stool Download PDF

Info

Publication number
CN201491995U
CN201491995U CN2009203097060U CN200920309706U CN201491995U CN 201491995 U CN201491995 U CN 201491995U CN 2009203097060 U CN2009203097060 U CN 2009203097060U CN 200920309706 U CN200920309706 U CN 200920309706U CN 201491995 U CN201491995 U CN 201491995U
Authority
CN
China
Prior art keywords
stool
locker
utility
model
desk
Prior art date
Legal status (The legal status is an assumption and is not a legal conclusion. Google has not performed a legal analysis and makes no representation as to the accuracy of the status listed.)
Expired - Fee Related
Application number
CN2009203097060U
Other languages
Chinese (zh)
Inventor
翁林伟
陈晓惠
Current Assignee (The listed assignees may be inaccurate. Google has not performed a legal analysis and makes no representation or warranty as to the accuracy of the list.)
China Academy of Art
Original Assignee
China Academy of Art
Priority date (The priority date is an assumption and is not a legal conclusion. Google has not performed a legal analysis and makes no representation as to the accuracy of the date listed.)
Filing date
Publication date
Application filed by China Academy of Art filed Critical China Academy of Art
Priority to CN2009203097060U priority Critical patent/CN201491995U/en
Application granted granted Critical
Publication of CN201491995U publication Critical patent/CN201491995U/en
Anticipated expiration legal-status Critical
Expired - Fee Related legal-status Critical Current

Links

Images

Landscapes

  • Combinations Of Kitchen Furniture (AREA)

Abstract

本实用新型涉及一种组合式桌凳,尤其涉及一种带有储物柜,且桌子和凳子组合使用的组合式桌凳。本实用新型包括桌子和凳子,其特点是,还包括插销,所述桌子的一侧固定有储物柜,该储物柜分为上储物格和下储物格,所述的凳子为门形,所述上储物格的两边开有滑槽,该滑槽与凳子的凳脚板相匹配,所述桌子的桌面上开有插销孔,所述的凳子上开有与插销孔相对应的定位孔,所述的插销与插销孔和定位孔相匹配。本实用新型结构设计合理、实用、巧妙,桌子和凳子可以组合起来使用便于搬运,且设置有储物柜可以用于存放物品。

Figure 200920309706

The utility model relates to a combined table and stool, in particular to a combined table and stool with a locker and used in combination with a table and a stool. The utility model comprises a table and a stool, and is characterized in that it also includes a latch, a locker is fixed on one side of the table, the locker is divided into an upper storage compartment and a lower storage compartment, and the stool is a door The two sides of the upper storage compartment are provided with chute, the chute is matched with the stool footboard of the stool, the table top is provided with a bolt hole, and the stool is provided with a hole corresponding to the bolt hole. Positioning hole, described bolt matches with bolt hole and positioning hole. The utility model has a reasonable structural design, is practical and ingenious, and the table and the stool can be combined for use and easy to carry, and a locker is provided for storing articles.

Figure 200920309706

Description

A kind of combined type table stool
Technical field
The utility model relates to a kind of combined type table stool, relates in particular to a kind of locker that has, and the combined type table stool that is used in combination of desk and stool.
Background technology
Traditional desk and stool generally are objects independently, and can not combine becomes an integral article, so that traditional desk and stool are carried is pretty troublesome, and traditional desk does not generally have locker.Lack a kind of integral product that can address the above problem the use that desk, stool and locker can be combined in the market.
The utility model content
The purpose of this utility model is to overcome existing the problems referred to above in the prior art, and provide a kind of reasonable in design, simple, ingenious, have a locker, the combined type table stool of being convenient to carry.
The utility model solves the problems of the technologies described above the technical scheme that is adopted: this combined type table stool, comprise desk and stool, be characterized in, also comprise latch, one side of described desk is fixed with locker, this locker is divided into matter storage lattice and following matter storage lattice, described stool is a door shape, described both sides of going up matter storage lattice have chute, the stool sole of this chute and stool is complementary, have pin hole on the desktop of described desk, have on the described stool and the pin hole corresponding positioning hole, described latch and pin hole and locating hole are complementary.
Have square hole on the stool face of stool described in the utility model.
The beneficial effects of the utility model are: reasonable in design, practicality, ingenious, desk and stool can combine to use and be convenient to carrying, and are provided with locker and can be used to deposit article.
Description of drawings
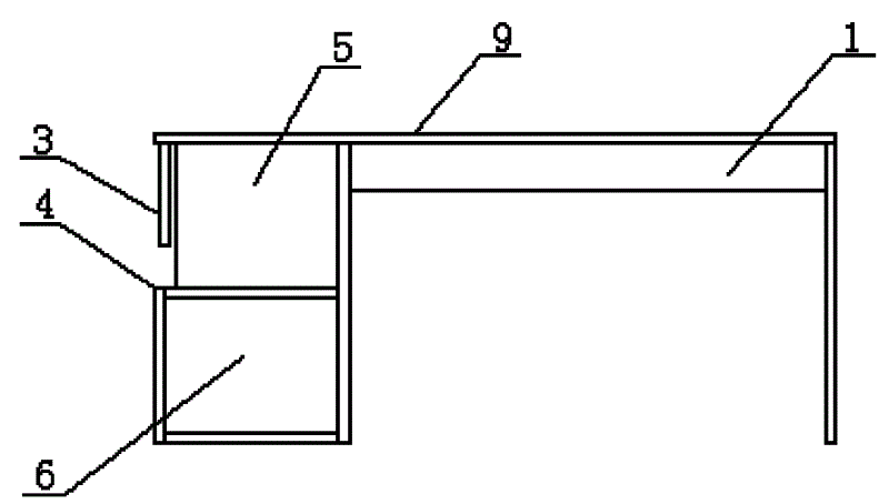
Fig. 1 is the structural representation front view of desk of the present utility model and locker;
Fig. 2 is the left view of Fig. 1;
Fig. 3 is the vertical view of Fig. 1;
Fig. 4 is the structural representation front view of desk of the present utility model and stool anabolic process;
Fig. 5 is the left view of Fig. 4;
Fig. 6 is the structural representation front view that desk of the present utility model and stool combine;
Fig. 7 is the structural representation front view of stool of the present utility model;
Fig. 8 is the left view of Fig. 7;
Fig. 9 is the vertical view of Fig. 7.
The specific embodiment
The utility model is described in further detail below in conjunction with drawings and Examples.
Embodiment:
Referring to Fig. 1-Fig. 9, the utility model comprises desk 1, stool 2 and latch 3, one side of desk 1 is fixed with locker 4, this locker 4 is divided into matter storage lattice 5 and following matter storage lattice 6, stool 2 is a door shape, the both sides of last matter storage lattice 5 have chute 7, chute 7 is complementary with the stool sole 8 of stool 2, have pin hole 10 on the desktop 9 of desk 1, have on the stool 2 and pin hole 10 corresponding positioning hole 11, latch 3 is complementary with pin hole 10 and locating hole 11, has square hole 13 on the stool face 12 of the stool 2 in the utility model.
The use that can combine of desk 1 in the utility model and stool 2, the stool sole 8 of stool 2 can match with the chute 7 on the both sides of last matter storage lattice 5, it is as a whole to make that stool 2 and last matter storage lattice 5 fit together into mutually, passes pin hole 10 and locating hole 11 by latch 3 again stool 2 and desk 1 are fixed up.When need using stool 2, can extract latch 3 and take out stool 2 and can use, can deposit some article in the locker 4 simultaneously.Square hole 13 can be so that grab by stool 2 with hand, and the square hole 13 in the present embodiment is also corresponding with locating hole 11, can conveniently release latch 3.
Above content described in this specification only is to the explanation of the utility model structure example.The utility model person of ordinary skill in the field can make various modifications or replenishes or adopt similar mode to substitute described specific embodiment; only otherwise depart from structure of the present utility model or surmount the defined scope of these claims, all should belong to protection domain of the present utility model.

Claims (2)

1. combined type table stool, comprise desk and stool, it is characterized in that: also comprise latch, a side of described desk is fixed with locker, and this locker is divided into matter storage lattice and following matter storage lattice, described stool is a door shape, described both sides of going up matter storage lattice have chute, and the stool sole of this chute and stool is complementary, and has pin hole on the desktop of described desk, have on the described stool and the pin hole corresponding positioning hole, described latch and pin hole and locating hole are complementary.
2. combined type table stool according to claim 1 is characterized in that: have square hole on the stool face of described stool.
CN2009203097060U 2009-09-05 2009-09-05 A combined table and stool Expired - Fee Related CN201491995U (en)

Priority Applications (1)

Application Number Priority Date Filing Date Title
CN2009203097060U CN201491995U (en) 2009-09-05 2009-09-05 A combined table and stool

Applications Claiming Priority (1)

Application Number Priority Date Filing Date Title
CN2009203097060U CN201491995U (en) 2009-09-05 2009-09-05 A combined table and stool

Publications (1)

Publication Number Publication Date
CN201491995U true CN201491995U (en) 2010-06-02

Family

ID=42435205

Family Applications (1)

Application Number Title Priority Date Filing Date
CN2009203097060U Expired - Fee Related CN201491995U (en) 2009-09-05 2009-09-05 A combined table and stool

Country Status (1)

Country Link
CN (1) CN201491995U (en)

Cited By (1)

* Cited by examiner, † Cited by third party
Publication number Priority date Publication date Assignee Title
CN107625276A (en) * 2017-11-03 2018-01-26 商周 A kind of novel compositions desk and chair

Cited By (1)

* Cited by examiner, † Cited by third party
Publication number Priority date Publication date Assignee Title
CN107625276A (en) * 2017-11-03 2018-01-26 商周 A kind of novel compositions desk and chair

Similar Documents

Publication Publication Date Title
CN201491977U (en) storage compartment removable locker
CN201491995U (en) A combined table and stool
CN203446896U (en) Novel folding chair
CN203016597U (en) Multifunctional simple plate with sucking discs
CN202386172U (en) Stable book stand
CN201894344U (en) Novel school desk
CN201370299Y (en) A cabinet aluminum pull basket
CN202908246U (en) Chair
CN201754930U (en) Foldable table
CN204970274U (en) Novel multi -functional bathroom is accomodate device
CN202739274U (en) Wood-copper composite side cabinet
CN204385835U (en) A kind of Multifunction bubble pin toilet
CN202365277U (en) Multi-purpose bedside cabinet
CN202739273U (en) Wood-copper composite low cabinet
CN202552838U (en) Double-layer desk hole student desk
CN201480545U (en) Storing cabinet
CN202335813U (en) Decorative paper towel holder
CN201806595U (en) Storage type cutting board
CN201743210U (en) Desk special for old people
CN202760627U (en) Storage cabinet for kitchen
CN201995784U (en) Saving box
CN202739275U (en) Wood-copper composite side cabinet
CN205963440U (en) Multi -functional office supplies frame
CN204764630U (en) Wooden flower several
CN202312326U (en) Sofa cabinet

Legal Events

Date Code Title Description
C14 Grant of patent or utility model
GR01 Patent grant
C17 Cessation of patent right
CF01 Termination of patent right due to non-payment of annual fee

Granted publication date: 20100602

Termination date: 20100905