CN201482290U - Quick-connect filter element structure for water purification equipment - Google Patents
Quick-connect filter element structure for water purification equipment Download PDFInfo
- Publication number
- CN201482290U CN201482290U CN200920056007XU CN200920056007U CN201482290U CN 201482290 U CN201482290 U CN 201482290U CN 200920056007X U CN200920056007X U CN 200920056007XU CN 200920056007 U CN200920056007 U CN 200920056007U CN 201482290 U CN201482290 U CN 201482290U
- Authority
- CN
- China
- Prior art keywords
- filter element
- connector
- element device
- water
- quick
- Prior art date
- Legal status (The legal status is an assumption and is not a legal conclusion. Google has not performed a legal analysis and makes no representation as to the accuracy of the status listed.)
- Expired - Fee Related
Links
- XLYOFNOQVPJJNP-UHFFFAOYSA-N water Substances O XLYOFNOQVPJJNP-UHFFFAOYSA-N 0.000 title claims abstract description 64
- 238000000746 purification Methods 0.000 title claims abstract 13
- 239000000463 material Substances 0.000 claims abstract description 15
- 238000007789 sealing Methods 0.000 claims description 24
- 238000001914 filtration Methods 0.000 description 5
- 238000000034 method Methods 0.000 description 5
- 238000010586 diagram Methods 0.000 description 2
- 230000000694 effects Effects 0.000 description 2
- 241000894006 Bacteria Species 0.000 description 1
- 230000009286 beneficial effect Effects 0.000 description 1
- 238000010276 construction Methods 0.000 description 1
- 238000000354 decomposition reaction Methods 0.000 description 1
- 230000035622 drinking Effects 0.000 description 1
- 238000005516 engineering process Methods 0.000 description 1
- 239000000284 extract Substances 0.000 description 1
- 239000012535 impurity Substances 0.000 description 1
- 239000000203 mixture Substances 0.000 description 1
- 230000008447 perception Effects 0.000 description 1
- 239000002351 wastewater Substances 0.000 description 1
Images
Landscapes
- Water Treatment By Sorption (AREA)
Abstract
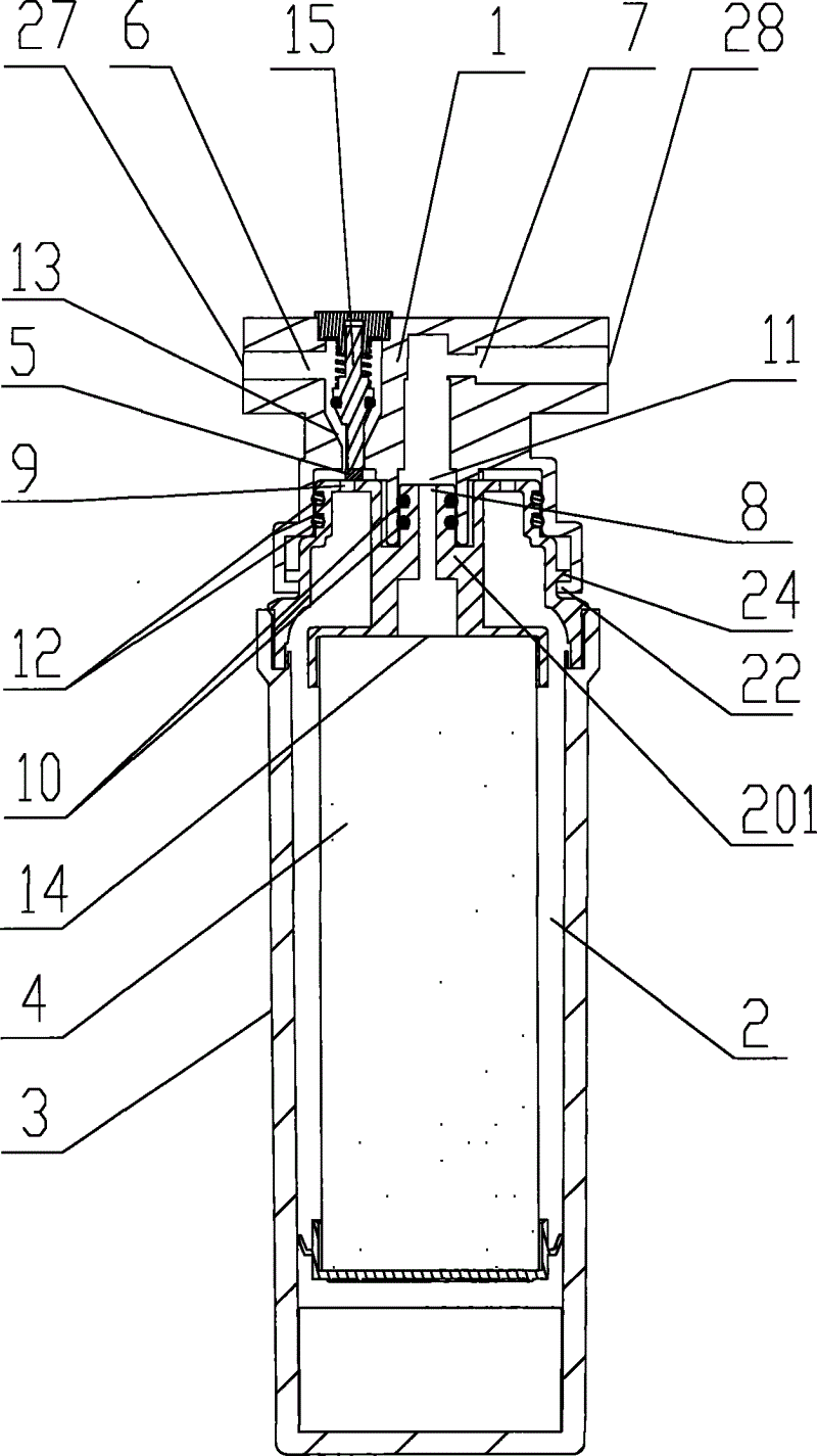
本实用新型是一种用于净水设备的快接滤芯结构,包括有连接头和滤芯装置,连接头上设有进水通道和出水通道,滤芯装置的上部设有出水口和若干个进水口,其特征在于:连接头与滤芯装置上部通过螺纹配合连接,滤芯装置上的进水口与连接头进水通道的出口端对接;滤芯装置上的出水口与连接头出水通道的进口端对接。本实用新型通过螺纹配合,且连接头和滤芯装置的进、出水口直接对接,因此连接和拆卸滤芯装置都十分方便,且滤芯装置连接到连接头上,即可形成经过滤材过滤的连通水路,使用方便,其连接或拆卸步骤简单,用户可以自行更换。
The utility model relates to a quick-connect filter element structure for water purification equipment, which includes a connector and a filter element device. The connector is provided with a water inlet channel and a water outlet channel, and the upper part of the filter element device is provided with a water outlet and several water inlets. , characterized in that: the connecting head and the upper part of the filter element device are connected through thread fit, the water inlet on the filter element device is connected with the outlet end of the water inlet channel of the connecting head; the water outlet on the filter element device is connected with the inlet end of the water outlet channel of the connecting head. The utility model cooperates with threads, and the connection head and the water inlet and outlet of the filter element device are directly connected, so it is very convenient to connect and disassemble the filter element device, and the filter element device is connected to the connection head to form a connected waterway filtered by the filter material , easy to use, its connection or disassembly steps are simple, and the user can replace it by himself.
Description
Claims (11)
Priority Applications (1)
| Application Number | Priority Date | Filing Date | Title |
|---|---|---|---|
| CN200920056007XU CN201482290U (en) | 2009-05-05 | 2009-05-05 | Quick-connect filter element structure for water purification equipment |
Applications Claiming Priority (1)
| Application Number | Priority Date | Filing Date | Title |
|---|---|---|---|
| CN200920056007XU CN201482290U (en) | 2009-05-05 | 2009-05-05 | Quick-connect filter element structure for water purification equipment |
Publications (1)
| Publication Number | Publication Date |
|---|---|
| CN201482290U true CN201482290U (en) | 2010-05-26 |
Family
ID=42421184
Family Applications (1)
| Application Number | Title | Priority Date | Filing Date |
|---|---|---|---|
| CN200920056007XU Expired - Fee Related CN201482290U (en) | 2009-05-05 | 2009-05-05 | Quick-connect filter element structure for water purification equipment |
Country Status (1)
| Country | Link |
|---|---|
| CN (1) | CN201482290U (en) |
Cited By (8)
| Publication number | Priority date | Publication date | Assignee | Title |
|---|---|---|---|---|
| CN102380269A (en) * | 2011-07-29 | 2012-03-21 | 深圳市宏日嘉净化设备科技有限公司 | Filtering device with improved structure |
| CN102407041A (en) * | 2011-10-28 | 2012-04-11 | 美的集团有限公司 | Filter element and connecting seat thereof |
| WO2013123685A1 (en) * | 2012-02-24 | 2013-08-29 | 宁波灏钻科技有限公司 | Thermally dismantleable and replaceable water filter assembly |
| CN103432809A (en) * | 2013-08-30 | 2013-12-11 | 马彰原 | Filter element locking rod of water purifier |
| CN104587735A (en) * | 2015-01-26 | 2015-05-06 | 北京碧水源净水科技有限公司 | Filter element cover reliable in sealing and convenient for operation |
| US9056269B2 (en) | 2012-02-24 | 2015-06-16 | Ningbo Hidrotek Co., Ltd. | Hot detachable and replaceable water filter assembly |
| CN105617866A (en) * | 2014-10-30 | 2016-06-01 | 福州爱普达环保科技有限公司 | Water purification filter element |
| CN105688486A (en) * | 2015-07-23 | 2016-06-22 | 碧克仑(北京)净水科技有限公司 | Water purification filter with automatic water locking plunger valve and quick-replaced filter core |
-
2009
- 2009-05-05 CN CN200920056007XU patent/CN201482290U/en not_active Expired - Fee Related
Cited By (11)
| Publication number | Priority date | Publication date | Assignee | Title |
|---|---|---|---|---|
| CN102380269A (en) * | 2011-07-29 | 2012-03-21 | 深圳市宏日嘉净化设备科技有限公司 | Filtering device with improved structure |
| CN102407041A (en) * | 2011-10-28 | 2012-04-11 | 美的集团有限公司 | Filter element and connecting seat thereof |
| CN102407041B (en) * | 2011-10-28 | 2016-08-10 | 美的集团股份有限公司 | Filter element and joint chair thereof |
| WO2013123685A1 (en) * | 2012-02-24 | 2013-08-29 | 宁波灏钻科技有限公司 | Thermally dismantleable and replaceable water filter assembly |
| US9056269B2 (en) | 2012-02-24 | 2015-06-16 | Ningbo Hidrotek Co., Ltd. | Hot detachable and replaceable water filter assembly |
| CN103432809A (en) * | 2013-08-30 | 2013-12-11 | 马彰原 | Filter element locking rod of water purifier |
| CN103432809B (en) * | 2013-08-30 | 2016-02-17 | 马彰原 | A kind of filter element of water purifier check lock lever |
| CN105617866A (en) * | 2014-10-30 | 2016-06-01 | 福州爱普达环保科技有限公司 | Water purification filter element |
| CN104587735A (en) * | 2015-01-26 | 2015-05-06 | 北京碧水源净水科技有限公司 | Filter element cover reliable in sealing and convenient for operation |
| CN104587735B (en) * | 2015-01-26 | 2016-03-09 | 北京碧水源净水科技有限公司 | A kind ofly seal reliable, easy to operate filter core lid |
| CN105688486A (en) * | 2015-07-23 | 2016-06-22 | 碧克仑(北京)净水科技有限公司 | Water purification filter with automatic water locking plunger valve and quick-replaced filter core |
Similar Documents
| Publication | Publication Date | Title |
|---|---|---|
| CN201482290U (en) | Quick-connect filter element structure for water purification equipment | |
| CN203244920U (en) | Purified water filter, connecting seat body and filter body thereof | |
| US12378135B2 (en) | Double-water-output cylindrical integrated water purifier | |
| CN201168510Y (en) | Water stopping structure of filter | |
| CN203043686U (en) | Portable pressure water purifier | |
| CN107795712B (en) | Water purification tap | |
| CN207178810U (en) | filter tap | |
| CN204034400U (en) | A kind of quick-connected filter element structure for purifier | |
| CN223150309U (en) | Double-outlet water purifier flow control cylinder cover | |
| CN202478716U (en) | A waterway integrated water purifier | |
| CN205367941U (en) | Integral type water purifier | |
| CN205504082U (en) | Multi -functional clean water tap device of hydroelectric power generation | |
| CN201189414Y (en) | Automatic water stopping structure for water filter | |
| CN201543286U (en) | Improved structure of antifouling filter | |
| CN208397355U (en) | Double depotition cocks with filter core | |
| CN210079017U (en) | Filter with sealing water stopping mechanism | |
| CN2599535Y (en) | a filter water meter | |
| CN107261613B (en) | Flow control base of water purifier | |
| CN201258269Y (en) | Novel structure miniature water purification apparatus | |
| CN2599079Y (en) | Table surface control type duplex filtering fallingw ater filter | |
| CN106731844A (en) | A kind of integrated filter core of check valve and bayonet type reverse osmosis membrane | |
| CN219493189U (en) | Inner valve core pipe with filtering function and pull tap with same | |
| CN106219793A (en) | Cartridge type integrated water purifier | |
| CN201634480U (en) | Reverse osmosis membrane shell with safe structure | |
| CN205528050U (en) | Base is flowed in accuse of water purifier |
Legal Events
| Date | Code | Title | Description |
|---|---|---|---|
| C14 | Grant of patent or utility model | ||
| GR01 | Patent grant | ||
| ASS | Succession or assignment of patent right |
Owner name: MIDEA WATER DISPENSER MANUFACTURING CO., LTD., SHU Free format text: FORMER OWNER: MEIDI GROUP CO. LTD. Effective date: 20101222 |
|
| C41 | Transfer of patent application or patent right or utility model | ||
| COR | Change of bibliographic data |
Free format text: CORRECT: ADDRESS; FROM: 528311 PENGLAI ROAD, BEIJIAO TOWN, SHUNDE DISTRICT, FOSHAN CITY, GUANGDONG PROVINCE TO: 528311 GONGYE AVENUE, PENGLAI ROAD, BEIJIAO TOWN, SHUNDE DISTRICT, FOSHAN CITY, GUANGDONG PROVINCE |
|
| TR01 | Transfer of patent right |
Effective date of registration: 20101222 Address after: 528311 Beijiao, Guangdong, Shunde Town, Penglai Road, Industrial Avenue, Patentee after: FOSHAN SHUNDE MIDEA WATER DISPENSER MFG. Co.,Ltd. Address before: 528311 Penglai Road, Beijiao Town, Foshan District, Guangdong, China, Patentee before: Midea Group |
|
| CF01 | Termination of patent right due to non-payment of annual fee | ||
| CF01 | Termination of patent right due to non-payment of annual fee |
Granted publication date: 20100526 Termination date: 20180505 |
