CN201475004U - 风扇模块 - Google Patents
风扇模块 Download PDFInfo
- Publication number
- CN201475004U CN201475004U CN2009201620608U CN200920162060U CN201475004U CN 201475004 U CN201475004 U CN 201475004U CN 2009201620608 U CN2009201620608 U CN 2009201620608U CN 200920162060 U CN200920162060 U CN 200920162060U CN 201475004 U CN201475004 U CN 201475004U
- Authority
- CN
- China
- Prior art keywords
- housing
- air
- air guide
- guide member
- groove
- Prior art date
- Legal status (The legal status is an assumption and is not a legal conclusion. Google has not performed a legal analysis and makes no representation as to the accuracy of the status listed.)
- Expired - Lifetime
Links
- 238000006073 displacement reaction Methods 0.000 claims 2
- 230000017525 heat dissipation Effects 0.000 abstract description 25
- 238000005452 bending Methods 0.000 description 22
- 238000010586 diagram Methods 0.000 description 13
- 238000007664 blowing Methods 0.000 description 10
- 230000000694 effects Effects 0.000 description 9
- 238000001816 cooling Methods 0.000 description 5
- 238000010438 heat treatment Methods 0.000 description 5
- 238000000034 method Methods 0.000 description 4
- 238000012545 processing Methods 0.000 description 4
- 238000013461 design Methods 0.000 description 3
- 230000005489 elastic deformation Effects 0.000 description 3
- 230000007613 environmental effect Effects 0.000 description 3
- OKTJSMMVPCPJKN-UHFFFAOYSA-N Carbon Chemical compound [C] OKTJSMMVPCPJKN-UHFFFAOYSA-N 0.000 description 2
- 229910052799 carbon Inorganic materials 0.000 description 2
- 238000009434 installation Methods 0.000 description 2
- 238000004519 manufacturing process Methods 0.000 description 2
- 239000007769 metal material Substances 0.000 description 2
- 238000011161 development Methods 0.000 description 1
- 230000008034 disappearance Effects 0.000 description 1
- 239000003292 glue Substances 0.000 description 1
- 238000013021 overheating Methods 0.000 description 1
- 230000005855 radiation Effects 0.000 description 1
- 239000002918 waste heat Substances 0.000 description 1
- 239000002699 waste material Substances 0.000 description 1
Images
Landscapes
- Cooling Or The Like Of Electrical Apparatus (AREA)
- Structures Of Non-Positive Displacement Pumps (AREA)
Abstract
一种风扇模块包括有壳体、至少二风扇、及至少一导风件,二风扇设置于壳体内,并且对应壳体的入风口位置,使得二风扇可自入风口抽取空气并分别产生气流至壳体的出风口。导风件活动设置于出风口位置,并可相对壳体位移而缩入或伸出于壳体,以令风扇所产生的气流经由出风口沿着不同的方向进行吹送,进而提高散热范围及散热效率。
Description
技术领域
本实用新型有关于一种风扇模块,特别是一种具有导风件的风扇模块。
背景技术
随着计算机信息等高科技产业的迅速发展,计算机内部的电子组件,如中央处理单元(Central Processing Unit,CPU)、硬盘机(Hard Disk Drive,HDD)等处理数据速度也越来越高。且电子组件的体积趋于微型化,使得单位面积上的密集度也越来越高,相关电子组件所产生的热量亦随之增加,如果热量不及时排出的话,过高的温度将导致电子组件过热,而严重影响到计算机设备进行运作功能时的稳定性及效率,亦造成电子组件的寿命缩短,因此必须于计算机装置内部装设适当的散热装置,以协助电子组件进行散热并降低温度。
现有技术的散热装置,如散热器(heat sink),以黏胶黏设于发热组件上,以使散热装置以大面积范围与发热组件相互结合,如此将可快速地逸散发热组件运作时所产生的大量热能。另外,亦可于发热组件的机体上开设固定孔,并以螺丝等固定组件将散热装置固定于发热组件上,以有效达到发散发热组件产生的热量的目的。
然而,就目前市面上所见多为高运算速率的计算机装置而言,单仅依赖散热器与空气之间的自然对流与热幅射进行散热,其散热效率并不理想,无法满足目前计算机机种的散热需求。因此,计算机装置内部除了设置有散热器之外,更配置有至少一组的散热风扇,如中国台湾专利公告第M245513号专利案所揭露的风扇改良结构,以直接对高热能的电子组件或是散热器吹送一气流进行强制散热,同时将废热排出计算机装置外,以降低内部环境温度。
现有计算机装置的散热风扇组,其入风方向与出风方向是位于同一轴向上,因此风扇组仅能朝向直线方向进行气流的吹送,即便是同一组风扇组内配置有二个以上的风扇,其风扇所产生的气流仍然是朝向同一方向吹送,如此一来,风扇组的散热面积将受到装设位置的限制而无法大范围的进行散热,故散热效率会大幅降低,导致温度升高而影响电子装置的运作。
特别是针对工业计算机与服务器等散热需求较高的计算机设备而言,由于电子零组件的排列都相当紧密,使主机内部气流的流动阻力也非常大,因此工业计算机或服务器的主机内部所设置的风扇数量也必须比个人用计算机设备来的多。现有的配置方式是将多个风扇组分别朝向特定需要散热的电子零组件区域进行气流的吹送,例如中央处理单元需要快速的散热效果,就在邻近中央处理单元的区域配置一风扇组,硬盘机需要快速进行散热,即在邻近硬盘机的区域配置另一风扇组。
上述的风扇组配置方法,虽然可以解决高运算效能的计算机装置内部的散热问题,但配置多组风扇组却也衍生出成本过高、风扇噪音过大、以及整体统设置过于复杂等问题。
实用新型内容
鉴于以上的问题,本实用新型提供一种风扇模块,以改良计算机装置内部的现有风扇组的气流吹送方向固定,导致散热效率降低,以及计算机装置内部装设多组风扇组所造成资源浪费等问题。
为了实现上述目的,本实用新型所揭露的风扇模块,其特征在于,包括有:
一壳体,内部具有一容置空间,且该壳体设有至少一出风口与至少一入风口;
至少二风扇,设置于该壳体内并且对应该入风口位置,该二风扇自该入风口抽取空气并分别产生一气流至该出风口;以及
一导风件,活动设置于该出风口位置,该导风件能够相对该壳体位移并选择性的缩入该壳体或是伸出于该壳体;
其中,当该导风件缩入该壳体,该二风扇产生的该气流经由该出风口沿着一第一方向吹送;当该导风件伸出于该壳体,该二风扇产生的该气流由该导风件的导引而分别沿着该第一方向与一第二方向吹送。
上述的风扇模块,其中,该壳体具有二该入风口,该二风扇分别对应于该二入风口分别设置。
上述的风扇模块,其中,该壳体对应该出风口位置具有一沟槽,该导风件插置于该沟槽内,且该沟槽还具有一第一定位槽及一第二定位槽,该导风件具有一定位凸点,为选择性的嵌设于该第一定位槽或该第二定位槽内,以令该导风件对应固设于该沟槽内或是伸出于该沟槽外。
上述的风扇模块,其中,该导风件还具有一弯折段,当该导风件伸出于该壳体,该弯折段随着该导风件伸出于该壳体,并令该二风扇的该气流沿着该第二方向吹送。
上述的风扇模块,其中,还包括有二叶片套,分别套设于该二风扇上。
为了实现上述目的,本实用新型还提供一种风扇模块,其特征在于,包括有:
一壳体,内部具有一容置空间,且该壳体设有至少一出风口与至少一入风口;
至少二风扇,设置于该壳体内并且对应该入风口位置,该二风扇自该入风口抽取空气并分别产生一气流至该出风口;以及
二导风件,活动设置于该出风口位置,该二导风件能够相对该壳体位移并选择性的缩入该壳体或是伸出于该壳体,且该二导风件朝向二相反方向伸出于该壳体;
其中,当该二导风件缩入该壳体,该二风扇产生的该气流经由该出风口沿着一第一方向吹送;当其中一该导风件伸出于该壳体,该二风扇产生的该气流由伸出的该导风件的导引而分别沿着该第一方向与一第二方向吹送;当该二导风件伸出于该壳体,该二风扇产生的该气流由该二导风件的导引而分别沿着该第二方向与一第三方向吹送。
上述的风扇模块,其中,该壳体具有二该入风口,该二风扇分别对应于该二入风口分别设置。
上述的风扇模块,其中,该壳体对应该出风口位置具有二沟槽,该二导风件分别插置于该二沟槽内,且各该沟槽还具有一第一定位槽及一第二定位槽,各该导风件具有一定位凸点,为选择性的嵌设于该第一定位槽或该第二定位槽内,以令该二导风件对应固设于该二沟槽内或是伸出于该二沟槽外。
上述的风扇模块,其中,该二导风件为一体成形结构,该壳体对应该出风口位置具有一沟槽,该二导风件插置于该沟槽内,且该沟槽还具有二第一定位槽及二第二定位槽,各该导风件具有一定位凸点,为选择性的嵌设于该二第一定位槽或该二第二定位槽内,以令该二导风件对应固设于该沟槽内或是伸出于该沟槽外。
上述的风扇模块,其中,该二导风件还分别具有一弯折段,当其中一该导风件伸出于该壳体,其中一该弯折段随着伸出的该导风件而伸出于该壳体,并令该风扇的该气流沿着该第二方向吹送;当该二导风件伸出于该壳体,该二弯折段随着该二导风件而伸出于该壳体,并令该二风扇的该气流分别沿着该第二方向及该第三方向吹送。
本实用新型的功效在于,由活动设置于壳体上的导风件,使得本实用新型的风扇模块所产生的气流可经由出风口而沿着不同的方向进行吹送,进而提高散热范围及散热效率,并且无须于计算机装置内部配置多个风扇组以分别对特定的散热区域进行散热,大幅降低制造成本,同时可缩减计算机装置内部的空间,以达到电子装置小型化的目的。
另外,本实用新型的风扇模块可根据实际的环境温度及使用需求,而对应令其中一风扇执行作动,或者是令二风扇同时执行作动,以达到最佳化的散热效能,同时兼顾节省电能,符合现今节能省碳的环保需求。
以下结合附图和具体实施例对本实用新型进行详细描述,但不作为对本实用新型的限定。
附图说明
图1为本实用新型第一实施例的分解示意图;
图2为本实用新型第一实施例的立体示意图;
图3为本实用新型第一实施例的俯视图;
图4为本实用新型第一实施例的导风件伸出于壳体的立体示意图;
图5为图4的俯视图;
图6为本实用新型第二实施例的分解示意图;
图7为本实用新型第二实施例的立体示意图;
图8为本实用新型第二实施例的俯视图;
图9为本实用新型第二实施例的其中一导风件伸出于壳体的立体示意图;
图10为图9的俯视图;
图11为本实用新型第二实施例的二导风件伸出于壳体的立体示意图;
图12为图11的俯视图;
图13为本实用新型第三实施例的分解示意图;
图14为本实用新型第三实施例的立体示意图;
图15为本实用新型第三实施例的其中一导风件伸出于壳体的立体示意图;
图16为本实用新型第三实施例的二导风件伸出于壳体的立体示意图;
图17为本实用新型第四实施例的分解示意图;
图18为本实用新型第五实施例的立体示意图;
图19为本实用新型的电路控制方块图;
图20为本实用新型第六实施例的侧面示意图;以及
图21为本实用新型第六实施例的上视图。
其中,附图标记
100 风扇模块
110 壳体
111 出风口
112 入风口
113 沟槽
1131 第一定位槽
1132 第二定位槽
114 螺孔
120 风扇
130 导风件
131 定位凸点
132 弯折段
140 螺丝
150 叶片套
D1 第一方向
D2 第二方向
D3 第三方向
200 电子装置
210 微处理器
220 温度传感器
具体实施方式
根据本实用新型所揭露的风扇模块,是装设于一电子装置中,其中所述的电子装置包括但不局限于台式计算机、笔记型计算机、服务器等计算机装置。以下本实用新型的详细说明中,将以笔记型计算机做为本实用新型的最佳实施例。然而所附图式仅提供参考与说明用,并非用以限制本实用新型。
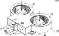
请参阅图1至图3的第一实施例的示意图。本实用新型第一实施例的风扇模块100包括有一壳体110、至少二风扇120、及一导风件130,壳体110内部具有一容置空间,且壳体110的侧边开设有一出风口111,壳体110的顶侧面开设有二入风口112。二风扇120设置于壳体110内的容置空间,并且二风扇120分别对应于壳体110的入风口112位置。二风扇120自入风口112抽取空气而分别产生一气流吹送至壳体110的出风口111。其中,本实施例的壳体110内部空间的配置,使风扇120以类似并排或并联的形式装设于壳体110内。
值得注意的是,本实用新型的二风扇120之间相隔有一定的距离,因此二风扇120于执行作动时,其二风扇120的磁心并不会相互影响而造成风扇120的运转不顺,避免风扇120的运转效能降低,甚至是造成风扇120的使用寿命缩短。
壳体110对应于出风口111的位置具有一沟槽113,其形状尺寸与导风件130的外型相匹配,本实用新型的沟槽113为矩形型态,但沟槽113的形状设计并不以此为限。导风件130以一金属材料制成的片体,因此导风件130具备有弹性变形的特性,导风件130的前端为一弯折段132,而与导风件130的本体之间常态呈一角度弯曲,且弯折段132可相对于导风件130的本体进行弹性变形作用。导风件130插置于壳体110的沟槽113内,并可相对于壳体110活动位移而选择性的缩入壳体110内,或者是伸出于壳体110外。壳体110的沟槽113还凹设有第一定位槽1131及第二定位槽1132,且第一定位槽1131与第二定位槽1132的相对位置是对应于导风件130缩入壳体110或是伸出于壳体110的位置。导风件130的一侧面突设有一定位凸点131,用以与第一定位槽1131或是第二定位槽1132相互卡嵌定位。
另外,本实用新型的壳体110还具有至少一螺孔114,以供螺丝140等锁固组件穿设于其中,并且将壳体110锁固于电子装置(图中未示)内,以对电子装置内部的发热源进行气流的吹送,不仅可达到快速散热的效果,亦方便操作人员对风扇模块100进行装卸。本实用新型的壳体110上方还设有三个螺孔114,以供螺丝140依据壳体110的实际装设位置而对应穿设于其中一螺孔114并予以锁固。
如图2及图3所示,当导风件130缩入壳体110内时,导风件130的弯折段132随之位移至沟槽113内,且弯折段132由沟槽113的导引而被迫弹性变形至与沟槽113相同的平直形状。此时,导风件130的定位凸点131与沟槽113的第一定位槽1131相互嵌合,使得导风件130固设于沟槽113内而不致突出于壳体110外。
二风扇120自入风口112抽取外部的空气而分别产生一气流,并且经由出风口111沿着第一方向D1吹送。其中,本实用新型所述的第一方向D1是与出风口111的开设方向相平行,亦即二风扇120产生的气流直接由出风口111向外吹出。
如图4及图5所示,当导风件130伸出于壳体110外时,导风件130的弯折段132随之位移至壳体110外,且弯折段132因沟槽113的作用力消失而弹性回复至初始的弯曲状态,并且弯折段132的相对位置与其中一风扇120的吹送方向相互干涉。此时,导风件130的定位凸点131与沟槽113的第二定位槽1132相互嵌合,使得导风件130固设于伸出壳体110外的位置。
二风扇120自入风口112抽取外部的空气而分别产生一气流,未与导风件130形成干涉关系的其中一风扇120经由出风口111而沿着第一方向D1吹送,而另一风扇120所产生的气流由导风件130的导引而沿着第二方向D2吹送。其中,本实用新型所述的第二方向D2根据导风件130的弯折段132的弯曲角度而与出风口111的开设方向呈一夹角,亦即二风扇120朝向不同的方向D1、D2进行气流的吹送。本实用新型通过导风件130的设置,而可达到控制二风扇120朝向特定方向进行气流吹送的功效。
值得注意的是,本实用新型的导风件130的弯折段132可与其中一风扇120之间形成干涉关系,并不局限于特定的其中一风扇120。另外,本实施例的导风件130的弯折段132呈一圆弧弯曲角度,本领域技术人员亦可将弯折段132设计为不同角度的弯折,例如直角弯折,并不以本实用新型所揭露的实施例为限。
请参阅图6至图8的第二实施例的示意图。本实用新型第二实施例的风扇模块100包括有一壳体110、至少二风扇120、及二导风件130,壳体110内部具有一容置空间,且壳体110的侧边开设有一出风口111,壳体110的顶侧面开设有二入风口112。二风扇120设置于壳体110内的容置空间,并且二风扇120分别对应于壳体110的入风口112位置。二风扇120自入风口112抽取空气而分别产生一气流吹送至壳体110的出风口111。其中,本实施例的壳体110内部空间的配置,使风扇120以类似并排或并联的形式装设于壳体110内。
值得注意的是,本实用新型的二风扇120之间相隔有一定的距离,因此二风扇120于执行作动时,其二风扇120的磁心并不会相互影响而造成风扇120的运转不顺,避免风扇120的运转效能降低,甚至是造成风扇120的使用寿命缩短。
壳体110对应于出风口111的位置具有并排的二沟槽113,其形状尺寸与二导风件130的外型相匹配,本实用新型的二沟槽113为矩形型态,但沟槽113的形状设计并不以此为限。二导风件130以一金属材料制成的片体,因此导风件130具备有弹性变形的特性,二导风件130的前端分别为一弯折段132,而与导风件130的本体之间常态呈一角度弯曲,且弯折段132可相对于导风件130的本体进行弹性变形作用。二导风件130分别插置于壳体110的二沟槽113内,并可相对于壳体110活动位移而选择性的缩入壳体110内,或者是伸出于壳体110外。壳体110的二沟槽113还分别凹设有第一定位槽1131及第二定位槽1132,且第一定位槽1131与第二定位槽1132的相对位置是对应于导风件130缩入壳体110或是伸出于壳体110的位置。二导风件130的一侧面分别突设有一定位凸点131,用以与第一定位槽1131或是第二定位槽1132相互卡嵌定位。
另外,本实用新型的壳体110还具有至少一螺孔114,以供螺丝140等锁固组件穿设于其中,并且将壳体110锁固于电子装置(图中未示)内,以对电子装置内部的发热源进行气流的吹送,不仅可达到快速散热的效果,亦方便操作人员对风扇模块100进行装卸。
如图7及图8所示,当二导风件130皆缩入壳体110内时,二导风件130的弯折段132随之位移至沟槽113内,且弯折段132由沟槽113的导引而被迫弹性变形至与沟槽113相同的平直形状。此时,二导风件130的定位凸点131分别与沟槽113的第一定位槽1131相互嵌合,使得二导风件130固设于沟槽113内而不致突出于壳体110外。
二风扇120自入风口112抽取外部的空气而分别产生一气流,并且经由出风口111沿着第一方向D1吹送。其中,本实用新型所述的第一方向D1是与出风口111的开设方向相平行,亦即二风扇120产生的气流直接由出风口111向外吹出。
如图9及图10所示,当其中一导风件130伸出于壳体110外,且另一导风件130仍保持于沟槽113内时,伸出的导风件130的弯折段132随的位移至壳体110外,且弯折段132因沟槽113的作用力消失而弹性回复至初始的弯曲状态,并且弯折段132的相对位置与其中一风扇120的吹送方向相互干涉。此时,伸出的导风件130的定位凸点131与沟槽113的第二定位槽1132相互嵌合,使得导风件130固设于伸出壳体110外的位置。
二风扇120自入风口112抽取外部的空气而分别产生一气流,未与导风件130形成干涉关系的其中一风扇120是经由出风口111而沿着第一方向D1吹送,而另一风扇120所产生的气流由导风件130的导引而沿着第二方向D2吹送。其中,本实用新型所述的第二方向D2是根据伸出的导风件130的弯折段132的弯曲角度而与出风口111的开设方向呈一夹角,亦即二风扇120朝向不同的方向D1、D2进行气流的吹送。本实用新型通过导风件130的设置,而可达到控制二风扇120朝向特定方向进行气流吹送的功效。
如图11及图12所示,当二导风件130皆伸出于壳体110外时,二导风件130的弯折段132随的位移至壳体110外,且弯折段132因沟槽113的作用力消失而弹性回复至初始的弯曲状态,并且二弯折段132的相对位置与二风扇120的吹送方向相互干涉。此时,二导风件130的定位凸点131分别与沟槽113的第二定位槽1132相互嵌合,使得二导风件130固设于伸出壳体110外的位置。
二风扇120自入风口112抽取外部的空气而分别产生一气流,其中一风扇120所产生的气流由对应的导风件130的导引而沿着第二方向D2吹送,另一风扇120所产生的气流由对应的导风件130的导引而沿着第三方向D3吹送。其中,本实用新型所述的第二方向D2及第三方向D3根据二导风件130的弯折段132的弯曲角度而与出风口111的开设方向呈一夹角,亦即二风扇120朝向不同的方向D2、D3进行气流的吹送。本实用新型通过导风件130的设置,而可达到控制二风扇120朝向特定方向进行气流吹送的功效。
值得注意的是,本实用新型第二实施例的导风件130的弯折段132可选择与其中一风扇120或是二风扇120之间形成干涉关系,且不局限于特定的其中一风扇120。另外,本实施例的二导风件130的弯折段132呈一圆弧弯曲角度,本领域技术人员亦可将弯折段132设计为不同角度的弯折,例如直角弯折,并不以本实用新型所揭露的实施例为限。
请参阅图13至图16的第三实施例的示意图。本实用新型第三实施例与上述实施例的构件大致相同,且相同或相似的组件标号代表相同或相似的组件,其配置位置及功用与上述实施例相同或相似,因此不再加以赘述,以下仅就不同之处详加说明。本实用新型第三实施例的壳体110内部空间的配置,使二风扇120以类似串联的形式装设于壳体110内。其根据风扇模块100于实际的使用情况而对应更改壳体110的外观型态,以使二风扇120得以顺利抽取外部空气并产生气流,而不致影响到风扇模块100的整体散热效能。
请参阅图17的第四实施例的示意图。本实用新型第四实施例与上述实施例的构件大致相同,且相同或相似的组件标号代表相同或相似的组件,其配置位置及功用与上述实施例相同或相似,因此不再加以赘述,以下仅就不同之处详加说明。本实用新型第四实施例的二导风件130亦可为一体成形的结构,因此壳体110的出风口111位置仅需要设置一个沟槽113。导风件130插置于沟槽113内,并且二导风件130可同时缩入该沟槽或是伸出于该沟槽。其中沟槽113还具有二第一定位槽1131及二第二定位槽1132,导风件130的二侧面分别突设有一定位凸点131,为选择性的嵌设于第一定位槽1131或第二定位槽1132内,使得导风件130对应固设于沟槽113内或是伸出于沟槽113外,并令导风件130的二弯折段132的相对位置与二风扇120的吹送方向相互干涉,达到控制二风扇120朝向特定方向进行气流吹送的功效。
请参阅图18的第五实施例的示意图。本实用新型的第五实施例与上述实施例的构件大致相同,且相同或相似的组件标号代表相同或相似的组件,其配置位置及功用与上述实施例相同或相似,因此不再加以赘述,以下仅就不同之处详加说明。本实用新型第五实施例的壳体110的顶侧面开设有一入风口112,二风扇120设置于壳体110内并对应于入风口112的位置。二风扇120自入风口112抽取空气而分别产生一气流吹送至壳体110的出风口111。
请参阅图19的电路控制方块图。本实用新型的风扇模块100装设于一电子装置200中,其中电子装置200可为笔记型计算机、台式计算机、服务器、超便携计算机(UMPC)、个人数字助理(PDA)等电子装置,但并不以此为限。本实用新型所述的电子装置200配备有双核心处理器,因此其内部电性设置有二微处理器210,以及电性连接于微处理器210的一温度传感器220,且风扇模块100电性连接于微处理器210。微处理器210内部建有一温度临界值,由温度传感器220检测电子装置200内部的环境温度,并将此一温度信号电性传递至微处理器210。当此一温度信号大于微处理器210内部的温度临界值时,微处理器210即命令风扇模块100的两风扇(如图1所示的风扇120)同时作动,以分别对二微处理器210吹送气流,并增加气流的吹送量,以尽速将电子装置200内部的热能散除;当此一温度信号小于微处理器210内部的温度临界值时,微处理器210即命令风扇模块100的其中一风扇(如图1所示的风扇120)作动,仅对持续作动的其中一微处理器210继续吹送气流,以节省电能的消耗,达到兼顾节能及环保省碳的需求。
请参阅图20及图21的第六实施例的示意图。本实用新型第六实施例与上述实施例的构件大致相同,且相同或相似的组件标号代表相同或相似的组件,其配置位置及功用与上述实施例相同或相似,因此不再加以赘述,以下仅就不同之处详加说明。本实用新型第六实施例还包括有二叶片套150,分别套设于二风扇120上,以辅助更多的气流进入风扇120内,大幅提高风扇120的吹送效能。本实用新型所揭露的叶片套150以插件型态自风扇120上装卸,因此使用者可依据实际的散热需求而选择性的套设于风扇120上。
本实用新型所揭露的风扇模块通过可弹性变形的导风件的设置,而可达到控制二风扇朝向特定方向进行气流吹送的功效,使得本实用新型的风扇模块所产生的气流可经由出风口而沿着直线方向或是与壳体呈一角度的方向进行吹送,进而扩大风扇模块的散热范围及提高散热效率,并且无须于计算机装置内部配置多个风扇组以对各零组件区域进行散热,达到大幅降低制造成本,缩减计算机装置内部的空间,实现电子装置小型化的目的。
另外,本实用新型的风扇模块亦可通过温度传感器与微处理器的控制,根据实际的环境温度而选择令一个风扇或是二个以上的风扇执行运转,以达到最佳的散热效果,同时兼顾节能环保的目的。
当然,本实用新型还可有其它多种实施例,在不背离本实用新型精神及其实质的情况下,熟悉本领域的技术人员当可根据本实用新型作出各种相应的改变和变形,但这些相应的改变和变形都应属于本实用新型所附的权利要求的保护范围。
Claims (10)
1.一种风扇模块,其特征在于,包括有:
一壳体,内部具有一容置空间,且该壳体设有至少一出风口与至少一入风口;
至少二风扇,设置于该壳体内并且对应该入风口位置,该二风扇自该入风口抽取空气并分别产生一气流至该出风口;以及
一导风件,活动设置于该出风口位置,该导风件能够相对该壳体位移并选择性的缩入该壳体或是伸出于该壳体;
其中,当该导风件缩入该壳体,该二风扇产生的该气流经由该出风口沿着一第一方向吹送;当该导风件伸出于该壳体,该二风扇产生的该气流由该导风件的导引而分别沿着该第一方向与一第二方向吹送。
2.根据权利要求1所述的风扇模块,其特征在于,该壳体具有二该入风口,该二风扇分别对应于该二入风口分别设置。
3.根据权利要求1所述的风扇模块,其特征在于,该壳体对应该出风口位置具有一沟槽,该导风件插置于该沟槽内,且该沟槽还具有一第一定位槽及一第二定位槽,该导风件具有一定位凸点,为选择性的嵌设于该第一定位槽或该第二定位槽内,以令该导风件对应固设于该沟槽内或是伸出于该沟槽外。
4.根据权利要求1所述的风扇模块,其特征在于,该导风件还具有一弯折段,当该导风件伸出于该壳体,该弯折段随着该导风件伸出于该壳体,并令该二风扇的该气流沿着该第二方向吹送。
5.根据权利要求1所述的风扇模块,其特征在于,还包括有二叶片套,分别套设于该二风扇上。
6.一种风扇模块,其特征在于,包括有:
一壳体,内部具有一容置空间,且该壳体设有至少一出风口与至少一入风口;
至少二风扇,设置于该壳体内并且对应该入风口位置,该二风扇自该入风口抽取空气并分别产生一气流至该出风口;以及
二导风件,活动设置于该出风口位置,该二导风件能够相对该壳体位移并选择性的缩入该壳体或是伸出于该壳体,且该二导风件朝向二相反方向伸出于该壳体;
其中,当该二导风件缩入该壳体,该二风扇产生的该气流经由该出风口沿着一第一方向吹送;当其中一该导风件伸出于该壳体,该二风扇产生的该气流由伸出的该导风件的导引而分别沿着该第一方向与一第二方向吹送;当该二导风件伸出于该壳体,该二风扇产生的该气流由该二导风件的导引而分别沿着该第二方向与一第三方向吹送。
7.根据权利要求6所述的风扇模块,其特征在于,该壳体具有二该入风口,该二风扇分别对应于该二入风口分别设置。
8.根据权利要求5所述的风扇模块,其特征在于,该壳体对应该出风口位置具有二沟槽,该二导风件分别插置于该二沟槽内,且各该沟槽还具有一第一定位槽及一第二定位槽,各该导风件具有一定位凸点,为选择性的嵌设于该第一定位槽或该第二定位槽内,以令该二导风件对应固设于该二沟槽内或是伸出于该二沟槽外。
9.根据权利要求6所述的风扇模块,其特征在于,该二导风件为一体成形结构,该壳体对应该出风口位置具有一沟槽,该二导风件插置于该沟槽内,且该沟槽还具有二第一定位槽及二第二定位槽,各该导风件具有一定位凸点,为选择性的嵌设于该二第一定位槽或该二第二定位槽内,以令该二导风件对应固设于该沟槽内或是伸出于该沟槽外。
10.根据权利要求6所述的风扇模块,其特征在于,该二导风件还分别具有一弯折段,当其中一该导风件伸出于该壳体,其中一该弯折段随着伸出的该导风件而伸出于该壳体,并令该风扇的该气流沿着该第二方向吹送;当该二导风件伸出于该壳体,该二弯折段随着该二导风件而伸出于该壳体,并令该二风扇的该气流分别沿着该第二方向及该第三方向吹送。
Priority Applications (1)
| Application Number | Priority Date | Filing Date | Title |
|---|---|---|---|
| CN2009201620608U CN201475004U (zh) | 2009-06-30 | 2009-06-30 | 风扇模块 |
Applications Claiming Priority (1)
| Application Number | Priority Date | Filing Date | Title |
|---|---|---|---|
| CN2009201620608U CN201475004U (zh) | 2009-06-30 | 2009-06-30 | 风扇模块 |
Publications (1)
| Publication Number | Publication Date |
|---|---|
| CN201475004U true CN201475004U (zh) | 2010-05-19 |
Family
ID=42411250
Family Applications (1)
| Application Number | Title | Priority Date | Filing Date |
|---|---|---|---|
| CN2009201620608U Expired - Lifetime CN201475004U (zh) | 2009-06-30 | 2009-06-30 | 风扇模块 |
Country Status (1)
| Country | Link |
|---|---|
| CN (1) | CN201475004U (zh) |
Cited By (2)
| Publication number | Priority date | Publication date | Assignee | Title |
|---|---|---|---|---|
| CN102852859A (zh) * | 2011-06-29 | 2013-01-02 | 建准电机工业股份有限公司 | 并联式水平对流扇 |
| CN104216860A (zh) * | 2013-05-30 | 2014-12-17 | 宁夏新航信息科技有限公司 | 一种智能化网络计算机系统 |
-
2009
- 2009-06-30 CN CN2009201620608U patent/CN201475004U/zh not_active Expired - Lifetime
Cited By (2)
| Publication number | Priority date | Publication date | Assignee | Title |
|---|---|---|---|---|
| CN102852859A (zh) * | 2011-06-29 | 2013-01-02 | 建准电机工业股份有限公司 | 并联式水平对流扇 |
| CN104216860A (zh) * | 2013-05-30 | 2014-12-17 | 宁夏新航信息科技有限公司 | 一种智能化网络计算机系统 |
Similar Documents
| Publication | Publication Date | Title |
|---|---|---|
| CN102548358B (zh) | 电子装置 | |
| CN101959390B (zh) | 组合式导风罩 | |
| CN201336015Y (zh) | 导风装置 | |
| CN202335195U (zh) | 具有散热结构的电子装置 | |
| CN102022362A (zh) | 散热风扇模组 | |
| US8164900B2 (en) | Enclosure of electronic device | |
| CN103167785A (zh) | 扩充座 | |
| US7929302B2 (en) | Cooling device | |
| CN102566712A (zh) | 电脑机箱散热系统 | |
| CN104780735A (zh) | 具有散热功能的电子装置及其组装方法 | |
| US20090201639A1 (en) | Chassis of portable electronic apparatus | |
| CN102759962A (zh) | 具有导风罩的电脑壳体 | |
| US20080285234A1 (en) | Thermal module and electronic apparatus using the same | |
| CN201475004U (zh) | 风扇模块 | |
| TW201247091A (en) | Heat dissipation device and heat dissipation system using same | |
| CN201440781U (zh) | 散热模块及其气流导引件 | |
| CN102375514A (zh) | 电子装置 | |
| CN2304151Y (zh) | 笔记本型电脑外接隐藏式散热装置 | |
| CN102023690A (zh) | 电子设备 | |
| CN2491883Y (zh) | 散热装置 | |
| CN201527617U (zh) | 类内存的挡风板 | |
| CN201041655Y (zh) | 电脑 | |
| CN101907912B (zh) | 电子设备 | |
| CN201654666U (zh) | 终端及其散热模组、散热器 | |
| CN212905990U (zh) | 一种新型工业用集成控制装置 |
Legal Events
| Date | Code | Title | Description |
|---|---|---|---|
| C14 | Grant of patent or utility model | ||
| GR01 | Patent grant | ||
| CX01 | Expiry of patent term | ||
| CX01 | Expiry of patent term |
Granted publication date: 20100519 |