CN201460560U - 具有自动动作机构的连杆 - Google Patents

具有自动动作机构的连杆 Download PDF

Info

Publication number
CN201460560U
CN201460560U CN2009201334080U CN200920133408U CN201460560U CN 201460560 U CN201460560 U CN 201460560U CN 2009201334080 U CN2009201334080 U CN 2009201334080U CN 200920133408 U CN200920133408 U CN 200920133408U CN 201460560 U CN201460560 U CN 201460560U
Authority
CN
China
Prior art keywords
connector
arm
fan connector
connecting rod
pulley
Prior art date
Legal status (The legal status is an assumption and is not a legal conclusion. Google has not performed a legal analysis and makes no representation as to the accuracy of the status listed.)
Expired - Lifetime
Application number
CN2009201334080U
Other languages
English (en)
Inventor
白宝鲲
Current Assignee (The listed assignees may be inaccurate. Google has not performed a legal analysis and makes no representation or warranty as to the accuracy of the list.)
Guangdong Kinlong Hardware Products Co Ltd
Original Assignee
Guangdong Kinlong Hardware Products Co Ltd
Priority date (The priority date is an assumption and is not a legal conclusion. Google has not performed a legal analysis and makes no representation as to the accuracy of the date listed.)
Filing date
Publication date
Application filed by Guangdong Kinlong Hardware Products Co Ltd filed Critical Guangdong Kinlong Hardware Products Co Ltd
Priority to CN2009201334080U priority Critical patent/CN201460560U/zh
Application granted granted Critical
Publication of CN201460560U publication Critical patent/CN201460560U/zh
Anticipated expiration legal-status Critical
Expired - Lifetime legal-status Critical Current

Links

Images

Landscapes

  • Hinges (AREA)

Abstract

一种具有自动动作机构的连杆,包括连接于窗框的框连接件、连接于窗扇的扇连接件以及一端铰接于该框连接件而另一端铰接于该扇连接件的臂,该扇连接件和该框连接件中至少一个上装有弹簧,该弹簧一端固定在该臂上,另一端部匹配地抵住该扇连接件和/或该框连接件;当该框连接件、该扇连接件和该臂位于窗的关闭状态的位置,该弹簧受力变形。本实用新型利用弹簧受压变形,具有自动复位功能,提供自动动作的作用力,既可实现窗扇的自动平开,又可以在推拉开启时使整个窗扇自动弹出,有利于实现窗的推拉。

Description

具有自动动作机构的连杆
技术领域
本实用新型涉及一种窗的零部件,尤其涉及一种安装于窗或翼扇上的连杆装置。
背景技术
窗是建筑物上最为常见的一种翼扇结构,通常是作为建筑物的通风采光口。随着现代建筑技术的发展和使用者要求的提高,人们对窗的结构不断地进行改善。
现有的窗的开启方式包括:平开、推拉、上悬或下悬等。为了实现窗在使用过程中的灵活方便,业界设计出具有两种开启方式的窗,例如,同时具有平开和推拉的两种开启方式的双开式窗,如图1至图3所示。
连杆是现有的窗的常用部件,连接装设在窗扇和窗框之间,在窗扇的启闭过程中的完成转动及平移的动作。但是,现有的连杆的转轴通常采用简单的铆钉或螺钉结构,动作滞涩而不顺畅,从而导致窗或其它翼扇结构的开启动作的不畅。
综上所述,现有的窗的连杆装置,存在缺失之处,有必要加以改善。
发明内容
有鉴于此,有必要针对现有技术中开启动作不顺畅的缺陷,提供一种具有自动动作机构以实现顺畅的开启动作的连杆装置。
为了实现上述的目的,本实用新型的技术方案如下:
本实用新型提供一种具有自动动作机构的连杆,包括连接于窗框的框连接件、连接于窗扇的扇连接件以及一端铰接于该框连接件而另一端铰接于该扇连接件的臂,该扇连接件和该框连接件中至少一个上装有弹簧,该弹簧一端固定在该臂上,另一端部匹配地抵住该扇连接件和/或该框连接件;当该框连接件、该扇连接件和该臂位于窗的关闭状态的位置,该弹簧受力变形。
优选地,该扇连接件或该框连接件上正对匹配于铰接位置设有一套筒,该弹簧为扭簧,该扭簧套装在该套筒上,该扭簧一端固定在该臂上,另一端部抵住该扇连接件或该框连接件。
优选地,该臂与该框连接件、该扇连接件的铰接处至少有一个设置有轴承。
优选地,该框连接件为滑轮组,包括滑轮架、多个滑轮轴和多个滑轮;该多个滑轮轴架设在该滑轮架中,该滑轮可转动地套装在该滑轮轴上;该滑轮架中在该滑轮之间的留有足够的空隙安装有轴承,该滑轮架、该铰接轴通过该轴承形成铰接连接,该铰接轴与该臂连接。
优选地,该框连接件为滑块。
优选地,该扇连接件上设有套装孔,该臂上匹配地设有具有内螺纹的螺接孔;该臂的另一端与该扇连接件的铰接是由可调铰接轴实现的,该可调铰接轴依序包括具有外螺纹的螺接部、外径最大且形成支承平台的托台部、匹配于该扇连接件的套装孔的套接部以及匹配于该轴承的轴承连接部,该可调铰接轴的螺接部螺接于该臂的螺接孔中,该套装部插装在该扇连接件的套装孔中而该托台部顶住该扇连接件,该轴承插装在该扇连接件的套装孔中并套装于该轴承连接部.
优选地,该可调铰接轴上还设有轴向延伸的调节销孔。
优选地,该扇连接件上设有定位块,该臂上匹配正对于该定位块设有定位棒,该定位棒对应于该扇连接件的转动的极限位置,该扇连接件转动到极限位置,该定位棒与该定位块正对抵接,限制该扇连接件不能再转动。
优选地,该扇连接件上设有紧定孔供紧定螺钉螺接插装并进而将该扇连接件固定在窗扇上;该扇连接件上还设有匹配于窗扇的安装凸台。
优选地,该臂为承重的支承臂或不承重的连接臂。
由于采用上述的结构,本实用新型的有益效果如下:
1、本实用新型利用弹簧受压变形产生预作用力,具有自动复位功能,提供自动动作的工作力,既可实现窗扇的自动平开,又可以在推拉开启时使整个窗扇自动弹出,有利于实现窗的推拉。
2、可配合其它的零部件,来实现窗的开启和关闭,特别是应用于具有多种开启方式的窗,例如平开、推拉两用窗,对应于不同开启方式所需的或大或小角度的转动动作,都可实现得极为顺畅,噪声极低,操作者可便利的实施窗的多种方式的开启。
3、因为弹簧自动动作的设计和转动动作得到极为顺畅的实现,本实用新型的连杆装置应用于平开、推拉双开启方式窗,比现有的平开、推拉两用窗结构更为节能。
4、采用滑轮的设计,使滑动更顺畅,有利于启闭动作的顺畅。
5、调节销孔的设计,可改变可调铰接轴与支撑臂的螺接位置,即改变定位座和支撑臂之间的间距,也就是可以调整窗框和窗扇的相对位置,补偿材料偏差和安装偏差,安装使用方便。
附图说明
下面结合附图,通过对本实用新型的较佳实施例的详细描述,将使本实用新型的技术方案及其他有益效果显而易见。
附图中,
图1为平开、推拉两用窗的关闭状态的示意图;
图2为平开、推拉两用窗的平开开启状态的示意图;
图3为平开、推拉两用窗的推拉开启状态的示意图;
图4为本实用新型的实施例1的连杆的立体图;
图5为本实用新型的实施例1的连杆的另一角度的立体图;
图6为本实用新型的实施例1的连杆的再一角度的立体图;
图7为本实用新型的实施例1的连杆的立体分解图;
图8为本实用新型的实施例1的连杆的主视图;
图9为本实用新型的实施例1的连杆的俯视图;
图10为本实用新型的实施例1的连杆的剖面示意图;
图11为本实用新型的实施例2的连杆的立体图;
图12为本实用新型的实施例3的连杆的立体图;
图13为本实用新型的实施例4的连杆的立体图。
附图中,
1  滑轮组
11  滑轮架    12  滑轮轴    13  滑轮
1′  滑块
2  支撑臂
21  连接孔    22  螺接孔    23  安装孔    24  安装孔
2′  连接臂
3  定位座
31  套筒    32  套装孔    33  定位块    34  紧定孔    35  紧定螺钉
4  铰接轴
5  可调铰接轴
51  螺接部    52  托台部    53  套接部    54  轴承连接部    55  调节销孔
6  定位棒
7  阻簧棒
8  弹簧
9  轴承
具体实施方式
为更进一步阐述本实用新型为达成预定目的所采取的技术手段及功效,请参阅以下有关本实用新型的详细说明与附图,相信本实用新型的目的、特征与特点,应当可以由此得到深入且具体的了解,然而附图和实施方式仅提供参考与说明用,并非用来对本实用新型加以限制。
图1至图3示出了一种常见的平开、推拉两用窗,以平开和推拉两种方式实现开启。窗的配件可以选用以下各实施方式中的拉杆或多个拉杆的组合,配合其它配件来完成窗的启闭动作
本实用新型所述的上、下、左、右、顶、底是相对于附图中的图1至图4、图7、图8和图11至图13的图面而言,并不因此限制本实用新型的保护范围。
[实施例1]
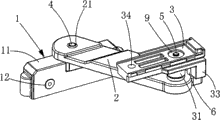
如图4至图10所示,本实施例的连杆装置可以安装在窗扇的右下角处,作为右下连杆,包括滑轮组1、支撑臂2、定位座3、铰接轴4、可调铰接轴5、定位棒6、阻簧棒7、弹簧8和轴承9。图4中为了示出定位座3的结构,图4中连杆装置尚未安装(及示出)弹簧8,图5至图10则安装(即示出了)弹簧8。
滑轮组1包括滑轮架11、多个滑轮轴12和多个滑轮13;滑轮架11为一开口向下的空腔壳体,多个(图中示出的是两个)滑轮轴12连接架设在滑轮架11的前端壁和后端壁之间,滑轮13可转动地套装在滑轮轴12上;滑轮架11的顶壁设有安装孔(图中并未示出)供铰接轴4插装;滑轮架11的空腔中在滑轮13之间的留有足够的空隙来安装有轴承9,滑轮架11与轴承9的外环连接;
定位座3为一匹配于窗扇的长条体结构,定位座3的底端面靠近右端处设有一向下延伸的套筒31供弹簧8套装,定位座3上正对套筒31设有上下贯穿定位座3(包括套筒31)的套装孔32供可调铰接轴5及轴承9插装,定位座3的底端面的右端部向下延伸设有一定位块33,定位座3上靠近左端处设有紧定孔34供紧定螺钉35螺接插装并进而将定位座3固定在窗扇上;定位座3的顶端面的右端还设有安装凸台;
下连杆(右下连杆和/或左下连杆)需要对窗扇起支撑和承重的作用,因此,支撑臂2为具有较大厚度(根据实际需要设计尺寸)的长条体结构;支撑臂2的一端设有通孔即连接孔21,另一端设有螺接孔22,螺接孔22的内壁设有螺纹,螺接孔22的两侧分别设有安装孔23和安装孔24;
支撑臂2的一端与滑轮架11铰接,铰接是由铰接轴4实现的,铰接轴4的一端从滑轮架11的顶端的安装孔中插入至滑轮架11的空腔中并与轴承9的内环连接,铰接轴4的另一端插装于支撑臂2的连接孔21;
支撑臂2的另一端与定位座3铰接,铰接是由可调铰接轴5实现的;可调铰接轴5从底至顶包括具有外螺纹的螺接部51、外径最大且形成支承平台的托台部52、匹配于定位座3的套装孔32的套接部53以及匹配于轴承9的内环的轴承连接部54,而形成一多阶轴体,可调铰接轴5的底端面还设有轴向延伸的调节销孔55(参见图10);可调铰接轴5的螺接部51螺接于支撑臂2的螺接孔22中,套装部53插装在定位座3的套装孔32中而托台部52顶住套筒31,轴承9插装在套装孔32中并套装于轴承连接部54,即轴承9的外环连接于定位座3而内环连接于可调铰接轴5;
定位棒6插装在支承臂2的安装孔23中,安装孔23对应于定位座3的转动的极限位置,即定位座3转动到指定的极限位置,定位棒6与定位座3的定位块33正对抵接,限制定位座3不能再向该方向转动;
弹簧8为扭簧,弹簧8套装在定位座3的套筒31的外围(在支撑臂2、定位座3和可调铰接轴5完成安装前套装在套筒31上),弹簧8一端弯折成钩状,阻簧棒7插装在支撑臂2的安装孔24中并插装在弹簧8的钩状端部中而将弹簧8定位于支承臂2,弹簧8的另一端部抵住定位座3的定位块33;当滑轮组1、定位座3和支撑臂2位于窗的关闭状态的位置(通常三个构件排列在一条直线上),弹簧8受压变形,即施以预作用力而产生自动动作的工作力。
滑轮组1作为框连接件可滑动地连接于窗框,滑轮的设计使拉杆装置相对于窗框的滑动更顺畅,有利于启闭动作的顺畅;定位座3作为扇连接件固接于窗扇(在合适的情况下相对于窗框和窗扇的安装位置也可以反过来);支撑臂2分别以铰接的方式连接于滑轮组1和定位座3,而两个铰接转动点均设有轴承9,当窗扇在实施启闭动作,即拉杆装置中的支撑臂2相对于滑轮组1和定位座3实施枢转动作时,由于由轴承完成转动而极为顺畅且噪声极低,对应于不同开启方式所需的或大或小角度的转动动作,都可实现得极为顺畅而不阻涩,也就是操作者可便利的实施窗的多种方式的启闭,包括但不限于应用于平开、推拉两用窗。
弹簧的应用及预先受压变形,具有自动复位功能,产生自动动作的作用力,既可实现窗扇的自动平开,又可以在推拉开启时使整个窗扇自动弹出,有利于实现窗的推拉。
因为转动动作得到极为顺畅的实现及弹簧自动动作的辅助,本实用新型的连杆装置应用于平开、推拉双开启方式窗,比现有的平开、推拉两用窗结构更为节能.
当然,本实用新型的拉杆装置应用于单开启方式的窗结构也具有极佳的效果。
另外,利用工具插入可调铰接轴5的调节销孔55并转动可调铰接轴5,改变可调铰接轴5与支撑臂2的螺接位置,即改变定位座3和支撑臂2之间的间距,也就是可以调整窗框和窗扇的相对位置,补偿材料偏差和安装偏差,安装使用方便。
本实施例中,弹簧8装设在支撑臂2和定位座3之间,提供自动动作的作用力,同理,弹簧8也可装设在支撑臂2和滑轮组或滑块等其它框连接件之间,提供自动动作的作用力。
[实施例2]
如图11所示,本实施例的连杆装置可以安装在窗扇的左下角处,作为左下连杆,图11中为了示出定位座3的结构,尚未安装(及示出)弹簧8。本实施例的左下连杆的结构和工作原理与实施例1中的右上连杆基本相同,不同之处仅在于,为了配合安装,定位座3的结构略有变化,定位座3较实施例1的定位座长,紧定孔34位于定位座3的中部位置,安装凸台则位于定位座3的左端部。
[实施例3]
如图12所示,本实施例的连杆装置可以安装在窗扇的右上角处,作为右上连杆。本实施例的右上连杆的结构和工作原理与实施例1中的右下连杆基本相同,不同之处仅在于,滑轮组换成了滑块1′,嵌装在窗框中,依然相对于窗框滑动;另外,支撑臂2换成了较薄的连接臂2′,因为上连杆一般不需要承重。
[实施例4]
如图13所示,本实施例的连杆装置可以安装在窗扇的左上角处,作为左上连杆,图13中为了示出定位座3的结构,尚未安装(及示出)弹簧8。本实施例的左上连杆的结构和工作原理与实施例3中的右上连杆基本相同,不同之处仅在于,为了配合安装,定位座3的结构略有变化,定位座3较实施例3的定位座长,紧定孔34位于定位座3的中部位置,安装凸台则位于定位座3的左端部。
本实用新型的拉杆装置也可用于门或者其它适合的翼扇装置。
由技术常识可知,本实用新型可以通过其它的不脱离其精神实质或必要特征的实施方案来实现。因此,上述公开的实施方案,就各方面而言,都只是举例说明,并不是仅有的。所有在本实用新型范围内或在等同于本实用新型的范围内的改变均被本实用新型包含。

Claims (10)

1.一种具有自动动作机构的连杆,包括连接于窗框的框连接件、连接于窗扇的扇连接件以及一端铰接于该框连接件而另一端铰接于该扇连接件的臂,其特征在于,该扇连接件和该框连接件中至少一个上装有弹簧,该弹簧一端固定在该臂上,另一端部匹配地抵住该扇连接件和/或该框连接件;当该框连接件、该扇连接件和该臂位于窗的关闭状态的位置,该弹簧受力变形。
2.根据权利要求1所述的具有自动动作机构的连杆,其特征在于,该扇连接件或该框连接件上正对匹配于铰接位置设有一套筒,该弹簧为扭簧,该扭簧套装在该套筒上,该扭簧一端固定在该臂上,另一端部抵住该扇连接件或该框连接件。
3.根据权利要求1或2所述的具有自动动作机构的连杆,其特征在于,该臂与该框连接件、该扇连接件的铰接处至少有一个设置有轴承。
4.根据权利要求3所述的具有自动动作机构的连杆,其特征在于,该框连接件为滑轮组,包括滑轮架、多个滑轮轴和多个滑轮;该多个滑轮轴架设在该滑轮架中,该滑轮可转动地套装在该滑轮轴上;该滑轮架中在该滑轮之间的留有足够的空隙安装有轴承,该滑轮架、该铰接轴通过该轴承形成铰接连接,该铰接轴与该臂连接。
5.根据权利要求3所述的具有自动动作机构的连杆,其特征在于,该框连接件为滑块。
6.根据权利要求3所述的具有自动动作机构的连杆,其特征在于,该扇连接件上设有套装孔,该臂上匹配地设有具有内螺纹的螺接孔;该臂的另一端与该扇连接件的铰接是由可调铰接轴实现的,该可调铰接轴依序包括具有外螺纹的螺接部、外径最大且形成支承平台的托台部、匹配于该扇连接件的套装孔的套接部以及匹配于该轴承的轴承连接部,该可调铰接轴的螺接部螺接于该臂的螺接孔中,该套装部插装在该扇连接件的套装孔中而该托台部顶住该扇连接件,该轴承插装在该扇连接件的套装孔中并套装于该轴承连接部。
7.根据权利要求6所述的具有自动动作机构的连杆,其特征在于,该可调铰接轴上还设有轴向延伸的调节销孔。
8.根据权利要求3所述的具有自动动作机构的连杆,其特征在于,该扇连接件上设有定位块,该臂上匹配正对于该定位块设有定位棒,该定位棒对应于该扇连接件的转动的极限位置,该扇连接件转动到极限位置,该定位棒与该定位块正对抵接,限制该扇连接件不能再转动。
9.根据权利要求3所述的具有自动动作机构的连杆,其特征在于,该扇连接件上设有紧定孔供紧定螺钉螺接插装并进而将该扇连接件固定在窗扇上;该扇连接件上还设有匹配于窗扇的安装凸台。
10.根据权利要求3所述的具有自动动作机构的连杆,其特征在于,该臂为承重的支承臂或不承重的连接臂。
CN2009201334080U 2009-06-30 2009-06-30 具有自动动作机构的连杆 Expired - Lifetime CN201460560U (zh)

Priority Applications (1)

Application Number Priority Date Filing Date Title
CN2009201334080U CN201460560U (zh) 2009-06-30 2009-06-30 具有自动动作机构的连杆

Applications Claiming Priority (1)

Application Number Priority Date Filing Date Title
CN2009201334080U CN201460560U (zh) 2009-06-30 2009-06-30 具有自动动作机构的连杆

Publications (1)

Publication Number Publication Date
CN201460560U true CN201460560U (zh) 2010-05-12

Family

ID=42387914

Family Applications (1)

Application Number Title Priority Date Filing Date
CN2009201334080U Expired - Lifetime CN201460560U (zh) 2009-06-30 2009-06-30 具有自动动作机构的连杆

Country Status (1)

Country Link
CN (1) CN201460560U (zh)

Cited By (6)

* Cited by examiner, † Cited by third party
Publication number Priority date Publication date Assignee Title
CN103527041A (zh) * 2013-10-25 2014-01-22 王兴泉 推拉门窗
CN109296278A (zh) * 2018-12-04 2019-02-01 叶建国 一种悬浮平开飘移窗用五金系统
WO2020119035A1 (zh) * 2018-12-14 2020-06-18 福建西河卫浴科技有限公司 一种滑轮组件
CN112431494A (zh) * 2021-01-13 2021-03-02 王小康 一种移动承载件的固定结构
CN114109169A (zh) * 2021-08-19 2022-03-01 温州市安硕五金有限公司 滑动窗的窗扇上定位铰链机构
TWI772895B (zh) * 2018-07-05 2022-08-01 日商文化捲門股份有限公司 建材之連結構件及其連結構造

Cited By (8)

* Cited by examiner, † Cited by third party
Publication number Priority date Publication date Assignee Title
CN103527041A (zh) * 2013-10-25 2014-01-22 王兴泉 推拉门窗
CN103527041B (zh) * 2013-10-25 2015-09-30 王兴泉 推拉门窗
TWI772895B (zh) * 2018-07-05 2022-08-01 日商文化捲門股份有限公司 建材之連結構件及其連結構造
CN109296278A (zh) * 2018-12-04 2019-02-01 叶建国 一种悬浮平开飘移窗用五金系统
WO2020119035A1 (zh) * 2018-12-14 2020-06-18 福建西河卫浴科技有限公司 一种滑轮组件
CN112431494A (zh) * 2021-01-13 2021-03-02 王小康 一种移动承载件的固定结构
CN114109169A (zh) * 2021-08-19 2022-03-01 温州市安硕五金有限公司 滑动窗的窗扇上定位铰链机构
CN114109169B (zh) * 2021-08-19 2023-02-10 温州市安硕五金有限公司 滑动窗的窗扇上定位铰链机构

Similar Documents

Publication Publication Date Title
CN201460560U (zh) 具有自动动作机构的连杆
CN102317141B (zh) 调节设备
US11384555B2 (en) System, method and apparatus for opening a spa hard cover
CN102056790A (zh) 挡风玻璃安装装置及使用方法
WO2010082227A4 (en) Louvered roller shutter
US20110099754A1 (en) Gate hinge assembly
CN201460561U (zh) 具有轴承枢接机构的连杆
DE4115054C2 (de) Einrichtung zur Belüftung von Fenster oder Türen mit beweglichem Flügel aufweisenden Räumen in Gebäuden
CN201170011Y (zh) 松紧式合页
US9650806B2 (en) Door handle assembly for a motor vehicle
JP3730746B2 (ja) 蝶番
CN214461675U (zh) 一种吊顶顶部安装结构
US8296998B2 (en) Powered actuator
CN219587405U (zh) 一种稳定型铰链
CN219638639U (zh) 一种折叠门窗合页
CN212898058U (zh) 枢轴偏置式转动门
CN2462052Y (zh) 合叶
CN220203662U (zh) 一种便于调节角度的铝合金门窗
CN220415110U (zh) 一种铰链
JP4828346B2 (ja) 左右兼用ピボットヒンジ
CN218759388U (zh) 折叠门的地轴座
CN218843454U (zh) 一种预装式的节能幕墙
CN202850714U (zh) 双开式关门器总成
CN212264639U (zh) 一种金属件加工钻孔装置
JPH0633177Y2 (ja) 羽根蝶番

Legal Events

Date Code Title Description
C14 Grant of patent or utility model
GR01 Patent grant
C56 Change in the name or address of the patentee

Owner name: GUANGDONG KINLONG HARDWARE PRODUCTS STOCK CO., LTD

Free format text: FORMER NAME: GUANGDONG KINLONG HARDWARE PRODUCTS CO., LTD.

Owner name: GUANGDONG KINLONG HARDWARE PRODUCTS CO., LTD.

Free format text: FORMER NAME: DONGGUAN KIN LONG HARDWARE PRODUCTS CO., LTD.

CP01 Change in the name or title of a patent holder

Address after: 523722, Lu 3, Daping Road, Daping village, Tangxia Town, Guangdong, Dongguan

Patentee after: GUANGDONG KIN LONG HARDWARE PRODUCTS Co.,Ltd.

Address before: 523722, Lu 3, Daping Road, Daping village, Tangxia Town, Guangdong, Dongguan

Patentee before: Guangdong Kin Long Hardware Products Co.,Ltd.

CP03 Change of name, title or address

Address after: 523722, Lu 3, Daping Road, Daping village, Tangxia Town, Guangdong, Dongguan

Patentee after: Guangdong Kin Long Hardware Products Co.,Ltd.

Address before: 528415 Daping Industrial Zone, Tangxia Town, Guangdong, Dongguan

Patentee before: Guangdong Kin Long Hardware Products Co.,Ltd.

CX01 Expiry of patent term

Granted publication date: 20100512

CX01 Expiry of patent term