CN201459172U - A pneumatic ash conveying device for blast furnace gas bag dust removal - Google Patents
A pneumatic ash conveying device for blast furnace gas bag dust removal Download PDFInfo
- Publication number
- CN201459172U CN201459172U CN2009201282955U CN200920128295U CN201459172U CN 201459172 U CN201459172 U CN 201459172U CN 2009201282955 U CN2009201282955 U CN 2009201282955U CN 200920128295 U CN200920128295 U CN 200920128295U CN 201459172 U CN201459172 U CN 201459172U
- Authority
- CN
- China
- Prior art keywords
- ash conveying
- pipeline
- ash
- dust
- gas
- Prior art date
- Legal status (The legal status is an assumption and is not a legal conclusion. Google has not performed a legal analysis and makes no representation as to the accuracy of the status listed.)
- Expired - Fee Related
Links
- 239000000428 dust Substances 0.000 title abstract description 41
- 239000010881 fly ash Substances 0.000 claims 5
- 238000005243 fluidization Methods 0.000 claims 3
- 239000002956 ash Substances 0.000 claims 2
- 239000004744 fabric Substances 0.000 claims 2
- 239000007789 gas Substances 0.000 description 22
- IJGRMHOSHXDMSA-UHFFFAOYSA-N Atomic nitrogen Chemical compound N#N IJGRMHOSHXDMSA-UHFFFAOYSA-N 0.000 description 3
- 238000012423 maintenance Methods 0.000 description 3
- 239000000203 mixture Substances 0.000 description 3
- 238000000034 method Methods 0.000 description 2
- 229910052757 nitrogen Inorganic materials 0.000 description 2
- 239000003638 chemical reducing agent Substances 0.000 description 1
- 238000002309 gasification Methods 0.000 description 1
- 230000005484 gravity Effects 0.000 description 1
- 238000009434 installation Methods 0.000 description 1
Images
Landscapes
- Filtering Of Dispersed Particles In Gases (AREA)
Abstract
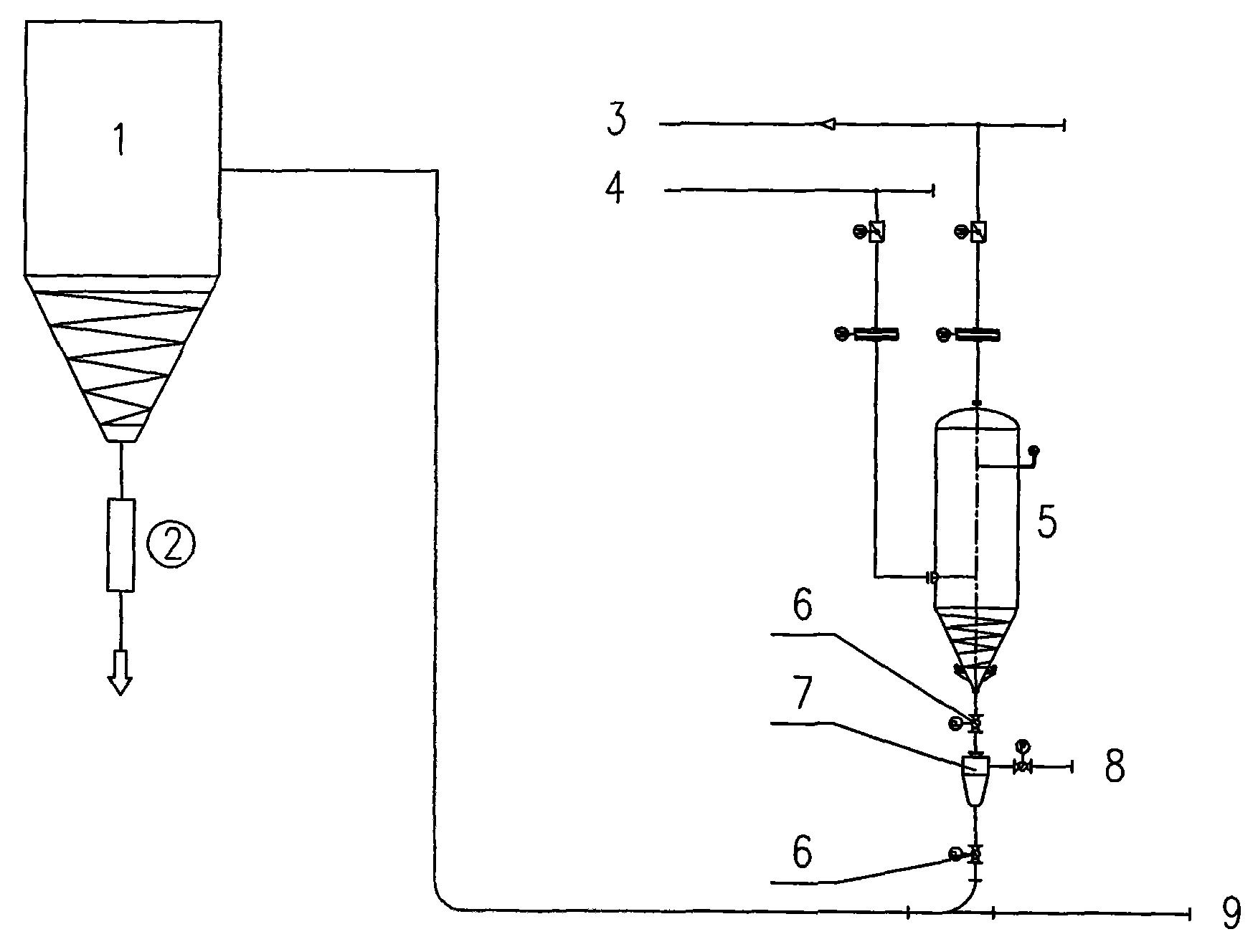
本实用新型涉及一种用于高炉煤气布袋除尘的气力输灰装置。它包括带有粗煤气管道(4)和净煤气管道(3)的除尘器(5),与除尘器(5)相连通的输灰气管(9),在除尘器(5)与输灰气管(9)连通的管路上设置的卸灰阀(6),其特征在于:在除尘器(5)与输灰气管(9)连通的管路上还设置有带流化气管(8)的流化器(7)。采用本实用新型,从除尘器排出的尘灰在流化器内被流化气管送入的气体均匀充气流化,从而实现稳压状态下输送,输灰管路上不会再出现堵塞。
The utility model relates to a pneumatic ash conveying device for blast furnace gas bag dust removal. It comprises a dust remover (5) with a rough gas pipeline (4) and a clean gas pipeline (3), an ash conveying gas pipe (9) connected with the dust remover (5), and a dust remover (5) and ash conveying gas pipe (9) The ash unloading valve (6) provided on the connected pipeline is characterized in that: a fluidized valve with a fluidized gas pipe (8) is also provided on the pipeline connected between the dust collector (5) and the ash conveying gas pipe (9). device (7). By adopting the utility model, the dust discharged from the dust collector is evenly inflated and fluidized by the gas sent in by the fluidizing gas pipe in the fluidizer, so that it can be transported under a stable pressure state, and the ash conveying pipeline will not be blocked again.
Description
技术领域technical field
本实用新型涉及一种用于高炉煤气布袋除尘的气力输灰装置。The utility model relates to a pneumatic ash conveying device for blast furnace gas bag dust removal.
背景技术Background technique
在现有高炉煤气布袋除尘的气力输灰装置中,参见图1,它通过利用除尘器内的压力及尘灰本身所受的重力把装置中除尘器内的灰送入输灰管路,通过钟形卸灰阀和异径管对卸灰进行给料及引流。由于尘灰和灰气混合物的性质不同,以及混合物在输灰管内流动和输送条件的变化,使得其流动形式比较复杂和多样化,输灰中时常发生堵管,堵塞位置一般是下灰的垂直管路上变径管之后的小管径处,发生堵塞后清堵方法是打开截止阀通入氮气,疏通堵管的灰,但这种方式往往不成功而依靠人工拆管手动排堵所替代,既影响输灰系统正常运行,又增加维护工作量,是气力输灰系统运行中的突出问题之一。In the existing pneumatic ash conveying device for blast furnace gas bag dust removal, see Figure 1, it sends the ash in the dust collector in the device into the ash conveying pipeline by utilizing the pressure in the dust remover and the gravity of the dust itself. The bell-shaped ash unloading valve and reducer pipe feed and drain the ash. Due to the different properties of the mixture of dust and ash gas, as well as the change of the flow and conveying conditions of the mixture in the ash conveying pipe, the flow form of the mixture is more complicated and diversified, and the pipe is often blocked during the ash conveying, and the blocked position is generally the vertical direction of the ash. At the small pipe diameter after the variable diameter pipe on the pipeline, the way to clear the blockage after the blockage occurs is to open the stop valve and let in nitrogen to clear the ash of the blocked pipe. However, this method is often unsuccessful and is replaced by manual removal of the pipe. It not only affects the normal operation of the ash conveying system, but also increases the maintenance workload, which is one of the outstanding problems in the operation of the pneumatic ash conveying system.
实用新型内容:Utility model content:
本实用新型针对现有高炉煤气布袋除尘气力输灰装置中常发生堵管的问题而提供一种使除尘器下来的尘灰能顺利输送而不发生堵塞的气力输灰装置。The utility model provides a pneumatic ash conveying device which can smoothly transport the dust from the dust collector without blockage, aiming at the problem of pipe blockage often occurring in the existing blast furnace gas bag dust removal pneumatic ash conveying device.
本实用新型的目的是这样实现的:一种用于高炉煤气布袋除尘的气力输灰装置,它包括带有粗煤气管道和净煤气管道的除尘器,与除尘器相连通的输灰气管,在除尘器与输灰气管连通的管路上设置的卸灰阀,其特征在于:在除尘器与输灰气管连通的管路上还设置有带流化气管的流化器。通过流化气管向流化器供气,对其中的尘灰进行流态化处理。The purpose of this utility model is achieved in this way: a pneumatic ash conveying device for bag dust removal of blast furnace gas, which includes a dust collector with a crude gas pipeline and a clean gas pipeline, and an ash conveying gas pipe connected with the dust collector. The ash unloading valve provided on the pipeline connecting the dust remover and the ash conveying pipe is characterized in that a fluidizer with a fluidizing air pipe is also arranged on the pipe connecting the dust remover and the ash conveying pipe. Air is supplied to the fluidizer through the fluidizing air pipe to fluidize the dust in it.
上述除尘器与输灰气管连通的管路上设置有两个卸灰阀,上述流化器设置在两个卸灰阀之间。Two ash discharge valves are arranged on the pipeline connecting the dust remover with the ash conveying gas pipe, and the fluidizer is arranged between the two ash discharge valves.
由于本实用新型增设对灰尘进行流态化处理的流化器,所以经除尘器排出的尘灰在流化器内被流化气管送入的气体均匀充气流化,从而实现尘灰在稳压状态下的输送,输灰气管不再出现堵塞。总之,本实用新型结构简单、安装方便、系统维护工作量小、维护费用低、可靠性高、可操作性好。Since the utility model adds a fluidizer for fluidizing the dust, the dust discharged from the dust collector is uniformly inflated and fluidized by the gas sent in by the fluidizing air pipe in the fluidizer, thereby realizing the stable pressure of the dust. Under the condition of transportation, the ash conveying air pipe will no longer be blocked. In a word, the utility model has the advantages of simple structure, convenient installation, small system maintenance workload, low maintenance cost, high reliability and good operability.
附图说明Description of drawings
图1是现有气力输灰装置结构示意图;Fig. 1 is the structural representation of existing pneumatic ash conveying device;
图2是本实用新型实施例的结构示意图。Fig. 2 is a schematic structural view of an embodiment of the utility model.
图中:1-灰罐;2-排灰装置;3-净煤气管道;4-粗煤气管道;5-除尘器;6-卸灰阀;7-流化器;8-流化气管;9-输灰气管;10-钟形卸灰阀;11-异径管;12-氮气。In the figure: 1-ash tank; 2-ash discharge device; 3-clean gas pipeline; 4-coarse gas pipeline; 5-dust collector; 6-ash discharge valve; 7-fluidizer; 8-fluidized gas pipe; 9 -Ash conveying air pipe; 10-bell-shaped ash unloading valve; 11-reducing pipe; 12-nitrogen.
具体实施方式Detailed ways
下面结合附图和实施例对本实用新型作进一步说明:Below in conjunction with accompanying drawing and embodiment the utility model is further described:
实施例:一种用于高炉煤气布袋除尘的气力输灰装置,它包括带有粗煤气管道4和净煤气管道3的除尘器5,与除尘器5相连通的输灰气管9,在除尘器5与输灰气管9连通的管路上设置的卸灰阀6,其特征在于:在除尘器5与输灰气管9连通的管路上还设置有带流化气管8的流化器7.通过流化气管8向流化器供气,对管路中的尘灰进行流态化处理.Embodiment: a kind of pneumatic ash conveying device that is used for bag dust removal of blast furnace gas, it comprises the
从图中还可以看出:除尘器5与输灰气管9连通的管路上设置有两个卸灰阀6,流化器7设置在两个卸灰阀6之间。It can also be seen from the figure that two
工作时,利用除尘器5内BFG自身的压力能进行卸灰,尘灰进入流化器7内,压缩气体通过流化气管8进入流化器7内使除尘器下来的尘灰能均匀充气流化,然后在来自输灰气管9的气体作用下实现稳压状态输送。When working, use the pressure of the BFG itself in the
Claims (2)
Priority Applications (1)
| Application Number | Priority Date | Filing Date | Title |
|---|---|---|---|
| CN2009201282955U CN201459172U (en) | 2009-08-03 | 2009-08-03 | A pneumatic ash conveying device for blast furnace gas bag dust removal |
Applications Claiming Priority (1)
| Application Number | Priority Date | Filing Date | Title |
|---|---|---|---|
| CN2009201282955U CN201459172U (en) | 2009-08-03 | 2009-08-03 | A pneumatic ash conveying device for blast furnace gas bag dust removal |
Publications (1)
| Publication Number | Publication Date |
|---|---|
| CN201459172U true CN201459172U (en) | 2010-05-12 |
Family
ID=42386526
Family Applications (1)
| Application Number | Title | Priority Date | Filing Date |
|---|---|---|---|
| CN2009201282955U Expired - Fee Related CN201459172U (en) | 2009-08-03 | 2009-08-03 | A pneumatic ash conveying device for blast furnace gas bag dust removal |
Country Status (1)
| Country | Link |
|---|---|
| CN (1) | CN201459172U (en) |
Cited By (3)
| Publication number | Priority date | Publication date | Assignee | Title |
|---|---|---|---|---|
| CN108394726A (en) * | 2018-04-27 | 2018-08-14 | 中冶京诚工程技术有限公司 | Method and system for carrying out fluidization ash conveying by using self-produced clean coal gas of dust remover |
| CN109161626A (en) * | 2018-11-13 | 2019-01-08 | 四川德胜集团钒钛有限公司 | A kind of dedusting of blast furnace gas ash-discharging device |
| CN119712045A (en) * | 2023-09-26 | 2025-03-28 | 中国石油天然气股份有限公司 | Method, device and related system for preventing clogging of shale in-situ heating hydrocarbon expulsion pipeline |
-
2009
- 2009-08-03 CN CN2009201282955U patent/CN201459172U/en not_active Expired - Fee Related
Cited By (3)
| Publication number | Priority date | Publication date | Assignee | Title |
|---|---|---|---|---|
| CN108394726A (en) * | 2018-04-27 | 2018-08-14 | 中冶京诚工程技术有限公司 | Method and system for carrying out fluidization ash conveying by using self-produced clean coal gas of dust remover |
| CN109161626A (en) * | 2018-11-13 | 2019-01-08 | 四川德胜集团钒钛有限公司 | A kind of dedusting of blast furnace gas ash-discharging device |
| CN119712045A (en) * | 2023-09-26 | 2025-03-28 | 中国石油天然气股份有限公司 | Method, device and related system for preventing clogging of shale in-situ heating hydrocarbon expulsion pipeline |
Similar Documents
| Publication | Publication Date | Title |
|---|---|---|
| CN110016530A (en) | A kind of blast furnace gas full dry purification system and its technological process | |
| CN203255744U (en) | Pneumatic dust conveying system with automatic anti-blocking function | |
| CN204417528U (en) | Blast furnace gas dry sack cleaner two point fluidisation ash-discharging device | |
| CN201225640Y (en) | Blowing apparatus of coal preparing system | |
| CN201459172U (en) | A pneumatic ash conveying device for blast furnace gas bag dust removal | |
| CN203959329U (en) | A kind of Pneumatic conveyer | |
| CN103333983A (en) | Converter primary flue gas dry dedusting and cinder pneumatic transmission system | |
| CN202765845U (en) | Pneumatic dust conveying device | |
| CN103333986B (en) | Converter coal gas dry dedusting and cinder pneumatic transmission system | |
| CN202807883U (en) | Dilute-phase pneumatic transmission system for fly ash materials | |
| CN209475792U (en) | Coal dust lock hopper pressure release filter device in pressurization of dry pulverized coal dense-phase transporting system | |
| CN103333985B (en) | Converter gas dry dedusting coarse ash pneumatic conveying system | |
| CN211997799U (en) | Pneumatic ash conveying device for dry dedusting box of blast furnace | |
| CN210162782U (en) | A system for conveying and transporting blast furnace slag using hot flue gas | |
| CN206310516U (en) | A kind of boiler slag remover with gasification installation | |
| CN202175433U (en) | Fluidized bed structure of gas delivery system | |
| CN107032002A (en) | A kind of ash-transmission system fluidizes pipe anti-block apparatus | |
| CN206032777U (en) | Spraying dust removal device and belt conveyor system of lower ore deposit funnel | |
| CN204057245U (en) | An automatic pneumatic ash conveying system | |
| CN201154853Y (en) | Sending pot of ash- conveying system | |
| CN202072297U (en) | Quantitative positive-pressure pneumatic ash-removing system | |
| CN101293598B (en) | Combined cone pump feed method and apparatus for pneumatic transmission | |
| CN208803107U (en) | A blast furnace gas dry dust removal and ash conveying system | |
| CN204473882U (en) | Spray-sucking type filtering system ash material conveying device | |
| CN205257490U (en) | Anti -blocking type negative pressure stone coal measures all |
Legal Events
| Date | Code | Title | Description |
|---|---|---|---|
| C14 | Grant of patent or utility model | ||
| GR01 | Patent grant | ||
| CF01 | Termination of patent right due to non-payment of annual fee |
Granted publication date: 20100512 Termination date: 20180803 |
|
| CF01 | Termination of patent right due to non-payment of annual fee |
