CN201425558Y - Porous soil in-situ solution extractor - Google Patents
Porous soil in-situ solution extractor Download PDFInfo
- Publication number
- CN201425558Y CN201425558Y CN2009201724414U CN200920172441U CN201425558Y CN 201425558 Y CN201425558 Y CN 201425558Y CN 2009201724414 U CN2009201724414 U CN 2009201724414U CN 200920172441 U CN200920172441 U CN 200920172441U CN 201425558 Y CN201425558 Y CN 201425558Y
- Authority
- CN
- China
- Prior art keywords
- tube body
- tube
- side wall
- syringe
- liquid suction
- Prior art date
- Legal status (The legal status is an assumption and is not a legal conclusion. Google has not performed a legal analysis and makes no representation as to the accuracy of the status listed.)
- Expired - Lifetime
Links
Images
Landscapes
- Sampling And Sample Adjustment (AREA)
Abstract
本实用新型公开了多孔式土壤原位溶液提取器,包括有管体、注射器,所述管体的顶端管口处设置有密封盖,管体底端管口处包封有过滤纱网,所述管体上端侧壁上有开孔,有吸液细管穿过管体侧壁上的开孔并插入管体内,所述吸液细管底端伸入管体底部,吸液细管顶部位于管体外,所述注射器的针头伸入吸液细管顶端管口内;所述管体下端的环形侧壁上开有若干渗滤孔,有过滤纱网包裹在管体上开有若干进水孔的环形侧壁上。本实用新型具有结构简单、造价低,经久耐用,取样方便快捷等特点,且能保证取样的准确度,操作简单、实用性强、维修方便,可广泛用于各种土壤淋溶水溶液的取样作业。
The utility model discloses a porous soil in-situ solution extractor, which comprises a tube body and a syringe. There is an opening on the side wall of the upper end of the tube body, and a thin liquid suction tube passes through the opening on the side wall of the tube body and is inserted into the tube body. The bottom end of the thin liquid suction tube extends into the bottom of the tube body, and the top of the thin liquid suction tube Located outside the tube, the needle of the syringe extends into the top nozzle of the thin suction tube; there are a number of percolation holes on the annular side wall at the lower end of the tube, and a number of water inlets are opened on the tube body wrapped in filter gauze. on the annular sidewall of the hole. The utility model has the characteristics of simple structure, low cost, durability, convenient and quick sampling, etc., and can ensure the accuracy of sampling, simple operation, strong practicability and convenient maintenance, and can be widely used in sampling operations of various soil leaching solutions .
Description
技术领域: Technical field:
本实用新型主要涉及一种溶液提取液,具体涉及一种多孔式土壤原位溶液提取器。The utility model mainly relates to a solution extracting solution, in particular to a porous soil in-situ solution extractor.
背景技术: Background technique:
现有的土壤溶液提取器多为进口,价格较高。一般使用脚踩式真空泵来抽取土壤溶液,每次取样携带不方便,而且成本较高,同时雨天这种脚踩式真空泵易于被弄脏。Existing soil solution extractors are mostly imported, and the price is relatively high. Generally, a foot-operated vacuum pump is used to extract soil solution. It is inconvenient to carry each sample, and the cost is high. At the same time, this foot-operated vacuum pump is easy to be dirty in rainy days.
实用新型内容: Utility model content:
本实用新型目的就是为了弥补已有技术的缺陷,提供一种多孔式土壤原位溶液提取器,它经济实用,能够满足大部分科研院所的需求,使取样更加方便。The purpose of the utility model is to make up for the defects of the prior art, and provide a porous soil in-situ solution extractor, which is economical and practical, can meet the needs of most scientific research institutes, and makes sampling more convenient.
本实用新型是通过以下技术方案实现的:The utility model is achieved through the following technical solutions:
多孔式土壤原位溶液提取器,其特征在于:包括有管体、注射器,所述管体的顶端管口处设置有密封盖,管体底端管口处包封有过滤纱网,所述管体上端侧壁上有开孔,有吸液细管穿过管体侧壁上的开孔并插入管体内,所述吸液细管底端伸入管体底部,吸液细管顶部位于管体外,所述注射器的针头伸入吸液细管顶端管口内;所述管体下端的环形侧壁上开有若干渗滤孔,有过滤纱网包裹在管体上开有若干进水孔的环形侧壁上。The porous soil in-situ solution extractor is characterized in that: it includes a tube body and a syringe, the top nozzle of the tube body is provided with a sealing cover, and the bottom nozzle of the tube body is sealed with a filter gauze. There is an opening on the side wall of the upper end of the tube body, and a thin liquid suction tube passes through the opening on the side wall of the tube body and is inserted into the tube body. Out of the tube body, the needle of the syringe extends into the nozzle at the top of the thin suction tube; a number of percolation holes are opened on the annular side wall at the lower end of the tube body, and a number of water inlet holes are opened on the tube body wrapped in filter gauze. on the ring side wall.
本实用新型底部的细孔构型以及纱网的包裹能使土壤中的淋溶水通过侧渗与底部渗入这两种途径进入管体,相比其它管体,收集水样更加方便快捷。最终收集到的土壤溶液用注射器来抽取。The pore configuration at the bottom of the utility model and the gauze wrapping can make the leaching water in the soil enter the pipe body through two ways of side infiltration and bottom infiltration. Compared with other pipe bodies, it is more convenient and quick to collect water samples. The finally collected soil solution was drawn with a syringe.
本实用新型中的管体采用PVC管材,它能够抗腐蚀,质轻,经久耐用且价格低廉,此外本实用新型抽取土壤溶液所使用的注射器相比真空泵,使用携带更加方便,而且成本更低。所述管体顶端设置的密封盖,一方面能防止雨水和杂物的进入管体内,保证取样的准确,另一方面此设计较不易损坏。所述管体末端与底土之间留出一定长度的管体,避免泥土堵塞纱网。管底与土体之间铺上起过滤作用的石英砂,这样淋溶水能够通过侧渗与管底两种途径渗入管体内。The pipe body in the utility model adopts PVC pipe material, which is corrosion-resistant, light in weight, durable and low in price. In addition, the syringe used for extracting the soil solution in the utility model is more convenient to use and carry than a vacuum pump, and the cost is lower. The sealing cover provided at the top of the tube body can prevent rainwater and sundries from entering the tube body on the one hand and ensure accurate sampling, and on the other hand, this design is less likely to be damaged. A certain length of the pipe body is reserved between the end of the pipe body and the subsoil to prevent the soil from clogging the gauze. Between the bottom of the pipe and the soil, silica sand for filtering is laid, so that the leaching water can penetrate into the pipe body through two ways: side seepage and bottom of the pipe.
本实用新型的优点是:The utility model has the advantages of:
本实用新型具有结构简单、造价低,经久耐用,取样方便快捷等特点,且能保证取样的准确度,操作简单、实用性强、维修方便,可广泛用于各种土壤淋溶水溶液的取样作业。The utility model has the characteristics of simple structure, low cost, durability, convenient and quick sampling, etc., and can ensure the accuracy of sampling, simple operation, strong practicability, and convenient maintenance, and can be widely used in sampling operations of various soil leaching solutions .
附图说明: Description of drawings:
附图为本实用新型的结构示意图。Accompanying drawing is the structural representation of the utility model.
具体实施方式: Detailed ways:
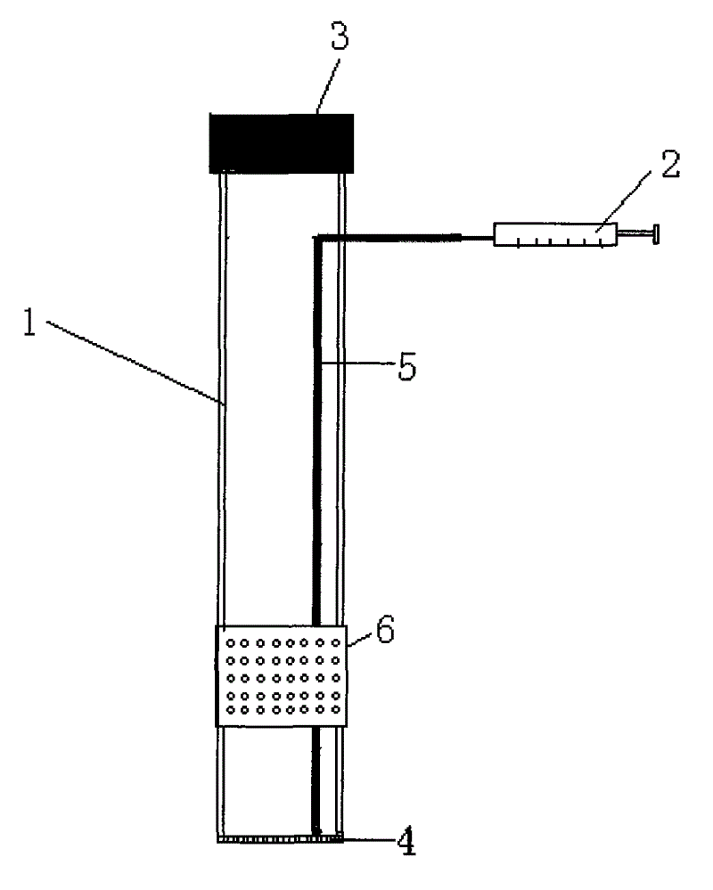
多孔式土壤原位溶液提取器,包括有管体1、注射器2,所述管体1的顶端管口处设置有密封盖3,管体1底端管口处包封有过滤纱网4,所述管体1上端侧壁上有开孔,有吸液细管5穿过管体1侧壁上的开孔并插入管体1内,所述吸液细管5底端伸入管体1底部,吸液细管5顶部位于管体1外,所述注射器2的针头伸入吸液细管5顶端管口内;所述管体1下端的环形侧壁上开有若干进水孔,有过滤纱网包6裹在管体1上开有若干进水孔的环形侧壁上。The porous soil in-situ solution extractor includes a tube body 1 and a syringe 2, a sealing cover 3 is arranged at the top nozzle of the tube body 1, and a filter gauze 4 is enclosed at the bottom nozzle of the tube body 1, There is an opening on the side wall of the upper end of the tube body 1, and a capillary liquid suction tube 5 passes through the opening on the side wall of the tube body 1 and is inserted into the tube body 1, and the bottom end of the capillary liquid suction tube 5 extends into the tube body 1 bottom, the top of the liquid suction capillary 5 is located outside the tube body 1, the needle of the syringe 2 extends into the top nozzle of the liquid suction capillary 5; the annular side wall at the lower end of the tube body 1 has a number of water inlet holes, There is a filter gauze wrapping 6 on the annular side wall that has some water inlet holes on the pipe body 1 .
管体1全长100cm,管口直径R为3.2cm,其中高出地面的一截管长10cm,管体底端的细孔孔径5mm,孔区长度10cm,孔区至底土间的管长2.5cm,纱网网孔为60目,剩余的中间一截管长75cm,整个管体1较轻,材质为经久耐用,采用抗腐蚀性能的PVC管。The pipe body 1 has a total length of 100cm, the nozzle diameter R is 3.2cm, the length of the pipe above the ground is 10cm, the diameter of the pores at the bottom of the pipe body is 5mm, the length of the hole area is 10cm, and the length of the pipe between the hole area and the subsoil is 2.5cm , the gauze mesh is 60 mesh, and the length of the remaining middle section of the pipe is 75cm. The whole pipe body 1 is relatively light, and the material is durable and corrosion-resistant PVC pipe.
Claims (1)
Priority Applications (1)
| Application Number | Priority Date | Filing Date | Title |
|---|---|---|---|
| CN2009201724414U CN201425558Y (en) | 2009-06-04 | 2009-06-04 | Porous soil in-situ solution extractor |
Applications Claiming Priority (1)
| Application Number | Priority Date | Filing Date | Title |
|---|---|---|---|
| CN2009201724414U CN201425558Y (en) | 2009-06-04 | 2009-06-04 | Porous soil in-situ solution extractor |
Publications (1)
| Publication Number | Publication Date |
|---|---|
| CN201425558Y true CN201425558Y (en) | 2010-03-17 |
Family
ID=42025009
Family Applications (1)
| Application Number | Title | Priority Date | Filing Date |
|---|---|---|---|
| CN2009201724414U Expired - Lifetime CN201425558Y (en) | 2009-06-04 | 2009-06-04 | Porous soil in-situ solution extractor |
Country Status (1)
| Country | Link |
|---|---|
| CN (1) | CN201425558Y (en) |
Cited By (11)
| Publication number | Priority date | Publication date | Assignee | Title |
|---|---|---|---|---|
| CN102128734A (en) * | 2010-12-14 | 2011-07-20 | 北京师范大学 | Automatic sampler for soil solution on different soil depths |
| CN102706700A (en) * | 2012-05-22 | 2012-10-03 | 中国林业科学研究院林业新技术研究所 | Soil leachate sampling device |
| CN104048852A (en) * | 2014-06-15 | 2014-09-17 | 齐齐哈尔大学 | Device for extracting soil solution in freeze-thawing process |
| CN104111248A (en) * | 2014-07-03 | 2014-10-22 | 中国科学院东北地理与农业生态研究所 | Sampling needle used for determining elements in soil filtrate |
| CN104165783A (en) * | 2014-08-26 | 2014-11-26 | 张琪 | Water quality sampler with filtering net |
| CN104502148A (en) * | 2014-12-05 | 2015-04-08 | 苏州国环环境检测有限公司 | Soil solution sampler |
| CN104677686A (en) * | 2015-03-20 | 2015-06-03 | 中国农业科学院麻类研究所 | Collecting and sampling device for rice field percolating water and use method of collecting and sampling device |
| CN104729884A (en) * | 2015-04-14 | 2015-06-24 | 天津市环境保护科学研究院 | Farmland nitrogen loss lateral-seepage collecting device |
| CN105466730A (en) * | 2016-01-04 | 2016-04-06 | 中国水稻研究所 | Portable three-dimensional type rice field soil solution extracting device and rice field soil solution extracting method |
| CN106370474A (en) * | 2016-08-26 | 2017-02-01 | 环境保护部南京环境科学研究所 | Sampling device and sampling method for water flow in soil |
| CN106370475A (en) * | 2016-08-26 | 2017-02-01 | 环境保护部南京环境科学研究所 | Device for sampling currents in soil |
-
2009
- 2009-06-04 CN CN2009201724414U patent/CN201425558Y/en not_active Expired - Lifetime
Cited By (14)
| Publication number | Priority date | Publication date | Assignee | Title |
|---|---|---|---|---|
| CN102128734A (en) * | 2010-12-14 | 2011-07-20 | 北京师范大学 | Automatic sampler for soil solution on different soil depths |
| CN102128734B (en) * | 2010-12-14 | 2012-08-08 | 北京师范大学 | Automatic sampler for soil solution on different soil depths |
| CN102706700A (en) * | 2012-05-22 | 2012-10-03 | 中国林业科学研究院林业新技术研究所 | Soil leachate sampling device |
| CN104048852A (en) * | 2014-06-15 | 2014-09-17 | 齐齐哈尔大学 | Device for extracting soil solution in freeze-thawing process |
| CN104111248A (en) * | 2014-07-03 | 2014-10-22 | 中国科学院东北地理与农业生态研究所 | Sampling needle used for determining elements in soil filtrate |
| CN104165783A (en) * | 2014-08-26 | 2014-11-26 | 张琪 | Water quality sampler with filtering net |
| CN104502148A (en) * | 2014-12-05 | 2015-04-08 | 苏州国环环境检测有限公司 | Soil solution sampler |
| CN104677686A (en) * | 2015-03-20 | 2015-06-03 | 中国农业科学院麻类研究所 | Collecting and sampling device for rice field percolating water and use method of collecting and sampling device |
| CN104729884A (en) * | 2015-04-14 | 2015-06-24 | 天津市环境保护科学研究院 | Farmland nitrogen loss lateral-seepage collecting device |
| CN105466730A (en) * | 2016-01-04 | 2016-04-06 | 中国水稻研究所 | Portable three-dimensional type rice field soil solution extracting device and rice field soil solution extracting method |
| CN106370474A (en) * | 2016-08-26 | 2017-02-01 | 环境保护部南京环境科学研究所 | Sampling device and sampling method for water flow in soil |
| CN106370475A (en) * | 2016-08-26 | 2017-02-01 | 环境保护部南京环境科学研究所 | Device for sampling currents in soil |
| CN106370474B (en) * | 2016-08-26 | 2018-10-12 | 环境保护部南京环境科学研究所 | Flow sampling apparatus and its method of sampling in soil |
| CN106370475B (en) * | 2016-08-26 | 2018-11-30 | 环境保护部南京环境科学研究所 | Water flow sampling apparatus in soil |
Similar Documents
| Publication | Publication Date | Title |
|---|---|---|
| CN201425558Y (en) | Porous soil in-situ solution extractor | |
| CN205300997U (en) | Insert formula saturation soil solution extractor promptly | |
| CN201555741U (en) | Soil seepage solution extraction device | |
| CN206114355U (en) | Underground water sampling device | |
| CN208334139U (en) | A kind of soil-column test device of simulation solute migration conversion | |
| CN206369647U (en) | A kind of strand tidal beach wetland Sediment Pore Water sampler | |
| CN207992209U (en) | A kind of original position soil Nutrient Leaching liquid collector | |
| CN112051383B (en) | Simulation experiment device for migration and transformation of pollutants in underground water level fluctuation zone | |
| CN201540216U (en) | Manual direct pressure pot soil fetcher | |
| CN207263587U (en) | A kind of acid-base solution permeates saturation soil sample experimental rig | |
| CN201548424U (en) | Soil solution infiltration pipe | |
| CN206593911U (en) | A kind of soil liquid collector | |
| CN203465119U (en) | Rice field soil water extraction device | |
| CN102998143A (en) | Sample collecting device for deep profile soil and gas | |
| CN104729884A (en) | Farmland nitrogen loss lateral-seepage collecting device | |
| CN201181265Y (en) | Simple collection device for soil seepage water | |
| CN204556325U (en) | A kind of nitrogen loss in farmland side sepage gathering-device | |
| CN207894661U (en) | A kind of rice field leaching liquor original position collection device | |
| CN206348183U (en) | A kind of soil percolation liquor collecting device | |
| CN203669008U (en) | Rainwater collection, storage and comprehensive utilization device | |
| CN208187783U (en) | A kind of soil liquid sampler | |
| CN207263495U (en) | A kind of soil percolation liquor collecting device | |
| CN108362525B (en) | Modularized device capable of taking liquid from saturated or unsaturated soil in multiple layers | |
| CN207280810U (en) | A kind of lake sediment gap laden water collecting device | |
| CN206281680U (en) | A kind of soil liquid automatically extracts control device |
Legal Events
| Date | Code | Title | Description |
|---|---|---|---|
| C14 | Grant of patent or utility model | ||
| GR01 | Patent grant | ||
| CX01 | Expiry of patent term | ||
| CX01 | Expiry of patent term |
Granted publication date: 20100317 |
