CN201411760Y - exhaust toilet - Google Patents
exhaust toilet Download PDFInfo
- Publication number
- CN201411760Y CN201411760Y CN2009201853684U CN200920185368U CN201411760Y CN 201411760 Y CN201411760 Y CN 201411760Y CN 2009201853684 U CN2009201853684 U CN 2009201853684U CN 200920185368 U CN200920185368 U CN 200920185368U CN 201411760 Y CN201411760 Y CN 201411760Y
- Authority
- CN
- China
- Prior art keywords
- exhaust
- toilet
- pipe
- exhaust fan
- fan
- Prior art date
- Legal status (The legal status is an assumption and is not a legal conclusion. Google has not performed a legal analysis and makes no representation as to the accuracy of the status listed.)
- Expired - Fee Related
Links
- 238000011010 flushing procedure Methods 0.000 claims abstract description 15
- XLYOFNOQVPJJNP-UHFFFAOYSA-N water Substances O XLYOFNOQVPJJNP-UHFFFAOYSA-N 0.000 claims abstract description 10
- 238000010586 diagram Methods 0.000 description 2
- 238000000034 method Methods 0.000 description 2
- 210000002345 respiratory system Anatomy 0.000 description 1
Images
Classifications
-
- Y—GENERAL TAGGING OF NEW TECHNOLOGICAL DEVELOPMENTS; GENERAL TAGGING OF CROSS-SECTIONAL TECHNOLOGIES SPANNING OVER SEVERAL SECTIONS OF THE IPC; TECHNICAL SUBJECTS COVERED BY FORMER USPC CROSS-REFERENCE ART COLLECTIONS [XRACs] AND DIGESTS
- Y02—TECHNOLOGIES OR APPLICATIONS FOR MITIGATION OR ADAPTATION AGAINST CLIMATE CHANGE
- Y02A—TECHNOLOGIES FOR ADAPTATION TO CLIMATE CHANGE
- Y02A20/00—Water conservation; Efficient water supply; Efficient water use
- Y02A20/40—Protecting water resources
Landscapes
- Bidet-Like Cleaning Device And Other Flush Toilet Accessories (AREA)
Abstract
本实用新型涉及一种卫生洁具,尤其涉及一种排气式坐便器。排气式坐便器,包括坐便器、冲水管、水箱,所述坐便器上沿设有一圈环形水道,环形水道下方开有冲水口,冲水管一端与环形水道相连,另一端水箱相连,其中,还包括排风管、控制开关、排风机,所述坐便器在环形水道上方设有一圈环形排风道,坐便器上沿内侧壁开有多个排风口,排风口与环形排风道相通;排风管一端与环形排风道相连,另一端连接至排风机,并通过排风机直接通向室外;排风机安装在墙体内部,控制开关固定安装在墙壁上,并与排风机相连。使用本实用新型的结构后,保证异味不会溢出坐便器的范围内,为人们提供了一个良好的如厕环境。
The utility model relates to a sanitary ware, in particular to an exhaust toilet. The exhaust type toilet includes a toilet, a flushing pipe, and a water tank. An annular water channel is arranged on the upper edge of the toilet, and a flushing port is opened below the annular water channel. One end of the flushing pipe is connected to the annular water channel, and the other end is connected to the water tank. It also includes an exhaust pipe, a control switch, and an exhaust fan. The toilet is provided with a ring-shaped air exhaust channel above the annular water channel. There are multiple air exhaust ports along the inner wall of the toilet. The air exhaust port and the annular air exhaust channel Connected; one end of the exhaust pipe is connected to the circular exhaust duct, the other end is connected to the exhaust fan, and directly leads to the outside through the exhaust fan; the exhaust fan is installed inside the wall, and the control switch is fixedly installed on the wall and connected to the exhaust fan . After using the structure of the utility model, it is guaranteed that the peculiar smell will not overflow the range of the toilet, and a good toilet environment is provided for people.
Description
技术领域 technical field
本实用新型涉及一种卫生洁具,尤其涉及一种排气式坐便器。The utility model relates to a sanitary ware, in particular to an exhaust toilet.
背景技术 Background technique
目前,传统的坐便器在使用时,总是不可避免的会产生一些异味气体,这些异味气体恶臭难闻,严重影响人们的如厕环境。卫生间的排气设备很难将气体全部排除干净,而且气体在从下往上排出的过程中,难免还是要经过人体的呼吸系统,问题得不到解决。At present, when the traditional toilet is in use, it will inevitably produce some peculiar smell gas, which has a bad smell and bad smell, which seriously affects people's toilet environment. It is difficult for the exhaust equipment in the bathroom to completely remove all the gas, and the gas will inevitably pass through the human respiratory system in the process of being discharged from the bottom to the top, and the problem cannot be solved.
发明内容 Contents of the invention
本实用新型针对上述出现的问题,提供一种能够较好的排除排泄物产生的异味气体的排气式坐便器。The utility model aims at the above-mentioned problems, and provides an exhaust toilet that can better eliminate the odorous gas produced by excrement.
本实用新型的技术方案如下:排气式坐便器,包括坐便器、冲水管、水箱,所述坐便器上沿设有一圈环形水道,环形水道下方开有冲水口,冲水管一端与环形水道相连,另一端水箱相连,其中,还包括排风管、控制开关、排风机,所述坐便器在环形水道上方设有一圈环形排风道,坐便器上沿内侧壁开有多个排风口,排风口与环形排风道相通;排风管一端与环形排风道相连,另一端连接至排风机,并通过排风机直接通向室外;排风机安装在墙体内部,控制开关固定安装在墙壁上,并与排风机相连。The technical scheme of the utility model is as follows: the exhaust toilet includes a toilet, a flushing pipe, and a water tank. There is a ring-shaped water channel on the upper edge of the toilet, and a flushing port is opened under the ring-shaped water channel. One end of the flushing pipe is connected to the ring-shaped water channel. , the other end is connected to the water tank, which also includes an exhaust pipe, a control switch, and an exhaust fan. The toilet is provided with a ring-shaped exhaust channel above the annular water channel, and a plurality of air outlets are opened on the toilet along the inner wall. The exhaust port is connected with the circular exhaust duct; one end of the exhaust pipe is connected with the annular exhaust duct, and the other end is connected to the exhaust fan, which directly leads to the outside through the exhaust fan; the exhaust fan is installed inside the wall, and the control switch is fixed on the on the wall and connected to the exhaust fan.
所述排风管还可以通过排风机与卫生间的排气管道相连。The exhaust pipe can also be connected with the exhaust pipe of the bathroom through an exhaust fan.
人们如厕前通过控制开关打开风机,在空气负压下,产生的异味还未散发出去即被风机抽走排除室外,如厕完毕冲完水后,再将风机关闭即可。Before going to the toilet, people turn on the fan through the control switch. Under the negative air pressure, the peculiar smell generated is sucked away by the fan before it is released, and then the fan is turned off after flushing the water.
使用本实用新型的结构后,由于在坐便器上沿内侧壁开有多个风口,能够产生足够的空气负压,在各个方向都能将异味气体抽走,保证异味不会溢出坐便器的范围内,为人们提供了一个良好的如厕环境。After using the structure of the utility model, since there are a plurality of tuyere openings along the inner side wall on the toilet, sufficient air negative pressure can be generated, and the odorous gas can be sucked away in all directions, ensuring that the odor will not overflow the range of the toilet Inside, it provides a good toilet environment for people.
附图说明 Description of drawings
图1为本实用新型的整体结构示意图。Figure 1 is a schematic diagram of the overall structure of the utility model.
图2为本实用新型图1中a部分放大示意图。Fig. 2 is an enlarged schematic diagram of part a in Fig. 1 of the present utility model.
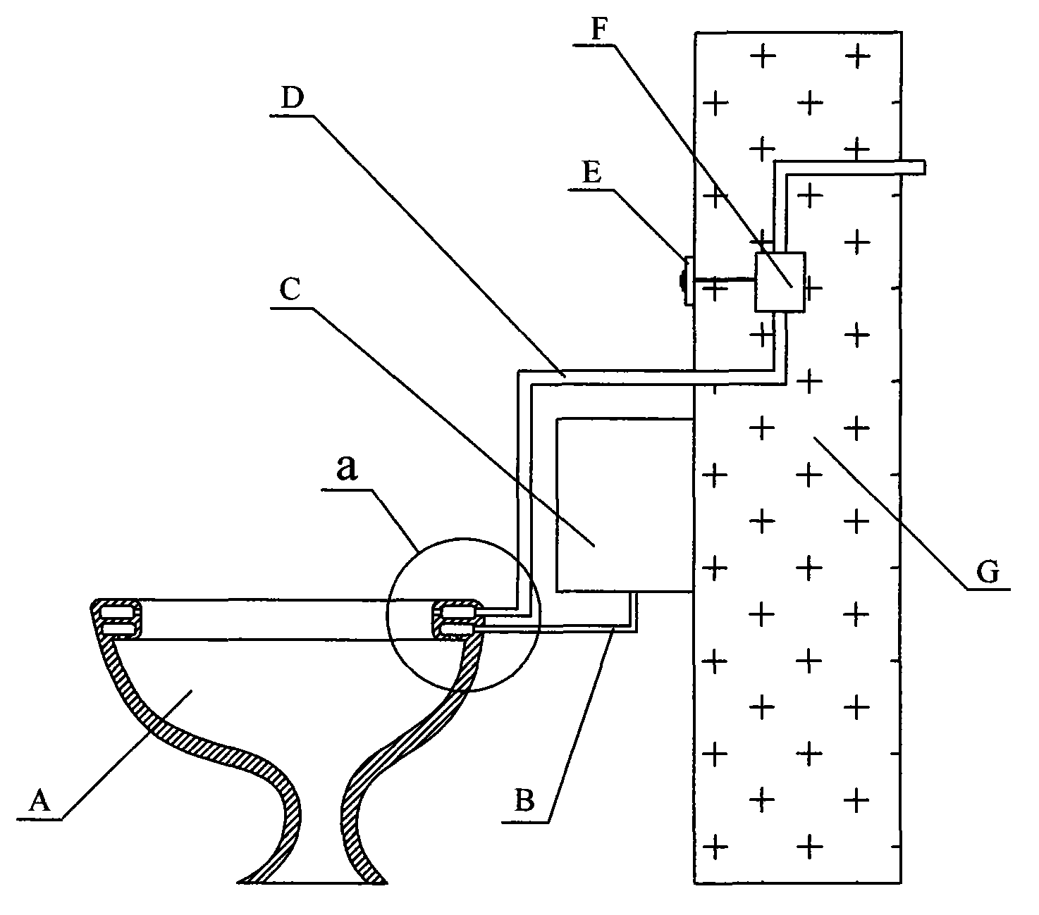
图中,坐便器A、冲水管B、水箱C、排风管D、控制开关E、排风机F、墙体G、环形水道A1、冲水口A2、环形排风道A3、排风口A4。In the figure, a toilet A, a flushing pipe B, a water tank C, an exhaust pipe D, a control switch E, an exhaust fan F, a wall G, an annular water channel A1, a flushing port A2, an annular air exhaust channel A3, and an air exhaust port A4.
具体实施方式 Detailed ways
下面结合附图与具体实施例对本实用新型作进一步的详细说明。Below in conjunction with accompanying drawing and specific embodiment the utility model is described in further detail.
实施例一:Embodiment one:
排气式坐便器,包括坐便器A、冲水管B、水箱C,所述坐便器A上沿设有一圈环形水道A1,环形水道A1下方开有冲水口A2,冲水管B一端与环形水道A1相连,另一端水箱C相连,其中,还包括排风管D、控制开关E、排风机F,所述坐便器A在环形水道A1上方设有一圈环形排风道A3,坐便器A上沿内侧壁开有多个排风口A4,排风口A4与环形排风道A3相通;排风管D一端与环形排风道A3相连,另一端连接至排风机F,并通过排风机F直接通向室外;排风机F安装在墙体G内部,控制开关E固定安装在墙壁上,并与排风机F相连。Exhaust toilet, including toilet A, flushing pipe B, and water tank C. A ring-shaped waterway A1 is arranged on the upper edge of the toilet A, and a flushing port A2 is opened below the ring-shaped waterway A1. One end of the flushing pipe B is connected to the ring-shaped waterway A1. The other end of the water tank C is connected, which also includes an exhaust pipe D, a control switch E, and an exhaust fan F. The toilet A is provided with a ring-shaped exhaust duct A3 above the annular water channel A1, and the toilet A is along the inner side. There are multiple exhaust outlets A4 on the wall, and the exhaust outlets A4 communicate with the annular exhaust duct A3; one end of the exhaust pipe D is connected to the annular exhaust duct A3, and the other end is connected to the exhaust fan F, and directly passes through the exhaust fan F. To the outside; the exhaust fan F is installed inside the wall G, and the control switch E is fixedly installed on the wall and connected with the exhaust fan F.
实施例二:Embodiment two:
所述排风管D还可以通过排风机F与卫生间的排气管道相连。其他结构与实施例一相同。The exhaust pipe D can also be connected to the exhaust duct of the bathroom through the exhaust fan F. Other structures are the same as in Embodiment 1.
Claims (2)
Priority Applications (1)
| Application Number | Priority Date | Filing Date | Title |
|---|---|---|---|
| CN2009201853684U CN201411760Y (en) | 2009-06-08 | 2009-06-08 | exhaust toilet |
Applications Claiming Priority (1)
| Application Number | Priority Date | Filing Date | Title |
|---|---|---|---|
| CN2009201853684U CN201411760Y (en) | 2009-06-08 | 2009-06-08 | exhaust toilet |
Publications (1)
| Publication Number | Publication Date |
|---|---|
| CN201411760Y true CN201411760Y (en) | 2010-02-24 |
Family
ID=41713647
Family Applications (1)
| Application Number | Title | Priority Date | Filing Date |
|---|---|---|---|
| CN2009201853684U Expired - Fee Related CN201411760Y (en) | 2009-06-08 | 2009-06-08 | exhaust toilet |
Country Status (1)
| Country | Link |
|---|---|
| CN (1) | CN201411760Y (en) |
Cited By (7)
| Publication number | Priority date | Publication date | Assignee | Title |
|---|---|---|---|---|
| CN104652565A (en) * | 2015-02-14 | 2015-05-27 | 吴思源 | Air sucking deodorizing toilet stool and air sucking deodorizing device thereof |
| CN105926746A (en) * | 2016-06-21 | 2016-09-07 | 常州剑湖金城车辆设备有限公司 | Ventilated odor-resistant WC pan |
| CN105926745A (en) * | 2016-06-21 | 2016-09-07 | 常州剑湖金城车辆设备有限公司 | Ventilated deodorant jordan |
| CN108018929A (en) * | 2017-11-13 | 2018-05-11 | 长沙明道物业服务有限公司 | A kind of timing excludes the method and facility of lavatory peculiar smell |
| CN108049475A (en) * | 2017-11-12 | 2018-05-18 | 长沙明道物业服务有限公司 | A kind of method and facility for excluding lavatory peculiar smell |
| CN109487878A (en) * | 2018-12-15 | 2019-03-19 | 张绍康 | A kind of toilet seat |
| CN113216346A (en) * | 2021-06-23 | 2021-08-06 | 刘有发 | Energy-saving environment-friendly toilet sanitary appliance |
-
2009
- 2009-06-08 CN CN2009201853684U patent/CN201411760Y/en not_active Expired - Fee Related
Cited By (8)
| Publication number | Priority date | Publication date | Assignee | Title |
|---|---|---|---|---|
| CN104652565A (en) * | 2015-02-14 | 2015-05-27 | 吴思源 | Air sucking deodorizing toilet stool and air sucking deodorizing device thereof |
| CN104652565B (en) * | 2015-02-14 | 2016-06-22 | 吴思源 | A kind of air-draft deodorization closet and air draft deodorization device thereof |
| CN105926746A (en) * | 2016-06-21 | 2016-09-07 | 常州剑湖金城车辆设备有限公司 | Ventilated odor-resistant WC pan |
| CN105926745A (en) * | 2016-06-21 | 2016-09-07 | 常州剑湖金城车辆设备有限公司 | Ventilated deodorant jordan |
| CN108049475A (en) * | 2017-11-12 | 2018-05-18 | 长沙明道物业服务有限公司 | A kind of method and facility for excluding lavatory peculiar smell |
| CN108018929A (en) * | 2017-11-13 | 2018-05-11 | 长沙明道物业服务有限公司 | A kind of timing excludes the method and facility of lavatory peculiar smell |
| CN109487878A (en) * | 2018-12-15 | 2019-03-19 | 张绍康 | A kind of toilet seat |
| CN113216346A (en) * | 2021-06-23 | 2021-08-06 | 刘有发 | Energy-saving environment-friendly toilet sanitary appliance |
Similar Documents
| Publication | Publication Date | Title |
|---|---|---|
| CN201411760Y (en) | exhaust toilet | |
| CN106436855B (en) | Full-automatic deodorizing toilet seat | |
| CN205688529U (en) | Deodorization device for toilet bowl | |
| CN204715491U (en) | The self-bleeding toilet of a kind of energy | |
| CN201546301U (en) | Air exhaust odor removal toilet bowl | |
| CN204959911U (en) | Bathroom bleeder deodorization dehydrating unit | |
| CN204199411U (en) | A kind of lavatory pan deodorizing deodorization apparatus | |
| CN202152484U (en) | Air inducing and odor eliminating toilet | |
| CN202148588U (en) | Stink-drawing type closet pan | |
| CN201411761Y (en) | Air exhausting type squatting pan | |
| CN206220206U (en) | Deodorization closestool | |
| CN201539007U (en) | deodorant toilet | |
| CN203160373U (en) | Deodorant toilet | |
| CN202096146U (en) | Induced-draft deodorizing device of toilet bowl | |
| CN202945672U (en) | High-performance deodorant closestool basin | |
| CN202124913U (en) | Odor exhauster for water closet | |
| CN203462552U (en) | Deodorization toilet | |
| CN201206267Y (en) | Odorless environment friendly seat bowl | |
| CN104420523A (en) | Deodorization closestool | |
| CN204112456U (en) | A kind of anti-overflow Deodor squat toilet | |
| CN205314198U (en) | Inhale foul smell squatting pan | |
| CN206090767U (en) | Deodorant for squatting pan exhaust apparatus of integral type | |
| CN205072767U (en) | Flush free free from extraneous odour is groove public latrine just | |
| CN201172870Y (en) | Closet with deodorization air duct and toilet deodorization device using the closet | |
| CN202450598U (en) | Deodorization device for closestool |
Legal Events
| Date | Code | Title | Description |
|---|---|---|---|
| C14 | Grant of patent or utility model | ||
| GR01 | Patent grant | ||
| C17 | Cessation of patent right | ||
| CF01 | Termination of patent right due to non-payment of annual fee |
Granted publication date: 20100224 Termination date: 20120608 |
