CN201392915Y - 输入输出连接器 - Google Patents

输入输出连接器 Download PDF

Info

Publication number
CN201392915Y
CN201392915Y CN200920053261U CN200920053261U CN201392915Y CN 201392915 Y CN201392915 Y CN 201392915Y CN 200920053261 U CN200920053261 U CN 200920053261U CN 200920053261 U CN200920053261 U CN 200920053261U CN 201392915 Y CN201392915 Y CN 201392915Y
Authority
CN
China
Prior art keywords
input
metal shell
output connector
insulating body
printed circuit
Prior art date
Legal status (The legal status is an assumption and is not a legal conclusion. Google has not performed a legal analysis and makes no representation as to the accuracy of the status listed.)
Expired - Fee Related
Application number
CN200920053261U
Other languages
English (en)
Inventor
刘波
竺峰
Current Assignee (The listed assignees may be inaccurate. Google has not performed a legal analysis and makes no representation or warranty as to the accuracy of the list.)
Foxlink Electronics Dongguan Co Ltd
Cheng Uei Precision Industry Co Ltd
Original Assignee
Foxlink Electronics Dongguan Co Ltd
Cheng Uei Precision Industry Co Ltd
Priority date (The priority date is an assumption and is not a legal conclusion. Google has not performed a legal analysis and makes no representation as to the accuracy of the date listed.)
Filing date
Publication date
Application filed by Foxlink Electronics Dongguan Co Ltd, Cheng Uei Precision Industry Co Ltd filed Critical Foxlink Electronics Dongguan Co Ltd
Priority to CN200920053261U priority Critical patent/CN201392915Y/zh
Application granted granted Critical
Publication of CN201392915Y publication Critical patent/CN201392915Y/zh
Anticipated expiration legal-status Critical
Expired - Fee Related legal-status Critical Current

Links

Images

Landscapes

  • Details Of Connecting Devices For Male And Female Coupling (AREA)
  • Coupling Device And Connection With Printed Circuit (AREA)

Abstract

本实用新型公开了一种输入输出连接器,其包括一金属外壳、一绝缘本体、若干信号端子。金属外壳具有一顶板、一底板及左、右侧墙,顶板、底板及两侧墙围合成一收容空间,侧墙设置有一插脚,插脚固持在印刷电路板的插槽内。绝缘本体收容在金属外壳的收容空间内,绝缘本体向下凸伸有固定柱,固定柱固持在印刷电路板的卡孔内。若干讯号端子固持在绝缘本体,且具有用于固定到印刷电路板上的焊接部。固持件固定在金属外壳上,该固持件上开设有一固定孔。本实用新型输入输出连接器通过设置该固持件,从而能够更加牢固地固定在外部装置上,因此能避免因频繁插拔致使信号端子与外部装置的断接,进而能够保证信号传输的稳定。

Description

输入输出连接器
技术领域
本实用新型涉及一种连接器,尤其涉及一种输入输出连接器。
背景技术
随着电子技术的不断发展,输入输出连接器普遍地用在电子产品,如手机、PDA、计算机、MP3等的内部或周边,用于转接信号或连接电源。传统的输入输出连接器在连接形式上大概分为公、母两种连接器。
传统的输入输出连接器通常包括一金属外壳、一绝缘本体及若干信号端子。金属外壳上设置有插脚。绝缘本体容置在金属外壳内部,绝缘本体下设有固定柱。若干信号端子容置在绝缘本体内部,信号端子上设置有焊接部。
然而,上述现有的输入输出连接器与印刷电路板等外部装置连接时,仅通过绝缘本体下的固定柱、信号端子的焊接部及金属外壳上的插脚固定在印刷电路板上,故此其固定力量较弱。在相对接的连接器多次插拔后,信号端子与印刷电路板之间的连接容易断开,从而无法转接信号或电源。
实用新型内容
本实用新型的目的在于针对上述现有技术的不足提供一种可牢固固定在外部装置上的输入输出连接器。
为实现上述目的,本实用新型所提供的输入输出连接器包括一金属外壳、一绝缘本体、若干信号端子及一固持件。金属外壳具有一顶板、一底板及左、右侧墙,顶板、底板及两侧墙围合成一收容空间,侧墙设置有一插脚,插脚固持在印刷电路板的插槽内。绝缘本体收容在金属外壳的收容空间内,绝缘本体向下凸伸有固定柱,固定柱固持在印刷电路板的卡孔内。若干讯号端子固持在绝缘本体,且具有用于固定到印刷电路板上的焊接部。固持件固定在金属外壳上,该固持件上开设有一固定孔
如上所述,本实用新型输入输出连接器在组装时,不仅能够通过绝缘本体下的固定柱、信号端子的焊接部及金属外壳的插脚实现固定,还可以通过固持件的固定孔用螺丝固定在外部装置上,从而可使输入输出连接器更加牢固地固定,避免因频繁插拔致使信号端子与印刷电路板的断接,进而得以防止信号传输的中断。
附图说明
图1为本实用新型输入输出连接器与一印刷电路板的立体组合图。
图2为本实用新型输入输出连接器的立体图。
图3为图2所示输入输出连接器的立体分解图。
图4为图2所示输入输出连接器的金属外壳的立体图。
图5为图2所示输入输出连接器的绝缘本体的立体图。
图6为一印刷电路板的立体图。
图7为图2所示输入输出连接器的固持件的立体图。
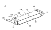
图中各附图标记说明如下:
输入输出连接器    100    绝缘本体    1
前壁              11     凸出部      111
后壁              12     端子槽      121
顶壁              13     止挡槽      131
挡持片            132    卡固槽      133
底壁              14     卡条        141
卡槽              142    固持片      143
翼部              15     固定柱      151
金属外壳          2      顶板        21
卡钩              211    固定片      212
底板              22     孔槽        221
阻挡板            222    开槽        223
卡固片        224       左侧墙        23
右侧墙        24        收容空间      25
固持壁        26        第一插脚      261
第二插脚      262       信号端子      3
焊接部        31        固持件        4
主体部        41        第一伸出部    42
第二伸出部    43        固定孔        411
印刷电路板    5         卡孔          51
插槽          52        焊接部        53
具体实施方式
为详细说明本实用新型的技术内容、构造特征、所实现目的及效果,以下结合实施方式并配合附图详予说明。
请参阅图1及图3,本实用新型输入输出连接器100包括一绝缘本体1、一金属外壳2、若干信号端子3及一固持件4。
请参阅图3及图5,绝缘本体1具有前壁11、后壁12、顶壁13及底壁14。绝缘本体1的前壁11向前凸伸出一板状的凸出部111。从凸出部111的前端向后开设有贯穿并延伸至后壁12的若干个端子槽121。绝缘本体1的顶壁13的后部在凸出部111的两侧分别开设有一止挡槽131。绝缘本体1的顶壁13左右两侧均凸伸有一挡持片132,两挡持片132之间形成有一卡固槽133。绝缘本体1的底壁14的中部凸伸出一卡条141。卡条141上开设有前后贯通的一卡槽142。卡条141左右两侧分别凸伸形成有一固持片143。绝缘本体1的后壁12的两端分别凸伸形成有一大致呈平板状的翼部15,翼部15的下表面凸伸出一圆柱状的固定柱151。
请参阅图3及图4,金属外壳2具有呈扁平长板状的顶板21及底板22。顶板21和底板22两端分别由左侧墙23和右侧墙24连接,从而顶板21、底板22与左、右侧墙23、24围合成一容置所述绝缘本体1的收容空间25。顶板21后端的两侧分别向下弯折形成有一卡钩211。顶板21后侧缘的中部向上弯折凸伸形成有一固定片212。底板22两端朝向收容空间25分别裁切出一孔槽221,并从孔槽221的一侧边缘向收容空间25内部冲切形成有一阻挡板222。底板22后端中部开设有两开槽223,两开槽223之间形成一卡固片224。左、右两侧墙23、24与顶板21后端的转角处分别凸伸形成有一大致呈“L”形的固持壁26。左侧的固持壁26下端缘向左侧墙23外侧凸伸并垂直向下弯折形成有一第一插脚261。右侧的固持壁26下端缘后部处垂直向下凸伸形成有一第二插脚262。
请参阅图3,若干信号端子3固持在绝缘本体1内,且具有用于固定到一印刷电路板5上的焊接部31。
请参阅图3及图7,固持件4具有一大致呈块状的主体部41,主体部41前表面右侧缘凸伸形成有一第一伸出部42,主体部42后表面右侧缘凸伸形成有一呈“L”状的第二伸出部43。主体部41上开设有一贯穿前后两表面的固定孔411。该固持件4通过激光焊接方式焊接在金属外壳2的左侧墙23上,可利用螺丝(图中未示)穿过固持件4的固定孔411并与外部装置(图中未示)相连接,以加强输入输出连接器100与外部装置的稳固的结合,进而不至于因公、母连接器的反复拔插而发生输入输出连接器100与外部装置断接的现象。
请参阅图2、图3及图7,当组装本实用新型输入输出连接器100时,信号端子2插设在相应的端子槽121内,绝缘本体1收容在金属外壳2的收容空间25内,绝缘本体1的前壁11抵靠在金属外壳2的阻挡板222上,金属外壳2的卡固片224卡持在绝缘本体1的卡槽142内,固持片143卡持在金属外壳2的顶板21的上表面,金属外壳2的卡钩211钩持在绝缘本体1的止挡槽131内,固定片212卡持在绝缘本体1的卡固槽133内,固持件4通过激光焊接的方式固定在金属外壳2的左侧墙23上,且固持件4的主体部41的后端面与金属外壳2的左侧墙23的后端缘大致平齐,固持件4的主体部41的上表面与金属外壳2的顶板21上表面大致平齐。
请参阅图6,本实用新型输入输出连接器100固定在一印刷电路板5上。该印刷电路板5大致呈长方板形,印刷电路板5两端分别开设有一卡孔51及一插槽52,其中部设置有若干焊接部53。该输入输出连接器100安装在印刷电路板5上时,绝缘本体1下的固定柱151、信号端子3的焊接部31及金属外壳2的第一插脚261和第二插脚262分别固定在印刷电路板5上,再用一螺丝穿过固持件4的固定孔411而将输入输出连接器100稳定地固定在外部装置(图中未示)上。
如上所述,本实用新型输入输出连接器100组装时,不仅可以通过绝缘本体1下的固定柱151、信号端子3的焊接部31及金属外壳2的第一插脚261和第二插脚262固定在印刷电路板5等外部装置上,还可通过固持件4的固定孔411用螺丝加以固定,从而可使输入输出连接器100更加牢固地固定在外部装置上,避免因频繁插拔致使信号端子3与印刷电路板5的断接,进而得以防止信号传输的中断。

Claims (4)

1.一种输入输出连接器,包括一金属外壳、一绝缘本体及若干信号端子,金属外壳具有一顶板、一底板及左、右侧墙,顶板、底板及两侧墙围合成一收容空间,侧墙设置有一插脚,绝缘本体收容在金属外壳的收容空间内,绝缘本体上向下凸伸有固定柱,信号端子固持在绝缘本体内,且具有用于固定到印刷电路板上的焊接部;其特征在于:所述输入输出连接器具有一固持件,该固持件固定在金属外壳上,且固持件上开设有一固定孔。
2.如权利要求1所述的输入输出连接器,其特征在于:所述固持件通过激光焊接的方式固定在金属外壳的一侧的侧墙上。
3.如权利要求1所述的输入输出连接器,其特征在于:所述固持件具有一大致呈块状的主体部,该主体部前表面侧缘凸伸形成有一第一伸出部,主体部后表面侧缘凸伸形成有一呈“L”状的第二伸出部,所述固定孔贯穿主体部的前后表面。
4.如权利要求1所述的输入输出连接器,其特征在于:所述输入输出连接器固定在一印刷电路板上,该印刷电路板开设有卡孔及插槽;所述插脚固持在印刷电路板的插槽内,以及所述固定柱固持在印刷电路板的卡孔内。
CN200920053261U 2009-03-20 2009-03-20 输入输出连接器 Expired - Fee Related CN201392915Y (zh)

Priority Applications (1)

Application Number Priority Date Filing Date Title
CN200920053261U CN201392915Y (zh) 2009-03-20 2009-03-20 输入输出连接器

Applications Claiming Priority (1)

Application Number Priority Date Filing Date Title
CN200920053261U CN201392915Y (zh) 2009-03-20 2009-03-20 输入输出连接器

Publications (1)

Publication Number Publication Date
CN201392915Y true CN201392915Y (zh) 2010-01-27

Family

ID=41599736

Family Applications (1)

Application Number Title Priority Date Filing Date
CN200920053261U Expired - Fee Related CN201392915Y (zh) 2009-03-20 2009-03-20 输入输出连接器

Country Status (1)

Country Link
CN (1) CN201392915Y (zh)

Cited By (2)

* Cited by examiner, † Cited by third party
Publication number Priority date Publication date Assignee Title
CN103427181A (zh) * 2013-01-10 2013-12-04 深圳市长盈精密技术股份有限公司 插头、插座及其电连接器组件
CN109037990A (zh) * 2018-09-10 2018-12-18 昆山嘉华电子有限公司 卡连接器及其制造方法

Cited By (4)

* Cited by examiner, † Cited by third party
Publication number Priority date Publication date Assignee Title
CN103427181A (zh) * 2013-01-10 2013-12-04 深圳市长盈精密技术股份有限公司 插头、插座及其电连接器组件
CN103427181B (zh) * 2013-01-10 2015-11-18 深圳市长盈精密技术股份有限公司 插头、插座及其电连接器组件
CN109037990A (zh) * 2018-09-10 2018-12-18 昆山嘉华电子有限公司 卡连接器及其制造方法
CN109037990B (zh) * 2018-09-10 2023-11-24 昆山嘉华电子有限公司 卡连接器及其制造方法

Similar Documents

Publication Publication Date Title
US20200259294A1 (en) Robust, compact electrical connector
US9960514B1 (en) Double-sided pluggable power plug, power socket and combination structure thereof
CN201072831Y (zh) 板对板连接器
CN201207538Y (zh) 扬声器连接器
WO2011047539A1 (zh) 电连接器
CN201112870Y (zh) 电池连接器
CN108832342A (zh) 一种usb type c连接器及其工艺
CN201392915Y (zh) 输入输出连接器
CN201075491Y (zh) 电连接器
CN202308487U (zh) 直立式连接器及其组合
CN205141262U (zh) 积木式电连接器
CN205211996U (zh) 转接器及其端子
US20130090019A1 (en) Electrical Connector
CN104218375B (zh) 电连接器组合
CN201374444Y (zh) 电连接器
JP3236885U (ja) コネクタ
CN202308462U (zh) 电源连接器
CN201690033U (zh) 电连接器
CN201594635U (zh) 防水插座连接器
CN201194282Y (zh) 输入输出连接器
CN202076644U (zh) 卡连接器
CN201570622U (zh) 电池连接器
CN216436301U (zh) 一种自锁连接器
CN223194069U (zh) 连接器、充电设备及电子设备
CN204257900U (zh) 电连接器

Legal Events

Date Code Title Description
C14 Grant of patent or utility model
GR01 Patent grant
C17 Cessation of patent right
CF01 Termination of patent right due to non-payment of annual fee

Granted publication date: 20100127

Termination date: 20120320