CN201384092Y - Waist band - Google Patents

Waist band Download PDF

Info

Publication number
CN201384092Y
CN201384092Y CN200920146980U CN200920146980U CN201384092Y CN 201384092 Y CN201384092 Y CN 201384092Y CN 200920146980 U CN200920146980 U CN 200920146980U CN 200920146980 U CN200920146980 U CN 200920146980U CN 201384092 Y CN201384092 Y CN 201384092Y
Authority
CN
China
Prior art keywords
box
band
waist band
belt
lead
Prior art date
Legal status (The legal status is an assumption and is not a legal conclusion. Google has not performed a legal analysis and makes no representation as to the accuracy of the status listed.)
Expired - Fee Related
Application number
CN200920146980U
Other languages
Chinese (zh)
Inventor
童越新
Current Assignee (The listed assignees may be inaccurate. Google has not performed a legal analysis and makes no representation or warranty as to the accuracy of the list.)
Individual
Original Assignee
Individual
Priority date (The priority date is an assumption and is not a legal conclusion. Google has not performed a legal analysis and makes no representation as to the accuracy of the date listed.)
Filing date
Publication date
Application filed by Individual filed Critical Individual
Priority to CN200920146980U priority Critical patent/CN201384092Y/en
Application granted granted Critical
Publication of CN201384092Y publication Critical patent/CN201384092Y/en
Anticipated expiration legal-status Critical
Expired - Fee Related legal-status Critical Current

Links

Images

Landscapes

  • Purses, Travelling Bags, Baskets, Or Suitcases (AREA)

Abstract

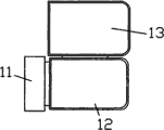
The utility model discloses a waist band comprising a band head and a belt, wherein, the band head adopts a box-packed structure which comprises a bottom box and an upper lid, the bottom box and the upper lid are connected with each other through a hinge, and a connector is further arranged at one end of the bottom box for connecting the belt. The band head of the waist band is designed as the box-packed structure intended for accommodating objects such as key, standby money and the like, thereby improving the practicability of the waist band and bring conveniences to life.

Description

Waistband
Technical field
A kind of waistband of the utility model.
Background technology
The waistband of prior art, function singleness, practicality is low.
The utility model content
At the problem that prior art exists, the purpose of this utility model is to provide a kind of simple in structure, waistband that practicality is high.
For achieving the above object, the utility model waistband comprises and taking the lead and belt, and wherein, taking the lead is a box-packed structure, and it comprises end box and loam cake, is connected through the hinge between end box and the loam cake, also is provided with the connector that is used to connect belt on an end of end box.
The utility model takes the lead to be designed to box-packed structure with waistband, the article such as key, standby money of can in box, packing into, and this structural design has improved the practicality of waistband, has made things convenient for life.
Description of drawings
Fig. 1 is the utility model structural representation;
Fig. 2 is the structural representation of taking the lead.
The specific embodiment
As shown in Figure 1 and Figure 2, the utility model waistband comprises and takes the lead 1 and belt 2, wherein, taking the lead 1 is a box-packed structure, and it comprises end box 12 and loam cake 13, be connected through the hinge between end box 12 and the loam cake 13, on an end of end box 12, also be provided with the connector 11 that is used to connect belt 2.The height of the box body that forms after end box 12 and loam cake 13 spiral-locks in the utility model is identical with the height of connector 11, make and to take the lead surfacing, can be used for adding ornament on the surface of loam cake 13, can be used for adorning little article such as key, standby money in the box-packed structure of taking the lead, this structural design has improved the practicality of waistband, has made things convenient for life.

Claims (1)

1, waistband comprises and taking the lead and belt, it is characterized in that, taking the lead is a box-packed structure, and it comprises end box and loam cake, is connected through the hinge between end box and the loam cake, also is provided with the connector that is used to connect belt on an end of end box.
CN200920146980U 2009-03-27 2009-03-27 Waist band Expired - Fee Related CN201384092Y (en)

Priority Applications (1)

Application Number Priority Date Filing Date Title
CN200920146980U CN201384092Y (en) 2009-03-27 2009-03-27 Waist band

Applications Claiming Priority (1)

Application Number Priority Date Filing Date Title
CN200920146980U CN201384092Y (en) 2009-03-27 2009-03-27 Waist band

Publications (1)

Publication Number Publication Date
CN201384092Y true CN201384092Y (en) 2010-01-20

Family

ID=41576608

Family Applications (1)

Application Number Title Priority Date Filing Date
CN200920146980U Expired - Fee Related CN201384092Y (en) 2009-03-27 2009-03-27 Waist band

Country Status (1)

Country Link
CN (1) CN201384092Y (en)

Cited By (1)

* Cited by examiner, † Cited by third party
Publication number Priority date Publication date Assignee Title
CN105320266A (en) * 2015-05-28 2016-02-10 维沃移动通信有限公司 Waistband

Cited By (1)

* Cited by examiner, † Cited by third party
Publication number Priority date Publication date Assignee Title
CN105320266A (en) * 2015-05-28 2016-02-10 维沃移动通信有限公司 Waistband

Similar Documents

Publication Publication Date Title
CN201384092Y (en) Waist band
CN201975077U (en) Brooch USB flash disk
CN201734402U (en) Scoop with chopsticks
CN201948684U (en) Toothpick holder
CN202103986U (en) Comb USB disk
CN202151163U (en) Draw-bar box convenient to put and take articles
CN203181448U (en) Portable USB flash disk
CN201774764U (en) USB (universal serial bus) flash disk avoiding losing
CN201869985U (en) Purse with comb
CN201528764U (en) Lunch box with mirror
CN201182312Y (en) Portable traveling glass
CN202050455U (en) Mobile phone with cosmetics
CN201509807U (en) Lunch-box
CN203318889U (en) Bottom box with partition plate, of novel woolen sweater packaging box
CN202311693U (en) Suitcase box capable of being expanded
CN201709619U (en) Foldable traveling suitcase
CN202489322U (en) Multifunctional belt buckle
CN203319003U (en) Novel woolen sweater packaging box bottom plate
CN201477378U (en) USB flash-disk watch
CN202311721U (en) Portable glasses case
CN202553699U (en) Pickle barrel
CN202566623U (en) Watchband with wallet
CN201743121U (en) Key bag
CN202525790U (en) Cup capable of carrying tea leaves
CN203016094U (en) Multifunctional mobile phone cover

Legal Events

Date Code Title Description
C14 Grant of patent or utility model
GR01 Patent grant
C17 Cessation of patent right
CF01 Termination of patent right due to non-payment of annual fee

Granted publication date: 20100120

Termination date: 20110327