CN201367624Y - Household water saving hand sink - Google Patents

Household water saving hand sink Download PDF

Info

Publication number
CN201367624Y
CN201367624Y CNU2009201057139U CN200920105713U CN201367624Y CN 201367624 Y CN201367624 Y CN 201367624Y CN U2009201057139 U CNU2009201057139 U CN U2009201057139U CN 200920105713 U CN200920105713 U CN 200920105713U CN 201367624 Y CN201367624 Y CN 201367624Y
Authority
CN
China
Prior art keywords
water
washbasin
storage tank
main body
pipeline
Prior art date
Legal status (The legal status is an assumption and is not a legal conclusion. Google has not performed a legal analysis and makes no representation as to the accuracy of the status listed.)
Expired - Fee Related
Application number
CNU2009201057139U
Other languages
Chinese (zh)
Inventor
史越佳
Current Assignee (The listed assignees may be inaccurate. Google has not performed a legal analysis and makes no representation or warranty as to the accuracy of the list.)
Individual
Original Assignee
Individual
Priority date (The priority date is an assumption and is not a legal conclusion. Google has not performed a legal analysis and makes no representation as to the accuracy of the date listed.)
Filing date
Publication date
Application filed by Individual filed Critical Individual
Priority to CNU2009201057139U priority Critical patent/CN201367624Y/en
Application granted granted Critical
Publication of CN201367624Y publication Critical patent/CN201367624Y/en
Anticipated expiration legal-status Critical
Expired - Fee Related legal-status Critical Current

Links

Images

Classifications

    • YGENERAL TAGGING OF NEW TECHNOLOGICAL DEVELOPMENTS; GENERAL TAGGING OF CROSS-SECTIONAL TECHNOLOGIES SPANNING OVER SEVERAL SECTIONS OF THE IPC; TECHNICAL SUBJECTS COVERED BY FORMER USPC CROSS-REFERENCE ART COLLECTIONS [XRACs] AND DIGESTS
    • Y02TECHNOLOGIES OR APPLICATIONS FOR MITIGATION OR ADAPTATION AGAINST CLIMATE CHANGE
    • Y02ATECHNOLOGIES FOR ADAPTATION TO CLIMATE CHANGE
    • Y02A20/00Water conservation; Efficient water supply; Efficient water use

Landscapes

  • Sanitary Device For Flush Toilet (AREA)

Abstract

本实用新型提供了一种家用节水洗手池,该洗手池的下水管与三通阀连接,三通阀分别连接洗手池主体的下水口和储水箱,水质较好的生活用水通过三通阀储存在储水箱中留用,水质较差的生活用水通过三通阀直接排放到洗手池主体的下水口,通过下水道排放。本装置将生活用水分类排放,有效地节约了生活用水,而且结构简单,成本低廉,具有较大的市场价值。

Figure 200920105713

The utility model provides a household water-saving washbasin. The drain pipe of the washbasin is connected with a three-way valve, and the three-way valve is respectively connected with a water outlet and a water storage tank of the main body of the washbasin. Domestic water with better water quality passes through the three-way valve. Stored in the water storage tank for future use, domestic water with poor water quality is directly discharged to the drain of the sink main body through the three-way valve, and discharged through the sewer. The device classifies and discharges domestic water, effectively saves domestic water, has simple structure, low cost, and has great market value.

Figure 200920105713

Description

A kind of Mousehold water saving washbasin
Technical field
The utility model belongs to field of sanitary ware, relates to a kind of washbasin, a kind of Mousehold water saving washbasin of specific design.
Background technology
Continuous development along with urban construction, original municipal water supply resource is obviously not enough, therefore, have to take the segmentation Timing water supply or improve the way of Waste water utilization rate in many areas, because the washbasin in the resident family is traditional design substantially, water after the washing directly discharging advances sewer, causes the middle water resource that can utilize again originally to be run away in vain, obviously runs counter to the aim of building a conservation-minded society.
For this reason, the someone carries out the research of Mousehold water saving washbasin always, for example, a kind of " the water saving washbasin " that China's utility model patent provides for No. 92225026, this washbasin water inlet pipe connected mode is constant substantially, the tangible groove of washbasin periphery is convenient to install, outlet pipe is equipped with on washbasin top, outlet pipe is fixed on the basin body with the core union, water inlet pipe is arranged at the washbasin bottom, and it can be connected with raw water box water inlet cover, and the water inlet cover is improved to water outlet from the side, drain hole is arranged at the bottom of the washbasin, and there is the space of placing the power of doing the drain hole top." the building washbasin sewage second use water saving fixtures " that China's utility model patent provides for No. 02249548.7, it is characterized in that: the below of washbasin is provided with water storage tank, the bottom of described water storage tank is provided with gutter, is provided with the float valve that can be connected with running water pipe in the water storage tank; The top of water storage tank also is provided with bleed off pipe.Gutter during use that the bottom of water storage tank is set is connected with the urinal cleaning hose that next floor health is asked, utilizes the potential difference of floor gap up and down, makes the used flushing water of water as lower floor's urinal that wash one's face or wash one's hands in upper strata.These water-saving washbasins that technique scheme provides, though all possess the function of middle water recycling, but only be applicable to and reclaim simple daily slurry, do not consider to also have daily washing in the part resident family and the present situation of washing dish, washing rice, washing bowls and all carrying out now in a washbasin, part water quality is washed dish preferably, the water of washing rice can not be recycled thereby cause.
Summary of the invention
The utility model provides a kind of Mousehold water saving washbasin, the sewer pipe of this washbasin is connected with three way cock, three way cock connects toilet and storage tank respectively, water quality living water use preferably is stored in the storage tank by three way cock and continues to employ, the relatively poor living water use of water quality directly is discharged into toilet by three way cock, discharges by sewer.This device has been saved living water use effectively with living water use classification discharging, and simple in structure, with low cost, has bigger market value.
A kind of Mousehold water saving washbasin is made up of washbasin main body, gutter, three way cock, pipeline a, pipeline b and storage tank; Three way cock is used for switching the routing of water drainage of washbasin, and storage tank is used for storing water quality living water use preferably; The discharge ends of washbasin main body connects gutter, and gutter connects the water inlet of three way cock, and two delivery ports of three way cock are connecting pipe a and pipeline b respectively, and pipeline a is connected to down the mouth of a river, and pipeline b is connected to the top of storage tank inside.
The delivery port of described pipeline b is downward, and delivery port is placed the impurity that plug-in screen pack b filtering is discharged.
The hand basin bottom part of described washbasin main body is equipped with piston, and the piston place is placed with screen pack a, and filtering enters the impurity in the gutter.
Described washbasin main body can be designed to one with storage tank, but also otherwise designed storage tank is installed in the redundant space place under the washbasin main body again.
The advantage of a kind of Mousehold water saving washbasin of the utility model is:
1, this device is handled respectively by the living water use that water quality is better and relatively poor of three way cock, and discharging respectively, and the relatively poor water of water quality directly discharges, and water quality water preferably stores, and has saved living water use effectively.
2, this installation cost is cheap, and structure realizes simple, and easy to maintenance, and the recycling of most of living water use can be accomplished by the family that is particularly useful for daily washing and washes dish, wash rice, wash bowls and all carry out in a washbasin.
Description of drawings
Fig. 1 is the johning knot composition of a kind of Mousehold water saving washbasin of the utility model.
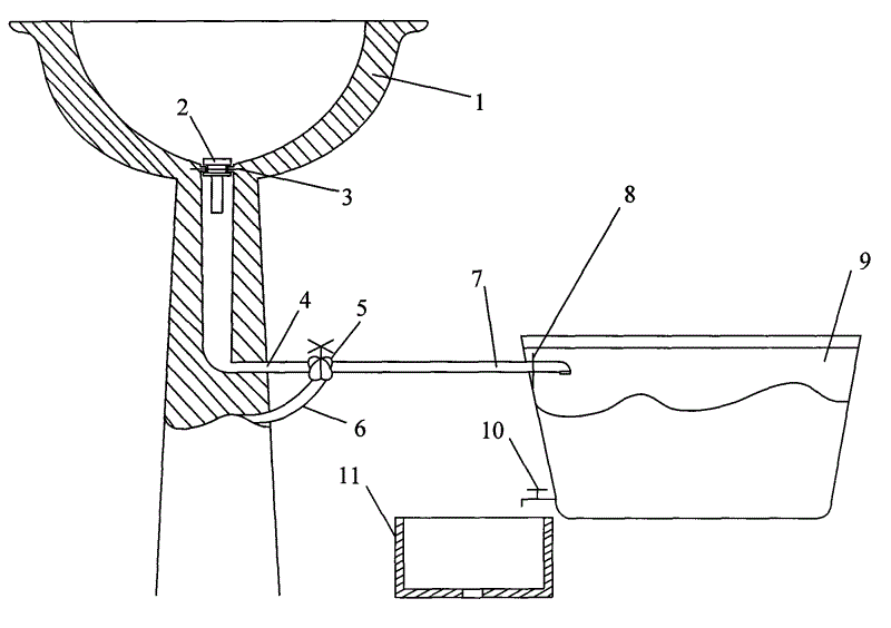
Among the figure: 1. washbasin main body 2. pistons 3. screen pack a 4. gutters 5. three way cock 6. pipeline a7. pipeline b 8. screen pack b 9. storage tanks 10. water taps 11. tanks
The specific embodiment
Below in conjunction with the accompanying drawing and the specific embodiment the utility model is described in further detail:
A kind of Mousehold water saving washbasin for average family, restaurant and hotel design, can be saved living water use in a large number, and as shown in Figure 1, this device is made up of washbasin main body 1, gutter 4, three way cock 5, pipeline a6, pipeline b7 and storage tank 9; Three way cock 5 is used for switching the routing of water drainage of washbasin main body 1, when three way cock 5 is pulled an angle, just can make the current direction storage tank 9 in the gutter 4, when pulling another angle, and the following mouth of a river of the current direction washbasin main body 1 in can gutter 4.Storage tank 9 is used for storing water quality living water use preferably, for user's recycling.
The hand basin bottom part of described washbasin main body 1 is equipped with piston 2, and the piston place is placed with screen pack a3, and filtering enters the impurity in the gutter 4.The discharge ends of washbasin main body 1 connects gutter 4, gutter 4 connects the water inlet of three way cock 5, after sanitary sewage enters gutter 4 by washbasin main body 1, sewage enters the water inlet of three way cock 5, the flow direction by three way cock 5 control sewage, two delivery ports of three way cock 5 are connecting pipe a6 and pipeline b7 respectively, and pipeline a6 is connected to the following mouth of a river of washbasin main body 1; Pipeline b7 is connected to the top of storage tank 9 inside, and after storage tank 9 was expired, promptly the liquid level in the storage tank 9 was more than the delivery port of pipeline b7, and according to the principle of linker, water can not enter storage tank 9.
When twisting three way cock 5 during to the angle of storage tank 9, can open the path of gutter 4, and close the path of gutter 4 to pipeline a6 to storage tank 9, at this moment when water quality preferably sewage flow into from gutter 4, can make water quality preferably water flow into storage tank 9.The delivery port of pipeline b7 is downward, and delivery port is placed plug-in screen pack b8, is used for the impurity that filtering discharges, and can easily screen pack b8 be pulled down at any time and unpick and wash.
Water tap 10 is installed in the bottom side of described storage tank 9, when opening water tap 10, the water quality in the storage tank 9 water preferably flows out, can under tank 11 in wash cleaning activity such as mop, flushing addle is later directly discharged by the drain hole of bottom of gullet, satisfies the needs of daily housework.
When twisting three way cock 5 arrives the angle of washbasin main body 1, can open the path of gutter 4 to washbasin main body 1, and close the path of gutter 4 to storage tank 9, at this moment work as the relatively poor sewage of water quality and flow into the following mouth of a river that can make the relatively poor sewage of water quality flow into washbasin main body 1, directly discharge by sewer from gutter 4; Also can make pipeline a6 be connected to the following mouth of a river of toilet, directly discharge, play the effect of flush toilet like this by sewer.
Described washbasin main body 1 can be designed to one with storage tank 9, but also otherwise designed storage tank 9 is installed in the redundant space place under the washbasin main body 1 again.

Claims (4)

1, a kind of Mousehold water saving washbasin is characterized in that, is made up of washbasin main body, gutter, three way cock, pipeline a, pipeline b and storage tank; Three way cock is used for switching the routing of water drainage of washbasin, and storage tank is used for storing water quality living water use preferably; The discharge ends of washbasin main body connects gutter, and gutter connects the water inlet of three way cock, and two delivery ports of three way cock are connecting pipe a and pipeline b respectively, and pipeline a is connected to down the mouth of a river, and pipeline b is connected to the top of storage tank inside.
2, a kind of Mousehold water saving washbasin according to claim 1, it is characterized in that: the delivery port of described pipeline b is downward, and delivery port is placed the impurity that plug-in screen pack b filtering is discharged.
3, a kind of Mousehold water saving washbasin according to claim 1, it is characterized in that: the hand basin bottom part of described washbasin main body is equipped with piston, and the piston place is placed with screen pack a, and filtering enters the impurity in the gutter.
4, a kind of Mousehold water saving washbasin according to claim 1, it is characterized in that: described washbasin main body can be designed to one with storage tank, but also otherwise designed storage tank is installed in the redundant space place under the washbasin main body again.
CNU2009201057139U 2009-03-04 2009-03-04 Household water saving hand sink Expired - Fee Related CN201367624Y (en)

Priority Applications (1)

Application Number Priority Date Filing Date Title
CNU2009201057139U CN201367624Y (en) 2009-03-04 2009-03-04 Household water saving hand sink

Applications Claiming Priority (1)

Application Number Priority Date Filing Date Title
CNU2009201057139U CN201367624Y (en) 2009-03-04 2009-03-04 Household water saving hand sink

Publications (1)

Publication Number Publication Date
CN201367624Y true CN201367624Y (en) 2009-12-23

Family

ID=41486517

Family Applications (1)

Application Number Title Priority Date Filing Date
CNU2009201057139U Expired - Fee Related CN201367624Y (en) 2009-03-04 2009-03-04 Household water saving hand sink

Country Status (1)

Country Link
CN (1) CN201367624Y (en)

Cited By (2)

* Cited by examiner, † Cited by third party
Publication number Priority date Publication date Assignee Title
CN102619271A (en) * 2012-03-23 2012-08-01 吴建生 Urine and water separate discharge urinal
CN103898953A (en) * 2014-04-15 2014-07-02 王清欢 Water outlet pipe anti-blocking mechanism for water tank

Cited By (2)

* Cited by examiner, † Cited by third party
Publication number Priority date Publication date Assignee Title
CN102619271A (en) * 2012-03-23 2012-08-01 吴建生 Urine and water separate discharge urinal
CN103898953A (en) * 2014-04-15 2014-07-02 王清欢 Water outlet pipe anti-blocking mechanism for water tank

Similar Documents

Publication Publication Date Title
CN202298789U (en) Automatic water saving system device
CN201367624Y (en) Household water saving hand sink
CN202202382U (en) Intelligent water saving device
CN201056736Y (en) Household water-saving wash basin
CN207727649U (en) A kind of use in toilet water-saving device
CN201649163U (en) Flushing system for recycling sanitary wastewater and rainwater in residential building
CN201512830U (en) Multifunctional kitchen and bathroom water saving device
CN201212185Y (en) water saving toilet
CN2435434Y (en) Domestic waste water purifying and using device
CN204983041U (en) Water saving system is recycled in classification of bathroom sanitary wastewater
CN202689113U (en) Household multifunctional water-saving tank
CN202544035U (en) Water circulating water-saving flushing system for bathroom
CN101372837A (en) Residential Water Saving System
CN201713897U (en) Water saving closestool
CN201794118U (en) Water saving device
CN201043287Y (en) Integral water saving device of washbowl and water storage tank
CN2866640Y (en) Domestic water cycle water saving device
CN2934393Y (en) Water-saving toilet
CN202530523U (en) Novel environment-friendly and water-saving intelligent control system for house wastewater reuse
CN205530501U (en) Water recycling apparatus washes one's face and rinses one's mouth in kitchen
CN2825764Y (en) Secondary utilization apparatus for domestic water
CN202273305U (en) Water closet
CN2491489Y (en) Water saving toilet utensil
CN203247655U (en) Household water-saving system
CN201232233Y (en) Water-saving device for domestic drainage

Legal Events

Date Code Title Description
C14 Grant of patent or utility model
GR01 Patent grant
C17 Cessation of patent right
CF01 Termination of patent right due to non-payment of annual fee

Granted publication date: 20091223

Termination date: 20110304