CN201358188Y - Sewage treatment device with integrated fluidized beds and fixed beds - Google Patents
Sewage treatment device with integrated fluidized beds and fixed beds Download PDFInfo
- Publication number
- CN201358188Y CN201358188Y CNU2009200664083U CN200920066408U CN201358188Y CN 201358188 Y CN201358188 Y CN 201358188Y CN U2009200664083 U CNU2009200664083 U CN U2009200664083U CN 200920066408 U CN200920066408 U CN 200920066408U CN 201358188 Y CN201358188 Y CN 201358188Y
- Authority
- CN
- China
- Prior art keywords
- reaction
- tanks
- carrier
- fluidized
- reaction tank
- Prior art date
- Legal status (The legal status is an assumption and is not a legal conclusion. Google has not performed a legal analysis and makes no representation as to the accuracy of the status listed.)
- Expired - Fee Related
Links
Images
Classifications
-
- Y—GENERAL TAGGING OF NEW TECHNOLOGICAL DEVELOPMENTS; GENERAL TAGGING OF CROSS-SECTIONAL TECHNOLOGIES SPANNING OVER SEVERAL SECTIONS OF THE IPC; TECHNICAL SUBJECTS COVERED BY FORMER USPC CROSS-REFERENCE ART COLLECTIONS [XRACs] AND DIGESTS
- Y02—TECHNOLOGIES OR APPLICATIONS FOR MITIGATION OR ADAPTATION AGAINST CLIMATE CHANGE
- Y02W—CLIMATE CHANGE MITIGATION TECHNOLOGIES RELATED TO WASTEWATER TREATMENT OR WASTE MANAGEMENT
- Y02W10/00—Technologies for wastewater treatment
- Y02W10/10—Biological treatment of water, waste water, or sewage
Landscapes
- Biological Treatment Of Waste Water (AREA)
Abstract
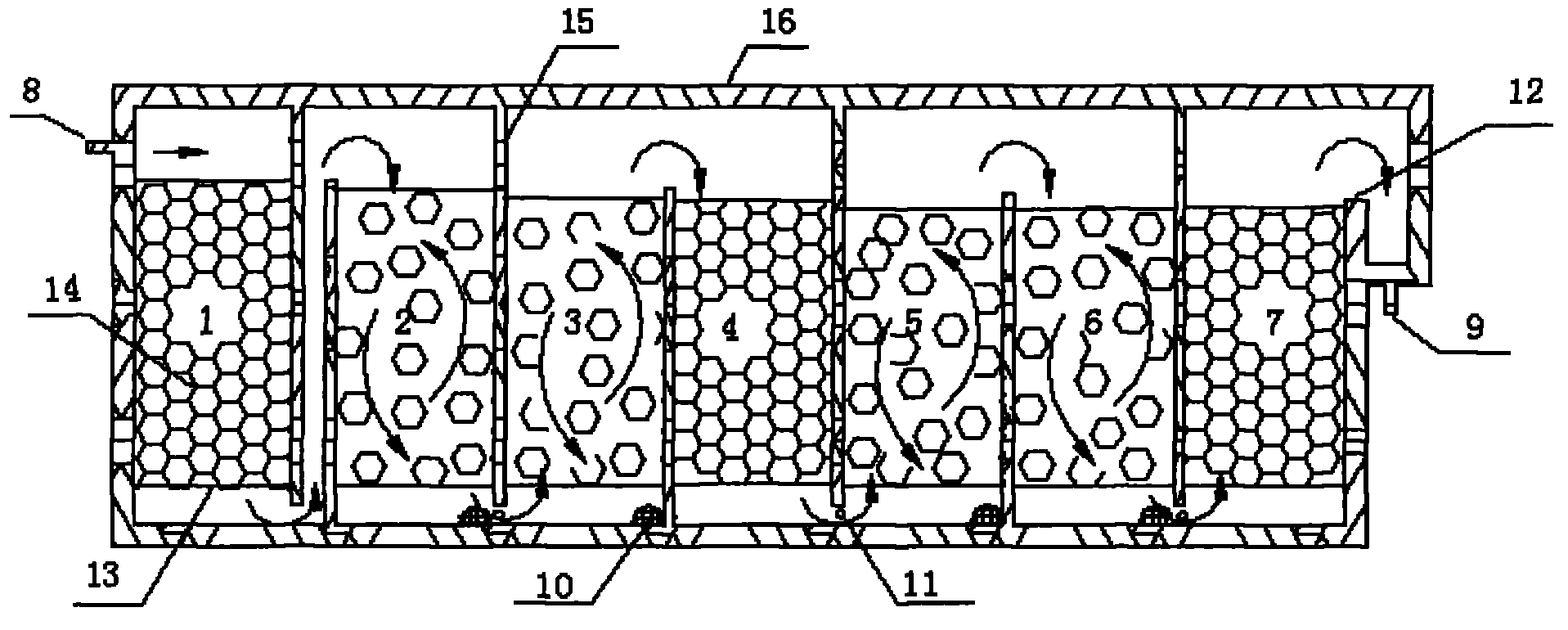
本实用新型公开一种流化床——固定床一体化污水处理装置。它包括一个池体,池体中加装竖向隔板,将池体分割成7个串联的反应池,各相邻反应池的前反应池下部和后反应池上部相互连通,其中第2、3、5和6反应池为好氧流化床,池内部分填充多孔弹性载体,反应池底部一侧布置曝气装置,在空气的带动下池中的悬浮载体呈流化状态;第1、4和7反应池为固定床,池内填满多孔弹性载体,载体为固定状态。所有反应池上下两端各设一块多孔隔离板,各反应池底部均设有排泥口,第1反应池上部有进水口,第1、3、5和7反应池上部有溢流堰,第7反应池上部有排水口。本处理装置具有处理效率高,运行能耗低,抗冲击负荷能力强,剩余污泥少,占地面积少,管理方便等优点,特别适合应用于小型的污水处理领域。
The utility model discloses a fluidized bed-fixed bed integrated sewage treatment device. It consists of a pool body, in which a vertical partition is installed to divide the pool body into seven reaction pools connected in series, and the lower part of the front reaction pool and the upper part of the rear reaction pool of each adjacent reaction pool are connected to each other. 3, 5 and 6 reaction tanks are aerobic fluidized beds, the tanks are partially filled with porous elastic carriers, and an aeration device is arranged on the bottom side of the reaction tanks, and the suspended carriers in the tanks are in a fluidized state driven by air; 7. The reaction tank is a fixed bed, and the tank is filled with a porous elastic carrier, and the carrier is in a fixed state. There is a porous isolation plate at the upper and lower ends of all reaction tanks, and a mud discharge port is provided at the bottom of each reaction tank. The upper part of the first reaction tank has a water inlet, and the upper part of the first, third, fifth and seventh reaction tanks has overflow weirs. 7 There is a water outlet on the upper part of the reaction pool. The treatment device has the advantages of high treatment efficiency, low operating energy consumption, strong impact load resistance, less residual sludge, less floor space, convenient management, etc., and is especially suitable for small sewage treatment fields.
Description
技术领域 technical field
本实用新型涉及一种污水处理装置,具体地说是一种流化床——固定床一体化污水处理装置。The utility model relates to a sewage treatment device, in particular to a fluidized bed-fixed bed integrated sewage treatment device.
背景技术 Background technique
随着经济的发展,工业化,城市化进程的加快,我国的水污染问题日趋严重。人们在生活和生产过程中产生了大量的生活污水及各种工业废水。这些废水若不加以处理或者处理不达标而直接排放,将会引起严重的水体污染。然而市政排水管网的改造,扩展及城市污水处理厂的建设严重滞后,大部分的污水未经处理直接排入水体,污染严重,新建的居民小区大多远离城市或位于市政排水管网未能覆盖的地区,同时,由于农村水环境意识淡薄和治理资金短缺,农村地区的生活污水未经处理就直接排放也是水体水质下降的重要原因。With the development of economy, industrialization, and the acceleration of urbanization, the problem of water pollution in our country is becoming more and more serious. People produce a large amount of domestic sewage and various industrial wastewater in the process of life and production. If these wastewaters are not treated or are not treated up to standard and discharged directly, it will cause serious water pollution. However, the transformation and expansion of the municipal drainage pipe network and the construction of urban sewage treatment plants are seriously lagging behind. Most of the sewage is directly discharged into the water body without treatment, causing serious pollution. At the same time, due to the weak awareness of rural water environment and the shortage of management funds, the direct discharge of domestic sewage in rural areas without treatment is also an important reason for the decline in water quality.
此时应用分散式小型污水处理装置可有效地处理这些水并达标排放,从而减轻水体的污染程度。因此只有尽快研制出真正高效,低耗,造价及运营费用低廉的小型污水处理设备,才能适应我国中小城镇和新农村建设的需要。At this time, the application of decentralized small sewage treatment devices can effectively treat the water and discharge it up to the standard, thereby reducing the pollution of the water body. Therefore, only by developing small-scale sewage treatment equipment with high efficiency, low consumption, low cost and low operating costs as soon as possible, can we adapt to the needs of my country's small and medium-sized towns and new rural construction.
在目前的污水处理技术中,为了达到脱氮除磷的目标,所采用的工艺大多为A2/O及其各种改良形式,但是这种工艺需要有硝化液及污泥的回流设备,要想维持较高的脱氮除磷效果,就必须加大回流量,这样势必增加污水厂日常运行费用,并且实际的工程应用中,该工艺流程复杂,运行繁琐,在小型的污水处理应用中存在一定的缺陷。In the current sewage treatment technology, in order to achieve the goal of denitrification and phosphorus removal, most of the processes used are A 2 /O and its various improved forms, but this process requires reflux equipment for nitrifying liquid and sludge. If you want to maintain a high denitrification and phosphorus removal effect, you must increase the return flow, which will inevitably increase the daily operating costs of the sewage plant, and in actual engineering applications, the process is complicated and cumbersome, and there are problems in small sewage treatment applications. Certain flaws.
发明内容 Contents of the invention
本实用新型为了克服传统技术的不足,结合生物膜法的优点,提供了一种流化床——固定床一体化污水处理装置。省掉了复杂的混合液及污泥回流系统,降低了污水处理过程中的能耗,减少了剩余污泥量和占地面积,提高了污水处理效率。In order to overcome the shortcomings of the traditional technology, the utility model provides a fluidized bed-fixed bed integrated sewage treatment device in combination with the advantages of the biofilm method. The complex mixed liquor and sludge return system is omitted, the energy consumption in the process of sewage treatment is reduced, the amount of remaining sludge and the occupied area are reduced, and the efficiency of sewage treatment is improved.
为了达到上述目的,本实用新型采用下述技术方案:一种流化床——固定床一体化污水处理装置,它包括一个池体,其特征在于所述池体中加装竖向隔板,将池体分割成7个串联的反应池,各相邻反应池的前反应池下部和后反应池上部相互连通,废水在反应池内沿隔板上下流动,使得水流总体上呈上下锯齿形绕流,但整个池体中的水流则以较慢的速度作水平推流。其中第2、3、5和6反应池为好氧流化床,池内部分填充多孔弹性载体,体积填充率为26%-46%,反应池底部一侧布置曝气装置,在空气的带动下池中的悬浮载体呈流化状态;第1、4和7反应池为固定床,池内填满多孔弹性载体,体积填充率为95%-100%,载体为固定状态,反应池中呈现厌氧缺氧状态。所有反应池上下两端各设一块多孔隔离板,固定载体防止载体的流失。各反应池底部均设有排泥口,可定期从各反应池中排泥,第一反应池上部有进水口,第1、3、5和7反应池上部有溢流堰,第7反应池上部有排水口。为了保证最终的溢流出水,在第1,2反应池之间设置一个改变流向的导流隔间,为了防止污水在各反应池之间发生倒流,保证污水在重力的作用下向前水平推流,反应池中带有溢流堰的隔板沿着水流的方向依次降低。In order to achieve the above object, the utility model adopts the following technical scheme: a fluidized bed-fixed bed integrated sewage treatment device, which includes a pool body, which is characterized in that a vertical partition is installed in the pool body, The pool body is divided into 7 reaction pools connected in series. The lower part of the front reaction pool and the upper part of the rear reaction pool of each adjacent reaction pool are connected to each other, and the waste water flows up and down along the partition in the reaction pool, so that the water flow is generally zigzag up and down. , but the water flow in the whole pool is pushed horizontally at a slower speed. Among them, the No. 2, No. 3, No. 5 and No. 6 reaction pools are aerobic fluidized beds. The pools are partially filled with porous elastic carriers, and the volume filling rate is 26%-46%. Aeration devices are arranged on the bottom side of the reaction pools. The suspended carrier in the tank is in a fluidized state; the first, fourth and seventh reaction tanks are fixed beds, and the tanks are filled with porous elastic carriers, the volume filling rate is 95%-100%, the carrier is in a fixed state, and the reaction tanks are anaerobic. oxygen state. A porous isolation plate is installed at the upper and lower ends of all reaction pools to fix the carrier to prevent the loss of the carrier. There are mud outlets at the bottom of each reaction tank, which can discharge mud from each reaction tank regularly. There is a water inlet on the upper part of the first reaction tank, overflow weirs on the upper part of the first, third, fifth and seventh reaction tanks, and the upper part of the seventh reaction tank There is a drain at the bottom. In order to ensure the final overflow water, a diversion compartment for changing the flow direction is set between the first and second reaction tanks. In order to prevent the sewage from flowing backwards between the reaction tanks and ensure that the sewage is pushed forward horizontally under the action of gravity, The partitions with overflow weirs in the reaction tank are lowered sequentially along the direction of water flow.
相对于现有的技术,本实用新型具有以下实质性特点和优点:Compared with the prior art, the utility model has the following substantive features and advantages:
①不需要专门的混合液和污泥回流设备,运行能耗低① No need for special mixed liquor and sludge return equipment, low energy consumption for operation
在装置的运行成本中,能耗费用所占的比例较大,减少能耗是降低运行成本的关键。本处理装置由于采用了生物膜的工艺方式,装置内设置多孔弹性载体,反应器内具有较高的微生物浓度,通过控制反应器内的溶解氧水平,可以在生物膜内部形成丰富的好氧厌氧微环境,并且较长的污泥龄也有利于硝化菌的生长,易于实现高效的同步硝化反硝化脱氮。通过在池体中设置隔板,好氧区和缺氧区交替进行,又为氮磷的高效去除创造了良好的环境,因此可以省去专门的回流装置。采用生物膜法同时可以省掉缺氧区所需要的搅拌设备,整个装置具备低能耗的特征。In the operating cost of the device, energy consumption accounts for a relatively large proportion, and reducing energy consumption is the key to reducing operating costs. Since the treatment device adopts the biofilm process, the device is equipped with a porous elastic carrier, and the reactor has a high concentration of microorganisms. By controlling the dissolved oxygen level in the reactor, abundant aerobic anaerobic bacteria can be formed inside the biofilm. Oxygen microenvironment, and longer sludge age is also conducive to the growth of nitrifying bacteria, and it is easy to achieve efficient simultaneous nitrification and denitrification denitrification. By setting partitions in the pool body, the aerobic zone and the anoxic zone are alternately performed, and a good environment is created for the efficient removal of nitrogen and phosphorus, so a special reflux device can be omitted. The biofilm method can also save the stirring equipment required in the anoxic zone, and the whole device has the characteristics of low energy consumption.
②流化床和固定床间隔运行,处理效率高,抗冲击负荷能力强②Fluidized bed and fixed bed run at intervals, with high processing efficiency and strong impact load resistance
本装置好氧池中的悬浮载体随着曝气所产生的气体形成流化床,污水中的有机物和溶解氧在流化床内由于紊流的水力条件而迅速的扩散到生物载体的周围,扩大了生物体与污水的接触面积和污水与生物膜之间的相对运动,促进有机物被载体生物膜吸附,同时也为有机物的降解创造了必要的条件,生化反应的速率较高,抗冲击负荷能力强,并且不存在堵塞的问题,但是出水中容易夹带有大量脱落的生物膜碎片。固定床除了具有过滤的作用以外,经过好氧流化池处理过后的污水中含有大量的溶解氧,使得整个反应器处于缺氧厌氧的状态,有利于反硝化反应的进行,进一步提高了整个处理装置去氮的性能。好氧流化床和固定床的有机组合使得装置对污水具有较高的处理效率。The suspended carrier in the aerobic tank of this device forms a fluidized bed with the gas generated by aeration, and the organic matter and dissolved oxygen in the sewage rapidly diffuse to the surroundings of the biological carrier due to the turbulent hydraulic conditions in the fluidized bed. It expands the contact area between organisms and sewage and the relative movement between sewage and biofilm, promotes the adsorption of organic matter by the carrier biofilm, and also creates necessary conditions for the degradation of organic matter. The rate of biochemical reactions is high and the impact load is resistant. The capacity is strong, and there is no problem of clogging, but the effluent water is easy to carry a large number of biofilm fragments that fall off. In addition to the filtering function of the fixed bed, the sewage treated by the aerobic fluidization tank contains a large amount of dissolved oxygen, which makes the whole reactor in an anoxic and anaerobic state, which is conducive to the denitrification reaction and further improves the overall efficiency. Nitrogen removal performance of the treatment unit. The organic combination of aerobic fluidized bed and fixed bed makes the device have higher treatment efficiency for sewage.
③剩余污泥量少,占地面积少,管理方便③The amount of residual sludge is small, the floor area is small, and the management is convenient
处理装置中设置多孔弹性载体,并且采用了多个反应池串联的模式,加长了反应器中的污泥停留时间以及较长的微生物食物链减少了污泥产量。此一体化反应装置具有高浓度的微生物,并且利用反应器共壁,大大减少了设备的占地面积。进出水连续流,具有操作管理的方便的特点。The treatment device is equipped with a porous elastic carrier, and a series of multiple reaction tanks are used in series, which prolongs the sludge residence time in the reactor and the longer microbial food chain reduces the sludge production. This integrated reaction device has a high concentration of microorganisms, and utilizes the common wall of the reactor, which greatly reduces the occupied area of the equipment. The continuous flow of water in and out has the characteristics of convenient operation and management.
附图说明Description of drawings
图1为本实用型的结构原理图Fig. 1 is the structural schematic diagram of the utility model
图2为本实用新型的立体结构示意图Fig. 2 is the three-dimensional structure schematic diagram of the present utility model
具体实施方式 Detailed ways
参见图1,图2,本实用新型的一个优选实施例结合附图详述如下:流化床——固定床一体化污水处理装置,它包括一个池体16,池体16内设置竖向隔板15,将池体分割为大小相等的7个串联的反应池1-7,各相邻反应池的前反应池下部和后反应池上部相互连通。其中,第1、4和7反应池为好氧流化池,内设多孔弹性载体14,载体的体积填充率为26%-46%,流化池的底部一侧设置条形曝气装置10。第2、3、5和6反应池为固定池,内设多孔弹性载体14,载体的体积填充率为95%-100%。每个反应池的上下两端各设有一块多孔隔离板13,防止载体的流失,底部各设有排泥口,可以定期排泥。污水由进水口8进入到反应器中,顺序绕流经过各个反应器,向前水平推流,处理后的水经过溢流堰12溢流出水,最终经过排水口9排出装置。Referring to Fig. 1, Fig. 2, a preferred embodiment of the present utility model is described in detail as follows in conjunction with accompanying drawing: fluidized bed - fixed bed integrated sewage treatment device, it comprises a
本发明采用流化床和固定床间隔运行的方式,具有独特的优点,不仅使得装置具有较强的有机物,氮,磷去除性能,而且还保证了出水中的SS处于较低的水平。装置中所采用的多孔弹性载体为聚氨酯材料,立方体结构,载体挂膜后的比重和水相似,在水中呈悬浮状态,并且具有比表面积大,挂膜容易,价格低廉等特点。The invention adopts the mode of interval operation between fluidized bed and fixed bed, which has unique advantages, not only makes the device have strong organic matter, nitrogen and phosphorus removal performance, but also ensures that the SS in the effluent is at a lower level. The porous elastic carrier used in the device is a polyurethane material with a cubic structure. The specific gravity of the carrier is similar to that of water after being filmed, and it is in a suspended state in water. It has the characteristics of large specific surface area, easy filming, and low price.
本实用新型进行了处理模拟生活污水的实验研究,其结果表明:在25-29℃的温度下,当废水COD浓度为350-450mg/L,氨氮浓度为30-35mg/L,总磷浓度为1.6-2.6mg/L,装置的水力停留时间为12小时,COD的平均去除率为95.7%,氨氮的平均去除率为97.1%,总氮的平均去除率为51.4%,总磷的平均去除率为63.5%,出水中的SS低于20mg/L,符合国家城市生活污水二级处理一级排放标准。The utility model has carried out the experimental research of treating simulated domestic sewage, and the results show that: at a temperature of 25-29°C, when the wastewater COD concentration is 350-450mg/L, the ammonia nitrogen concentration is 30-35mg/L, and the total phosphorus concentration is 1.6-2.6mg/L, the hydraulic retention time of the device is 12 hours, the average removal rate of COD is 95.7%, the average removal rate of ammonia nitrogen is 97.1%, the average removal rate of total nitrogen is 51.4%, and the average removal rate of total phosphorus It is 63.5%, and the SS in the effluent is lower than 20mg/L, which meets the national urban domestic sewage secondary treatment primary discharge standard.
Claims (3)
Priority Applications (1)
| Application Number | Priority Date | Filing Date | Title |
|---|---|---|---|
| CNU2009200664083U CN201358188Y (en) | 2009-01-04 | 2009-01-04 | Sewage treatment device with integrated fluidized beds and fixed beds |
Applications Claiming Priority (1)
| Application Number | Priority Date | Filing Date | Title |
|---|---|---|---|
| CNU2009200664083U CN201358188Y (en) | 2009-01-04 | 2009-01-04 | Sewage treatment device with integrated fluidized beds and fixed beds |
Publications (1)
| Publication Number | Publication Date |
|---|---|
| CN201358188Y true CN201358188Y (en) | 2009-12-09 |
Family
ID=41423949
Family Applications (1)
| Application Number | Title | Priority Date | Filing Date |
|---|---|---|---|
| CNU2009200664083U Expired - Fee Related CN201358188Y (en) | 2009-01-04 | 2009-01-04 | Sewage treatment device with integrated fluidized beds and fixed beds |
Country Status (1)
| Country | Link |
|---|---|
| CN (1) | CN201358188Y (en) |
Cited By (5)
| Publication number | Priority date | Publication date | Assignee | Title |
|---|---|---|---|---|
| CN103570126A (en) * | 2012-08-08 | 2014-02-12 | 天津科技大学 | Fixed bed and moving bed biological membrane combined reaction device |
| CN104229980A (en) * | 2014-09-23 | 2014-12-24 | 王伟 | Combined biologic bed and sewage treatment method |
| CN110981090A (en) * | 2019-12-10 | 2020-04-10 | 煤科集团杭州环保研究院有限公司 | A kind of domestic sewage treatment device and method of coal mine industrial square |
| CN111392874A (en) * | 2019-09-12 | 2020-07-10 | 浙江海洋大学 | High ammonia nitrogen autotrophic nitrogen removal device |
| CN113666499A (en) * | 2021-08-05 | 2021-11-19 | 广州昭合环保科技有限公司 | An air-stripping internal circulation mixed biological bed water treatment system |
-
2009
- 2009-01-04 CN CNU2009200664083U patent/CN201358188Y/en not_active Expired - Fee Related
Cited By (8)
| Publication number | Priority date | Publication date | Assignee | Title |
|---|---|---|---|---|
| CN103570126A (en) * | 2012-08-08 | 2014-02-12 | 天津科技大学 | Fixed bed and moving bed biological membrane combined reaction device |
| CN104229980A (en) * | 2014-09-23 | 2014-12-24 | 王伟 | Combined biologic bed and sewage treatment method |
| CN104229980B (en) * | 2014-09-23 | 2015-11-25 | 王伟 | A kind of sewage water treatment method using combined biological bed |
| CN111392874A (en) * | 2019-09-12 | 2020-07-10 | 浙江海洋大学 | High ammonia nitrogen autotrophic nitrogen removal device |
| CN110981090A (en) * | 2019-12-10 | 2020-04-10 | 煤科集团杭州环保研究院有限公司 | A kind of domestic sewage treatment device and method of coal mine industrial square |
| CN110981090B (en) * | 2019-12-10 | 2022-02-11 | 煤科集团杭州环保研究院有限公司 | Coal mine industry square domestic sewage treatment device and method |
| CN113666499A (en) * | 2021-08-05 | 2021-11-19 | 广州昭合环保科技有限公司 | An air-stripping internal circulation mixed biological bed water treatment system |
| CN113666499B (en) * | 2021-08-05 | 2023-08-29 | 广州昭合环保科技有限公司 | Air-lift type internal circulation mixed biological bed water treatment system |
Similar Documents
| Publication | Publication Date | Title |
|---|---|---|
| CN102276103B (en) | Integrated in-situ denitrification aquaculture wastewater biological treatment device and treatment method | |
| CN101633531B (en) | A sewage treatment reactor with alternate operation of intermittent flow/continuous flow | |
| CN102320689B (en) | Continuous flow granular sludge reactor and running method | |
| CN102001787B (en) | Anaerobic microporous aeration oxidation ditch reactor and sewage treatment method | |
| CN102001785B (en) | Compound biological film integrated reactor for treatment of domestic sewage and application method | |
| CN201952322U (en) | Anaerobic micropore aeration oxidation ditch reactor | |
| CN101857344A (en) | Method of treating domestic sewage with light ceramsite suspended packing moving bed | |
| CN105084650B (en) | Micro- aeration cycle integrated sewage water biological and ecological processing system and method | |
| CN102503044A (en) | Recycling system for treating community wastewater through combining membrane bioreactor and constructed wetland | |
| CN108046540A (en) | A kind of synchronous nitration and denitrification sewage water treatment method and its device | |
| CN203728643U (en) | Circulating type AO moving bed bio-membrane reactor | |
| CN101633545B (en) | Integrated bio-ecological collaborative sewage treatment method and reactor | |
| CN201358188Y (en) | Sewage treatment device with integrated fluidized beds and fixed beds | |
| CN215712455U (en) | Sewage treatment system | |
| CN201857327U (en) | Composite integral biological membrane reactor for domestic sewage treatment | |
| CN203513359U (en) | Integrated bioreactor for treating industrial wastewater and domestic wastewater | |
| CN209872514U (en) | Composite ecological reactor based on A2O | |
| CN102951731A (en) | Airlift oxidation ditch type membrane bioreactor | |
| CN202744423U (en) | Integrated bio-contact oxidation device for treating rural domestic sewage | |
| CN101215044A (en) | Multistage circulation composite sewage treatment method | |
| CN201999792U (en) | Internal circulation moving bed bioreactor | |
| CN2616530Y (en) | Micro-power domestic sewage treatment integrating apparatus | |
| CN101269879B (en) | Zanjon type gas-lift stream-pull tridimensional circulation type inversion A<2>O integral co-construction oxidation ditch | |
| CN101386446B (en) | An air-lift baffled internal circulation bioreactor and its application method | |
| CN109020045A (en) | A kind of integration distributing rural domestic sewage treating device |
Legal Events
| Date | Code | Title | Description |
|---|---|---|---|
| C14 | Grant of patent or utility model | ||
| GR01 | Patent grant | ||
| C17 | Cessation of patent right | ||
| CF01 | Termination of patent right due to non-payment of annual fee |
Granted publication date: 20091209 Termination date: 20110104 |
