CN201347263Y - Solar compression dustbin - Google Patents
Solar compression dustbin Download PDFInfo
- Publication number
- CN201347263Y CN201347263Y CNU2008201531760U CN200820153176U CN201347263Y CN 201347263 Y CN201347263 Y CN 201347263Y CN U2008201531760 U CNU2008201531760 U CN U2008201531760U CN 200820153176 U CN200820153176 U CN 200820153176U CN 201347263 Y CN201347263 Y CN 201347263Y
- Authority
- CN
- China
- Prior art keywords
- garbage
- cavity
- opening
- box
- solar
- Prior art date
- Legal status (The legal status is an assumption and is not a legal conclusion. Google has not performed a legal analysis and makes no representation as to the accuracy of the status listed.)
- Expired - Fee Related
Links
- 230000006835 compression Effects 0.000 title claims abstract description 48
- 238000007906 compression Methods 0.000 title claims abstract description 48
- 239000010813 municipal solid waste Substances 0.000 claims abstract description 140
- 230000006698 induction Effects 0.000 claims abstract description 11
- 239000002699 waste material Substances 0.000 claims description 2
- 238000000034 method Methods 0.000 abstract description 3
- 238000004064 recycling Methods 0.000 abstract description 2
- 238000006243 chemical reaction Methods 0.000 description 3
- 238000011161 development Methods 0.000 description 3
- 230000005540 biological transmission Effects 0.000 description 2
- 230000000694 effects Effects 0.000 description 2
- 230000007613 environmental effect Effects 0.000 description 2
- 239000004744 fabric Substances 0.000 description 2
- 239000011521 glass Substances 0.000 description 2
- 239000002184 metal Substances 0.000 description 2
- 239000004033 plastic Substances 0.000 description 2
- 235000017166 Bambusa arundinacea Nutrition 0.000 description 1
- 235000017491 Bambusa tulda Nutrition 0.000 description 1
- 241001330002 Bambuseae Species 0.000 description 1
- 235000015334 Phyllostachys viridis Nutrition 0.000 description 1
- 206010035148 Plague Diseases 0.000 description 1
- 241000607479 Yersinia pestis Species 0.000 description 1
- 238000013475 authorization Methods 0.000 description 1
- 239000011425 bamboo Substances 0.000 description 1
- 230000007812 deficiency Effects 0.000 description 1
- 238000010586 diagram Methods 0.000 description 1
- 239000010791 domestic waste Substances 0.000 description 1
- 235000013399 edible fruits Nutrition 0.000 description 1
- 229910052500 inorganic mineral Inorganic materials 0.000 description 1
- 239000010806 kitchen waste Substances 0.000 description 1
- 238000004519 manufacturing process Methods 0.000 description 1
- 239000011707 mineral Substances 0.000 description 1
- 238000012986 modification Methods 0.000 description 1
- 230000004048 modification Effects 0.000 description 1
- 239000010815 organic waste Substances 0.000 description 1
- 239000000123 paper Substances 0.000 description 1
- 239000010893 paper waste Substances 0.000 description 1
- 238000012545 processing Methods 0.000 description 1
- 230000000717 retained effect Effects 0.000 description 1
- 239000000126 substance Substances 0.000 description 1
- 239000010920 waste tyre Substances 0.000 description 1
- 239000002023 wood Substances 0.000 description 1
Images
Classifications
-
- Y—GENERAL TAGGING OF NEW TECHNOLOGICAL DEVELOPMENTS; GENERAL TAGGING OF CROSS-SECTIONAL TECHNOLOGIES SPANNING OVER SEVERAL SECTIONS OF THE IPC; TECHNICAL SUBJECTS COVERED BY FORMER USPC CROSS-REFERENCE ART COLLECTIONS [XRACs] AND DIGESTS
- Y02—TECHNOLOGIES OR APPLICATIONS FOR MITIGATION OR ADAPTATION AGAINST CLIMATE CHANGE
- Y02W—CLIMATE CHANGE MITIGATION TECHNOLOGIES RELATED TO WASTEWATER TREATMENT OR WASTE MANAGEMENT
- Y02W30/00—Technologies for solid waste management
- Y02W30/10—Waste collection, transportation, transfer or storage, e.g. segregated refuse collecting, electric or hybrid propulsion
Landscapes
- Refuse Receptacles (AREA)
- Processing Of Solid Wastes (AREA)
Abstract
本实用新型提供一种可分类处理垃圾的太阳能压缩垃圾箱,其特征是所述箱体侧上方设置有垃圾投放口,所述的箱体内设置有两个或多个互不相通的针对不同类型垃圾的分割式空间,所述分割式空间内设置有位于垃圾投放口下方的压缩装置和位于箱底的收集装置,所述箱体外侧下端分别设置有活动门板,所述垃圾投放口和压缩装置之间设置一底端设置有开口的空腔,所述空腔底端开口处设置有用于控制空腔开闭的感应装置。本实用新型能将垃圾进行简单分类,当落入压缩装置的垃圾达到一定重量后将被垃圾箱自动压缩成足够小体积,既方便可回收垃圾的回收,节省环卫工人对垃圾的分类处理程序,又可节省垃圾箱的空间,提高垃圾箱的使用效率。
The utility model provides a solar energy compressed garbage bin capable of sorting and treating garbage, which is characterized in that a garbage drop opening is arranged above the side of the box body, and two or more non-communicating trash bins for different types are arranged in the box body. A divided space for garbage. The divided space is provided with a compression device located below the garbage input port and a collection device located at the bottom of the box. The outer lower end of the box body is respectively provided with a movable door panel. Between the garbage input port and the compression device A cavity with an opening at the bottom end is provided between them, and an induction device for controlling the opening and closing of the cavity is provided at the opening at the bottom end of the cavity. The utility model can simply classify the garbage. When the garbage falling into the compression device reaches a certain weight, it will be automatically compressed into a small enough volume by the garbage box, which not only facilitates the recycling of recyclable garbage, but also saves sanitation workers from the garbage classification process. It can also save the space of the dustbin and improve the use efficiency of the dustbin.
Description
技术领域 technical field
本实用新型涉及一种太阳能压缩垃圾箱,确切的说是一种能将垃圾分类处理并利用太阳能供能自动压缩垃圾的垃圾箱。The utility model relates to a solar energy compressed garbage box, in particular to a garbage box which can classify garbage and use solar energy to automatically compress garbage.
背景技术 Background technique
垃圾是人类生产和生活活动的伴生物,随着社会的发展,城市生活垃圾的产量越来越大,城市生活垃圾问题已成为困扰全球各国城市发展的焦点与难点,也越来越受到重视。而生活垃圾是具开发潜力的、永不枯竭的“城市矿藏”,是“放错地方的资源”。据统计,目前生活垃圾中约70%为厨余垃圾、果皮等有机垃圾,20%为废纸、塑料类,约4%为玻璃,剩余的为金属、布类等。其中纸张、玻璃、金属、塑料等可作回收处理,有机易腐垃圾进行堆肥或生物处理,布、纸巾、废轮胎、竹木等焚烧处理。因此,其中的大部分物质都具有被资源化利用的可能。Garbage is an accompaniment of human production and living activities. With the development of society, the output of municipal solid waste is increasing. The problem of municipal solid waste has become the focus and difficulty that plagues the development of cities around the world, and it has also attracted more and more attention. Household garbage is an inexhaustible "urban mineral deposit" with development potential and a "misplaced resource". According to statistics, about 70% of domestic waste is kitchen waste, fruit peels and other organic waste, 20% is waste paper and plastic, about 4% is glass, and the rest is metal and cloth. Among them, paper, glass, metal, plastic, etc. can be recycled, organic perishable waste can be composted or biologically treated, and cloth, paper towels, waste tires, bamboo and wood can be incinerated. Therefore, most of the substances have the possibility of being utilized as resources.
现有的自动压缩垃圾桶主要是解决公共场所放置的传统垃圾桶不能满足垃圾过多而垃圾散落在垃圾桶周围的问题。中国专利CN201040655(授权公告日为2008年3月26日)提供一种多功能垃圾桶,采用太阳能功能,并及时将垃圾桶内的垃圾自动压缩打包收集,节省垃圾桶的使用空间。但是它并不能实现将垃圾分类处理。环卫工人仍需再次将垃圾进行分类处理,工作劳动强度相当大,这正是已有技术不足之处。The existing automatic compression trash can mainly solves the problem that the traditional trash cans placed in public places cannot satisfy the excessive garbage and the garbage is scattered around the trash can. Chinese patent CN201040655 (announcement date of authorization is March 26, 2008) provides a multi-functional garbage can, which adopts solar energy function, and automatically compresses and packs the garbage in the garbage can in time to save the use space of the garbage can. But it can't realize the sorting of garbage. Sanitation workers still need to classify the garbage again, and the labor intensity is quite high, which is the deficiency of the existing technology.
实用新型内容 Utility model content
本实用新型就是为了解决上述问题,克服已有的自动压缩垃圾桶对垃圾不能分类处理的问题,提供一种可分类处理垃圾的太阳能压缩垃圾箱。该实用新型适用于城市环保。The utility model aims at solving the above-mentioned problems, overcomes the problem that the existing automatic compression garbage bin cannot sort garbage, and provides a solar compressed garbage bin that can sort garbage. The utility model is suitable for urban environmental protection.
本实用新型所需要解决的技术问题,可以通过以下技术方案来实现:The technical problem to be solved by the utility model can be realized through the following technical solutions:
一种太阳能压缩垃圾箱,包括箱体、太阳能电池板、垃圾投放口、压缩装置和收集装置,其特征在于,所述箱体侧上方设置有针对不同类型垃圾的投放口;所述的箱体内设置有两个或多个互不相通的针对不同类型垃圾的分割式空间;所述分割式空间内设置有位于垃圾投放口下方的压缩装置和位于箱底的收集装置;所述太阳能电池板为自动压缩的供电电源;所述箱体外侧下端分别设置有门板。A solar energy compressed garbage bin, comprising a box body, a solar panel, a garbage drop-in opening, a compression device and a collection device, characterized in that, the upper side of the box body is provided with a drop-in opening for different types of garbage; There are two or more divided spaces for different types of garbage that are not connected to each other; the divided space is provided with a compression device located below the garbage input port and a collection device located at the bottom of the box; the solar panel is an automatic A compressed power supply; the lower ends of the outer sides of the box are respectively provided with door panels.
所述垃圾投放口和压缩装置之间设置一底端设置有开口的空腔,并在空腔底端开口处设置有用于控制空腔开闭的感应装置。A cavity with an opening at the bottom end is provided between the garbage delivery port and the compressing device, and an induction device for controlling opening and closing of the cavity is provided at the opening at the bottom end of the cavity.
所述互不相通的针对不同类型垃圾的分割式空间可以分为可回收垃圾收集空间和不可回收垃圾收集空间,还可以分为可回收利用垃圾收集空间、有机易腐垃圾收集空间和适于焚烧垃圾收集空间。The separated space for different types of garbage can be divided into recyclable garbage collection space and non-recyclable garbage collection space, and can also be divided into recyclable garbage collection space, organic perishable garbage collection space and suitable for incineration garbage collection space. Garbage collection space.
所述垃圾箱的外形可为圆形或方形。The shape of the dustbin can be round or square.
当经过分类的垃圾落入垃圾箱,达到一定重量后将被垃圾箱自动压缩成足够小体积,既方便可回收垃圾的回收,节省环卫工人对垃圾的分类处理程序,又可节省垃圾箱的空间,提高垃圾箱的使用效率。When the sorted garbage falls into the garbage bin, it will be automatically compressed into a small enough volume by the garbage bin after reaching a certain weight, which not only facilitates the recycling of recyclable garbage, saves sanitation workers' classification and processing procedures for garbage, but also saves the space of the garbage bin , Improve the use efficiency of the dustbin.
由于采用了上述技术方案,本实用新型具有结构简单,节省城市环卫成本,同时节能环保的优点。Due to the adoption of the above technical solution, the utility model has the advantages of simple structure, cost saving of urban sanitation, and energy saving and environmental protection.
附图说明 Description of drawings
以下结合附图和具体实施方式来进一步说明本实用新型。The utility model will be further described below in conjunction with the accompanying drawings and specific embodiments.
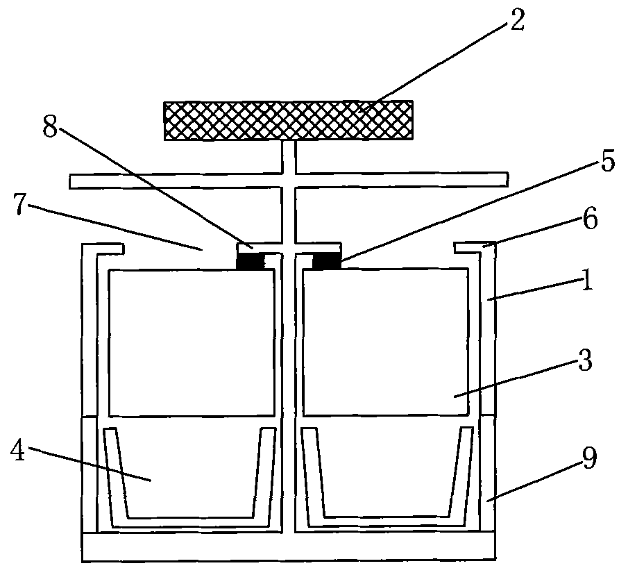
图1、2、3、4为本实用新型具有两个分割式空间的结构示意图。Fig. 1, 2, 3, 4 are the structural representations that the utility model has two divided spaces.
图中标号:1为箱体,2为太阳能电池板,3为压缩装置,4为收集装置,5为感应装置,6为垃圾投放口,7为空腔,8为空腔的底端开口,9为活动门。Numbers in the figure: 1 is the box body, 2 is the solar panel, 3 is the compression device, 4 is the collection device, 5 is the induction device, 6 is the garbage disposal port, 7 is the cavity, 8 is the bottom opening of the cavity, 9 is a dodge door.
图5、6为本实用新型具有三个分割式空间的结构示意图。5 and 6 are structural schematic diagrams of the utility model having three divided spaces.
图中标号:10为箱体,11为太阳能电池板,12为压缩装置,13为收集装置,14为感应装置,15空腔的底端开口,16为活动门,17为垃圾投放口,18为空腔。Numbers in the figure: 10 is the box body, 11 is the solar panel, 12 is the compression device, 13 is the collection device, 14 is the induction device, 15 is the bottom opening of the cavity, 16 is the movable door, 17 is the garbage delivery port, 18 for the cavity.
具体实施方式 Detailed ways
为了使本实用新型的技术手段、创作特征、达成目的与功效易于明白了解,下面结合具体图示,进一步阐述本实用新型。In order to make the technical means, creative features, goals and effects of the present utility model easy to understand, the utility model will be further elaborated below in conjunction with specific illustrations.
实施例1Example 1
如图1、2所示,本实用新型一种太阳能压缩垃圾箱,包括箱体1、太阳能电池板2、垃圾投放口6、压缩装置3和收集装置4,其特征在于,所述箱体1侧上方设置有针对不同类型垃圾的投放口6;所述的箱体1内设置有两个互不相通的针对不同类型垃圾的分割式空间;所述分割式空间内设置有位于垃圾投放口6下方的压缩装置3和位于箱底的收集装置4;所述太阳能电池板2为自动压缩的供电电源;所述箱体1外侧下端分别设置有活动门9。As shown in Figures 1 and 2, a solar energy compression garbage bin of the utility model includes a box body 1, a
所述垃圾投放口6和压缩装置3之间设置一底端设置有开口8的空腔7,并在空腔底端开口8处设置有用于控制空腔开闭的感应装置5。A
所述互不相通的针对不同类型垃圾的分割式空间可分为可回收垃圾收集空间和不可回收垃圾收集空间。The separated spaces for different types of garbage can be divided into recyclable garbage collection space and non-recyclable garbage collection space.
所述的太阳能压缩垃圾箱外形为圆形。The shape of the solar compressed dustbin is circular.
本实用新型一种太阳能压缩垃圾箱由安装在箱顶上的太阳能电池板2供应电能。箱体上分别设置有两个垃圾投放口6,对应不同类型的垃圾箱,可分为可回收垃圾箱和不可回收垃圾箱。人们将垃圾按类型通过垃圾投放口6投入垃圾箱空腔7,再落入垃圾压缩装置3。在其达到设定的重量阈值时,感应装置5启动,经过信号转换传递,关闭垃圾箱空腔7的底端开口8,同时启动压缩装置3开始压缩垃圾,压缩完成后,压缩装置底部开口打开,压缩好的垃圾进入收集装置4储存,压缩装置3底部开口关闭;如在压缩装置3启动时又有垃圾落入箱内时,只能保留在空腔内直到压缩装置作业完毕。压缩装置3作业停止后,空腔底端开口8自动开启,继续接收未压缩的垃圾,等待下一次压缩作业。The utility model relates to a solar energy compressed garbage container, which is supplied with electric energy by a
实施例2Example 2
如图3、4所示,本实用新型一种太阳能压缩垃圾箱,包括箱体1、太阳能电池板2、垃圾投放口6、压缩装置3和收集装置4,其特征在于,所述箱体1侧上方设置有针对不同类型垃圾的投放口6;所述的箱体1内设置有两个互不相通的针对不同类型垃圾的分割式空间;所述分割式空间内设置有位于垃圾投放口6下方的压缩装置3和位于箱底的收集装置4;所述太阳能电池板2为自动压缩的供电电源;所述箱体1外侧下端分别设置有活动门9。As shown in Figures 3 and 4, a solar compressed garbage bin of the present invention includes a box body 1, a
所述垃圾投放口6和压缩装置3之间设置一底端设置有开口8的空腔7,并在空腔底端开口8处设置有用于控制空腔开闭的感应装置5。A
所述互不相通的针对不同类型垃圾的分割式空间可分为可回收垃圾收集空间和不可回收垃圾收集空间。The separated spaces for different types of garbage can be divided into recyclable garbage collection space and non-recyclable garbage collection space.
所述的太阳能压缩垃圾箱外形为方形。The shape of the solar compressed dustbin is square.
本实用新型一种太阳能压缩垃圾箱由安装在箱顶上的太阳能电池板2供应电能。箱体1上分别设置有两个垃圾投放口6,对应不同类型的垃圾箱,可分为可回收垃圾箱和不可回收垃圾箱。人们将垃圾按类型通过垃圾投放口6投入垃圾箱空腔7,再落入垃圾压缩装置3。在其达到设定的重量阈值时,感应装置5启动,经过信号转换传递,关闭垃圾箱空腔底端开口8,同时启动压缩装置3开始压缩垃圾,压缩完成后,压缩装置3底部开口打开,压缩好的垃圾进入收集装置4储存,压缩装置3底部开口关闭;如在压缩装置3启动时又有垃圾落入箱内时,只能保留在空腔7内直到压缩装置3作业完毕。压缩装置3作业停止后,空腔底端开口8自动开启,继续接收未压缩的垃圾,等待下一次压缩作业。The utility model relates to a solar energy compressed garbage container, which is supplied with electric energy by a
实施例3Example 3
如图5、6所示,本实用新型一种太阳能压缩垃圾箱,包括箱体10、太阳能电池板11、垃圾投放口17、压缩装置12和收集装置13,其特征在于,所述箱体10侧上方设置有针对不同类型垃圾的投放口17;所述的箱体10内设置有三个互不相通的针对不同类型垃圾的分割式空间;所述分割式空间内设置有位于垃圾投放口17下方的压缩装置12和位于箱底的收集装置13;所述太阳能电池板11为自动压缩的供电电源;所述箱体10外侧下端分别设置有活动门16。As shown in Figures 5 and 6, a solar energy compression garbage bin of the utility model includes a box body 10, a solar panel 11, a garbage delivery port 17, a compression device 12 and a collection device 13, and is characterized in that the box body 10 The upper side is provided with a slot 17 for different types of garbage; the box body 10 is provided with three separate spaces for different types of garbage that are not connected to each other; The compression device 12 and the collection device 13 located at the bottom of the box; the solar panel 11 is a power supply for automatic compression; the outer lower end of the box body 10 is respectively provided with a movable door 16.
所述垃圾投放口17和压缩装置12之间设置一底端设置有开口15的空腔18,并在空腔底端开口15处设置有用于控制空腔开闭的感应装置14。A cavity 18 with an opening 15 at the bottom end is provided between the garbage delivery port 17 and the compressing device 12, and an induction device 14 for controlling opening and closing of the cavity is provided at the opening 15 at the bottom end of the cavity.
所述互不相通的针对不同类型垃圾的分割式空间可分为可回收利用垃圾收集空间、有机易腐垃圾收集空间和适于焚烧垃圾收集空间。The separated spaces for different types of garbage can be divided into recyclable garbage collection space, organic perishable garbage collection space and garbage collection space suitable for incineration.
所述的太阳能压缩垃圾箱外形为圆形。The shape of the solar compressed dustbin is circular.
本实用新型一种太阳能压缩垃圾箱由安装在箱顶上的太阳能电池板11供应电能。箱体上分别设置有三个垃圾投放口17,对应收集不同类型的垃圾,如可回收垃圾、有机易腐垃圾和适于焚烧垃圾。The utility model discloses a kind of solar energy compression dustbin that is supplied with electric energy by the solar panel 11 that is installed on the top of the box. The box body is respectively provided with three garbage drop ports 17, corresponding to collecting different types of garbage, such as recyclable garbage, organic perishable garbage and garbage suitable for incineration.
使用时,人们将垃圾按类型通过垃圾投放口17投入垃圾箱空腔18,再落入垃圾压缩装置12。在其达到设定的重量阈值时,感应装置14启动,经过信号转换传递,关闭垃圾箱空腔底端开口15,同时启动压缩装置12开始压缩垃圾,压缩完成后,压缩装置12底部开口打开,压缩好的垃圾进入收集装置13储存,压缩装置12底部开口关闭;如在压缩装置12启动时又有垃圾落入箱内时,只能保留在空腔18内直到压缩装置作业完毕。压缩装置12作业停止后,空腔底端开口15自动开启,继续接收未压缩的垃圾,等待下一次压缩作业。During use, people put the garbage into the garbage bin cavity 18 through the garbage delivery port 17 by type, and then fall into the garbage compression device 12 . When it reaches the set weight threshold, the induction device 14 is activated, and after signal conversion and transmission, the bottom opening 15 of the cavity of the dustbin is closed, and the compression device 12 is started at the same time to start compressing the garbage. After the compression is completed, the bottom opening of the compression device 12 is opened. The rubbish that compresses enters collecting device 13 to store, and compression device 12 bottom openings are closed; When having rubbish falls in the case again when compression device 12 starts, can only remain in the cavity 18 until the compression device operation finishes. After the operation of the compression device 12 was stopped, the opening 15 at the bottom of the cavity was automatically opened to continue to receive uncompressed garbage and wait for the next compression operation.
本实用新型所述的实施例仅是对本实用新型的优选实施方式进行的描述,并非对本实用新型构思和范围进行限定,在不脱离本实用新型设计思想的前提下,本领域中工程技术人员对本实用新型的技术方案做出的各种变型和改进,均应落入本实用新型的保护范围,本实用新型请求保护的技术内容,已经全部记载在权利要求书中。The embodiments described in the utility model are only a description of the preferred implementation of the utility model, and are not intended to limit the concept and scope of the utility model. Various modifications and improvements made in the technical solution of the utility model shall fall within the scope of protection of the utility model, and the technical content claimed in the utility model has been fully recorded in the claims.
Claims (6)
Priority Applications (1)
| Application Number | Priority Date | Filing Date | Title |
|---|---|---|---|
| CNU2008201531760U CN201347263Y (en) | 2008-09-18 | 2008-09-18 | Solar compression dustbin |
Applications Claiming Priority (1)
| Application Number | Priority Date | Filing Date | Title |
|---|---|---|---|
| CNU2008201531760U CN201347263Y (en) | 2008-09-18 | 2008-09-18 | Solar compression dustbin |
Publications (1)
| Publication Number | Publication Date |
|---|---|
| CN201347263Y true CN201347263Y (en) | 2009-11-18 |
Family
ID=41366737
Family Applications (1)
| Application Number | Title | Priority Date | Filing Date |
|---|---|---|---|
| CNU2008201531760U Expired - Fee Related CN201347263Y (en) | 2008-09-18 | 2008-09-18 | Solar compression dustbin |
Country Status (1)
| Country | Link |
|---|---|
| CN (1) | CN201347263Y (en) |
Cited By (8)
| Publication number | Priority date | Publication date | Assignee | Title |
|---|---|---|---|---|
| CN103253474A (en) * | 2013-04-03 | 2013-08-21 | 苏州市绿色建筑工程技术研究中心有限公司 | Novel garbage sorting, grinding and collecting device |
| CN104555197A (en) * | 2015-01-12 | 2015-04-29 | 东南大学 | Compression garbage can |
| CN105292855A (en) * | 2015-10-28 | 2016-02-03 | 巢湖学院 | Rubbish compression device with automatic classification function |
| CN106865066A (en) * | 2017-05-04 | 2017-06-20 | 袁超 | A kind of dustbin of automatic classification Automatic-dumping rubbish |
| CN108357820A (en) * | 2018-03-22 | 2018-08-03 | 佛山市金净创环保技术有限公司 | A kind of environmental protection equipment for treating rural garbage |
| CN108455118A (en) * | 2018-01-22 | 2018-08-28 | 陈建江 | A kind of Environmental-protection garbage collection device |
| CN108792362A (en) * | 2018-07-24 | 2018-11-13 | 威享驿联(厦门)科技有限公司 | A kind of intelligentized garbage sorting device and control system |
| CN111573053A (en) * | 2020-04-07 | 2020-08-25 | 江苏大学 | Integrated high-efficiency recycling device for cleaning yogurt boxes |
-
2008
- 2008-09-18 CN CNU2008201531760U patent/CN201347263Y/en not_active Expired - Fee Related
Cited By (11)
| Publication number | Priority date | Publication date | Assignee | Title |
|---|---|---|---|---|
| CN103253474A (en) * | 2013-04-03 | 2013-08-21 | 苏州市绿色建筑工程技术研究中心有限公司 | Novel garbage sorting, grinding and collecting device |
| CN104555197A (en) * | 2015-01-12 | 2015-04-29 | 东南大学 | Compression garbage can |
| CN105292855A (en) * | 2015-10-28 | 2016-02-03 | 巢湖学院 | Rubbish compression device with automatic classification function |
| CN105292855B (en) * | 2015-10-28 | 2017-09-22 | 巢湖学院 | A kind of refuse compressor classified automatically |
| CN106865066A (en) * | 2017-05-04 | 2017-06-20 | 袁超 | A kind of dustbin of automatic classification Automatic-dumping rubbish |
| CN106865066B (en) * | 2017-05-04 | 2018-06-05 | 浙江有美工贸有限公司 | A kind of dustbin of automatic classification Automatic-dumping rubbish |
| CN108455118A (en) * | 2018-01-22 | 2018-08-28 | 陈建江 | A kind of Environmental-protection garbage collection device |
| CN108455118B (en) * | 2018-01-22 | 2019-04-02 | 江苏天鹏机电制造有限公司 | An environmentally friendly garbage collection device |
| CN108357820A (en) * | 2018-03-22 | 2018-08-03 | 佛山市金净创环保技术有限公司 | A kind of environmental protection equipment for treating rural garbage |
| CN108792362A (en) * | 2018-07-24 | 2018-11-13 | 威享驿联(厦门)科技有限公司 | A kind of intelligentized garbage sorting device and control system |
| CN111573053A (en) * | 2020-04-07 | 2020-08-25 | 江苏大学 | Integrated high-efficiency recycling device for cleaning yogurt boxes |
Similar Documents
| Publication | Publication Date | Title |
|---|---|---|
| CN201347263Y (en) | Solar compression dustbin | |
| CN104609064B (en) | A kind of automatic sorting refuse receptacle and method for sorting | |
| CN206108087U (en) | Solar garbage bin | |
| CN106628745A (en) | Solar multifunctional intelligent garbage can | |
| CN203512491U (en) | Multifunctional intelligent trash can | |
| CN102249059B (en) | One-stop garbage classification recycling method | |
| CN202625106U (en) | Intelligent dustbin | |
| CN207312342U (en) | A kind of dustbin | |
| CN110510281A (en) | An Internet-based artificial intelligence high-efficiency garbage classification processing box | |
| CN208070566U (en) | A kind of automatic classification dustbin | |
| CN201052667Y (en) | Solar energy garbage compressor | |
| Wang et al. | A simple garbage bin design for garbage classification and recycling | |
| CN108438680A (en) | A kind of environment-protection garbage can room | |
| CN108190291A (en) | A kind of classification treatment device for household garbage | |
| CN201261620Y (en) | Solar automatic sterilization advertising fruit box | |
| CN218079601U (en) | A garbage sorting and processing device starting from the source | |
| CN201385917Y (en) | Multi-box garbage classification collection box | |
| CN211643399U (en) | Water tank type kitchen garbage treatment device | |
| CN210762372U (en) | Garbage collection device | |
| CN207191995U (en) | A kind of environment-friendly trash can | |
| CN201082815Y (en) | Household classifying dustbin | |
| CN207293181U (en) | A kind of energy saving and environmental protection garbage bucket | |
| CN216064822U (en) | Novel comprehensive garbage classification treatment device | |
| CN218808123U (en) | Rural domestic waste classification collection device | |
| CN110615201A (en) | Garbage classification box |
Legal Events
| Date | Code | Title | Description |
|---|---|---|---|
| C14 | Grant of patent or utility model | ||
| GR01 | Patent grant | ||
| C17 | Cessation of patent right | ||
| CF01 | Termination of patent right due to non-payment of annual fee |
Granted publication date: 20091118 Termination date: 20100918 |
