CN201334363Y - External-heating vertical-type active carbon activating oven - Google Patents

External-heating vertical-type active carbon activating oven Download PDF

Info

Publication number
CN201334363Y
CN201334363Y CNU2009200054449U CN200920005444U CN201334363Y CN 201334363 Y CN201334363 Y CN 201334363Y CN U2009200054449 U CNU2009200054449 U CN U2009200054449U CN 200920005444 U CN200920005444 U CN 200920005444U CN 201334363 Y CN201334363 Y CN 201334363Y
Authority
CN
China
Prior art keywords
heating plate
inner cylinder
outer cylinder
plate
heating
Prior art date
Legal status (The legal status is an assumption and is not a legal conclusion. Google has not performed a legal analysis and makes no representation as to the accuracy of the status listed.)
Expired - Lifetime
Application number
CNU2009200054449U
Other languages
Chinese (zh)
Inventor
赵德明
赵顺利
席玉慧
赵胜利
田培平
王传元
陈金祝
Current Assignee (The listed assignees may be inaccurate. Google has not performed a legal analysis and makes no representation or warranty as to the accuracy of the list.)
HUAIBEI XIELI HEAVY MACHINERY CO Ltd
Original Assignee
HUAIBEI XIELI HEAVY MACHINERY CO Ltd
Priority date (The priority date is an assumption and is not a legal conclusion. Google has not performed a legal analysis and makes no representation as to the accuracy of the date listed.)
Filing date
Publication date
Application filed by HUAIBEI XIELI HEAVY MACHINERY CO Ltd filed Critical HUAIBEI XIELI HEAVY MACHINERY CO Ltd
Priority to CNU2009200054449U priority Critical patent/CN201334363Y/en
Application granted granted Critical
Publication of CN201334363Y publication Critical patent/CN201334363Y/en
Anticipated expiration legal-status Critical
Expired - Lifetime legal-status Critical Current

Links

Images

Classifications

    • YGENERAL TAGGING OF NEW TECHNOLOGICAL DEVELOPMENTS; GENERAL TAGGING OF CROSS-SECTIONAL TECHNOLOGIES SPANNING OVER SEVERAL SECTIONS OF THE IPC; TECHNICAL SUBJECTS COVERED BY FORMER USPC CROSS-REFERENCE ART COLLECTIONS [XRACs] AND DIGESTS
    • Y02TECHNOLOGIES OR APPLICATIONS FOR MITIGATION OR ADAPTATION AGAINST CLIMATE CHANGE
    • Y02PCLIMATE CHANGE MITIGATION TECHNOLOGIES IN THE PRODUCTION OR PROCESSING OF GOODS
    • Y02P20/00Technologies relating to chemical industry
    • Y02P20/10Process efficiency

Landscapes

  • Carbon And Carbon Compounds (AREA)

Abstract

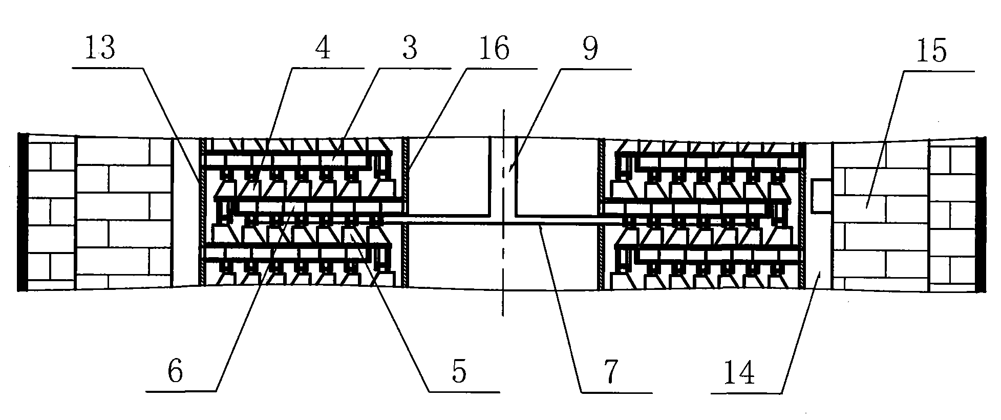
本实用新型涉及一种外加热立式活性炭活化炉,该活化炉的外筒(13)在下端用电机驱动旋转;外筒(13)的外侧面与炉墙(15)之间设有加热通道(14),外筒加热板(3)和内筒加热板(6)沿轴向依次交错布置;外筒抄板(4)和内筒抄板(5)分别用铰链安装在外筒加热板(3)和内筒加热板(6)的下侧并呈螺旋分布;分气管(7)深入到内筒加热板(6)的下侧,分气通孔分布在内筒加热板(6)下侧;内筒(16)在对应燃烧室(1)的侧壁上开有出气口(17)。本外加热立式活性炭活化炉,不仅结构紧凑,能以各种原料连续生产活性炭,而且活性炭的得率、质量、强度和表面光泽度高,活化炉的寿命长。

Figure 200920005444

The utility model relates to an external heating vertical activated carbon activation furnace. The outer cylinder (13) of the activation furnace is driven and rotated by a motor at the lower end; a heating channel is arranged between the outer surface of the outer cylinder (13) and the furnace wall (15) (14), the outer cylinder heating plate (3) and the inner cylinder heating plate (6) are arranged alternately along the axial direction; the outer cylinder lifting plate (4) and the inner cylinder lifting plate (5) are respectively hinged on the outer cylinder heating plate ( 3) and the lower side of the heating plate (6) of the inner cylinder and are distributed in a spiral; the air distribution pipe (7) goes deep into the lower side of the heating plate (6) of the inner cylinder, and the air distribution holes are distributed under the heating plate (6) of the inner cylinder Side; the inner cylinder (16) has an air outlet (17) on the side wall corresponding to the combustion chamber (1). This external heating vertical activated carbon activation furnace not only has a compact structure, but also can continuously produce activated carbon with various raw materials, and the yield, quality, strength and surface gloss of activated carbon are high, and the activation furnace has a long service life.

Figure 200920005444

Description

External heating vertical active carbon activation furnace
Affiliated technical field
The utility model relates to a kind of activation equipment of making gac.
Background technology
Gac is mainly used in the processing to trade effluent, city trowel used for plastering water, thermal power generation flue gas.Along with country is more and more higher to environmental protection requirement, the demand of gac is also increasing.
China's activation furnace commonly used at present mainly contains: " Si Liepu " stove of USSR (Union of Soviet Socialist Republics) and the pierce smith converter of introducing from the U.S. and Japan in recent years.Stepple furnace; because of the refractory brick of its activation zone is saddle-shape; so claim the saddle stove again; its main drawback: complex structure, cost height, big to advancing stove ingredient requirement height, technical requirements height, maintenance cost, particularly can not production lightweight gac and the macrobead gac of thermal power generation flue gas greater than Φ 8mm.Pierce smith converter, because of its material advances by body of heater self angle of inclination and oblique flight, the rate of advance of the bad control material of production lightweight charcoal, soak time and activation quality are difficult for assurance, therefore also are not suitable for production lightweight gac; In addition, above-mentioned activation furnace all is an internal heating, and combustion gases directly contact with material, can cause the raw material surface combustion inevitably, reduces the yield and the quality of gac.
The raw material of manufacturing gac has multiple, and nearly all carbonaceous material---timber, sawdust, coal, shell, bamboo, agricultural crop straw etc. can be as the raw materials of producing gac.Country advocates wood substituted by bamboo, and activated carbon from bamboo belongs to the lightweight gac, and production lightweight gac can only be used vertical rotary kiln.The Chinese invention patent specification sheets discloses a kind of " activation method of producing activated carbon by chemical method and activation furnace " (notification number CN 1038495C on May 27th, 1998, application number 92103113.0), it is characterized in that: combustion chamber is formed apart from one another by overlapping by activating chamber and the heating chamber that furnace bed board constitutes, odd-level is a heating chamber from bottom to top, even level is an activating chamber, be provided with the stirring rake teeth of being close to furnace bed board automatically that drives by central rotating shaft in the activating chamber, adjacent two-layer heating chamber is up and down connected by the burning gas passage, adjacent up and down two-layer activating chamber is connected by tremie pipe, the material in the activating chamber be subjected to adjacent on, the continuously stirring of the two-sided heating of following heating chamber bed board and rake teeth formula agitator.This activation furnace is vertical externally heated oven, but production lightweight gac can be avoided the scaling loss of raw material and gac, can realize serialization production simultaneously.But this activation furnace has the following disadvantages: 1. combustion chamber is formed apart from one another by overlapping by activating chamber and heating chamber, needs body of heater enough high, otherwise can cause the soak time deficiency under the situation that does not reduce production efficiency, and activation effect is undesirable; In addition, structure is complicated.2. this activation furnace will be made activator with zinc chloride or phosphoric acid, can bring the problem of zinc chloride or phosphoric acid corrosion activation equipment; 3. rake teeth is fixed on the same straight line, turns over that to copy material inhomogeneous; 4. because central shaft cools off hollow because of blowing air in the needs, rotate again simultaneously to drive the rake arm and rotate, so central shaft damages easily.
Summary of the invention
The purpose of this utility model provides a kind of external heating vertical active carbon activation furnace, and this activation furnace can not only be with various raw material continuous production gacs, and the yield of gac and quality height, and the life-span of activation furnace is long.
For achieving the above object, the utility model external heating vertical active carbon activation furnace comprises combustion chamber, furnace wall, inner core, hot-plate, flight, hopper, feed-pipe, discharge nozzle, be provided with urceolus between inner core and furnace wall, the lower end of this urceolus is connected with step-down gear, motor by transmitting gear; Be provided with heat tunnel between the outer side of urceolus and the furnace wall, the upper and lower of urceolus is sealed by furnace wall, and heat tunnel is communicated with vapor pipe through flue tube; Described hot-plate is divided into urceolus hot-plate and inner core hot-plate, and urceolus hot-plate and inner core hot-plate are separately fixed on the outer side of the medial surface of urceolus and inner core, vertically staggered arrangement successively; Described flight is divided into urceolus flight and inner core flight, urceolus flight and inner core flight are installed on the downside of urceolus hot-plate and inner core hot-plate with hinge respectively, and urceolus flight and inner core flight are in spiral distribution on the downside of urceolus hot-plate and inner core hot-plate respectively; Vapour pipe is communicated with gas-distributing pipe, gas-distributing pipe be positioned at body of heater epimere, be deep into the downside of inner core hot-plate, divide vent hole to be distributed on the gas-distributing pipe tube wall of inner core hot-plate downside; Inner core has the air outlet on the sidewall of respective combustion chamber.
Because after material enters body of heater of the present utility model, under copying of urceolus flight and inner core flight turned over, passed, successively fall from top to bottom, the soak time of material, can control automatically by the speed of rotation of urceolus easily, therefore the utility model is compared with pierce smith converter with " Si Liepu " stove, can produce the lightweight gac that they are not suitable for producing.The utility model only carries out outer heating with urceolus hot-plate and inner core hot-plate to material, therefore the utility model is compared with internally heated oven, can avoid burning of material and gac, reduce the ashes of product, improve yield, quality, intensity and the surface gloss of gac.Because the utility model does not need to establish in addition heating chamber, simultaneously the flight that distributes of spiral make material turning more even, be heated more abundant, do not need to use chemical activating agent in addition, flight is driven by rotation urceolus but not inner core, therefore the utility model is compared with aforementioned " activation method of producing activated carbon by chemical method and activation furnace ", more compact structure, converter life is longer.
Description of drawings
Fig. 1 is the structural representation of this external heating vertical active carbon activation furnace.
Fig. 2 is the A place partial enlarged view of Fig. 1.
Fig. 3 is the urceolus flight layout drawing of this external heating vertical active carbon activation furnace.
Fig. 4 is the inner core flight layout drawing of this external heating vertical active carbon activation furnace.
Embodiment
Below in conjunction with drawings and Examples the utility model is described.
As shown in Figure 1 and Figure 2, the utility model comprises combustion chamber 1, furnace wall 15, inner core 16, hot-plate, flight, hopper 10, feed-pipe 8, discharge nozzle 2, between inner core 16 and furnace wall 15, be provided with urceolus 13, the lower end of this urceolus 13 is connected with step-down gear, motor 19 by transmitting gear 18, so that urceolus is around its central axis rotation.Be provided with heat tunnel 14 between the outer side of urceolus 13 and the furnace wall 15, its upper and lower is sealed by furnace wall 15, and heat tunnel 14 is communicated with vapor pipe 11 through flue tube 12.Inner core 16 has air outlet 17 on the sidewall of respective combustion chamber 1, so that inner core has heat effect.Described hot-plate is divided into urceolus hot-plate 3 and inner core hot-plate 6, and urceolus hot-plate 3 and inner core hot-plate 6 are separately fixed on the outer side of the medial surface of urceolus 13 and inner core 16, vertically staggered arrangement successively.Vapour pipe 9 is communicated with gas-distributing pipe 7, gas-distributing pipe 7 be positioned at body of heater epimere, be deep into the downside of inner core hot-plate 6, divide vent hole to be distributed on the gas-distributing pipe tube wall of inner core hot-plate 6 downsides.As Fig. 2, Fig. 3, shown in Figure 4, described flight is divided into urceolus flight 4 and inner core flight 5, urceolus flight 4 and inner core flight 5 are installed on the downside of urceolus hot-plate 3 and inner core hot-plate 6 with hinge respectively, so that the heater plate surface that flight is close to below it is automatically copied.Urceolus flight 4 and inner core flight 5 are in spiral distribution on the downside of urceolus hot-plate 3 and inner core hot-plate 6 respectively, the distance that is flight and inner core central axis is gradually far away successively, compare with aforementioned patent, like this layout can make stir more evenly, material contacts more abundant with hot-plate.
As improvement of the present utility model, as shown in Figure 1 and Figure 2, urceolus hot-plate 3 and inner core hot-plate 6 are hollow structure, and the hollow area of urceolus hot-plate 3 communicates with heat tunnel 14, and the hollow area of inner core hot-plate 6 communicates with the inner chamber of inner core.The structure of hollow can make hot-plate be easier to be heated.
The utility model is material cooling zone and discharge zone below 17 from the air outlet on the inner core, and the scope of air outlet 17 above 10 floor left and right sides hot-plates is the material activating district, up is the material preheating zone again.Material is after the body of heater upper end enters activation furnace, under copying of urceolus flight 4 and inner core flight 5 turned over, passed, successively fall from top to bottom, during 17 positions, air outlet to inner core, the achromachia gas that material produces in reactivation process is 17 ejections from the air outlet, owing to the temperature that sprays gas has reached point of ignition, ejection gas can burn at inner core after meeting air, thereby inner core 16 is heated.Outer heat effect when being subjected to urceolus hot-plate 3 and inner core hot-plate 6, material through the preheating zone, the region of activation is preheated, activates, and generates gac.After the gac that generates entered the cooling zone cooling of inner core air outlet below 17, the discharge nozzle 2 from furnace bottom drew off automatically.The soak time of material in activation furnace can be controlled automatically by the speed of rotation of urceolus 13.
But this external heating vertical active carbon activation furnace continuous production granularity 80 orders are to 12mm, gac more than the iodine number 1000mg/g, and ature of coal, bamboo matter, wooden, shell etc. all can be used as raw materials for production, and be pollution-free at aspects such as water, air, dust, noises during use.In addition, the utility model less investment, it is fast to found the factory, and builds and produces 1000 tons of Activated Carbon Production lines per year, only needs just can be constructed and put into operation in 60 days, and " Si Liepu " stove production line of building equal scale then needs 8 months.

Claims (2)

1.一种外加热立式活性炭活化炉,包括燃烧室(1)、炉墙(15)、内筒(16)、加热板、抄板、料斗(10)、进料管(8)、出料管(2),蒸气管(9)与分气管(7)连通,分气管(7)位于炉体的上段,其特征是:在内筒(16)和炉墙(15)之间设有外筒(13),该外筒(13)的下端通过传动齿轮(18)与减速机、电机(19)连接;外筒(13)的外侧面与炉墙(15)之间设有加热通道(14),外筒(13)的上部和下部被炉墙(15)封闭,加热通道(14)经烟道管(12)与排气管(11)连通;所述加热板分为外筒加热板(3)和内筒加热板(6),外筒加热板(3)和内筒加热板(6)分别固定在外筒(13)的内侧面和内筒(16)的外侧面上,沿轴向依次交错布置;所述抄板分为外筒抄板(4)和内筒抄板(5),外筒抄板(4)和内筒抄板(5)分别用铰链安装在外筒加热板(3)和内筒加热板(6)的下侧面上,外筒抄板(4)和内筒抄板(5)分别在外筒加热板(3)和内筒加热板(6)的下侧面上呈螺旋分布;所述分气管(7)深入到内筒加热板(6)的下侧,分气通孔分布在内筒加热板(6)下侧的分气管管壁上;内筒(16)在对应燃烧室(1)的侧壁上开有出气口(17)。1. A vertical active carbon activation furnace with external heating, comprising combustion chamber (1), furnace wall (15), inner cylinder (16), heating plate, lifting plate, hopper (10), feed pipe (8), outlet The material pipe (2), the steam pipe (9) communicate with the gas distribution pipe (7), and the gas distribution pipe (7) is located at the upper section of the furnace body, and is characterized in that: a Outer cylinder (13), the lower end of the outer cylinder (13) is connected to the reducer and motor (19) through the transmission gear (18); a heating channel is provided between the outer surface of the outer cylinder (13) and the furnace wall (15) (14), the upper and lower parts of the outer cylinder (13) are closed by the furnace wall (15), and the heating channel (14) communicates with the exhaust pipe (11) through the flue pipe (12); the heating plate is divided into an outer cylinder The heating plate (3) and the inner cylinder heating plate (6), the outer cylinder heating plate (3) and the inner cylinder heating plate (6) are respectively fixed on the inner surface of the outer cylinder (13) and the outer surface of the inner cylinder (16), Arranged staggeredly along the axial direction; the lifting plates are divided into outer cylinder lifting plates (4) and inner cylinder lifting plates (5). On the underside of the heating plate (3) and the inner cylinder heating plate (6), the outer cylinder lifting plate (4) and the inner cylinder lifting plate (5) are respectively on the outer cylinder heating plate (3) and the inner cylinder heating plate (6). The lower side is spirally distributed; the air distribution pipe (7) goes deep into the lower side of the inner cylinder heating plate (6), and the air distribution through holes are distributed on the wall of the air distribution pipe on the lower side of the inner cylinder heating plate (6); The barrel (16) has an air outlet (17) on the side wall corresponding to the combustion chamber (1). 2.根据权利要求1所述的外加热立式活性炭活化炉,其特征是:所述外筒加热板(3)和内筒加热板(6)为中空结构,外筒加热板(3)的中空区与加热通道(14)相通,内筒加热板(6)的中空区与内筒的内腔相通。2. The external heating vertical activated carbon activation furnace according to claim 1 is characterized in that: the outer cylinder heating plate (3) and the inner cylinder heating plate (6) are hollow structures, and the outer cylinder heating plate (3) The hollow area communicates with the heating channel (14), and the hollow area of the inner cylinder heating plate (6) communicates with the inner cavity of the inner cylinder.
CNU2009200054449U 2009-01-21 2009-01-21 External-heating vertical-type active carbon activating oven Expired - Lifetime CN201334363Y (en)

Priority Applications (1)

Application Number Priority Date Filing Date Title
CNU2009200054449U CN201334363Y (en) 2009-01-21 2009-01-21 External-heating vertical-type active carbon activating oven

Applications Claiming Priority (1)

Application Number Priority Date Filing Date Title
CNU2009200054449U CN201334363Y (en) 2009-01-21 2009-01-21 External-heating vertical-type active carbon activating oven

Publications (1)

Publication Number Publication Date
CN201334363Y true CN201334363Y (en) 2009-10-28

Family

ID=41286012

Family Applications (1)

Application Number Title Priority Date Filing Date
CNU2009200054449U Expired - Lifetime CN201334363Y (en) 2009-01-21 2009-01-21 External-heating vertical-type active carbon activating oven

Country Status (1)

Country Link
CN (1) CN201334363Y (en)

Cited By (4)

* Cited by examiner, † Cited by third party
Publication number Priority date Publication date Assignee Title
CN101475166B (en) * 2009-01-21 2011-07-20 淮北市协力重型机器有限责任公司 External heating vertical active carbon activation furnace
CN105016339A (en) * 2015-08-03 2015-11-04 连云港明境生物能源有限公司 Stir-fry-type activated charcoal stove
CN105110329A (en) * 2015-08-03 2015-12-02 连云港明境生物能源有限公司 System for producing activated carbon by using straws
CN110127699A (en) * 2019-06-04 2019-08-16 杭州回水科技股份有限公司 An activated carbon activation and regeneration device, an activated carbon regeneration method, and an activation method

Cited By (5)

* Cited by examiner, † Cited by third party
Publication number Priority date Publication date Assignee Title
CN101475166B (en) * 2009-01-21 2011-07-20 淮北市协力重型机器有限责任公司 External heating vertical active carbon activation furnace
CN105016339A (en) * 2015-08-03 2015-11-04 连云港明境生物能源有限公司 Stir-fry-type activated charcoal stove
CN105110329A (en) * 2015-08-03 2015-12-02 连云港明境生物能源有限公司 System for producing activated carbon by using straws
CN110127699A (en) * 2019-06-04 2019-08-16 杭州回水科技股份有限公司 An activated carbon activation and regeneration device, an activated carbon regeneration method, and an activation method
CN110127699B (en) * 2019-06-04 2023-04-28 杭州回水科技股份有限公司 Activated carbon activation and regeneration device, activated carbon regeneration method and activation method

Similar Documents

Publication Publication Date Title
CN101475166A (en) External heating vertical active carbon activation furnace
CN101214956A (en) Method and device for producing inside and outside thermal combined two-stage continuous activated carbon
CN106587060B (en) A kind of method external-heat activation converter and its produce activated carbon
CN102515160B (en) Activated carbon rotary furnace using physical method
CN201334363Y (en) External-heating vertical-type active carbon activating oven
CN205528594U (en) Continuous retort of multilayer
CN201793373U (en) Moving bed carbonization (activation) furnace suitable for producing activated carbon from granular materials
WO2018068617A1 (en) Furnace body for activated-carbon activation furnace
CN114890421A (en) Multistage variable diameter fluidized bed activation furnace and system for preparing activated carbon
WO2012088660A1 (en) Boiler
CN208545127U (en) A vertical activation furnace for activation of activated carbon with water vapor
CN201309830Y (en) Liner type rotary carbonization and activation furnace utilizing chemical method to manufacture activated carbon
CN202390208U (en) Rotary kiln for producing activated carbon by physical method
CN201553615U (en) Activated carbon production equipment integrated with carbonization and activation
CN201180122Y (en) A vertical continuous dry distillation device for solid biomass
CN107676799A (en) Heat exchange cracks the useless modeling equipment of life medical waste damaged tire to a kind of energy ball at a high speed
CN202214340U (en) Continuous gasification and tar removing device for biomass moving bed
CN103194273B (en) Two-stage coal gas generating device
CN102443445B (en) Technology and equipment for simultaneous removal of tar in biomass moving bed continuous gasification
CN206172982U (en) Vertical activation furnace from steam system of producing active carbon
CN105565315B (en) Interior radiation hot type activated carbon production apparatus
CN201340180Y (en) Revolving afterheat drying device and well-type closed cell perlite expansion furnace matched therewith
CN201722154U (en) Novel multi-tube external heat type rotary furnace
CN209143706U (en) A kind of external heating type activation furnace of subsection-inlet
CN110921662A (en) Rotary activation furnace for preparing high-activity coal-based activated carbon for desulfurization and denitrification

Legal Events

Date Code Title Description
C14 Grant of patent or utility model
GR01 Patent grant
AV01 Patent right actively abandoned

Granted publication date: 20091028

Effective date of abandoning: 20090121

AV01 Patent right actively abandoned

Granted publication date: 20091028

Effective date of abandoning: 20090121