CN201324892Y - Worm polishing machine - Google Patents

Worm polishing machine Download PDF

Info

Publication number
CN201324892Y
CN201324892Y CNU2008201678727U CN200820167872U CN201324892Y CN 201324892 Y CN201324892 Y CN 201324892Y CN U2008201678727 U CNU2008201678727 U CN U2008201678727U CN 200820167872 U CN200820167872 U CN 200820167872U CN 201324892 Y CN201324892 Y CN 201324892Y
Authority
CN
China
Prior art keywords
vertical
cylinder
slide rail
support
turntable
Prior art date
Legal status (The legal status is an assumption and is not a legal conclusion. Google has not performed a legal analysis and makes no representation as to the accuracy of the status listed.)
Expired - Fee Related
Application number
CNU2008201678727U
Other languages
Chinese (zh)
Inventor
方广忠
金荣华
Current Assignee (The listed assignees may be inaccurate. Google has not performed a legal analysis and makes no representation or warranty as to the accuracy of the list.)
Individual
Original Assignee
Individual
Priority date (The priority date is an assumption and is not a legal conclusion. Google has not performed a legal analysis and makes no representation as to the accuracy of the date listed.)
Filing date
Publication date
Application filed by Individual filed Critical Individual
Priority to CNU2008201678727U priority Critical patent/CN201324892Y/en
Application granted granted Critical
Publication of CN201324892Y publication Critical patent/CN201324892Y/en
Anticipated expiration legal-status Critical
Expired - Fee Related legal-status Critical Current

Links

Images

Landscapes

  • Finish Polishing, Edge Sharpening, And Grinding By Specific Grinding Devices (AREA)

Abstract

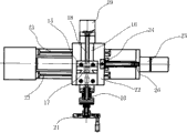
The utility model relates to a worm polishing machine, which belongs to the technical field of worm production processing equipment, wherein the side of the circumference of a buffing cloth wheel is equipped with a vertical carriage, a rolling center and a fixed center on the vertical carriage are correspondingly and coaxially arranged, the lower portion of a guide block of the vertical carriage is equipped with a rotating platform, a guide rail is arranged on the rotating platform, the vertical carriage is slidingly connected with the guide rail, and a piston rod of a second air cylinder on the rotating platform is connected with the guide block. A pivot of the rotating platform is connected with a support, the lower portion of the support is equipped with a vertical slide rail, the support is slidingly connected with the vertical slide rail, the support is equipped with a first transmission nut which is matched with a vertical screw rod through a thread, one end of the vertical screw rod is connected with a piston rod of a third air cylinder, the third air cylinder can drive the vertical screw rod to axially move, the vertical slide rail and the third air cylinder are arranged on a base, the base is slidingly connected with a transverse slide rail of a frame, an output shaft of an axial feed motor is connected with a transverse screw rod, and the transverse screw rod is connected with a second transmission nut on the base through the thread.

Description

Worm polishing machine
Technical field
The utility model relates to a kind of Worm polishing machine, belongs to the technical field of worm producing and processing equipment.
Technical background
Worm screw is as one of critical piece of worm gear reducer, if will improve the transmission efficiency of gear reduction motor, the problem that solve must improve the light surface roughness of worm screw.The most grinding processing methods that adopt of worm screw will obtain very high surface roughness at present, and cost is higher relatively, adopt the method good economy performance of polishing, and cost is low.But prior art is not seen the equipment that is specifically designed to the worm screw polishing, takes handwork more, and the labour intensity angle is bigger, controls quality artificially, is difficult to the uniformity of ensuring the quality of products.
Summary of the invention
The utility model purpose is to provide a kind of cost relatively low, be easy to guarantee the conforming Worm polishing machine of worm screw crudy, it is bigger to have solved the labour intensity that prior art adopts manual operations that worm screw is polished existence, and is difficult to control problem such as worm screw quality conformance.
Above-mentioned technical purpose of the present utility model mainly solves by the following technical programs: it comprises frame, described frame is provided with cloth wheel drive motor, the shaft of described cloth wheel drive motor is provided with buff, the circumference side of buff is provided with vertical planker, described vertical planker is provided with first cylinder and the top drive motors that is provided with at interval, be connected with rolling center on the piston rod of described first cylinder, the shaft of described top drive motors is provided with stationary center, the relative coaxial setting with stationary center of described rolling center; The lower surface of described vertical planker is installed with guide pad, the below of guide pad is provided with turntable, described turntable is provided with the guide rail that extends along the axis direction that is parallel to rolling center and stationary center, vertical planker forms by guide pad and guide rail and is slidingly connected, second cylinder is installed on the turntable, the piston rod of second cylinder is connected with guide pad, and the second air cylinder driven guide pad makes vertical planker slide along guide rail; Described turntable is pivotally connected on the support, can lock relatively between turntable and the support, and the angle of inclination of rolling center and stationary center axis can change by the rotation of turntable; Described support below is provided with vertical slide rail, described vertical slide rail extends along the direction perpendicular to the cloth wheel axis, support is slidingly connected with vertical slide rail, support is provided with first transmission nut, described first transmission nut cooperates with vertical wire rod thread, one end of described vertical screw mandrel is connected with the piston rod of the 3rd cylinder, and the 3rd cylinder can drive vertical screw mandrel and move axially, and vertically moving axially of screw mandrel drives support slide rail slip longitudinally; Described vertical slide rail and the 3rd cylinder all are installed on the base, described frame is equipped with horizontal slide rail corresponding to the base below, described horizontal slide rail extends along the direction that is parallel to the buff axis, base is slidingly connected with horizontal slide rail, be installed with second transmission nut on the base, be located on the shaft of the axial feed motor on the frame and be connected with cross lead screw, cross lead screw is threaded with second transmission nut on the base, axial feed motor-driven cross lead screw rotates, and cross lead screw is by causing base along laterally slide rail slip with the second transmission nut threaded engagement.During work, at first set vertical planker angle of inclination by the relative position of regulating between turntable and the support by the lead angle of worm screw to be processed, adjust the relative axial position of stationary center and rolling center, make two top can being as the criterion the worm screw work-handling, unsuitable long.Under the original state, the first air cylinder driven rolling center leaves stationary center makes distance between stationary center and the rolling center greater than the axial length of worm screw workpiece to be processed, the vertical planker of second air cylinder driven slides along the guide rail on the turntable and makes the clamping position of worm screw workpiece axially leave buff, thus the 3rd cylinder then driving arm longitudinally slide rail slide and drive vertical planker and make the clamping position of worm screw workpiece radially leave buff; During clamping, an end center hole secured in alignment of worm screw workpiece to be processed is top, cooperate worm screw clamping workpiece to be processed between rolling center and stationary center with the center hole of the worm screw workpiece other end to be processed thereby start the first air cylinder driven rolling center; Starting cloth wheel drive driven by motor buff then rotates, top drive motors drives worm screw workpiece to be processed and rotates, then the vertical planker of second air cylinder driven slides along the guide rail on the turntable worm screw workpiece axial location to be processed is close near the buff circumference, thereby and the further driving arm of the 3rd cylinder longitudinally slide rail slide worm screw to be processed contact with the circumference of buff, thereby the axial feed motor then causes the worm screw generation to move towards the mobile worm screw all polished buffing that passes through that makes by driving base cooperating of second transmission nut on cross lead screw and the base; Needs according to the worm screw roughness grade repeat the polishing operation that above-mentioned action can be finished worm screw.After a worm screw workpiece machines, restPose and unload the worm screw workpiece of finishing processing, load onto new worm screw workpiece to be processed again and repeat above-mentioned action.
As preferably, the other end of described vertical screw mandrel is arranged with driving sleeve, and vertically screw mandrel and driving sleeve circumferencial direction are in transmission connection by strong, vertically can move to axial between screw mandrel and the driving sleeve, be connected with handwheel on the described driving sleeve, can drive driving sleeve by handwheel and rotate.Wherein, when the vertical screw mandrel of the 3rd air cylinder driven moves axially, vertically move to axial between screw mandrel and the driving sleeve; And come rotating drive shaft when cover by handwheel, driving sleeve cooperates with vertical screw mandrel by key rotates vertical screw mandrel, the piston rod that vertical screw mandrel drives the 3rd cylinder simultaneously rotates together, vertically screw mandrel cooperates the position of regulating between vertical planker and the buff by the first rack-mount transmission nut, with the difference that the diameter that causes because of wearing and tearing of compensation buff diminishes, also can adapt to the needs of the helicla flute degree of depth of different worm screw workpiece.
As preferably, described frame is provided with protective cover outward, be used to open protective cover for the opening the door of operating personnel's operation corresponding to being provided with near the vertical planker on the described protective cover, protective cover is provided with exhausting-dusting mechanism, and the inlet scoop of described exhausting-dusting mechanism is close to the buff setting.Wherein, protective cover being set outside frame can be with preventing that buff from dropping out the chip that falls down in the metal fillings that produces in the worm screw workpiece polishing process and the buff wear process, to keep the cleaning of working environment; Wherein the inlet scoop with exhausting-dusting mechanism then more helps the chip of metal fillings and buff is siphoned away near the buff setting; In addition, operating personnel can load and unload the worm screw workpiece by opening the door.
As preferably, be connected by connecting plate between the piston rod of described rolling center and first cylinder, described connecting plate is provided with two pilot holes, and described two pilot holes are slidingly connected respectively with two fixed guide posts that are distributed in the first cylinder both sides.Wherein, be connected by connecting plate between the piston rod with rolling center and first cylinder, can improve the guidance quality of rolling center and connecting plate is slidingly connected by two pilot holes and two fixed guide posts, prevent the deviation of rolling center, guarantee the center hole aligned fit of rolling center and worm screw workpiece.
As preferably, the guide rail on the described turntable is formed by two that are parallel to each other, and described two guide rails are distributed in the both sides of the piston rod of second cylinder.Wherein, to be slidingly connected by two guide rails that are distributed in the second cylinder piston rod both sides between vertical planker and the turntable, improved between vertical planker and the turntable guiding to, guarantee that vertical planker moves along the axis direction of worm screw workpiece, to guarantee the polishing effect of buff to the worm screw workpiece.
As preferably, described stationary center is installed on the shaft of top drive motors by three-jaw chuck.Wherein, the shaft of stationary center by three-jaw chuck and drive motors installed, can be convenient to regulate the axial distance between stationary center and the rolling center, with the polishing needs of the worm screw workpiece that satisfies different length.
Therefore, it is relatively low to the utlity model has cost, is easy to guarantee characteristics such as worm screw crudy uniformity.
Description of drawings
Fig. 1 is a kind of main TV structure schematic diagram of the present utility model;
Fig. 2 is a kind of plan structure schematic diagram of the present utility model;
Fig. 3 is the plan structure schematic diagram of the utility model support with the lower part.
The specific embodiment
Below by embodiment, and in conjunction with the accompanying drawings, the technical solution of the utility model is described in further detail.
Embodiment 1: as Fig. 1, Fig. 2 and shown in Figure 3, frame 1 is provided with cloth wheel drive motor 2, the shaft of cloth wheel drive motor 1 is provided with buff 3, the circumference side of buff 3 is provided with vertical planker 4, vertical planker 4 is provided with first cylinder 5 and the top drive motors 6 that is provided with at interval, be connected with rolling center 7 on the piston rod of first cylinder 5, be connected by connecting plate 8 between the piston rod of rolling center 7 and first cylinder 5, connecting plate 8 is provided with two pilot holes, and two pilot holes are slidingly connected respectively with two fixed guide posts 9 that are distributed in first cylinder, 5 both sides.The shaft of top drive motors 6 is provided with stationary center 10, and stationary center 10 is installed on by three-jaw chuck 11 on the shaft of top drive motors 6, rolling center 7 and stationary center 10 relative coaxial settings.
The lower surface of vertical planker 4 is installed with guide pad 12, the below of guide pad 12 is provided with turntable 13, turntable 13 is provided with the guide rail (not expressing among the figure) that extends along the axis direction that is parallel to rolling center 7 and stationary center 10, guide rail is formed by two that are parallel to each other, vertical planker 4 forms with guide rail by guide pad 12 and is slidingly connected, second cylinder 14 is installed on the turntable 13, two guide rails are distributed in the both sides of the piston rod of second cylinder 14, the piston rod of second cylinder 14 is connected with guide pad 12, and second cylinder 14 drives guide pad 12 makes vertical planker 4 slide along two guide rails.
Turntable 13 is pivotally connected on the support 15, can lock relatively between turntable 13 and the support 15, and the angle of inclination of rolling center 7 and stationary center 10 both axis can change by the rotation of turntable 13; Support 15 belows are provided with vertical slide rail 16 (referring to Fig. 3), vertically extend perpendicular to the direction of the axis of buff 3 on slide rail 16 edges, support 15 is slidingly connected with vertical slide rail 16, support 15 is provided with first transmission nut 17, first transmission nut 17 and vertical screw mandrel 18 threaded engagement, vertically an end of screw mandrel 18 is connected with the piston rod of the 3rd cylinder 19, vertically the other end of screw mandrel 18 is arranged with driving sleeve 20, vertically screw mandrel 18 is connected by strong with driving sleeve 20 circumferencial directions, the 3rd cylinder 19 can drive vertical screw mandrel 18 and move axially with respect to driving sleeve 20, vertically moving axially of screw mandrel 18 drives support 15 slide rail 16 slips longitudinally, be connected with handwheel 21 on the driving sleeve 20, can drive driving sleeve 20 by handwheel 21 rotates, when the vertical screw mandrel 18 of the 3rd cylinder 19 drivings moves axially, vertically move to axial between screw mandrel 18 and the driving sleeve 20; And come rotating drive shaft to overlap at 20 o'clock by handwheel 21, driving sleeve 20 cooperates with vertical screw mandrel 18 by key rotates vertical screw mandrel 18, the piston rod that vertical screw mandrel 18 drives the 3rd cylinder 19 simultaneously rotates together, vertically screw mandrel 18 cooperates the position of regulating between vertical planker 4 and the buff 3 by first transmission nut 17 that is installed on the support 15, with the difference that the diameter that causes because of wearing and tearing of compensation buff 3 diminishes, also can adapt to the needs of the helicla flute degree of depth of different worm screw workpiece.
Vertically slide rail 16 and the 3rd cylinder 19 all are installed on the base 22, frame 1 is equipped with two horizontal slide rails 23 that are parallel to each other corresponding to base 22 belows, laterally slide rail 23 extends along the direction that is parallel to buff 3 axis, base 22 is slidingly connected with horizontal slide rail 16, be installed with second transmission nut 24 on the base 22, be located on the shaft of the axial feed motor 25 on the frame 1 and be connected with cross lead screw 26, cross lead screw 26 is threaded with second transmission nut 24 on the base 22, axial feed motor 25 drives cross lead screw 26 and rotates, and cross lead screw 26 is by causing base 22 along laterally slide rail 23 slips with second transmission nut, 24 threaded engagement.
During work, at first set vertical planker angle of inclination by the relative position of regulating between turntable and the support by the lead angle of worm screw to be processed, adjust the relative axial position of stationary center and rolling center, make two top can being as the criterion the worm screw work-handling, unsuitable long.Under the original state, the first air cylinder driven rolling center leaves stationary center makes distance between stationary center and the rolling center greater than the axial length of worm screw workpiece to be processed, the vertical planker of second air cylinder driven slides along the guide rail on the turntable and makes the clamping position of worm screw workpiece axially leave buff, thus the 3rd cylinder then driving arm longitudinally slide rail slide and drive vertical planker and make the clamping position of worm screw workpiece radially leave buff; As depicted in figs. 1 and 2, during clamping, one end center hole secured in alignment of worm screw workpiece 27 to be processed is top, cooperate worm screw clamping workpiece to be processed between rolling center and stationary center with the center hole of the worm screw workpiece other end to be processed thereby start the first air cylinder driven rolling center; Starting cloth wheel drive driven by motor buff then rotates, top drive motors drives worm screw workpiece to be processed and rotates, then the vertical planker of second air cylinder driven slides along the guide rail on the turntable worm screw workpiece axial location to be processed is close near the buff circumference, thereby and the further driving arm of the 3rd cylinder longitudinally slide rail slide worm screw to be processed contact with the circumference of buff, thereby the axial feed motor then causes the worm screw generation to move towards the mobile worm screw all polished buffing that passes through that makes by driving base cooperating of second transmission nut on cross lead screw and the base; Needs according to the worm screw roughness grade repeat the polishing operation that above-mentioned action can be finished worm screw.After a worm screw workpiece machines, restPose and unload the worm screw workpiece of finishing processing, load onto new worm screw workpiece to be processed again and repeat above-mentioned action.

Claims (6)

1, a kind of Worm polishing machine, comprise frame, it is characterized in that described frame is provided with cloth wheel drive motor, the shaft of described cloth wheel drive motor is provided with buff, the circumference side of buff is provided with vertical planker, and described vertical planker is provided with first cylinder and the top drive motors that is provided with at interval, is connected with rolling center on the piston rod of described first cylinder, the shaft of described top drive motors is provided with stationary center, the relative coaxial setting with stationary center of described rolling center; The lower surface of described vertical planker is installed with guide pad, the below of guide pad is provided with turntable, described turntable is provided with the guide rail that extends along the axis direction that is parallel to rolling center and stationary center, vertical planker forms by guide pad and guide rail and is slidingly connected, second cylinder is installed on the turntable, the piston rod of second cylinder is connected with guide pad, and the second air cylinder driven guide pad makes vertical planker slide along guide rail; Described turntable is pivotally connected on the support, can lock relatively between turntable and the support, and the angle of inclination of rolling center and stationary center axis can change by the rotation of turntable; Described support below is provided with vertical slide rail, described vertical slide rail extends along the direction perpendicular to the cloth wheel axis, support is slidingly connected with vertical slide rail, support is provided with first transmission nut, described first transmission nut cooperates with vertical wire rod thread, one end of described vertical screw mandrel is connected with the piston rod of the 3rd cylinder, and the 3rd cylinder can drive vertical screw mandrel and move axially, and vertically moving axially of screw mandrel drives support slide rail slip longitudinally; Described vertical slide rail and the 3rd cylinder all are installed on the base, described frame is equipped with horizontal slide rail corresponding to the base below, described horizontal slide rail extends along the direction that is parallel to the buff axis, base is slidingly connected with horizontal slide rail, be installed with second transmission nut on the base, be located on the shaft of the axial feed motor on the frame and be connected with cross lead screw, cross lead screw is threaded with second transmission nut on the base, axial feed motor-driven cross lead screw rotates, and cross lead screw is by causing base along laterally slide rail slip with the second transmission nut threaded engagement.
2, Worm polishing machine according to claim 1, the other end that it is characterized in that described vertical screw mandrel is arranged with driving sleeve, vertically screw mandrel and driving sleeve circumferencial direction are in transmission connection by strong, vertically can move to axial between screw mandrel and the driving sleeve, be connected with handwheel on the described driving sleeve, can drive driving sleeve by handwheel and rotate.
3, Worm polishing machine according to claim 1 and 2, it is characterized in that described frame is provided with protective cover outward, be used to open protective cover opening the door corresponding to being provided with near the vertical planker on the described protective cover for operating personnel's operation, protective cover is provided with exhausting-dusting mechanism, and the inlet scoop of described exhausting-dusting mechanism is close to the buff setting.
4, Worm polishing machine according to claim 1 and 2, it is characterized in that being connected by connecting plate between the piston rod of described rolling center and first cylinder, described connecting plate is provided with two pilot holes, and described two pilot holes are slidingly connected respectively with two fixed guide posts that are distributed in the first cylinder both sides.
5, Worm polishing machine according to claim 1 and 2 is characterized in that the guide rail on the described turntable is formed by two that are parallel to each other, and described two guide rails are distributed in the both sides of the piston rod of second cylinder.
6, Worm polishing machine according to claim 1 and 2 is characterized in that described stationary center is installed on the shaft of top drive motors by three-jaw chuck.
CNU2008201678727U 2008-11-20 2008-11-20 Worm polishing machine Expired - Fee Related CN201324892Y (en)

Priority Applications (1)

Application Number Priority Date Filing Date Title
CNU2008201678727U CN201324892Y (en) 2008-11-20 2008-11-20 Worm polishing machine

Applications Claiming Priority (1)

Application Number Priority Date Filing Date Title
CNU2008201678727U CN201324892Y (en) 2008-11-20 2008-11-20 Worm polishing machine

Publications (1)

Publication Number Publication Date
CN201324892Y true CN201324892Y (en) 2009-10-14

Family

ID=41176870

Family Applications (1)

Application Number Title Priority Date Filing Date
CNU2008201678727U Expired - Fee Related CN201324892Y (en) 2008-11-20 2008-11-20 Worm polishing machine

Country Status (1)

Country Link
CN (1) CN201324892Y (en)

Cited By (3)

* Cited by examiner, † Cited by third party
Publication number Priority date Publication date Assignee Title
CN105538118A (en) * 2016-02-04 2016-05-04 浙江胜华波电器股份有限公司 Equal feeding quantity type self-controlled worm polishing and dust exhausting mechanism
CN106272013A (en) * 2016-08-29 2017-01-04 林佳 Reversible armature shaft automatic polishing device
CN106862675A (en) * 2016-12-21 2017-06-20 大连德迈仕精密科技股份有限公司 A kind of Worm polishing machine

Cited By (3)

* Cited by examiner, † Cited by third party
Publication number Priority date Publication date Assignee Title
CN105538118A (en) * 2016-02-04 2016-05-04 浙江胜华波电器股份有限公司 Equal feeding quantity type self-controlled worm polishing and dust exhausting mechanism
CN106272013A (en) * 2016-08-29 2017-01-04 林佳 Reversible armature shaft automatic polishing device
CN106862675A (en) * 2016-12-21 2017-06-20 大连德迈仕精密科技股份有限公司 A kind of Worm polishing machine

Similar Documents

Publication Publication Date Title
CN101733487A (en) Worm polishing machine
CN102729107B (en) Double-station high-precision rubber covered roller grinding machine
CN206169828U (en) Four -axis linkage screw rod burnishing machine
CN106695485A (en) Automatic deburring device capable of realizing compensation
CN200948554Y (en) Ball Bearing Outer Raceway Superfinishing Machine
CN105619086A (en) Steel pipe cutting grinding machine
CN202185587U (en) Turning device for motor rotors
CN204036188U (en) Numerical-control milling and grinding lathe
CN201324892Y (en) Worm polishing machine
CN206169419U (en) Five linkage screw burnishing machines
CN103894930B (en) A kind of shaping and reconditioning special equipment of emery wheel
CN203092262U (en) Drill collar polisher
CN102528665A (en) Novel numerical-control grinding wheel dressing device
CN209503689U (en) A kind of sintering device handpiece transmission shaft on-line grinding prosthetic device
CN202169527U (en) Inner wall automatic polishing machine
CN206869192U (en) Light-duty multifunctional automatic flat-plate edge milling machines
CN103213048B (en) Novel stone copying grinding device
CN202726658U (en) Double-station high-accuracy rubber roll grinding machine
CN204504917U (en) Novel numerical control pipe grinding machine
CN101456147B (en) A grinding device for vertical lathe circular guide rail
CN206066152U (en) A kind of screw rod buffing machine rotary grinding unit
CN104942681A (en) Grinding equipment and grinding system
CN201505848U (en) Chamfering machine
CN116713827B (en) Automatic numerical control machine tool for shaft sleeve machining
CN108568723B (en) Novel lens fine grinding polishing device

Legal Events

Date Code Title Description
C14 Grant of patent or utility model
GR01 Patent grant
C17 Cessation of patent right
CF01 Termination of patent right due to non-payment of annual fee

Granted publication date: 20091014

Termination date: 20111120