CN201266208Y - Socket type metering ammeter - Google Patents
Socket type metering ammeter Download PDFInfo
- Publication number
- CN201266208Y CN201266208Y CNU2008201454317U CN200820145431U CN201266208Y CN 201266208 Y CN201266208 Y CN 201266208Y CN U2008201454317 U CNU2008201454317 U CN U2008201454317U CN 200820145431 U CN200820145431 U CN 200820145431U CN 201266208 Y CN201266208 Y CN 201266208Y
- Authority
- CN
- China
- Prior art keywords
- chip microcomputer
- display screen
- housing
- lead
- power information
- Prior art date
- Legal status (The legal status is an assumption and is not a legal conclusion. Google has not performed a legal analysis and makes no representation as to the accuracy of the status listed.)
- Expired - Fee Related
Links
- 238000001514 detection method Methods 0.000 claims description 4
- 238000012217 deletion Methods 0.000 claims description 3
- 230000037430 deletion Effects 0.000 claims description 3
- 238000005259 measurement Methods 0.000 abstract 1
- 230000005611 electricity Effects 0.000 description 13
- 238000004378 air conditioning Methods 0.000 description 1
- 230000001276 controlling effect Effects 0.000 description 1
- 238000005516 engineering process Methods 0.000 description 1
- 238000012544 monitoring process Methods 0.000 description 1
- 230000001105 regulatory effect Effects 0.000 description 1
- 239000002699 waste material Substances 0.000 description 1
- XLYOFNOQVPJJNP-UHFFFAOYSA-N water Substances O XLYOFNOQVPJJNP-UHFFFAOYSA-N 0.000 description 1
Images
Landscapes
- Details Of Connecting Devices For Male And Female Coupling (AREA)
Abstract
The utility model discloses a socket-type measurement meter comprising a shell, a single chip microcomputer, a display screen, an output terminal and a power supply plug. The shell is provided with a plughole in which the output terminal is arranged; the output terminal is connected with the single chip microcomputer arranged in the shell; the single chip microcomputer is connected with the power supply plug arranged outside the shell through a lead and is also connected with the display screen arranged on the shell; the single chip microcomputer measures and meters the power energy inputted from the power supply plug, stores power utilization information, converts the power utilization information into digital information and transmits the digital information to the display screen. The utility model has functions of both the socket and the power energy metering, and can monitor the power utilization condition of connected electric equipment in time.
Description
Technical field
The utility model relates to the technical field of electric energy metrical and electric connector, special and a kind of not only can be used as that socket uses but also the multi-function jack formula of measurable electric energy to measure the ammeter structure relevant.
Background technology
In the prior art, ammeter all is to be purpose with the electrically charge metering, is carried out wiring and is fixedly mounted on ad-hoc location by the professional.Usually, an electricity consumer (family or enterprise) only is furnished with a this ammeter, is used to measure the power consumption of whole electricity consumer, and inconvenient family or enterprises are tested oneself to the power consumption of a certain or several electric equipments and checked oneself.And current for energy-saving and emission-reduction, no matter be that family or enterprises are all wished to check oneself by testing oneself and monitored the electricity consumption situation in real time, use the purpose that reaches using electricity wisely, reduces family's electricity charge or business electrical cost.Therefore, in time provide a kind of metering ammeter that makes things convenient for electricity consumer to monitor electrical equipment, equipment power consumption in real time, be necessary in fact.
In addition, socket of the prior art only is as a kind of electric connector, is used to connect power supply and electric equipment, does not have other function, therefore, its structure is improved, and increases the function of product, and is necessary.
In view of this, the inventor improves existing socket and metering ammeter, and the two is organically combined, and this case produces thus.
The utility model content
The purpose of this utility model is to provide a kind of female type metering ammeter, to have the dual-use function of socket and electric energy metrical concurrently, monitors the electricity consumption situation of electric equipment in real time.
To achieve these goals, the technical solution of the utility model is as follows:
Female type metering ammeter, comprise housing, single-chip microcomputer, display screen, lead-out terminal, attaching plug, have jack on the housing, be provided with lead-out terminal in the jack, the lead-out terminal single-chip microcomputer interior with being in housing is connected, single-chip microcomputer also is connected by the lead attaching plug outer with being in housing, single-chip microcomputer also be installed in housing on display screen be connected, single-chip microcomputer detects the electric energy of metering by the attaching plug input, and storage power information, convert power information to numerical information simultaneously, be sent to display screen and show.
Described display screen is that LED or LCD show.
Also be connected with scratch pad memory between inherent single-chip microcomputer of described housing and the display screen, the power information after the single-chip microcomputer detection computations is stored in the storer, and display screen shows the power information that derives from this storer.
A reset key also is installed on the described housing, and this reset key is connected with single-chip microcomputer, power information that stores in the control deletion single-chip microcomputer and metering again.
After adopting such scheme, the utility model uses so can be used as socket because be equipped with attaching plug and lead-out terminal; Again because be equipped with single-chip microcomputer to detect the metering electric energy, and be equipped with display screen and show variable, use so can be used as the metering ammeter.
The utility model organically is combined as a whole socket and ammeter, has the dual-use function of the two concurrently.Compare with existing ordinary electric meter, combine with socket, the worry of not having artificial wiring, and, need not fixedly mount and can draw easily, move with socket, greatly facilitate electricity consumer (layman) monitoring in real time and be connected the electrical equipment on the socket, the power consumption situation of equipment, accomplish to come into plain view, the electricity consumption of as clear as noonday ground, help saving the electric cost of family and enterprise; Compare with existing common socket, increased the function of metering electric energy, real is a kind of brand-new socket.
The utility model is described in further detail below in conjunction with the drawings and specific embodiments.
Description of drawings
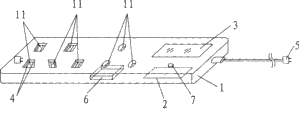
Fig. 1 is a structural representation of the present utility model;
Fig. 2 is detection measuring principle figure of the present utility model.
Label declaration
Housing 1 jack 11 single-chip microcomputers 2
Storer 6 reset keys 7
Embodiment
As depicted in figs. 1 and 2, be preferred embodiment of the present utility model.
A kind of female type metering ammeter that this embodiment discloses comprises housing 1, single-chip microcomputer 2, display screen 3, lead-out terminal 4, attaching plug 5, storer 6, reset key 7.
Have jack 11 on the housing 1.Housing 1 can be an insert row formula and have row (many group, every group can be diplopore or three a holes) jack 11, as shown in Figure 1, or female type and only have one group of jack separately.Lead-out terminal 4 is located in the jack 11, and lead-out terminal 4 is connected with single-chip microcomputer 2 in being in housing 1.Single-chip microcomputer 2 also is connected by the lead attaching plug 5 outer with being in housing 1, single-chip microcomputer 2 also be installed in housing 1 on display screen 3 is connected, display screen 3 can be LED demonstration or LCD demonstration.
The utility model is realized the functions of use of socket by attaching plug 5 and lead-out terminal 4; By single-chip microcomputer 2 and display screen 3, realize the functions of use of metering ammeter again.During work, the plug of electric equipment is inserted in the jack 11 of housing 1, civil power is through attaching plug 5, single-chip microcomputer 2, lead-out terminal 4 is powered to electric equipment, simultaneously, single-chip microcomputer 2 detects the electric energy of metering by attaching plug 5 inputs, store power information, and convert power information to numerical information, being sent to display screen 3 shows, make things convenient for electricity consumer to monitor the electrical equipment that is connected on the utility model in real time, the power consumption situation of equipment, help the regulating and controlling air-conditioning, refrigerator, the best serviceability temperature of water heater etc. reduces unnecessary waste of energy, save the electric cost of family and enterprise, simultaneously, can monitor effectively the unreal propaganda of economize on electricity product, accomplish to come into plain view some electrical equipment producers, the electricity consumption of as clear as noonday ground.
In order to guarantee the continual and steady of electricity consumption, this embodiment also is connected with erasable storer 6 (EPROM) between single-chip microcomputer 2 and display screen 3, power information after single-chip microcomputer 2 detection computations is carried out real-time storage, and 3 of display screens are used for showing the power information that derives from this storer 6.Like this, still can store during outage, and electric quantity data before can reading behind the incoming call.
In addition, this embodiment also installs a reset key 7 on housing 1.This reset key 7 is connected with single-chip microcomputer 2, can push this reset key 7 at any time as required, the power information that stores in the control deletion single-chip microcomputer 2, and restart metering.
Claims (4)
1, female type metering ammeter, comprise housing, single-chip microcomputer, display screen, lead-out terminal, attaching plug, have jack on the housing, be provided with lead-out terminal in the jack, the lead-out terminal single-chip microcomputer interior with being in housing is connected, single-chip microcomputer also is connected by the lead attaching plug outer with being in housing, single-chip microcomputer also be installed in housing on display screen be connected, single-chip microcomputer detects the electric energy of metering by the attaching plug input, and storage power information, convert power information to numerical information simultaneously, be sent to display screen and show.
2, female type metering ammeter as claimed in claim 1, it is characterized in that: described display screen is that LED or LCD show.
3, female type metering ammeter as claimed in claim 1, it is characterized in that: also be connected with scratch pad memory between inherent single-chip microcomputer of described housing and the display screen, power information after the single-chip microcomputer detection computations is stored in the storer, and display screen shows the power information that derives from this storer.
4, female type metering ammeter as claimed in claim 1, it is characterized in that: a reset key also is installed on the described housing, and this reset key is connected with single-chip microcomputer, power information that stores in the control deletion single-chip microcomputer and metering again.
Priority Applications (1)
| Application Number | Priority Date | Filing Date | Title |
|---|---|---|---|
| CNU2008201454317U CN201266208Y (en) | 2008-09-01 | 2008-09-01 | Socket type metering ammeter |
Applications Claiming Priority (1)
| Application Number | Priority Date | Filing Date | Title |
|---|---|---|---|
| CNU2008201454317U CN201266208Y (en) | 2008-09-01 | 2008-09-01 | Socket type metering ammeter |
Publications (1)
| Publication Number | Publication Date |
|---|---|
| CN201266208Y true CN201266208Y (en) | 2009-07-01 |
Family
ID=40832583
Family Applications (1)
| Application Number | Title | Priority Date | Filing Date |
|---|---|---|---|
| CNU2008201454317U Expired - Fee Related CN201266208Y (en) | 2008-09-01 | 2008-09-01 | Socket type metering ammeter |
Country Status (1)
| Country | Link |
|---|---|
| CN (1) | CN201266208Y (en) |
Cited By (3)
| Publication number | Priority date | Publication date | Assignee | Title |
|---|---|---|---|---|
| CN103187666A (en) * | 2011-12-31 | 2013-07-03 | 青岛海尔软件有限公司 | Intelligent socket with measuring function |
| CN110456195A (en) * | 2019-08-05 | 2019-11-15 | 广州供电局有限公司 | Electricity Metering Display Device |
| CN110514897A (en) * | 2019-09-02 | 2019-11-29 | 国网河北省电力有限公司衡水市桃城区供电分公司 | Electric appliance energy consumption real time contrast's platform |
-
2008
- 2008-09-01 CN CNU2008201454317U patent/CN201266208Y/en not_active Expired - Fee Related
Cited By (3)
| Publication number | Priority date | Publication date | Assignee | Title |
|---|---|---|---|---|
| CN103187666A (en) * | 2011-12-31 | 2013-07-03 | 青岛海尔软件有限公司 | Intelligent socket with measuring function |
| CN110456195A (en) * | 2019-08-05 | 2019-11-15 | 广州供电局有限公司 | Electricity Metering Display Device |
| CN110514897A (en) * | 2019-09-02 | 2019-11-29 | 国网河北省电力有限公司衡水市桃城区供电分公司 | Electric appliance energy consumption real time contrast's platform |
Similar Documents
| Publication | Publication Date | Title |
|---|---|---|
| CN101740954B (en) | Power Management Socket | |
| CN201266208Y (en) | Socket type metering ammeter | |
| CN204886324U (en) | A power management and power display system | |
| CN108562791A (en) | A kind of data acquisition device | |
| CN206489217U (en) | A kind of Portable non-contact bluetooth electric power meter | |
| CN201615927U (en) | A type power switch with metering meter | |
| CN207540594U (en) | A kind of air quality detection system | |
| CN107238739A (en) | A kind of intelligent integrated formula ammeter and its operating method | |
| CN203703309U (en) | Circuit control system of remote control valve | |
| CN201707390U (en) | Power line safety monitor with ZIGBEE wireless communication function | |
| CN107300636B (en) | A handheld device for resistive current live measurement | |
| CN101846530A (en) | Automatic acquisition device of sensor with artificial comparing and testing function | |
| CN107884653B (en) | Electricity inspection equipment for extensible module | |
| CN205067409U (en) | Portable water quality testing equipment and use its mobile terminal | |
| CN204304614U (en) | I type electric energy efficiency office terminal and system | |
| CN201242566Y (en) | Electric energy meter | |
| CN210327154U (en) | Intelligent building electric energy monitoring system | |
| CN210109305U (en) | A portable electric energy meter detection terminal | |
| CN201804033U (en) | Electric energy fee counter | |
| CN209358786U (en) | A kind of wifi probe unit | |
| KR102110751B1 (en) | Watt hour meter device having meter read and communication in case of power failure | |
| CN205177006U (en) | MBUS mode intelligence water gauge hander | |
| CN206593729U (en) | A kind of hand-held detection configurating terminal of intellectual water meter | |
| CN207516416U (en) | A kind of comprehensive intelligent type electric energy meter | |
| CN201278412Y (en) | Multifunctional socket |
Legal Events
| Date | Code | Title | Description |
|---|---|---|---|
| C14 | Grant of patent or utility model | ||
| GR01 | Patent grant | ||
| C17 | Cessation of patent right | ||
| CF01 | Termination of patent right due to non-payment of annual fee |
Granted publication date: 20090701 Termination date: 20110901 |